NexusBytes,成立于2016年,美国注册公司(康涅狄格州,1216352),主营美国洛杉矶/纽约/迈阿密、荷兰、英国伦敦、新加坡、日本东京和澳大利亚墨尔本的VPS、虚拟专用服务器、虚拟主机托管以及转销等;VPS基于KVM虚拟,Virtualizor控制面板;提供方便的VPS升级降级通道;2G内存及以上支持Windows系统。支持支付宝、微信、PayPal、信用卡、BTC等主流付款方式。我们之前测评过NexusBytes的美国VPS,本文我们主要测评下NexusBytes英国VPS,有需要的朋友可以参考下。
NexusBytes官方网站
NexusBytes的英国VPS机房位于伦敦,有需要伦敦VPS的用户可以关注。下面我们就具体测评下NexusBytes英国VPS看看效果怎么样。
先看看本地Ping的延迟,如下所示:
可以看到我本地Ping延迟在199ms左右,这个延迟对于英国VPS来说还是非常不错的,但是丢包率比较严重,达到了26%丢包率。
然后我们再看看全国Ping的延迟,如下所示:
可以看到全国Ping的平均延迟在275ms左右,其中联通网络延迟是最低的在223ms左右,其次是移动网络延迟在258ms左右,最后是电信线路延迟在293ms左右。
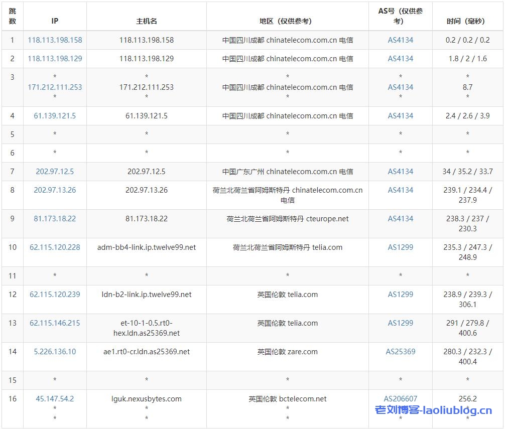
接下来我们再看看三网全国Ping的延迟测试,看看效果怎么样。
电信路由:
电信路由从广州网口出去后,先到达荷兰阿姆斯特丹,然后到达英国伦敦机房。
联通路由:
联通路由走的是AS4837线路,先从广州网口出去,到达德国、法国,最后到达伦敦机房。
移动路由:
移动路由是直接从北京网口出去,然后直连伦敦机房。
接下来我们再看看我本地的下载速度,如下所示:
可以看到下载速度非常的差,基本只有几kb/秒,从国内的下载速度来看是非常不理想的。
接下来我们看看具体的价格套餐,如下所示:
| 方案名称 | 内存 | CPU | NVMe | IPv4&IPv6 | 带宽 | 流量 | 价格 | 购买 |
|---|---|---|---|---|---|---|---|---|
| VPS-1G | 1G | 1核 | 15G | 1 + /64 | 1Gbps | 1T | $4/月 | 链接 |
| VPS-2G | 2G | 1核 | 30G | 1 + /64 | 1Gbps | 2T | $8/月 | 链接 |
| VPS-3G | 3G | 2核 | 45G | 1 + /64 | 1Gbps | 3T | $12/月 | 链接 |
| VPS-4G | 4G | 4核 | 60G | 1 + /64 | 1Gbps | 4T | $16/月 | 链接 |
从价格上来看还是比较便宜的,是同时支持支持多个版本的Linux和Windows操作系统的。
从我们上面测试的情况来看,国内访问效果不太理想,当然如果你的访问用户是在海外那就另当别论了。更多可以参考伦敦VPS推荐。
老刘博客
































