站长本来想测评下ReCloud广州移动VDS性能的,但商家由于产品售罄缺货,已经把广州移动从控制台上下架了,不过老刘博客之前收藏过购买入口,当前ReCloud商家还剩最后一台深圳移动VDS还可以购买:KVM-4v8G-VDS-GZCM01,- 4x Intel E5 2695,- 8GB DDR3 ECC,- 20GB NVMe SSD,- 1200Mbps (Fair Share),- 65TB Two-way Bandwidth(不限制流量 工单重置),¥1299.00CNY/月, 立即订购。鉴于ReCloud深圳移动VDS货源充足,老刘博客这里选购了同款配置的KVM-4v8G-VDS-SZCM01进行了简单测评,以供参考。
ReCoud官方介绍:Recloud深圳移动拥有独特的地理优势,位于深圳移动机房,出口带宽超过10T,位于省移动骨干网互联电信联通,网络资源极优,核心层均采用双设备、双星型的组网架构,为网络系统提供高等级的安全保障,网络稳定性高达99.99%。ReCloud官网:https://oneprovide.net
ReCloud深圳移动VDS基本参数,Intel(R) Xeon(R) CPU E5-2695 v2 @ 2.40GHz,4核8G,IO磁盘139.0 MB/s左右,流媒体这些肯定是解锁不了的,毕竟国内机房。
----------------------------------------------------------------------
CPU Model : Intel(R) Xeon(R) CPU E5-2695 v2 @ 2.40GHz
CPU Cores : 4 Cores 2399.998 MHz x86_64
CPU Cache : 30720 KB
CPU Flags : AES-NI Enabled & VM-x/AMD-V Disabled
OS : CentOS 7.6.1810 (64 Bit) KVM
Kernel : 3.10.0-957.1.3.el7.x86_64
Total Space : 1.5 GB / 20.0 GB
Total RAM : 82 MB / 3789 MB (661 MB Buff)
Total SWAP : 0 MB / 0 MB
Uptime : 0 days 16 hour 46 min
Load Average : 0.22, 0.10, 0.11
TCP CC : cubic
Organization : AS56040 China Mobile communications corporation
Location : Zhanjiang / CN
Region : Guangdong
----------------------------------------------------------------------
Stream Media Unlock :
Netflix : No
YouTube Premium : Network connection failed
YouTube Region : Network connection failed
BiliBili China : Network connection failed
----------------------------------------------------------------------
I/O Speed( 1.0GB ) : 131 MB/s
I/O Speed( 1.0GB ) : 148 MB/s
I/O Speed( 1.0GB ) : 138 MB/s
Average I/O Speed : 139.0 MB/s
----------------------------------------------------------------------
ReCloud深圳移动VDS三网Ping测试
ReCloud深圳移动VDS看看是不是原生IP
ReCloud深圳移动VDS丢包率测试,国内跑没问题

ReCloud深圳移动VDS宝塔跑分及本地文件上传下载速度测试
宝塔安装耗时3分钟
Congratulations! Installed successfully!
==================================================================
外网面板地址: http://120.233.73.23:8888/f1dc08f8
内网面板地址: http://120.233.73.23:8888/f1dc08f8
username: yvkm7mhu
password: 75ee032f
If you cannot access the panel,
release the following panel port [8888] in the security group
若无法访问面板,请检查防火墙/安全组是否有放行面板[8888]端口
==================================================================
Time consumed: 3 Minute!
[root@shenzhentest ~]#
宝塔跑分9486
站长上海本地测下100MB文件上传速度在4.66MB/s
站长上海本地测下100MB文件下载速度在14.8MB/s左右,比上传更快
ReCloud深圳移动VDS Speedtest.net国内外节点测速,大带宽果然很猛~
----------------------------------------------------------------------
Node Name Upload Speed Download Speed Latency
Speedtest.net 609.03 Mbit/s 697.09 Mbit/s 27.65 ms
Shanghai CT 515.92 Mbit/s 535.97 Mbit/s 35.47 ms
Nanjing 5G CT 355.98 Mbit/s 578.76 Mbit/s 45.78 ms
TianJin 5G CT 370.95 Mbit/s 576.33 Mbit/s 47.61 ms
Shanghai 5G CU 423.93 Mbit/s 809.60 Mbit/s 34.81 ms
Nanjing CU 371.75 Mbit/s 613.93 Mbit/s 36.21 ms
Shanghai 5G CM 559.52 Mbit/s 926.46 Mbit/s 34.87 ms
Yinchuan CM 304.82 Mbit/s 507.83 Mbit/s 55.23 ms
Nanjing 5G CM 87.13 Mbit/s 800.11 Mbit/s 38.44 ms
----------------------------------------------------------------------
Node Name Upload Speed Download Speed Latency
Macau CN 751.77 Mbit/s 15.03 Mbit/s 17.30 ms
Singapore SG 518.65 Mbit/s 518.03 Mbit/s 50.99 ms
Tokyo JP 64.02 Mbit/s 0.19 Mbit/s 402.82 ms
Seoul KR 336.37 Mbit/s 837.44 Mbit/s 104.77 ms
Los Angeles US 177.22 Mbit/s 526.47 Mbit/s 184.42 ms
Frankfurt DE 49.18 Mbit/s 0.26 Mbit/s 411.79 ms
France FR 204.94 Mbit/s 619.96 Mbit/s 220.76 ms
----------------------------------------------------------------------
ReCloud深圳移动VDS FIO测试硬盘读写
fio Disk Speed Tests (Mixed R/W 50/50):
---------------------------------
Block Size | 4k (IOPS) | 64k (IOPS)
------ | --- ---- | ---- ----
Read | 22.12 MB/s (5.5k) | 75.84 MB/s (1.1k)
Write | 22.14 MB/s (5.5k) | 76.24 MB/s (1.1k)
Total | 44.26 MB/s (11.0k) | 152.09 MB/s (2.3k)
| |
Block Size | 512k (IOPS) | 1m (IOPS)
------ | --- ---- | ---- ----
Read | 90.74 MB/s (177) | 88.73 MB/s (86)
Write | 95.56 MB/s (186) | 94.64 MB/s (92)
Total | 186.30 MB/s (363) | 183.38 MB/s (178)
ReCloud深圳移动VDS iperf3针对欧美的节点的数据测试
iperf3 Network Speed Tests (IPv4):
---------------------------------
Provider | Location (Link) | Send Speed | Recv Speed
| | |
Clouvider | London, UK (10G) | 170 Mbits/sec | 296 Mbits/sec
Online.net | Paris, FR (10G) | 259 Mbits/sec | 5.45 Mbits/sec
WorldStream | The Netherlands (10G) | busy | busy
WebHorizon | Singapore (400M) | busy | 457 Mbits/sec
Clouvider | NYC, NY, US (10G) | 204 Mbits/sec | 2.87 Mbits/sec
Velocity Online | Tallahassee, FL, US (10G) | 195 Mbits/sec | 1.77 Mbits/sec
Clouvider | Los Angeles, CA, US (10G) | 186 Mbits/sec | 3.26 Mbits/sec
Iveloz Telecom | Sao Paulo, BR (2G) | busy | busy
ReCloud深圳移动VDS去程路由跟踪测试
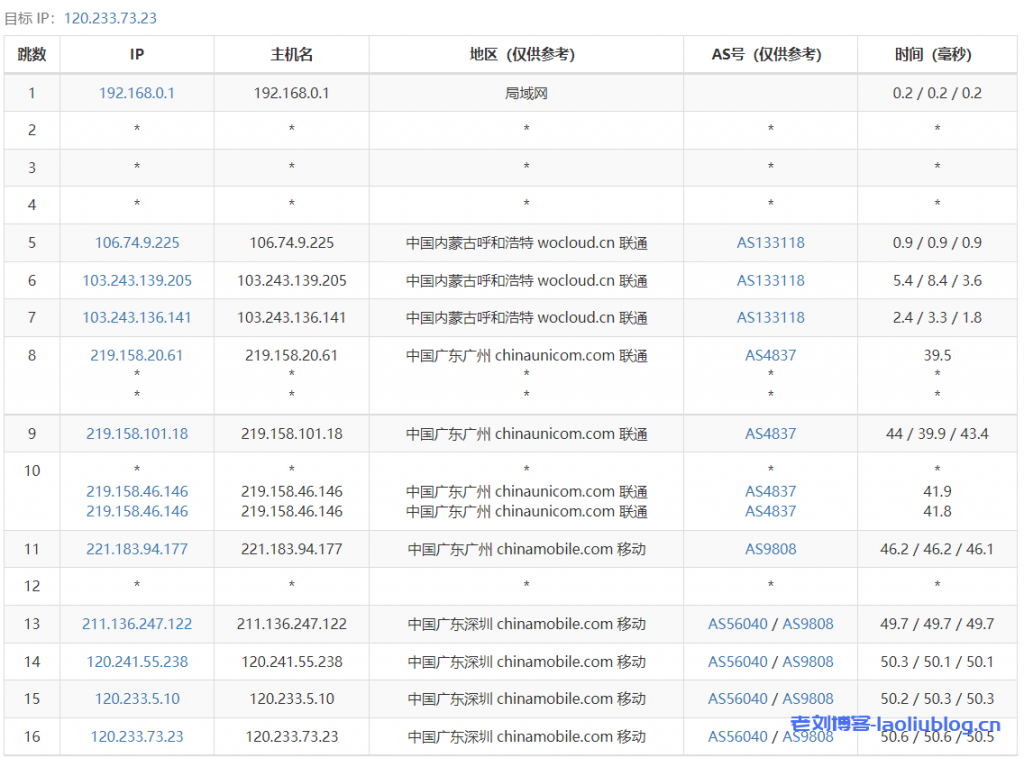
ReCloud深圳移动VDS回程路由跟踪测试
Traceroute to China, Guangzhou CT (TCP Mode, Max 30 Hop)
============================================================
traceroute to 113.108.209.1 (113.108.209.1), 30 hops max, 32 byte packets
1 120.233.73.1 0.72 ms AS56040 China, Guangdong, Shenzhen, ChinaMobile
2 192.168.253.6 0.39 ms * LAN Address
3 120.241.55.229 0.79 ms AS56040 China, Guangdong, Shenzhen, ChinaMobile
4 *
5 221.183.59.161 5.35 ms AS9808 China, Guangdong, Guangzhou, ChinaMobile
6 *
7 202.97.81.225 7.25 ms AS4134 China, Guangdong, Guangzhou, ChinaTelecom
8 *
9 113.108.209.1 8.25 ms AS4134 China, Guangdong, Guangzhou, ChinaTelecom
Traceroute to China, Shanghai CT (TCP Mode, Max 30 Hop)
============================================================
traceroute to 180.153.28.5 (180.153.28.5), 30 hops max, 32 byte packets
1 120.233.73.1 0.90 ms AS56040 China, Guangdong, Shenzhen, ChinaMobile
2 192.168.253.2 0.46 ms * LAN Address
3 120.233.5.33 1.53 ms AS56040 China, Guangdong, Shenzhen, ChinaMobile
4 120.241.55.233 7.90 ms AS56040 China, Guangdong, Shenzhen, ChinaMobile
5 *
6 *
7 *
8 221.183.123.94 41.75 ms AS9808 China, ChinaMobile
9 101.95.88.89 37.35 ms AS4812 China, Shanghai, ChinaTelecom
10 101.95.120.141 35.26 ms AS4812 China, Shanghai, ChinaTelecom
11 101.95.225.222 38.66 ms AS4811 China, Shanghai, ChinaTelecom
12 101.95.225.158 34.31 ms AS4811 China, Shanghai, ChinaTelecom
13 101.227.255.46 34.65 ms AS4812 China, Shanghai, ChinaTelecom
14 180.153.28.5 34.79 ms AS4812 China, Shanghai, ChinaTelecom
Traceroute to China, Beijing CT (TCP Mode, Max 30 Hop)
============================================================
traceroute to 180.149.128.9 (180.149.128.9), 30 hops max, 32 byte packets
1 120.233.73.1 13.01 ms AS56040 China, Guangdong, Shenzhen, ChinaMobile
2 120.233.5.9 3.30 ms AS56040 China, Guangdong, Shenzhen, ChinaMobile
3 120.241.55.229 2.23 ms AS56040 China, Guangdong, Shenzhen, ChinaMobile
4 221.183.59.161 4.47 ms AS9808 China, Guangdong, Guangzhou, ChinaMobile
5 221.183.37.137 35.64 ms AS9808 China, Beijing, ChinaMobile
6 *
7 *
8 *
9 *
10 36.110.247.38 43.55 ms AS23724 China, Beijing, ChinaTelecom
11 180.149.128.9 41.22 ms AS23724 China, Beijing, ChinaTelecom
Traceroute to China, Guangzhou CU (TCP Mode, Max 30 Hop)
============================================================
traceroute to 210.21.4.130 (210.21.4.130), 30 hops max, 32 byte packets
1 120.233.73.1 0.86 ms AS56040 China, Guangdong, Shenzhen, ChinaMobile
2 192.168.253.6 0.60 ms * LAN Address
3 120.241.55.237 1.17 ms AS56040 China, Guangdong, Shenzhen, ChinaMobile
4 120.241.55.233 2.13 ms AS56040 China, Guangdong, Shenzhen, ChinaMobile
5 221.183.59.165 8.26 ms AS9808 China, Guangdong, Guangzhou, ChinaMobile
6 *
7 219.158.10.249 15.11 ms AS4837 China, Guangdong, Guangzhou, ChinaUnicom
8 219.158.10.249 12.25 ms AS4837 China, Guangdong, Guangzhou, ChinaUnicom
9 120.80.175.70 12.19 ms AS17622 China, Guangdong, Guangzhou, ChinaUnicom
10 120.80.175.70 13.16 ms AS17622 China, Guangdong, Guangzhou, ChinaUnicom
11 *
12 *
13 *
14 *
15 *
16 *
17 *
18 *
19 *
20 *
21 *
22 *
23 *
24 *
25 *
26 *
27 *
28 *
29 *
30 *
Traceroute to China, Shanghai CU (TCP Mode, Max 30 Hop)
============================================================
traceroute to 58.247.8.158 (58.247.8.158), 30 hops max, 32 byte packets
1 120.233.73.1 33.14 ms AS56040 China, Guangdong, Shenzhen, ChinaMobile
2 192.168.253.6 0.49 ms * LAN Address
3 *
4 221.183.63.69 4.91 ms AS9808 China, Guangdong, Guangzhou, ChinaMobile
5 *
6 221.183.90.254 32.23 ms AS9808 China, Shanghai, ChinaMobile
7 221.183.95.214 37.16 ms AS9808 China, Shanghai, ChinaMobile
8 221.183.95.214 42.56 ms AS9808 China, Shanghai, ChinaMobile
9 *
10 *
11 139.226.225.22 43.49 ms AS17621 China, Shanghai, ChinaUnicom
12 58.247.8.153 44.44 ms AS17621 China, Shanghai, ChinaUnicom
13 *
14 *
15 *
16 *
17 *
18 *
19 *
20 *
21 *
22 *
23 *
24 *
25 *
26 *
27 *
28 *
29 *
30 *
Traceroute to China, Beijing CU (TCP Mode, Max 30 Hop)
============================================================
traceroute to 123.125.99.1 (123.125.99.1), 30 hops max, 32 byte packets
1 120.233.73.1 18.97 ms AS56040 China, Guangdong, Shenzhen, ChinaMobile
2 192.168.253.6 0.40 ms * LAN Address
3 120.241.55.229 1.09 ms AS56040 China, Guangdong, Shenzhen, ChinaMobile
4 120.241.55.225 1.62 ms AS56040 China, Guangdong, Shenzhen, ChinaMobile
5 221.183.37.137 36.07 ms AS9808 China, Beijing, ChinaMobile
6 221.183.37.221 39.93 ms AS9808 China, Beijing, ChinaMobile
7 *
8 221.183.95.62 47.26 ms AS9808 China, Beijing, ChinaMobile
9 219.158.103.69 39.50 ms AS4837 China, Beijing, ChinaUnicom
10 *
11 124.65.56.186 39.03 ms AS4808 China, Beijing, ChinaUnicom
12 124.65.194.50 43.44 ms AS4808 China, Beijing, ChinaUnicom
13 61.135.113.154 42.65 ms AS4808 China, Beijing, ChinaUnicom
14 *
15 123.125.99.1 46.35 ms AS4808 China, Beijing, ChinaUnicom
Traceroute to China, Guangzhou CM (TCP Mode, Max 30 Hop)
============================================================
traceroute to 120.196.212.25 (120.196.212.25), 30 hops max, 32 byte packets
1 120.233.73.1 0.83 ms AS56040 China, Guangdong, Shenzhen, ChinaMobile
2 120.233.5.1 0.83 ms AS56040 China, Guangdong, Shenzhen, ChinaMobile
3 *
4 120.241.55.225 2.82 ms AS56040 China, Guangdong, Shenzhen, ChinaMobile
5 120.196.199.153 4.47 ms AS56040 China, Guangdong, Guangzhou, ChinaMobile
6 211.139.180.106 3.87 ms AS56040 China, Guangdong, Guangzhou, ChinaMobile
7 211.139.180.106 4.75 ms AS56040 China, Guangdong, Guangzhou, ChinaMobile
8 *
9 *
10 120.196.212.25 3.73 ms AS56040 China, Guangdong, Guangzhou, ChinaMobile
Traceroute to China, Shanghai CM (TCP Mode, Max 30 Hop)
============================================================
traceroute to 221.183.55.22 (221.183.55.22), 30 hops max, 32 byte packets
1 120.233.73.1 0.91 ms AS56040 China, Guangdong, Shenzhen, ChinaMobile
2 192.168.253.2 0.34 ms * LAN Address
3 120.233.5.33 1.61 ms AS56040 China, Guangdong, Shenzhen, ChinaMobile
4 120.241.55.225 1.99 ms AS56040 China, Guangdong, Shenzhen, ChinaMobile
5 111.24.5.29 4.04 ms AS9808 China, Guangdong, Guangzhou, ChinaMobile
6 111.24.5.33 5.08 ms AS9808 China, Guangdong, Guangzhou, ChinaMobile
7 221.183.109.105 35.40 ms AS9808 China, Shanghai, ChinaMobile
8 221.176.22.10 30.60 ms AS9808 China, Shanghai, ChinaMobile
9 221.183.55.22 45.75 ms AS9808 China, Shanghai, ChinaMobile
Traceroute to China, Beijing CM (TCP Mode, Max 30 Hop)
============================================================
traceroute to 211.136.25.153 (211.136.25.153), 30 hops max, 32 byte packets
1 120.233.73.1 1.12 ms AS56040 China, Guangdong, Shenzhen, ChinaMobile
2 192.168.253.6 0.47 ms * LAN Address
3 120.233.5.17 1.95 ms AS56040 China, Guangdong, Shenzhen, ChinaMobile
4 120.241.55.233 2.12 ms AS56040 China, Guangdong, Shenzhen, ChinaMobile
5 221.183.63.69 6.07 ms AS9808 China, Guangdong, Guangzhou, ChinaMobile
6 221.183.37.221 40.06 ms AS9808 China, Beijing, ChinaMobile
7 *
8 211.136.67.106 37.83 ms AS56048 China, Beijing, ChinaMobile
9 *
10 211.136.95.226 42.07 ms AS56048 China, Beijing, ChinaMobile
11 *
12 211.136.25.153 39.10 ms AS56048 China, Beijing, ChinaMobile
Traceroute to China, Beijing Dr.Peng Network IDC Network (TCP Mode, Max 30 Hop)
============================================================
traceroute to 211.167.230.100 (211.167.230.100), 30 hops max, 32 byte packets
1 120.233.73.1 2.38 ms AS56040 China, Guangdong, Shenzhen, ChinaMobile
2 192.168.253.2 0.43 ms * LAN Address
3 *
4 221.183.63.69 8.05 ms AS9808 China, Guangdong, Guangzhou, ChinaMobile
5 221.183.59.161 7.13 ms AS9808 China, Guangdong, Guangzhou, ChinaMobile
6 *
7 221.183.95.58 42.65 ms AS9808 China, Beijing, ChinaMobile
8 219.158.109.185 40.68 ms AS4837 China, Beijing, ChinaUnicom
9 *
10 202.96.13.218 40.71 ms AS4808 China, Beijing, ChinaUnicom
11 61.149.212.242 37.89 ms AS4808 China, Beijing, ChinaUnicom
12 61.149.212.242 39.85 ms AS4808 China, Beijing, ChinaUnicom
13 202.99.1.234 42.22 ms AS4808 China, Beijing, ChinaUnicom
14 218.241.245.94 44.48 ms AS4808 China, Beijing, DRPENG
15 218.241.245.158 40.13 ms AS4808 China, Beijing, DRPENG
16 218.241.245.158 39.91 ms AS4808 China, Beijing, DRPENG
17 211.167.230.100 38.22 ms AS17964 China, Beijing, DRPENG
----------------------------------------------------------------------
ReCloud深圳移动VDS Unixbench跑分测试综合性能
------------------------------------------------------------------------
Benchmark Run: Wed Apr 13 2022 05:44:11 - 06:13:09
4 CPUs in system; running 1 parallel copy of tests
Dhrystone 2 using register variables 16663228.5 lps (10.0 s, 7 samples)
Double-Precision Whetstone 3623.9 MWIPS (7.4 s, 7 samples)
Execl Throughput 1948.5 lps (29.9 s, 2 samples)
File Copy 1024 bufsize 2000 maxblocks 218663.0 KBps (30.0 s, 2 samples)
File Copy 256 bufsize 500 maxblocks 58457.4 KBps (30.0 s, 2 samples)
File Copy 4096 bufsize 8000 maxblocks 762450.0 KBps (30.0 s, 2 samples)
Pipe Throughput 318764.7 lps (10.0 s, 7 samples)
Pipe-based Context Switching 58852.7 lps (10.0 s, 7 samples)
Process Creation 5000.2 lps (30.0 s, 2 samples)
Shell Scripts (1 concurrent) 5041.4 lpm (60.0 s, 2 samples)
Shell Scripts (8 concurrent) 1026.0 lpm (60.1 s, 2 samples)
System Call Overhead 322624.5 lps (10.0 s, 7 samples)
System Benchmarks Index Values BASELINE RESULT INDEX
Dhrystone 2 using register variables 116700.0 16663228.5 1427.9
Double-Precision Whetstone 55.0 3623.9 658.9
Execl Throughput 43.0 1948.5 453.1
File Copy 1024 bufsize 2000 maxblocks 3960.0 218663.0 552.2
File Copy 256 bufsize 500 maxblocks 1655.0 58457.4 353.2
File Copy 4096 bufsize 8000 maxblocks 5800.0 762450.0 1314.6
Pipe Throughput 12440.0 318764.7 256.2
Pipe-based Context Switching 4000.0 58852.7 147.1
Process Creation 126.0 5000.2 396.8
Shell Scripts (1 concurrent) 42.4 5041.4 1189.0
Shell Scripts (8 concurrent) 6.0 1026.0 1709.9
System Call Overhead 15000.0 322624.5 215.1
========
System Benchmarks Index Score 546.8
------------------------------------------------------------------------
Benchmark Run: Wed Apr 13 2022 06:13:09 - 06:43:20
4 CPUs in system; running 4 parallel copies of tests
Dhrystone 2 using register variables 49089825.3 lps (10.0 s, 7 samples)
Double-Precision Whetstone 11702.1 MWIPS (10.2 s, 7 samples)
Execl Throughput 3835.0 lps (29.9 s, 2 samples)
File Copy 1024 bufsize 2000 maxblocks 302615.1 KBps (30.0 s, 2 samples)
File Copy 256 bufsize 500 maxblocks 83679.4 KBps (30.0 s, 2 samples)
File Copy 4096 bufsize 8000 maxblocks 1038633.8 KBps (30.0 s, 2 samples)
Pipe Throughput 1109662.3 lps (10.0 s, 7 samples)
Pipe-based Context Switching 197762.2 lps (10.0 s, 7 samples)
Process Creation 11042.6 lps (30.0 s, 2 samples)
Shell Scripts (1 concurrent) 5620.1 lpm (60.0 s, 2 samples)
Shell Scripts (8 concurrent) 874.7 lpm (60.1 s, 2 samples)
System Call Overhead 943952.1 lps (10.0 s, 7 samples)
System Benchmarks Index Values BASELINE RESULT INDEX
Dhrystone 2 using register variables 116700.0 49089825.3 4206.5
Double-Precision Whetstone 55.0 11702.1 2127.7
Execl Throughput 43.0 3835.0 891.9
File Copy 1024 bufsize 2000 maxblocks 3960.0 302615.1 764.2
File Copy 256 bufsize 500 maxblocks 1655.0 83679.4 505.6
File Copy 4096 bufsize 8000 maxblocks 5800.0 1038633.8 1790.7
Pipe Throughput 12440.0 1109662.3 892.0
Pipe-based Context Switching 4000.0 197762.2 494.4
Process Creation 126.0 11042.6 876.4
Shell Scripts (1 concurrent) 42.4 5620.1 1325.5
Shell Scripts (8 concurrent) 6.0 874.7 1457.8
System Call Overhead 15000.0 943952.1 629.3
========
System Benchmarks Index Score 1082.7
======= Script description and score comparison completed! =======
ReCloud深圳移动VDS套餐方案:
– 1x IPv4 (120.233),可重装的系统:- CentOS 7 – CentOS 8- Debian 9- Debian 10- Ubuntu 18.10- Ubuntu 20.04– Almalinux 8.4
注意事项:- 带宽不允许长时间占满;- 若发现在机器上安装V2ray,ShadowsocksR,Shadowsocks等代理软件,删机不退款。
| KVM-2v2G-VDS-SZCM010 可用 | KVM-2v4G-VDS-SZCM012 可用 | KVM-4v4G-VDS-SZCM013 可用 | KVM-4v8G-VDS-SZCM012 可用 |
| – 2x Intel E5 2695 | – 2x Intel E5 2695 | – 2x Intel E5 2695 | – 2x Intel E5 2695 |
| – 2GB DDR3 ECC | – 4GB DDR3 ECC | – 4GB DDR3 ECC | – 8GB DDR3 ECC |
| – 20GB NVMe SSD | – 20GB NVMe SSD | – 20GB NVMe SSD | – 20GB NVMe SSD |
| – 500Mbps (Fair Share) | – 1000Mbps (Fair Share) | – 1000Mbps (Fair Share) | – 1200Mbps (Fair Share) |
| – 25TB Two-way Bandwidth | – 40TB Two-way Bandwidth | – 40TB Two-way Bandwidth | – 65TB Two-way Bandwidth |
| – 1x IPv4 (120.233) | – 1x IPv4 (120.233) | – 1x IPv4 (120.233) | – 1x IPv4 (120.233) |
| ¥599.00CNY/月 | ¥899.00CNY/月 | ¥1099.00CNY/月 | ¥1399.00CNY/月 |
| 立即订购 | 立即订购 | 立即订购 | 立即订购 |
最后,来个VDS小科普:
VPS可能大家都很熟悉,但是对于VDS就有些陌生了,毕竟接触的少,那什么是VDS?VDS全称虚拟独立服务器系统(Virtual Dedicated Server),该系统介于虚拟主机和独立服务器之间,通过该系统,用户可以自主创建和管理其站点和用户。特别适用于入门级虚拟主机增值服务商和大中型企业事业单位。在VDS系统上仅有少数几个高级用户,他们可以通过WEB管理界面,完全自主地创建和管理自己的用户和站点。不同高级用户之间也是完全隔离和独立的。从这些高级用户的角度看来,该服务器就像一台自己拥有的独立服务器一般。故称为VDS虚拟独立服务器。
老刘博客
































