hncloud华纳云商家的香港机房原本只卖CN2服务器,现在新增了香港大带宽服务器,最低50Mbps带宽,最高1000Mbps带宽,不限月流量,并且针对大陆做了特别的优化处理(优化回国)。官方对这款机器的描述:免备案香港大带宽服务器接入大带宽专线,独享50M以上优化回国带宽,速度更快, 延迟更低,适合高密集网络吞吐、数据处理/视频/直播/下载/CDN等大带宽业务使用。那么hncloud华纳云香港大带宽服务器真实性能怎么样?老刘博客这里选购了一台最低配套餐:E5-2660(8核16线程 2.2G),16G DDR3,500G SSD,50Mbps带宽,进行了测评,供选购参考。
hncloud华纳云香港大带宽服务器产品入口:香港大带宽服务器_香港bgp服务器_香港回国线路-华纳云 (hncloud.com),hncloud华纳云香港大带宽服务器测试IP: 154.39.66.254
hncloud华纳云香港大带宽服务器基本参数与官方描述一致,IP归属hncloud自己的AS下,硬盘I/O大致280MB/S:
----------------------------------------------------------------------
CPU Model : Intel(R) Xeon(R) CPU E5-2660 0 @ 2.20GHz
CPU Cores : 16 Cores 1200.177 MHz x86_64
CPU Cache : 20480 KB
CPU Flags : AES-NI Enabled & VM-x/AMD-V Enabled
OS : Ubuntu 18.04.6 LTS (64 Bit) Dedicated
Kernel : 4.15.0-112-generic
Total Space : 5.2 GB / 432.4 GB
Total RAM : 651 MB / 16005 MB (5448 MB Buff)
Total SWAP : 0 MB / 7810 MB
Uptime : 9 days 1 hour 48 min
Load Average : 0.28, 0.18, 0.07
TCP CC : bbr
Organization : AS140096 Jinx Co. Limited
Location : Sha Tin / HK
Region : Sha Tin
----------------------------------------------------------------------
Stream Media Unlock :
Netflix : Originals Only
YouTube Premium : Yes (Region: HK)
YouTube CDN : Hong Kong
BiliBili China : Yes (Region: Hongkong/Macau/Taiwan Only)
----------------------------------------------------------------------
I/O Speed( 1.0GB ) : 330 MB/s
I/O Speed( 1.0GB ) : 319 MB/s
I/O Speed( 1.0GB ) : 191 MB/s
Average I/O Speed : 280.0 MB/s
----------------------------------------------------------------------
国内外超过170个节点的延迟追踪数据:
我们用speedtest.net的国内外节点来测试该服务器的带宽能跑到多少,第一个默认为就近节点,基本上是跑满50Mbps,其余的为国内电信、联通、移动节点,尤其是我们需要的upload speed基本上都是跑满的:
----------------------------------------------------------------------
Node Name Upload Speed Download Speed Latency
Speedtest.net 51.26 Mbit/s 51.47 Mbit/s (*)182.62 ms
Shanghai CT 49.08 Mbit/s 49.53 Mbit/s 38.20 ms
Guangzhou 5G CT 40.97 Mbit/s 43.88 Mbit/s 27.20 ms
Nanjing 5G CT 49.79 Mbit/s 49.33 Mbit/s 58.75 ms
TianJin 5G CT 48.80 Mbit/s 50.85 Mbit/s 47.22 ms
Shanghai 5G CU 49.42 Mbit/s 49.35 Mbit/s 35.83 ms
Nanjing CU 49.91 Mbit/s 50.78 Mbit/s 43.65 ms
Yinchuan CM 49.70 Mbit/s 49.33 Mbit/s 64.45 ms
Nanjing 5G CM 38.98 Mbit/s 46.93 Mbit/s 40.68 ms
----------------------------------------------------------------------
Node Name Upload Speed Download Speed Latency
Hong Kong CN 48.65 Mbit/s 48.92 Mbit/s 3.29 ms
Macau CN 48.69 Mbit/s 49.25 Mbit/s 8.90 ms
Taiwan CN 49.78 Mbit/s 49.54 Mbit/s 50.19 ms
Singapore SG 48.90 Mbit/s 49.39 Mbit/s 37.10 ms
Tokyo JP 49.37 Mbit/s 51.26 Mbit/s 51.21 ms
Seoul KR 53.67 Mbit/s 52.37 Mbit/s 80.33 ms
Los Angeles US 50.08 Mbit/s 51.49 Mbit/s 156.29 ms
Frankfurt DE 49.46 Mbit/s 51.52 Mbit/s 181.10 ms
France FR 49.56 Mbit/s 51.56 Mbit/s 191.20 ms
----------------------------------------------------------------------
宝塔跑个分测试下:
安装宝塔花费4分钟
==================================================================
外网面板地址: http://199.15.76.13:8888/8c1786bc
内网面板地址: http://199.15.76.13:8888/8c1786bc
username: mipzcltd
password: 2b25a6e0
If you cannot access the panel,
release the following panel port [8888] in the security group
若无法访问面板,请检查防火墙/安全组是否有放行面板[8888]端口
==================================================================
Time consumed: 4 Minute!
宝塔跑分43396,性能彪悍

在宝塔上上传个100MB测速文件,看下上传速度1.08MB/s

100MB测速文件下载速度达到26.4MB/s
FIO详细测试硬盘的读写状态:
fio Disk Speed Tests (Mixed R/W 50/50):
---------------------------------
Block Size | 4k (IOPS) | 64k (IOPS)
------ | --- ---- | ---- ----
Read | 6.92 MB/s (1.7k) | 36.14 MB/s (564)
Write | 6.94 MB/s (1.7k) | 36.50 MB/s (570)
Total | 13.86 MB/s (3.4k) | 72.64 MB/s (1.1k)
| |
Block Size | 512k (IOPS) | 1m (IOPS)
------ | --- ---- | ---- ----
Read | 44.03 MB/s (86) | 47.44 MB/s (46)
Write | 46.61 MB/s (91) | 49.84 MB/s (48)
Total | 90.65 MB/s (177) | 97.29 MB/s (94)
iperf3跑欧美节点的测试数据:
iperf3 Network Speed Tests (IPv4):
---------------------------------
Provider | Location (Link) | Send Speed | Recv Speed
| | |
Clouvider | London, UK (10G) | 46.8 Mbits/sec | 49.2 Mbits/sec
Online.net | Paris, FR (10G) | 47.4 Mbits/sec | 49.5 Mbits/sec
WorldStream | The Netherlands (10G) | 47.7 Mbits/sec | busy
WebHorizon | Singapore (400M) | 51.1 Mbits/sec | 51.6 Mbits/sec
Clouvider | NYC, NY, US (10G) | 46.8 Mbits/sec | 48.1 Mbits/sec
Velocity Online | Tallahassee, FL, US (10G) | 44.6 Mbits/sec | 48.9 Mbits/sec
Clouvider | Los Angeles, CA, US (10G) | 47.8 Mbits/sec | 49.6 Mbits/sec
Iveloz Telecom | Sao Paulo, BR (2G) | busy | busy
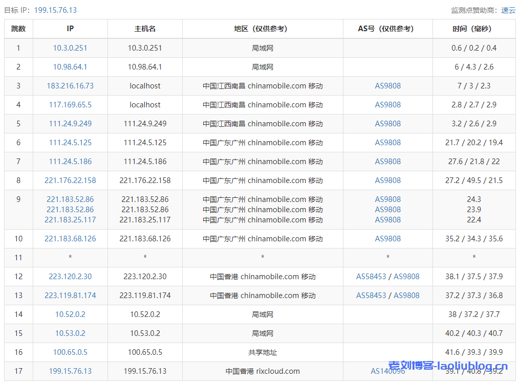
回程,到大陆电信:从香港移动直连回国内移动后转电信;回程,到大陆联通:与前面的模式一直,从移动香港节点回内地移动后转联通;回程,到内地移动:香港移动节点直连内地
Traceroute to China, Guangzhou CT (TCP Mode, Max 30 Hop)
============================================================
traceroute to 113.108.209.1 (113.108.209.1), 30 hops max, 32 byte packets
1 156.240.106.254 8.38 ms AS140227 China, Hong Kong, cloudinnovation.org
2 100.65.0.6 284.53 ms * Shared Address
3 10.53.0.1 1.48 ms * LAN Address
4 10.52.0.1 1.87 ms * LAN Address
5 223.119.81.173 2.50 ms AS58453 China, Hong Kong, ChinaMobile
6 223.120.2.29 3.27 ms AS58453 China, Hong Kong, ChinaMobile
7 *
8 *
9 221.176.20.5 28.67 ms AS9808 China, Guangdong, Guangzhou, ChinaMobile
10 221.176.24.157 9.72 ms AS9808 China, Guangdong, Guangzhou, ChinaMobile
11 *
12 221.183.97.86 10.12 ms AS9808 China, Guangdong, Guangzhou, ChinaMobile
13 221.183.123.62 15.68 ms AS9808 China, Guangdong, Guangzhou, ChinaMobile
14 202.97.81.253 14.67 ms AS4134 China, Guangdong, Guangzhou, ChinaTelecom
15 113.96.5.166 19.69 ms AS4134 China, Guangdong, Guangzhou, ChinaTelecom
16 113.108.209.1 10.68 ms AS4134 China, Guangdong, Guangzhou, ChinaTelecom
Traceroute to China, Shanghai CT (TCP Mode, Max 30 Hop)
============================================================
traceroute to 180.153.28.5 (180.153.28.5), 30 hops max, 32 byte packets
1 156.240.106.254 1.17 ms AS140227 China, Hong Kong, cloudinnovation.org
2 100.65.0.6 1.82 ms * Shared Address
3 10.53.0.1 1.51 ms * LAN Address
4 10.52.0.1 1.62 ms * LAN Address
5 223.119.81.173 2.50 ms AS58453 China, Hong Kong, ChinaMobile
6 223.120.2.29 3.85 ms AS58453 China, Hong Kong, ChinaMobile
7 *
8 *
9 221.176.24.57 9.09 ms AS9808 China, Guangdong, Guangzhou, ChinaMobile
10 221.176.18.109 14.00 ms AS9808 China, Guangdong, Guangzhou, ChinaMobile
11 111.24.5.181 12.55 ms AS9808 China, Guangdong, Guangzhou, ChinaMobile
12 111.24.3.25 38.76 ms AS9808 China, Shanghai, ChinaMobile
13 221.183.90.246 42.24 ms AS9808 China, Shanghai, ChinaMobile
14 221.183.68.166 42.60 ms AS9808 China, Shanghai, ChinaMobile
15 202.97.87.125 35.81 ms AS4134 China, Shanghai, ChinaTelecom
16 61.152.24.213 39.45 ms AS4812 China, Shanghai, ChinaTelecom
17 *
18 101.95.225.34 40.97 ms AS4811 China, Shanghai, ChinaTelecom
19 101.227.255.34 39.02 ms AS4812 China, Shanghai, ChinaTelecom
20 180.153.28.5 36.78 ms AS4812 China, Shanghai, ChinaTelecom
Traceroute to China, Beijing CT (TCP Mode, Max 30 Hop)
============================================================
traceroute to 180.149.128.9 (180.149.128.9), 30 hops max, 32 byte packets
1 156.240.106.254 1.75 ms AS140227 China, Hong Kong, cloudinnovation.org
2 100.65.0.6 1.85 ms * Shared Address
3 10.53.0.1 1.55 ms * LAN Address
4 10.52.0.1 1.54 ms * LAN Address
5 223.119.81.173 2.51 ms AS58453 China, Hong Kong, ChinaMobile
6 223.120.22.69 2.97 ms AS58453 China, Hong Kong, ChinaMobile
7 *
8 221.183.55.74 9.88 ms AS9808 China, Guangdong, Guangzhou, ChinaMobile
9 221.176.19.189 22.70 ms AS9808 China, Guangdong, Guangzhou, ChinaMobile
10 221.176.18.109 7.66 ms AS9808 China, Guangdong, Guangzhou, ChinaMobile
11 111.24.5.169 10.13 ms AS9808 China, Guangdong, Guangzhou, ChinaMobile
12 221.183.119.81 44.19 ms AS9808 China, Beijing, ChinaMobile
13 221.183.94.14 54.72 ms AS9808 China, Beijing, ChinaMobile
14 *
15 *
16 36.110.247.34 47.97 ms AS23724 China, Beijing, ChinaTelecom
17 36.110.251.85 54.56 ms AS23724 China, Beijing, ChinaTelecom
18 180.149.128.9 71.52 ms AS23724 China, Beijing, ChinaTelecom
Traceroute to China, Guangzhou CU (TCP Mode, Max 30 Hop)
============================================================
traceroute to 210.21.4.130 (210.21.4.130), 30 hops max, 32 byte packets
1 156.240.106.254 1.52 ms AS140227 China, Hong Kong, cloudinnovation.org
2 100.65.0.6 3.31 ms * Shared Address
3 10.53.0.1 1.88 ms * LAN Address
4 10.52.0.1 1.87 ms * LAN Address
5 223.119.81.173 2.64 ms AS58453 China, Hong Kong, ChinaMobile
6 223.120.2.29 3.06 ms AS58453 China, Hong Kong, ChinaMobile
7 *
8 *
9 221.176.24.61 11.79 ms AS9808 China, Guangdong, Guangzhou, ChinaMobile
10 221.176.24.5 9.81 ms AS9808 China, Guangdong, Guangzhou, ChinaMobile
11 111.24.4.249 19.14 ms AS9808 China, Guangdong, Guangzhou, ChinaMobile
12 221.183.97.82 7.90 ms AS9808 China, Guangdong, Guangzhou, ChinaMobile
13 219.158.46.149 12.86 ms AS4837 China, Guangdong, Guangzhou, ChinaUnicom
14 219.158.103.173 11.06 ms AS4837 China, Guangdong, Guangzhou, ChinaUnicom
15 120.86.0.182 17.82 ms AS17816 China, Guangdong, Guangzhou, ChinaUnicom
16 120.80.79.194 11.47 ms AS17622 China, Guangdong, Guangzhou, ChinaUnicom
17 *
18 *
19 *
20 *
21 *
22 *
23 *
24 *
25 *
26 *
27 *
28 *
29 *
30 *
Traceroute to China, Shanghai CU (TCP Mode, Max 30 Hop)
============================================================
traceroute to 58.247.8.158 (58.247.8.158), 30 hops max, 32 byte packets
1 156.240.106.254 1.96 ms AS140227 China, Hong Kong, cloudinnovation.org
2 100.65.0.6 3.37 ms * Shared Address
3 10.53.0.1 1.74 ms * LAN Address
4 10.52.0.1 1.80 ms * LAN Address
5 223.119.81.173 10.58 ms AS58453 China, Hong Kong, ChinaMobile
6 223.120.2.29 3.25 ms AS58453 China, Hong Kong, ChinaMobile
7 *
8 *
9 221.176.24.61 11.13 ms AS9808 China, Guangdong, Guangzhou, ChinaMobile
10 221.176.22.157 10.50 ms AS9808 China, Guangdong, Guangzhou, ChinaMobile
11 111.24.5.185 28.13 ms AS9808 China, Guangdong, Guangzhou, ChinaMobile
12 111.24.3.237 42.48 ms AS9808 China, Shanghai, ChinaMobile
13 221.183.94.10 40.40 ms AS9808 China, Shanghai, ChinaMobile
14 221.183.123.106 39.06 ms AS9808 China, ChinaMobile
15 219.158.9.97 42.02 ms AS4837 China, Shanghai, ChinaUnicom
16 *
17 139.226.228.46 37.00 ms AS17621 China, Shanghai, ChinaUnicom
18 139.226.225.22 34.55 ms AS17621 China, Shanghai, ChinaUnicom
19 58.247.8.153 52.10 ms AS17621 China, Shanghai, ChinaUnicom
20 *
21 *
22 *
23 *
24 *
25 *
26 *
27 *
28 *
29 *
30 *
Traceroute to China, Beijing CU (TCP Mode, Max 30 Hop)
============================================================
traceroute to 123.125.99.1 (123.125.99.1), 30 hops max, 32 byte packets
1 *
2 100.65.0.6 2.90 ms * Shared Address
3 10.53.0.1 1.99 ms * LAN Address
4 10.52.0.1 1.75 ms * LAN Address
5 223.119.81.173 2.60 ms AS58453 China, Hong Kong, ChinaMobile
6 223.120.2.29 6.29 ms AS58453 China, Hong Kong, ChinaMobile
7 *
8 221.183.55.70 12.87 ms AS9808 China, Guangdong, Guangzhou, ChinaMobile
9 221.183.52.85 7.75 ms AS9808 China, Guangdong, Guangzhou, ChinaMobile
10 221.176.22.105 9.03 ms AS9808 China, Guangdong, Guangzhou, ChinaMobile
11 111.24.4.245 15.56 ms AS9808 China, Guangdong, Guangzhou, ChinaMobile
12 111.24.2.145 45.59 ms AS9808 China, Beijing, ChinaMobile
13 221.183.94.34 51.85 ms AS9808 China, Beijing, ChinaMobile
14 221.183.95.54 55.69 ms AS9808 China, Beijing, ChinaMobile
15 219.158.102.201 43.58 ms AS4837 China, Beijing, ChinaUnicom
16 *
17 61.148.5.122 44.42 ms AS4808 China, Beijing, ChinaUnicom
18 124.65.194.134 43.58 ms AS4808 China, Beijing, ChinaUnicom
19 61.135.113.158 54.87 ms AS4808 China, Beijing, ChinaUnicom
20 *
21 123.125.99.1 44.70 ms AS4808 China, Beijing, ChinaUnicom
Traceroute to China, Guangzhou CM (TCP Mode, Max 30 Hop)
============================================================
traceroute to 120.196.212.25 (120.196.212.25), 30 hops max, 32 byte packets
1 *
2 100.65.0.6 1.74 ms * Shared Address
3 10.53.0.1 1.51 ms * LAN Address
4 10.52.0.1 1.82 ms * LAN Address
5 223.119.81.173 2.77 ms AS58453 China, Hong Kong, ChinaMobile
6 223.120.2.29 3.25 ms AS58453 China, Hong Kong, ChinaMobile
7 *
8 *
9 221.183.25.122 7.78 ms AS9808 China, Guangdong, Guangzhou, ChinaMobile
10 221.176.24.157 9.78 ms AS9808 China, Guangdong, Guangzhou, ChinaMobile
11 111.24.4.229 9.92 ms AS9808 China, Guangdong, Guangzhou, ChinaMobile
12 111.24.14.82 12.40 ms AS9808 China, Guangdong, Guangzhou, ChinaMobile
13 211.136.249.93 10.73 ms AS56040 China, Guangdong, Guangzhou, ChinaMobile
14 211.139.180.106 111.05 ms AS56040 China, Guangdong, Guangzhou, ChinaMobile
15 211.136.196.234 14.41 ms AS56040 China, Guangdong, Guangzhou, ChinaMobile
16 120.196.212.25 14.16 ms AS56040 China, Guangdong, Guangzhou, ChinaMobile
Traceroute to China, Shanghai CM (TCP Mode, Max 30 Hop)
============================================================
traceroute to 221.183.55.22 (221.183.55.22), 30 hops max, 32 byte packets
1 *
2 100.65.0.6 2.78 ms * Shared Address
3 10.53.0.1 1.73 ms * LAN Address
4 10.52.0.1 1.74 ms * LAN Address
5 223.119.81.173 2.52 ms AS58453 China, Hong Kong, ChinaMobile
6 223.120.22.69 3.07 ms AS58453 China, Hong Kong, ChinaMobile
7 *
8 *
9 *
10 *
11 *
12 *
13 *
14 *
15 *
16 *
17 *
18 *
19 *
20 *
21 *
22 *
23 *
24 *
25 *
26 *
27 *
28 *
29 *
30 *
Traceroute to China, Beijing CM (TCP Mode, Max 30 Hop)
============================================================
traceroute to 211.136.25.153 (211.136.25.153), 30 hops max, 32 byte packets
1 *
2 100.65.0.6 3.24 ms * Shared Address
3 10.53.0.1 1.71 ms * LAN Address
4 10.52.0.1 1.91 ms * LAN Address
5 223.119.81.173 2.78 ms AS58453 China, Hong Kong, ChinaMobile
6 223.120.2.29 3.59 ms AS58453 China, Hong Kong, ChinaMobile
7 *
8 *
9 *
10 *
11 221.176.21.229 77.09 ms AS9808 China, Beijing, ChinaMobile
12 111.24.17.158 42.88 ms AS9808 China, Beijing, ChinaMobile
13 111.24.14.54 49.50 ms AS9808 China, Beijing, ChinaMobile
14 211.136.66.229 50.99 ms AS56048 China, Beijing, ChinaMobile
15 *
16 211.136.95.226 54.87 ms AS56048 China, Beijing, ChinaMobile
17 *
18 *
19 *
20 211.136.25.153 51.13 ms AS56048 China, Beijing, ChinaMobile
Traceroute to China, Beijing Dr.Peng Network IDC Network (TCP Mode, Max 30 Hop)
============================================================
traceroute to 211.167.230.100 (211.167.230.100), 30 hops max, 32 byte packets
1 *
2 100.65.0.6 2.41 ms * Shared Address
3 10.53.0.1 1.73 ms * LAN Address
4 10.52.0.1 1.59 ms * LAN Address
5 223.119.81.173 2.54 ms AS58453 China, Hong Kong, ChinaMobile
6 223.120.2.29 2.98 ms AS58453 China, Hong Kong, ChinaMobile
7 *
8 *
9 221.183.52.85 36.98 ms AS9808 China, Guangdong, Guangzhou, ChinaMobile
10 221.176.24.101 11.68 ms AS9808 China, Guangdong, Guangzhou, ChinaMobile
11 111.24.5.177 10.16 ms AS9808 China, Guangdong, Guangzhou, ChinaMobile
12 221.183.116.209 54.62 ms AS9808 China, Beijing, ChinaMobile
13 221.183.94.34 55.95 ms AS9808 China, Beijing, ChinaMobile
14 221.183.95.62 48.12 ms AS9808 China, Beijing, ChinaMobile
15 219.158.3.65 51.82 ms AS4837 China, Beijing, ChinaUnicom
16 125.33.186.126 50.27 ms AS4808 China, Beijing, ChinaUnicom
17 202.96.13.182 46.84 ms AS4808 China, Beijing, ChinaUnicom
18 61.149.212.242 49.21 ms AS4808 China, Beijing, ChinaUnicom
19 202.99.1.238 49.04 ms AS4808 China, Beijing, ChinaUnicom
20 218.241.255.86 52.37 ms AS4808 China, Beijing, DRPENG
21 218.241.245.102 57.13 ms AS4808 China, Beijing, DRPENG
22 218.241.245.158 45.28 ms AS4808 China, Beijing, DRPENG
23 *
24 211.167.230.100 49.28 ms AS17964 China, Beijing, DRPENG
Unixbench跑分看下机器综合性能:
------------------------------------------------------------------------
Benchmark Run: Sat Apr 16 2022 10:51:23 - 11:19:41
16 CPUs in system; running 1 parallel copy of tests
Dhrystone 2 using register variables 32248209.4 lps (10.0 s, 7 samples)
Double-Precision Whetstone 3597.0 MWIPS (10.4 s, 7 samples)
Execl Throughput 3597.1 lps (29.8 s, 2 samples)
File Copy 1024 bufsize 2000 maxblocks 464512.7 KBps (30.0 s, 2 samples)
File Copy 256 bufsize 500 maxblocks 124575.5 KBps (30.0 s, 2 samples)
File Copy 4096 bufsize 8000 maxblocks 1563690.3 KBps (30.0 s, 2 samples)
Pipe Throughput 649773.4 lps (10.0 s, 7 samples)
Pipe-based Context Switching 127491.5 lps (10.0 s, 7 samples)
Process Creation 2765.8 lps (30.0 s, 2 samples)
Shell Scripts (1 concurrent) 4230.1 lpm (60.0 s, 2 samples)
Shell Scripts (8 concurrent) 3185.4 lpm (60.0 s, 2 samples)
System Call Overhead 390638.6 lps (10.0 s, 7 samples)
System Benchmarks Index Values BASELINE RESULT INDEX
Dhrystone 2 using register variables 116700.0 32248209.4 2763.3
Double-Precision Whetstone 55.0 3597.0 654.0
Execl Throughput 43.0 3597.1 836.5
File Copy 1024 bufsize 2000 maxblocks 3960.0 464512.7 1173.0
File Copy 256 bufsize 500 maxblocks 1655.0 124575.5 752.7
File Copy 4096 bufsize 8000 maxblocks 5800.0 1563690.3 2696.0
Pipe Throughput 12440.0 649773.4 522.3
Pipe-based Context Switching 4000.0 127491.5 318.7
Process Creation 126.0 2765.8 219.5
Shell Scripts (1 concurrent) 42.4 4230.1 997.7
Shell Scripts (8 concurrent) 6.0 3185.4 5309.0
System Call Overhead 15000.0 390638.6 260.4
========
System Benchmarks Index Score 867.4
------------------------------------------------------------------------
Benchmark Run: Sat Apr 16 2022 11:19:41 - 11:47:57
16 CPUs in system; running 16 parallel copies of tests
Dhrystone 2 using register variables 283088719.5 lps (10.0 s, 7 samples)
Double-Precision Whetstone 47742.5 MWIPS (10.0 s, 7 samples)
Execl Throughput 32195.2 lps (29.9 s, 2 samples)
File Copy 1024 bufsize 2000 maxblocks 753020.9 KBps (30.0 s, 2 samples)
File Copy 256 bufsize 500 maxblocks 196858.8 KBps (30.0 s, 2 samples)
File Copy 4096 bufsize 8000 maxblocks 2442223.4 KBps (30.0 s, 2 samples)
Pipe Throughput 6367396.5 lps (10.0 s, 7 samples)
Pipe-based Context Switching 1516324.7 lps (10.0 s, 7 samples)
Process Creation 64967.1 lps (30.0 s, 2 samples)
Shell Scripts (1 concurrent) 49795.6 lpm (60.0 s, 2 samples)
Shell Scripts (8 concurrent) 8622.9 lpm (60.0 s, 2 samples)
System Call Overhead 3733220.8 lps (10.0 s, 7 samples)
System Benchmarks Index Values BASELINE RESULT INDEX
Dhrystone 2 using register variables 116700.0 283088719.5 24257.8
Double-Precision Whetstone 55.0 47742.5 8680.5
Execl Throughput 43.0 32195.2 7487.3
File Copy 1024 bufsize 2000 maxblocks 3960.0 753020.9 1901.6
File Copy 256 bufsize 500 maxblocks 1655.0 196858.8 1189.5
File Copy 4096 bufsize 8000 maxblocks 5800.0 2442223.4 4210.7
Pipe Throughput 12440.0 6367396.5 5118.5
Pipe-based Context Switching 4000.0 1516324.7 3790.8
Process Creation 126.0 64967.1 5156.1
Shell Scripts (1 concurrent) 42.4 49795.6 11744.3
Shell Scripts (8 concurrent) 6.0 8622.9 14371.5
System Call Overhead 15000.0 3733220.8 2488.8
========
System Benchmarks Index Score 5411.8
======= Script description and score comparison completed! =======
流媒体测试,大家自行看看吧,不保证绝对是这样:
** 测试时间: Sat Apr 16 10:49:20 CST 2022
** 正在测试IPv4解锁情况
--------------------------------
** 您的网络为: (199.15.*.*)
============[ Multination ]============
Dazn: No
HotStar: Yes (Region: US)
Disney+: Yes (Region: US)
Netflix: Originals Only
YouTube Premium: Yes (Region: HK)
Amazon Prime Video: Unsupported
TVBAnywhere+: Yes
iQyi Oversea Region: US
Viu.com: No
YouTube CDN: Hong Kong
Netflix Preferred CDN: Associated with [] in [Hong Kong ]
Spotify Registration: No
Steam Currency: USD
=======================================
=============[ Hong Kong ]=============
Now E: No
Viu.TV: No
MyTVSuper: No
HBO GO Asia: Yes (Region: HK)
BiliBili Hongkong/Macau/Taiwan: Yes
=======================================
当前主机不支持IPv6,跳过...
总结下hncloud华纳云香港大带宽服务器测评结果:
去程,给电信和联通强制走了CN2到香港pccw,移动走自己的CMI直连;回程,三网强制一个模式,全部从移动香港节点直连内地移动,然后再对内地各自线路。从网络来看,这种大带宽模式的情况目前来看还是比较可以的,带宽最高还能到1Gbps,大家根据自己的需求判断吧!最后再附上hncloud华纳云香港大带宽服务器产品入口:香港大带宽服务器_香港bgp服务器_香港回国线路-华纳云 (hncloud.com)。
老刘博客

































