老刘博客前文已经介绍了ReCloud英国 | 家宽三网优化IP | 一期套餐并进行了VPS测评,具体见文章《ReCloud英国VPS,英国家宽运营商原生ip,无dmca,解锁一切流媒体,三网优化,¥30.00CNY/半年起》,《ReCloud英国VPS测评:英国 | 家宽IP | 一期 英国 2C2G 500M UNLIMITED 英国原生IP》。最近ReCloud英国大硬盘VPS上架,开设在英国 | 英国大盘鸡 | 一期,嘤国大盘鸡,无dmca,请自行遵守当地法律使用,更换IP需20元手续费,所有套餐需要30元开机费作为押金!老刘博客这里选购了ReCloud英国大盘2C4G无限流量版VPS,并进行了性能测评,包括下载速度、速度延迟、路由丢包、性能测评、流媒体解锁等。
ReCloud官网:https://oneprovide.net
ReCloud英国大硬盘VPS套餐购买入口:
英国大盘轻量版,英国大盘1C1G,英国大盘2C2G,英国大盘2C4G无限流量版
ReCloud英国大盘2C4G无限流量版基本参数,CPU是Intel Xeon Processor (Skylake, IBRS),2核4G内存,IO磁盘75.2 MB/s左右
----------------------------------------------------------------------
CPU Model : Intel Xeon Processor (Skylake, IBRS)
CPU Cores : 2 Cores 2599.998 MHz x86_64
CPU Cache : 16384 KB
CPU Flags : AES-NI Enabled & VM-x/AMD-V Disabled
OS : CentOS 7.6.1810 (64 Bit) KVM
Kernel : 3.10.0-957.1.3.el7.x86_64
Total Space : 1.7 GB / 985.0 GB
Total RAM : 78 MB / 3789 MB (973 MB Buff)
Total SWAP : 0 MB / 0 MB
Uptime : 0 days 1 hour 53 min
Load Average : 0.40, 0.93, 1.45
TCP CC : cubic
Organization : AS42831 UK Dedicated Servers Limited
Location : London / GB
Region : England
----------------------------------------------------------------------
Stream Media Unlock :
Netflix : Originals Only
YouTube Premium : Yes (Region: GB)
YouTube CDN : Amsterdam
BiliBili China : No
----------------------------------------------------------------------
I/O Speed( 1.0GB ) : 86.2 MB/s
I/O Speed( 1.0GB ) : 99.0 MB/s
I/O Speed( 1.0GB ) : 40.4 MB/s
Average I/O Speed : 75.2 MB/s
----------------------------------------------------------------------
ReCloud英国大盘2C4G无限流量版VPS,通过BGP.HE.NET查看后,IP是英国原生IP
ReCloud英国大盘2C4G无限流量版172个节点网络延迟情况
ReCloud英国大盘2C4G无限流量版,Speedtest.net国内外节点测速
----------------------------------------------------------------------
Node Name Upload Speed Download Speed Latency
Speedtest.net 308.27 Mbit/s 358.17 Mbit/s (*)79.86 ms
Shanghai CT 55.71 Mbit/s 328.76 Mbit/s 250.07 ms
Guangzhou 5G CT 20.13 Mbit/s 139.55 Mbit/s 249.32 ms
Nanjing 5G CT 85.95 Mbit/s 269.07 Mbit/s 245.06 ms
TianJin 5G CT 47.58 Mbit/s 329.27 Mbit/s 218.83 ms
Shanghai 5G CU 2.90 Mbit/s 418.60 Mbit/s 273.49 ms
Nanjing CU FAILED Mbit/s 191.34 Mbit/s 227.96 ms
Yinchuan CM 120.79 Mbit/s 292.00 Mbit/s 301.88 ms
Nanjing 5G CM 10.39 Mbit/s 130.36 Mbit/s 269.50 ms
----------------------------------------------------------------------
Node Name Upload Speed Download Speed Latency
Hong Kong CN 114.89 Mbit/s 297.88 Mbit/s 188.45 ms
Macau CN 92.95 Mbit/s 74.55 Mbit/s 182.68 ms
Taiwan CN 53.18 Mbit/s 425.33 Mbit/s 241.21 ms
Singapore SG 171.21 Mbit/s 292.09 Mbit/s 158.35 ms
Tokyo JP 130.56 Mbit/s 323.98 Mbit/s 242.71 ms
Seoul KR 78.20 Mbit/s 299.90 Mbit/s 274.63 ms
Los Angeles US 195.19 Mbit/s 285.40 Mbit/s 144.22 ms
Frankfurt DE 457.09 Mbit/s 276.30 Mbit/s 19.94 ms
France FR 354.47 Mbit/s 303.95 Mbit/s 23.45 ms
----------------------------------------------------------------------
ReCloud英国大盘2C4G无限流量版宝塔跑分测试
宝塔安装耗时1分钟
Congratulations! Installed successfully!
==================================================================
外网面板地址: http://45.13.150.135:8888/33648383
内网面板地址: http://45.13.150.135:8888/33648383
username: sbmcatqk
password: 86f447ef
If you cannot access the panel,
release the following panel port [8888] in the security group
若无法访问面板,请检查防火墙/安全组是否有放行面板[8888]端口
==================================================================
Time consumed: 1 Minute!
[root@uktest ~]#
宝塔跑分7095
ReCloud英国大盘2C4G无限流量版,上海本地上传100MB文件平均速度1.82MB/s
ReCloud英国大盘2C4G无限流量版,上海本地下载100MB文件速度几十KB/s
ReCloud英国大盘2C4G无限流量版丢包率测试
ReCloud英国大盘2C4G无限流量版FIO测试硬盘读写
fio Disk Speed Tests (Mixed R/W 50/50):
---------------------------------
Block Size | 4k (IOPS) | 64k (IOPS)
------ | --- ---- | ---- ----
Read | 2.42 MB/s (605) | 29.03 MB/s (453)
Write | 2.43 MB/s (609) | 29.43 MB/s (459)
Total | 4.86 MB/s (1.2k) | 58.47 MB/s (912)
| |
Block Size | 512k (IOPS) | 1m (IOPS)
------ | --- ---- | ---- ----
Read | 65.86 MB/s (128) | 60.37 MB/s (58)
Write | 69.21 MB/s (135) | 64.60 MB/s (63)
Total | 135.07 MB/s (263) | 124.97 MB/s (121)
ReCloud英国大盘2C4G无限流量版iperf3针对欧美的节点的数据测试
iperf3 Network Speed Tests (IPv4):
---------------------------------
Provider | Location (Link) | Send Speed | Recv Speed
| | |
Clouvider | London, UK (10G) | 485 Mbits/sec | 319 Mbits/sec
Online.net | Paris, FR (10G) | 487 Mbits/sec | 269 Mbits/sec
WorldStream | The Netherlands (10G) | 480 Mbits/sec | 278 Mbits/sec
WebHorizon | Singapore (400M) | 218 Mbits/sec | 252 Mbits/sec
Clouvider | NYC, NY, US (10G) | 311 Mbits/sec | 238 Mbits/sec
Velocity Online | Tallahassee, FL, US (10G) | 275 Mbits/sec | 229 Mbits/sec
Clouvider | Los Angeles, CA, US (10G) | 226 Mbits/sec | 120 Mbits/sec
Iveloz Telecom | Sao Paulo, BR (2G) | busy | busy
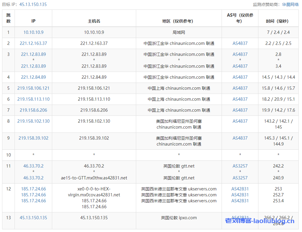
ReCloud英国大盘2C4G无限流量版路由去程跟踪测试
ReCloud英国大盘2C4G无限流量版路由回程跟踪测试
Traceroute to China, Guangzhou CT (TCP Mode, Max 30 Hop)
============================================================
traceroute to 113.108.209.1 (113.108.209.1), 30 hops max, 32 byte packets
1 45.13.150.129 0.60 ms AS42831 United Kingdom, London, ipxo.com
2 31.132.4.81 5.24 ms AS42831 United Kingdom, London, ukservers.com
3 46.33.70.1 25.51 ms AS3257 United Kingdom, London, gtt.net
4 89.149.128.98 11.38 ms AS3257 United Kingdom, London, gtt.net
5 154.14.42.210 8.18 ms AS3257 United Kingdom, London, gtt.net
6 202.97.13.21 256.27 ms AS4134 China, Guangdong, Guangzhou, ChinaTelecom
7 *
8 202.97.94.121 251.82 ms AS4134 China, Guangdong, Guangzhou, ChinaTelecom
9 113.108.209.1 246.05 ms AS4134 China, Guangdong, Guangzhou, ChinaTelecom
Traceroute to China, Shanghai CT (TCP Mode, Max 30 Hop)
============================================================
traceroute to 180.153.28.5 (180.153.28.5), 30 hops max, 32 byte packets
1 45.13.150.129 6.56 ms AS42831 United Kingdom, London, ipxo.com
2 31.132.4.81 5.23 ms AS42831 United Kingdom, London, ukservers.com
3 46.33.70.1 20.44 ms AS3257 United Kingdom, London, gtt.net
4 89.149.128.214 6.01 ms AS3257 United Kingdom, London, gtt.net
5 154.14.42.210 7.29 ms AS3257 United Kingdom, London, gtt.net
6 *
7 202.97.90.30 250.90 ms AS4134 China, Shanghai, ChinaTelecom
8 *
9 *
10 124.74.166.222 280.21 ms AS4812 China, Shanghai, ChinaTelecom
11 101.95.225.158 269.03 ms AS4811 China, Shanghai, ChinaTelecom
12 101.227.255.34 254.37 ms AS4812 China, Shanghai, ChinaTelecom
13 180.153.28.5 255.94 ms AS4812 China, Shanghai, ChinaTelecom
Traceroute to China, Beijing CT (TCP Mode, Max 30 Hop)
============================================================
traceroute to 180.149.128.9 (180.149.128.9), 30 hops max, 32 byte packets
1 45.13.150.129 0.53 ms AS42831 United Kingdom, London, ipxo.com
2 31.132.4.81 5.31 ms AS42831 United Kingdom, London, ukservers.com
3 46.33.70.1 6.12 ms AS3257 United Kingdom, London, gtt.net
4 89.149.128.98 6.65 ms AS3257 United Kingdom, London, gtt.net
5 154.14.42.210 7.46 ms AS3257 United Kingdom, London, gtt.net
6 *
7 *
8 *
9 36.110.247.50 230.84 ms AS23724 China, Beijing, ChinaTelecom
10 *
11 180.149.128.9 231.38 ms AS23724 China, Beijing, ChinaTelecom
Traceroute to China, Guangzhou CU (TCP Mode, Max 30 Hop)
============================================================
traceroute to 210.21.4.130 (210.21.4.130), 30 hops max, 32 byte packets
1 45.13.150.129 0.63 ms AS42831 United Kingdom, London, ipxo.com
2 31.132.4.81 5.33 ms AS42831 United Kingdom, London, ukservers.com
3 46.33.70.1 6.74 ms AS3257 United Kingdom, London, gtt.net
4 89.149.140.253 5.91 ms AS3257 United Kingdom, London, gtt.net
5 *
6 219.158.97.197 226.90 ms AS4837 China, Beijing, ChinaUnicom
7 *
8 219.158.113.122 250.33 ms AS4837 China, Shanghai, ChinaUnicom
9 219.158.113.101 235.73 ms AS4837 China, Shanghai, ChinaUnicom
10 219.158.6.214 264.09 ms AS4837 China, Guangdong, Guangzhou, ChinaUnicom
11 157.18.0.158 251.95 ms AS17816 China, Guangdong, Guangzhou, ChinaUnicom
12 *
13 *
14 *
15 *
16 *
17 *
18 *
19 *
20 *
21 *
22 *
23 *
24 *
25 *
26 *
27 *
28 *
29 *
30 *
Traceroute to China, Shanghai CU (TCP Mode, Max 30 Hop)
============================================================
traceroute to 58.247.8.158 (58.247.8.158), 30 hops max, 32 byte packets
1 45.13.150.129 7.42 ms AS42831 United Kingdom, London, ipxo.com
2 185.17.24.65 7.05 ms AS42831 United Kingdom, West Midlands County, Coventry, ukservers.com
3 212.187.138.197 6.37 ms AS3356 United Kingdom, London, level3.com
4 4.69.209.165 140.91 ms AS3356 United States, California, San Jose, level3.com
5 4.53.209.78 147.45 ms AS3356 United States, California, San Jose, level3.com
6 219.158.6.5 270.09 ms AS4837 China, Shanghai, ChinaUnicom
7 219.158.6.205 273.36 ms AS4837 China, Shanghai, ChinaUnicom
8 219.158.8.201 268.55 ms AS4837 China, Shanghai, ChinaUnicom
9 *
10 139.226.228.46 271.11 ms AS17621 China, Shanghai, ChinaUnicom
11 139.226.225.22 276.92 ms AS17621 China, Shanghai, ChinaUnicom
12 58.247.8.153 280.17 ms AS17621 China, Shanghai, ChinaUnicom
13 *
14 *
15 *
16 *
17 *
18 *
19 *
20 *
21 *
22 *
23 *
24 *
25 *
26 *
27 *
28 *
29 *
30 *
Traceroute to China, Beijing CU (TCP Mode, Max 30 Hop)
============================================================
traceroute to 123.125.99.1 (123.125.99.1), 30 hops max, 32 byte packets
1 45.13.150.129 0.47 ms AS42831 United Kingdom, London, ipxo.com
2 31.132.4.81 5.22 ms AS42831 United Kingdom, London, ukservers.com
3 46.33.70.1 10.78 ms AS3257 United Kingdom, London, gtt.net
4 213.200.117.138 35.28 ms AS3257 Germany, Hesse, Frankfurt, gtt.net
5 *
6 219.158.14.145 241.80 ms AS4837 China, Guangdong, Guangzhou, ChinaUnicom
7 219.158.111.213 239.51 ms AS4837 China, Beijing, ChinaUnicom
8 219.158.3.49 261.03 ms AS4837 China, Beijing, ChinaUnicom
9 *
10 *
11 124.65.63.38 278.02 ms AS4808 China, Beijing, ChinaUnicom
12 61.148.158.102 244.09 ms AS4808 China, Beijing, ChinaUnicom
13 61.135.113.158 261.72 ms AS4808 China, Beijing, ChinaUnicom
14 *
15 123.125.99.1 278.17 ms AS4808 China, Beijing, ChinaUnicom
Traceroute to China, Guangzhou CM (TCP Mode, Max 30 Hop)
============================================================
traceroute to 120.196.212.25 (120.196.212.25), 30 hops max, 32 byte packets
1 45.13.150.129 0.36 ms AS42831 United Kingdom, London, ipxo.com
2 94.229.73.114 5.40 ms AS42831 United Kingdom, London, ukservers.com
3 149.6.148.201 5.72 ms AS174 United Kingdom, London, cogentco.com
4 154.54.61.253 6.44 ms AS174 United Kingdom, London, cogentco.com
5 154.54.30.185 73.92 ms AS174 United States, New York, New York City, cogentco.com
6 154.54.40.106 79.90 ms AS174 United States, Virginia, Arlington, cogentco.com
7 154.54.7.158 94.08 ms AS174 United States, Georgia, Atlanta, cogentco.com
8 154.54.28.70 111.14 ms AS174 cogentco.com
9 154.54.30.162 124.71 ms AS174 cogentco.com
10 154.54.42.65 133.48 ms AS174 United States, Arizona, Phoenix, cogentco.com
11 154.54.45.162 144.99 ms AS174 United States, California, Los Angeles, cogentco.com
12 154.54.3.70 166.22 ms AS174 United States, California, Los Angeles, cogentco.com
13 38.19.140.98 145.02 ms AS174 United States, California, Los Angeles, cogentco.com
14 223.118.10.17 146.23 ms AS58453 United States, California, Los Angeles, ChinaMobile
15 *
16 221.183.52.85 289.03 ms AS9808 China, Guangdong, Guangzhou, ChinaMobile
17 221.183.68.146 289.52 ms AS9808 China, Guangdong, Guangzhou, ChinaMobile
18 111.24.5.165 296.90 ms AS9808 China, Guangdong, Guangzhou, ChinaMobile
19 111.24.5.34 297.34 ms AS9808 China, Guangdong, Shenzhen, ChinaMobile
20 *
21 211.136.203.22 297.30 ms AS56040 China, Guangdong, Guangzhou, ChinaMobile
22 211.139.180.106 299.39 ms AS56040 China, Guangdong, Guangzhou, ChinaMobile
23 211.139.180.106 303.68 ms AS56040 China, Guangdong, Guangzhou, ChinaMobile
24 120.196.212.25 299.65 ms AS56040 China, Guangdong, Guangzhou, ChinaMobile
Traceroute to China, Shanghai CM (TCP Mode, Max 30 Hop)
============================================================
traceroute to 221.183.55.22 (221.183.55.22), 30 hops max, 32 byte packets
1 45.13.150.129 0.48 ms AS42831 United Kingdom, London, ipxo.com
2 5.101.140.42 5.92 ms AS42831 United Kingdom, London, ukservers.com
3 149.6.148.201 6.83 ms AS174 United Kingdom, London, cogentco.com
4 154.54.61.253 5.73 ms AS174 United Kingdom, London, cogentco.com
5 154.54.82.34 68.18 ms AS174 United States, Massachusetts, Boston, cogentco.com
6 154.54.0.221 72.23 ms AS174 cogentco.com
7 154.54.29.173 82.30 ms AS174 cogentco.com
8 154.54.6.221 89.73 ms AS174 United States, Illinois, Chicago, cogentco.com
9 154.54.42.165 101.00 ms AS174 United States, Missouri, Kansas City, cogentco.com
10 154.54.5.89 112.04 ms AS174 United States, Colorado, Denver, cogentco.com
11 154.54.42.97 122.14 ms AS174 United States, Utah, Salt Lake City, cogentco.com
12 154.54.44.141 138.44 ms AS174 United States, California, San Francisco, cogentco.com
13 154.54.43.14 139.65 ms AS174 United States, California, San Jose, cogentco.com
14 38.88.224.162 139.39 ms AS174 United States, California, San Jose, cogentco.com
15 223.120.6.69 138.38 ms AS58453 United States, California, San Jose, ChinaMobile
16 *
17 221.183.55.22 272.20 ms AS9808 China, Shanghai, ChinaMobile
Traceroute to China, Beijing CM (TCP Mode, Max 30 Hop)
============================================================
traceroute to 211.136.25.153 (211.136.25.153), 30 hops max, 32 byte packets
1 45.13.150.129 0.45 ms AS42831 United Kingdom, London, ipxo.com
2 31.132.6.142 5.83 ms AS42831 United Kingdom, London, ukservers.com
3 46.33.70.1 6.24 ms AS3257 United Kingdom, London, gtt.net
4 89.149.181.102 130.87 ms AS3257 United States, California, Los Angeles, gtt.net
5 173.205.45.154 136.67 ms AS3257 United States, California, Los Angeles, gtt.net
6 223.120.6.217 138.82 ms AS58453 United States, California, Los Angeles, ChinaMobile
7 *
8 *
9 *
10 221.176.16.213 284.30 ms AS9808 China, Beijing, ChinaMobile
11 111.24.17.105 289.97 ms AS9808 China, Beijing, ChinaMobile
12 111.24.2.134 289.25 ms AS9808 China, Beijing, ChinaMobile
13 *
14 *
15 211.136.67.166 287.52 ms AS56048 China, Beijing, ChinaMobile
16 *
17 *
18 *
19 211.136.25.153 288.41 ms AS56048 China, Beijing, ChinaMobile
Traceroute to China, Beijing Dr.Peng Network IDC Network (TCP Mode, Max 30 Hop)
============================================================
traceroute to 211.167.230.100 (211.167.230.100), 30 hops max, 32 byte packets
1 45.13.150.129 0.43 ms AS42831 United Kingdom, London, ipxo.com
2 31.132.6.142 5.80 ms AS42831 United Kingdom, London, ukservers.com
3 46.33.70.1 6.29 ms AS3257 United Kingdom, London, gtt.net
4 213.200.117.138 16.19 ms AS3257 Germany, Hesse, Frankfurt, gtt.net
5 *
6 219.158.14.153 243.50 ms AS4837 China, Guangdong, Guangzhou, ChinaUnicom
7 219.158.111.213 245.52 ms AS4837 China, Beijing, ChinaUnicom
8 219.158.3.177 245.77 ms AS4837 China, Beijing, ChinaUnicom
9 *
10 *
11 202.96.13.194 262.11 ms AS4808 China, Beijing, ChinaUnicom
12 61.149.212.242 243.98 ms AS4808 China, Beijing, ChinaUnicom
13 202.99.1.234 244.94 ms AS4808 China, Beijing, ChinaUnicom
14 218.241.252.14 254.84 ms AS4808 China, Beijing, DRPENG
15 218.241.255.102 253.00 ms AS4808 China, Beijing, DRPENG
16 218.241.245.54 271.40 ms AS4808 China, Beijing, DRPENG
17 *
18 211.167.230.100 271.12 ms AS17964 China, Beijing, DRPENG
----------------------------------------------------------------------
Unixbench跑分看ReCloud英国大盘2C4G无限流量版综合性能
------------------------------------------------------------------------
Benchmark Run: Sun Apr 17 2022 04:53:12 - 05:23:11
2 CPUs in system; running 1 parallel copy of tests
Dhrystone 2 using register variables 10727975.3 lps (10.0 s, 7 samples)
Double-Precision Whetstone 1763.8 MWIPS (11.4 s, 7 samples)
Execl Throughput 2014.5 lps (29.4 s, 2 samples)
File Copy 1024 bufsize 2000 maxblocks 97333.2 KBps (30.0 s, 2 samples)
File Copy 256 bufsize 500 maxblocks 27389.7 KBps (30.0 s, 2 samples)
File Copy 4096 bufsize 8000 maxblocks 305455.8 KBps (30.0 s, 2 samples)
Pipe Throughput 138521.3 lps (10.0 s, 7 samples)
Pipe-based Context Switching 32345.0 lps (10.0 s, 7 samples)
Process Creation 2413.9 lps (30.0 s, 2 samples)
Shell Scripts (1 concurrent) 2227.9 lpm (60.0 s, 2 samples)
Shell Scripts (8 concurrent) 261.9 lpm (60.1 s, 2 samples)
System Call Overhead 105410.1 lps (10.0 s, 7 samples)
System Benchmarks Index Values BASELINE RESULT INDEX
Dhrystone 2 using register variables 116700.0 10727975.3 919.3
Double-Precision Whetstone 55.0 1763.8 320.7
Execl Throughput 43.0 2014.5 468.5
File Copy 1024 bufsize 2000 maxblocks 3960.0 97333.2 245.8
File Copy 256 bufsize 500 maxblocks 1655.0 27389.7 165.5
File Copy 4096 bufsize 8000 maxblocks 5800.0 305455.8 526.6
Pipe Throughput 12440.0 138521.3 111.4
Pipe-based Context Switching 4000.0 32345.0 80.9
Process Creation 126.0 2413.9 191.6
Shell Scripts (1 concurrent) 42.4 2227.9 525.5
Shell Scripts (8 concurrent) 6.0 261.9 436.5
System Call Overhead 15000.0 105410.1 70.3
========
System Benchmarks Index Score 256.8
------------------------------------------------------------------------
Benchmark Run: Sun Apr 17 2022 05:23:11 - 05:53:36
2 CPUs in system; running 2 parallel copies of tests
Dhrystone 2 using register variables 20410613.0 lps (10.0 s, 7 samples)
Double-Precision Whetstone 3841.3 MWIPS (9.7 s, 7 samples)
Execl Throughput 1417.9 lps (29.7 s, 2 samples)
File Copy 1024 bufsize 2000 maxblocks 159913.8 KBps (30.0 s, 2 samples)
File Copy 256 bufsize 500 maxblocks 42595.1 KBps (30.0 s, 2 samples)
File Copy 4096 bufsize 8000 maxblocks 481235.2 KBps (30.0 s, 2 samples)
Pipe Throughput 278369.0 lps (10.0 s, 7 samples)
Pipe-based Context Switching 55617.9 lps (10.0 s, 7 samples)
Process Creation 3649.4 lps (30.0 s, 2 samples)
Shell Scripts (1 concurrent) 1965.6 lpm (60.0 s, 2 samples)
Shell Scripts (8 concurrent) 291.9 lpm (60.2 s, 2 samples)
System Call Overhead 224754.4 lps (10.0 s, 7 samples)
System Benchmarks Index Values BASELINE RESULT INDEX
Dhrystone 2 using register variables 116700.0 20410613.0 1749.0
Double-Precision Whetstone 55.0 3841.3 698.4
Execl Throughput 43.0 1417.9 329.7
File Copy 1024 bufsize 2000 maxblocks 3960.0 159913.8 403.8
File Copy 256 bufsize 500 maxblocks 1655.0 42595.1 257.4
File Copy 4096 bufsize 8000 maxblocks 5800.0 481235.2 829.7
Pipe Throughput 12440.0 278369.0 223.8
Pipe-based Context Switching 4000.0 55617.9 139.0
Process Creation 126.0 3649.4 289.6
Shell Scripts (1 concurrent) 42.4 1965.6 463.6
Shell Scripts (8 concurrent) 6.0 291.9 486.5
System Call Overhead 15000.0 224754.4 149.8
========
System Benchmarks Index Score 384.9
======= Script description and score comparison completed! =======
ReCloud英国大盘2C4G无限流量版流媒体解锁测试
** 测试时间: Sun Apr 17 07:01:08 EDT 2022
** 正在测试IPv4解锁情况
--------------------------------
** 您的网络为: UK Dedicated Servers Limited (45.13.*.*)
============[ Multination ]============
Dazn: No
HotStar: Yes (Region: GB)
Disney+: Yes (Region: GB)
Netflix: Originals Only
YouTube Premium: Yes (Region: GB)
Amazon Prime Video: Yes (Region: GB)
TVBAnywhere+: Yes
iQyi Oversea Region: US
Viu.com: No
YouTube CDN: Amsterdam
Netflix Preferred CDN: London
Spotify Registration: No
Steam Currency: USD
=======================================
===============[ Europe ]==============
Rakuten TV: Yes
Funimation: Yes (Region: US)
HBO Nordic: Failed
HBO GO Europe: Failed (Network Connection)
---GB---
Sky Go: Yes
BritBox: Yes
ITV Hub: Yes
Channel 4: Yes
Channel 5: No
BBC iPLAYER: Yes
Discovery+ UK: No
---FR---
Salto: No
Canal+: No
Molotov: No
---DE---
Joyn: No
Sky: No
ZDF: No
---NL---
NLZIET: Failed
videoland: No
NPO Start Plus: No
---ES---
HBO Spain: Failed
PANTAYA: No
---IT---
Rai Play: No
---RU---
Amediateka: Failed (Network Connection)
---PT---
HBO Portugal: Failed (Network Connection)
=======================================
当前主机不支持IPv6,跳过...
ReCloud英国大盘2C4G无限流量版TikTok解锁测试
** 测试时间: Sun Apr 17 07:02:26 EDT 2022
** 您的网络为: <html>
<head><title>403 Forbidden</title></head>
<body>
<center><h1>403 Forbidden</h1></center>
<hr><center>nginx</center>
</body>
(45.13.*.*)
******************************************
Tiktok Region: 【US】(可能为IDC IP)
******************************************
老刘博客


































