ReCloud台湾 | Hinet 1G款VPS套餐详见:《ReCloud台湾Hinet国际优化版,联通移动可拉,1000Mbps峰值带宽,2c2g ¥449.00CNY/月,4c4g ¥499.00CNY/月》,老刘博客这里选购了一台该款机器进行了测评,ReCloud台湾 | Hinet 1G款 4c4g 1000M国际优化版(联通移动可拉)VPS测评:下载速度、速度延迟、路由丢包、性能测评、流媒体解锁等。
ReCloud台湾 | Hinet 1G款基本参数,Intel(R) Xeon(R) CPU E5-2670 v2 @ 2.50GHz,4c4g,IO磁盘在192.0 MB/s左右
----------------------------------------------------------------------
CPU Model : Intel(R) Xeon(R) CPU E5-2670 v2 @ 2.50GHz
CPU Cores : 4 Cores 2500.000 MHz x86_64
CPU Cache : 16384 KB
CPU Flags : AES-NI Enabled & VM-x/AMD-V Disabled
OS : CentOS 7.6.1810 (64 Bit) KVM
Kernel : 3.10.0-957.1.3.el7.x86_64
Total Space : 1.7 GB / 25.0 GB
Total RAM : 78 MB / 3789 MB (847 MB Buff)
Total SWAP : 0 MB / 0 MB
Uptime : 0 days 0 hour 38 min
Load Average : 0.29, 0.14, 0.14
TCP CC : cubic
Organization : AS3462 Data Communication Business Group
Location : Taipei / TW
Region : Taiwan
----------------------------------------------------------------------
Stream Media Unlock :
Netflix : Yes (Region: TW)
YouTube Premium : Yes (Region: TW)
YouTube CDN : Associated with HINET
BiliBili China : Yes (Region: Hongkong/Macau/Taiwan Only)
----------------------------------------------------------------------
I/O Speed( 1.0GB ) : 185 MB/s
I/O Speed( 1.0GB ) : 217 MB/s
I/O Speed( 1.0GB ) : 174 MB/s
Average I/O Speed : 192.0 MB/s
----------------------------------------------------------------------
ReCloud台湾 | Hinet 1G款是台湾原生IP(BGP.HE.NET查询该机器IP所属地为TW,即中国台湾)
ReCloud台湾 | Hinet 1G款172个节点网络延迟情况
ReCloud台湾 | Hinet 1G款Speedtest.net国内外节点测速
----------------------------------------------------------------------
Node Name Upload Speed Download Speed Latency
Speedtest.net 765.92 Mbit/s 758.48 Mbit/s 1.14 ms
Guangzhou 5G CT 48.88 Mbit/s 440.07 Mbit/s 47.74 ms
Nanjing 5G CT 57.08 Mbit/s 497.28 Mbit/s 75.18 ms
TianJin 5G CT 1.56 Mbit/s 656.84 Mbit/s 57.02 ms
Shanghai 5G CU 48.03 Mbit/s 517.57 Mbit/s 63.12 ms
Nanjing CU 183.66 Mbit/s 563.27 Mbit/s 56.79 ms
Yinchuan CM 127.90 Mbit/s 507.57 Mbit/s 77.97 ms
Nanjing 5G CM 72.22 Mbit/s 87.34 Mbit/s 66.89 ms
----------------------------------------------------------------------
Node Name Upload Speed Download Speed Latency
Hong Kong CN 281.46 Mbit/s 636.64 Mbit/s 24.38 ms
Macau CN 177.94 Mbit/s 85.21 Mbit/s 33.77 ms
Taiwan CN 685.44 Mbit/s 692.48 Mbit/s 2.74 ms
Singapore SG 144.34 Mbit/s 457.84 Mbit/s 61.44 ms
Tokyo JP 80.36 Mbit/s 384.74 Mbit/s 232.15 ms
Seoul KR 141.19 Mbit/s 438.47 Mbit/s 127.95 ms
Los Angeles US 90.67 Mbit/s 472.03 Mbit/s 141.92 ms
Frankfurt DE 55.21 Mbit/s 425.01 Mbit/s 278.52 ms
France FR 39.84 Mbit/s 414.13 Mbit/s 204.86 ms
----------------------------------------------------------------------
ReCloud台湾 | Hinet 1G款宝塔跑分、上传下载本地文件速度测试
宝塔安装耗时1分钟
Congratulations! Installed successfully!
==================================================================
外网面板地址: http://114.37.206.248:8888/fd3e1ed9
内网面板地址: http://10.231.97.37:8888/fd3e1ed9
username: igfb3ynw
password: 3df41823
If you cannot access the panel,
release the following panel port [8888] in the security group
若无法访问面板,请检查防火墙/安全组是否有放行面板[8888]端口
==================================================================
Time consumed: 1 Minute!
[root@hinet97 ~]#
宝塔跑分8429
本地100MB测试文件上传速度为3.71MB/s
下载速度4 MB/s左右,上传下载都很丝滑啊!
ReCloud台湾 | Hinet 1G款丢包率测试
ReCloud台湾 | Hinet 1G款FIO测试硬盘读写
fio Disk Speed Tests (Mixed R/W 50/50):
---------------------------------
Block Size | 4k (IOPS) | 64k (IOPS)
------ | --- ---- | ---- ----
Read | 9.14 MB/s (2.2k) | 115.81 MB/s (1.8k)
Write | 9.17 MB/s (2.2k) | 116.42 MB/s (1.8k)
Total | 18.31 MB/s (4.5k) | 232.24 MB/s (3.6k)
| |
Block Size | 512k (IOPS) | 1m (IOPS)
------ | --- ---- | ---- ----
Read | 141.90 MB/s (277) | 174.04 MB/s (169)
Write | 149.44 MB/s (291) | 185.63 MB/s (181)
Total | 291.35 MB/s (568) | 359.68 MB/s (350)
ReCloud台湾 | Hinet 1G款iperf3针对欧美的节点的数据测试
iperf3 Network Speed Tests (IPv4):
---------------------------------
Provider | Location (Link) | Send Speed | Recv Speed
| | |
Clouvider | London, UK (10G) | 52.1 Mbits/sec | 158 Mbits/sec
Online.net | Paris, FR (10G) | 178 Mbits/sec | 232 Mbits/sec
WorldStream | The Netherlands (10G) | 78.3 Mbits/sec | 119 Mbits/sec
WebHorizon | Singapore (400M) | 245 Mbits/sec | 396 Mbits/sec
Clouvider | NYC, NY, US (10G) | 85.8 Mbits/sec | 174 Mbits/sec
Velocity Online | Tallahassee, FL, US (10G) | 115 Mbits/sec | 201 Mbits/sec
Clouvider | Los Angeles, CA, US (10G) | 125 Mbits/sec | 246 Mbits/sec
Iveloz Telecom | Sao Paulo, BR (2G) | busy | busy
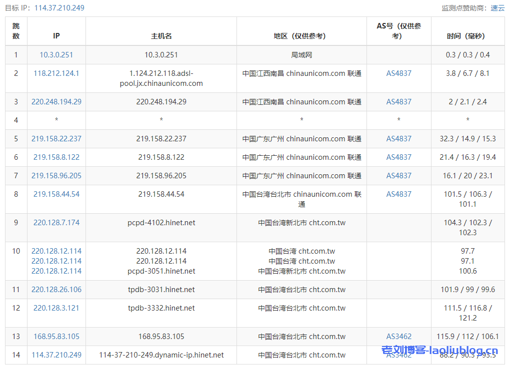
ReCloud台湾 | Hinet 1G款路由去程跟踪测试
ReCloud台湾 | Hinet 1G款路由回程跟踪测试
Traceroute to China, Guangzhou CT (TCP Mode, Max 30 Hop)
============================================================
traceroute to 113.108.209.1 (113.108.209.1), 30 hops max, 32 byte packets
1 10.231.97.1 0.78 ms * LAN Address
2 *
3 168.95.83.106 2.93 ms AS3462 China, Taiwan, Taipei City, cht.com.tw
4 220.128.3.142 2.06 ms * China, Taiwan, cht.com.tw
5 220.128.27.5 3.35 ms * China, Taiwan, Taipei City, cht.com.tw
6 220.128.11.33 1.85 ms * China, Taiwan, New Taipei City, cht.com.tw
7 220.128.6.125 1.80 ms * China, Taiwan, Taipei City, cht.com.tw
8 183.91.34.121 85.88 ms * China, Hong Kong, ChinaTelecom
9 202.97.57.82 64.45 ms AS4134 China, Guangdong, Guangzhou, ChinaTelecom
10 202.97.94.105 65.48 ms AS4134 China, Guangdong, Guangzhou, ChinaTelecom
11 202.97.94.145 64.97 ms AS4134 China, Guangdong, Guangzhou, ChinaTelecom
12 113.108.209.1 60.36 ms AS4134 China, Guangdong, Guangzhou, ChinaTelecom
Traceroute to China, Shanghai CT (TCP Mode, Max 30 Hop)
============================================================
traceroute to 180.153.28.5 (180.153.28.5), 30 hops max, 32 byte packets
1 10.231.97.1 1.31 ms * LAN Address
2 *
3 168.95.82.106 5.79 ms AS3462 China, Taiwan, Taipei City, cht.com.tw
4 220.128.4.90 2.45 ms * China, Taiwan, cht.com.tw
5 220.128.24.89 4.25 ms * China, Taiwan, Taipei City, cht.com.tw
6 220.128.10.37 1.56 ms * China, Taiwan, cht.com.tw
7 220.128.6.253 4.44 ms * China, Taiwan, Taipei City, cht.com.tw
8 *
9 202.97.33.125 38.83 ms AS4134 China, Shanghai, ChinaTelecom
10 *
11 101.95.120.121 52.92 ms AS4812 China, Shanghai, ChinaTelecom
12 101.95.207.18 54.68 ms AS4812 China, Shanghai, ChinaTelecom
13 124.74.232.242 54.84 ms AS4811 China, Shanghai, ChinaTelecom
14 101.227.255.34 55.56 ms AS4812 China, Shanghai, ChinaTelecom
15 180.153.28.5 55.59 ms AS4812 China, Shanghai, ChinaTelecom
Traceroute to China, Beijing CT (TCP Mode, Max 30 Hop)
============================================================
traceroute to 180.149.128.9 (180.149.128.9), 30 hops max, 32 byte packets
1 10.231.97.1 0.73 ms * LAN Address
2 *
3 168.95.82.110 2.53 ms AS3462 China, Taiwan, Taipei City, cht.com.tw
4 220.128.3.234 2.00 ms * China, Taiwan, cht.com.tw
5 220.128.24.101 6.94 ms * China, Taiwan, Taipei City, cht.com.tw
6 220.128.11.33 2.02 ms * China, Taiwan, New Taipei City, cht.com.tw
7 220.128.6.125 2.03 ms * China, Taiwan, Taipei City, cht.com.tw
8 183.91.34.121 84.67 ms * China, Hong Kong, ChinaTelecom
9 *
10 *
11 *
12 *
13 36.110.251.81 106.39 ms AS23724 China, Beijing, ChinaTelecom
14 180.149.128.9 99.37 ms AS23724 China, Beijing, ChinaTelecom
Traceroute to China, Guangzhou CU (TCP Mode, Max 30 Hop)
============================================================
traceroute to 210.21.4.130 (210.21.4.130), 30 hops max, 32 byte packets
1 10.231.97.1 0.72 ms * LAN Address
2 *
3 168.95.82.62 2.05 ms AS3462 China, Taiwan, Taipei City, cht.com.tw
4 220.128.4.102 2.21 ms * China, Taiwan, Taipei City, cht.com.tw
5 220.128.24.101 1.55 ms * China, Taiwan, Taipei City, cht.com.tw
6 220.128.11.173 2.85 ms * China, Taiwan, Taipei City, cht.com.tw
7 220.128.6.125 3.07 ms * China, Taiwan, Taipei City, cht.com.tw
8 211.72.233.193 75.50 ms AS3462 China, Guangdong, Guangzhou, cht.com.tw
9 219.158.97.30 142.80 ms AS4837 China, Guangdong, Guangzhou, ChinaUnicom
10 219.158.24.125 141.38 ms AS4837 China, Guangdong, Guangzhou, ChinaUnicom
11 120.83.0.230 56.56 ms AS17816 China, Guangdong, Guangzhou, ChinaUnicom
12 120.80.175.70 128.47 ms AS17622 China, Guangdong, Guangzhou, ChinaUnicom
13 *
14 *
15 *
16 *
17 *
18 *
19 *
20 *
21 *
22 *
23 *
24 *
25 *
26 *
27 *
28 *
29 *
30 *
Traceroute to China, Shanghai CU (TCP Mode, Max 30 Hop)
============================================================
traceroute to 58.247.8.158 (58.247.8.158), 30 hops max, 32 byte packets
1 10.231.97.1 0.86 ms * LAN Address
2 *
3 168.95.83.110 2.89 ms AS3462 China, Taiwan, Taipei City, cht.com.tw
4 220.128.4.238 1.94 ms * China, Taiwan, cht.com.tw
5 220.128.26.5 4.43 ms * China, Taiwan, Taipei City, cht.com.tw
6 220.128.11.153 2.24 ms * China, Taiwan, Taipei City, cht.com.tw
7 220.128.6.125 1.95 ms * China, Taiwan, Taipei City, cht.com.tw
8 211.72.233.193 58.36 ms AS3462 China, Guangdong, Guangzhou, cht.com.tw
9 219.158.111.137 99.36 ms AS4837 China, Shanghai, ChinaUnicom
10 219.158.113.138 126.22 ms AS4837 China, Shanghai, ChinaUnicom
11 219.158.113.113 173.62 ms AS4837 China, Shanghai, ChinaUnicom
12 *
13 139.226.228.46 109.94 ms AS17621 China, Shanghai, ChinaUnicom
14 139.226.225.22 150.96 ms AS17621 China, Shanghai, ChinaUnicom
15 58.247.8.153 99.97 ms AS17621 China, Shanghai, ChinaUnicom
16 *
17 *
18 *
19 *
20 *
21 *
22 *
23 *
24 *
25 *
26 *
27 *
28 *
29 *
30 *
Traceroute to China, Beijing CU (TCP Mode, Max 30 Hop)
============================================================
traceroute to 123.125.99.1 (123.125.99.1), 30 hops max, 32 byte packets
1 10.231.97.1 0.87 ms * LAN Address
2 *
3 168.95.82.110 3.90 ms AS3462 China, Taiwan, Taipei City, cht.com.tw
4 220.128.4.102 2.59 ms * China, Taiwan, Taipei City, cht.com.tw
5 220.128.24.89 3.27 ms * China, Taiwan, Taipei City, cht.com.tw
6 220.128.12.125 3.58 ms * China, Taiwan, Taipei City, cht.com.tw
7 220.128.6.125 1.42 ms * China, Taiwan, Taipei City, cht.com.tw
8 219.158.44.45 66.68 ms AS4837 China, Shanghai, ChinaUnicom
9 219.158.113.142 137.92 ms AS4837 China, Shanghai, ChinaUnicom
10 219.158.113.101 61.65 ms AS4837 China, Shanghai, ChinaUnicom
11 *
12 124.65.194.10 141.04 ms AS4808 China, Beijing, ChinaUnicom
13 221.219.202.254 74.84 ms AS4808 China, Beijing, ChinaUnicom
14 61.148.158.102 74.33 ms AS4808 China, Beijing, ChinaUnicom
15 61.135.113.154 164.22 ms AS4808 China, Beijing, ChinaUnicom
16 *
17 123.125.99.1 143.41 ms AS4808 China, Beijing, ChinaUnicom
Traceroute to China, Guangzhou CM (TCP Mode, Max 30 Hop)
============================================================
traceroute to 120.196.212.25 (120.196.212.25), 30 hops max, 32 byte packets
1 10.231.97.1 1.09 ms * LAN Address
2 *
3 168.95.83.58 2.71 ms AS3462 China, Taiwan, Taipei City, cht.com.tw
4 220.128.4.142 2.45 ms * China, Taiwan, cht.com.tw
5 220.128.27.81 2.07 ms * China, Taiwan, New Taipei City, cht.com.tw
6 220.128.12.113 5.05 ms * China, Taiwan, cht.com.tw
7 220.128.7.149 1.82 ms * China, Taiwan, Taipei City, cht.com.tw
8 223.119.47.73 28.64 ms AS58453 China, Hong Kong, ChinaMobile
9 223.120.2.53 27.01 ms AS58453 China, Hong Kong, ChinaMobile
10 *
11 *
12 221.176.24.133 33.00 ms AS9808 China, Guangdong, Guangzhou, ChinaMobile
13 221.176.22.233 35.64 ms AS9808 China, Guangdong, Guangzhou, ChinaMobile
14 111.24.5.185 35.18 ms AS9808 China, Guangdong, Guangzhou, ChinaMobile
15 111.24.5.22 38.11 ms AS9808 China, Guangdong, Guangzhou, ChinaMobile
16 183.235.226.237 36.37 ms AS56040 China, Guangdong, Guangzhou, ChinaMobile
17 211.136.196.198 41.82 ms AS56040 China, Guangdong, Guangzhou, ChinaMobile
18 211.139.180.106 43.76 ms AS56040 China, Guangdong, Guangzhou, ChinaMobile
19 211.139.180.106 39.40 ms AS56040 China, Guangdong, Guangzhou, ChinaMobile
20 *
21 *
22 120.196.212.25 38.34 ms AS56040 China, Guangdong, Guangzhou, ChinaMobile
Traceroute to China, Shanghai CM (TCP Mode, Max 30 Hop)
============================================================
traceroute to 221.183.55.22 (221.183.55.22), 30 hops max, 32 byte packets
1 10.231.97.1 0.72 ms * LAN Address
2 *
3 168.95.83.58 2.94 ms AS3462 China, Taiwan, Taipei City, cht.com.tw
4 220.128.4.122 2.21 ms * China, Taiwan, Taipei City, cht.com.tw
5 220.128.24.181 3.50 ms * China, Taiwan, Taipei City, cht.com.tw
6 220.128.11.37 1.64 ms * China, Taiwan, New Taipei City, cht.com.tw
7 220.128.6.253 2.19 ms * China, Taiwan, Taipei City, cht.com.tw
8 211.72.233.145 26.35 ms AS3462 China, Hong Kong, cht.com.tw
9 223.120.3.89 27.60 ms AS58453 China, Hong Kong, ChinaMobile
10 *
11 *
12 *
13 221.183.55.22 62.41 ms AS9808 China, Shanghai, ChinaMobile
Traceroute to China, Beijing CM (TCP Mode, Max 30 Hop)
============================================================
traceroute to 211.136.25.153 (211.136.25.153), 30 hops max, 32 byte packets
1 10.231.97.1 0.80 ms * LAN Address
2 *
3 168.95.83.58 2.89 ms AS3462 China, Taiwan, Taipei City, cht.com.tw
4 220.128.3.142 2.27 ms * China, Taiwan, cht.com.tw
5 220.128.27.5 4.09 ms * China, Taiwan, Taipei City, cht.com.tw
6 220.128.10.37 2.16 ms * China, Taiwan, cht.com.tw
7 220.128.6.253 1.93 ms * China, Taiwan, Taipei City, cht.com.tw
8 211.72.233.145 26.43 ms AS3462 China, Hong Kong, cht.com.tw
9 223.120.3.89 26.52 ms AS58453 China, Hong Kong, ChinaMobile
10 *
11 *
12 *
13 *
14 221.176.21.229 67.96 ms AS9808 China, Beijing, ChinaMobile
15 111.24.17.105 65.10 ms AS9808 China, Beijing, ChinaMobile
16 111.24.2.134 67.04 ms AS9808 China, Beijing, ChinaMobile
17 211.136.66.121 69.18 ms AS56048 China, Beijing, ChinaMobile
18 *
19 211.136.63.66 69.15 ms AS56048 China, Beijing, ChinaMobile
20 *
21 *
22 211.136.25.153 65.09 ms AS56048 China, Beijing, ChinaMobile
Traceroute to China, Beijing Dr.Peng Network IDC Network (TCP Mode, Max 30 Hop)
============================================================
traceroute to 211.167.230.100 (211.167.230.100), 30 hops max, 32 byte packets
1 10.231.97.1 0.90 ms * LAN Address
2 *
3 168.95.82.62 2.70 ms AS3462 China, Taiwan, Taipei City, cht.com.tw
4 220.128.3.106 2.00 ms * China, Taiwan, Taipei City, cht.com.tw
5 220.128.27.5 4.02 ms * China, Taiwan, Taipei City, cht.com.tw
6 220.128.10.33 1.95 ms * China, Taiwan, cht.com.tw
7 220.128.6.125 3.06 ms * China, Taiwan, Taipei City, cht.com.tw
8 219.158.44.45 56.84 ms AS4837 China, Shanghai, ChinaUnicom
9 219.158.8.173 155.61 ms AS4837 China, Shanghai, ChinaUnicom
10 *
11 *
12 125.33.186.126 69.35 ms AS4808 China, Beijing, ChinaUnicom
13 202.106.192.6 149.81 ms AS4808 China, Beijing, ChinaUnicom
14 61.149.212.242 168.49 ms AS4808 China, Beijing, ChinaUnicom
15 202.99.1.238 64.72 ms AS4808 China, Beijing, ChinaUnicom
16 124.205.97.138 64.79 ms AS4808 China, Beijing, DRPENG
17 218.241.254.230 67.31 ms AS4808 China, Beijing, DRPENG
18 218.241.245.158 69.42 ms AS4808 China, Beijing, DRPENG
19 *
20 211.167.230.100 155.62 ms AS17964 China, Beijing, DRPENG
Unixbench跑分测试ReCloud台湾 | Hinet 1G款综合性能
------------------------------------------------------------------------
Benchmark Run: Mon Apr 18 2022 00:07:42 - 00:35:54
4 CPUs in system; running 1 parallel copy of tests
Dhrystone 2 using register variables 24709396.7 lps (10.0 s, 7 samples)
Double-Precision Whetstone 3567.5 MWIPS (10.0 s, 7 samples)
Execl Throughput 1264.8 lps (29.5 s, 2 samples)
File Copy 1024 bufsize 2000 maxblocks 227860.9 KBps (30.0 s, 2 samples)
File Copy 256 bufsize 500 maxblocks 61572.9 KBps (30.0 s, 2 samples)
File Copy 4096 bufsize 8000 maxblocks 642996.7 KBps (30.0 s, 2 samples)
Pipe Throughput 476607.9 lps (10.0 s, 7 samples)
Pipe-based Context Switching 11417.5 lps (10.0 s, 7 samples)
Process Creation 2996.6 lps (30.0 s, 2 samples)
Shell Scripts (1 concurrent) 2873.0 lpm (60.0 s, 2 samples)
Shell Scripts (8 concurrent) 619.5 lpm (60.0 s, 2 samples)
System Call Overhead 537851.2 lps (10.0 s, 7 samples)
System Benchmarks Index Values BASELINE RESULT INDEX
Dhrystone 2 using register variables 116700.0 24709396.7 2117.3
Double-Precision Whetstone 55.0 3567.5 648.6
Execl Throughput 43.0 1264.8 294.1
File Copy 1024 bufsize 2000 maxblocks 3960.0 227860.9 575.4
File Copy 256 bufsize 500 maxblocks 1655.0 61572.9 372.0
File Copy 4096 bufsize 8000 maxblocks 5800.0 642996.7 1108.6
Pipe Throughput 12440.0 476607.9 383.1
Pipe-based Context Switching 4000.0 11417.5 28.5
Process Creation 126.0 2996.6 237.8
Shell Scripts (1 concurrent) 42.4 2873.0 677.6
Shell Scripts (8 concurrent) 6.0 619.5 1032.5
System Call Overhead 15000.0 537851.2 358.6
========
System Benchmarks Index Score 446.4
------------------------------------------------------------------------
Benchmark Run: Mon Apr 18 2022 00:35:54 - 01:06:18
4 CPUs in system; running 4 parallel copies of tests
Dhrystone 2 using register variables 45084299.1 lps (10.0 s, 7 samples)
Double-Precision Whetstone 13820.5 MWIPS (9.9 s, 7 samples)
Execl Throughput 2692.7 lps (29.9 s, 2 samples)
File Copy 1024 bufsize 2000 maxblocks 194828.4 KBps (30.0 s, 2 samples)
File Copy 256 bufsize 500 maxblocks 55126.7 KBps (30.0 s, 2 samples)
File Copy 4096 bufsize 8000 maxblocks 549793.4 KBps (30.0 s, 2 samples)
Pipe Throughput 837236.3 lps (10.0 s, 7 samples)
Pipe-based Context Switching 101612.9 lps (10.0 s, 7 samples)
Process Creation 7122.5 lps (30.0 s, 2 samples)
Shell Scripts (1 concurrent) 4192.6 lpm (60.0 s, 2 samples)
Shell Scripts (8 concurrent) 603.0 lpm (60.1 s, 2 samples)
System Call Overhead 842230.8 lps (10.0 s, 7 samples)
System Benchmarks Index Values BASELINE RESULT INDEX
Dhrystone 2 using register variables 116700.0 45084299.1 3863.3
Double-Precision Whetstone 55.0 13820.5 2512.8
Execl Throughput 43.0 2692.7 626.2
File Copy 1024 bufsize 2000 maxblocks 3960.0 194828.4 492.0
File Copy 256 bufsize 500 maxblocks 1655.0 55126.7 333.1
File Copy 4096 bufsize 8000 maxblocks 5800.0 549793.4 947.9
Pipe Throughput 12440.0 837236.3 673.0
Pipe-based Context Switching 4000.0 101612.9 254.0
Process Creation 126.0 7122.5 565.3
Shell Scripts (1 concurrent) 42.4 4192.6 988.8
Shell Scripts (8 concurrent) 6.0 603.0 1005.0
System Call Overhead 15000.0 842230.8 561.5
========
System Benchmarks Index Score 780.3
======= Script description and score comparison completed! =======
ReCloud台湾 | Hinet 1G款流媒体解锁测试
** 测试时间: Sun Apr 17 23:17:56 EDT 2022
** 正在测试IPv4解锁情况
--------------------------------
** 您的网络为: Chunghwa Telecom (114.37.*.*)
============[ Multination ]============
Dazn: Yes (Region: TW)
HotStar: No
Disney+: Yes (Region: TW)
Netflix: Yes (Region: TW)
YouTube Premium: Yes (Region: TW)
Amazon Prime Video: Yes (Region: TW)
TVBAnywhere+: Yes
iQyi Oversea Region: TW
Viu.com: No
YouTube CDN: Associated with [HINET]
Netflix Preferred CDN: Associated with [Chunghwa Telecom] in [Taipei ]
Spotify Registration: Yes (Region: TW)
Steam Currency: TWD
=======================================
==============[ Taiwan ]===============
KKTV: Yes
LiTV: Yes
MyVideo: Yes
4GTV.TV: Yes
LineTV.TW: Yes
Hami Video: Yes
CatchPlay+: Yes
HBO GO Asia: Yes (Region: TW)
Bahamut Anime: Yes
Eleven Sports TW: Yes
Bilibili Taiwan Only: Yes
=======================================
当前主机不支持IPv6,跳过...
ReCloud台湾 | Hinet 1G款TikTok解锁测试
** 测试时间: Sun Apr 17 23:22:08 EDT 2022
** 您的网络为: <html>
<head><title>403 Forbidden</title></head>
<body>
<center><h1>403 Forbidden</h1></center>
<hr><center>nginx</center>
</body>
(114.37.*.*)
******************************************
Tiktok Region: 【TW】(可能为IDC IP)
******************************************
最后我们具体看下ReCloud台湾Hinet国际优化版套餐方案:
联系tg:@oneprovide 开通,Recloud TG群连接:t.me/Recloud888
老刘博客































