TripodCloud云鼎网络怎么样?TripodCloud云鼎网络美国三网cn2 gia vps套餐及促销方案见《TripodCloud云鼎网络:美国三网cn2 gia vps,1Gbps带宽,年付8.8折优惠》,那么TripodCloud云鼎网络美国三网cn2 gia vps怎么样呢?老刘博客这里选购了CN2GIA-1024-STD20套餐进行了简单测评。
tripodcloud官方网站:https://www.tripodcloud.com
TripodCloud云鼎网络美国三网cn2 gia vps基本参数如下,IO磁盘在688.7 MB/s
----------------------------------------------------------------------
CPU Model : QEMU Virtual CPU version 2.5+
CPU Cores : 1 Cores 2999.998 MHz x86_64
CPU Cache : 16384 KB
CPU Flags : AES-NI Disabled & VM-x/AMD-V Disabled
OS : Ubuntu 18.10 (64 Bit) KVM
Kernel : 4.18.0-10-generic
Total Space : 1.6 GB / 20.0 GB
Total RAM : 72 MB / 985 MB (580 MB Buff)
Total SWAP : 0 MB / 0 MB
Uptime : 4 days 18 hour 8 min
Load Average : 0.10, 0.04, 0.01
TCP CC : cubic
Organization : AS54600 PEG TECH INC
Location : San Jose / US
Region : California
----------------------------------------------------------------------
I/O Speed( 1.0GB ) : 497 MB/s
I/O Speed( 1.0GB ) : 791 MB/s
I/O Speed( 1.0GB ) : 778 MB/s
Average I/O Speed : 688.7 MB/s
----------------------------------------------------------------------
看看CN2GIA-1024-STD20机器是不是美国原生IP:
CN2GIA-1024-STD20机器三网Ping测试
CN2GIA-1024-STD20机器丢包率测试
CN2GIA-1024-STD20机器Speedtest.net国内外节点测速
----------------------------------------------------------------------
Node Name Upload Speed Download Speed Latency
Speedtest.net 248.93 Mbit/s 852.19 Mbit/s (*)140.11 ms
Shanghai CT 215.01 Mbit/s 853.52 Mbit/s 136.19 ms
Guangzhou 5G CT 24.04 Mbit/s 684.81 Mbit/s 153.54 ms
Nanjing 5G CT 225.70 Mbit/s 802.91 Mbit/s 156.95 ms
TianJin 5G CT 268.45 Mbit/s 785.36 Mbit/s 152.06 ms
Shanghai 5G CU 236.42 Mbit/s 826.48 Mbit/s 139.93 ms
Nanjing CU 172.95 Mbit/s 841.85 Mbit/s 145.47 ms
Yinchuan CM 209.72 Mbit/s 773.12 Mbit/s 206.96 ms
Nanjing 5G CM FAILED Mbit/s 711.09 Mbit/s 187.99 ms
----------------------------------------------------------------------
Node Name Upload Speed Download Speed Latency
Hong Kong CN 192.44 Mbit/s 807.95 Mbit/s 159.63 ms
Macau CN 206.48 Mbit/s 147.05 Mbit/s 168.14 ms
Taiwan CN 186.72 Mbit/s 803.67 Mbit/s 155.76 ms
Singapore SG 230.16 Mbit/s 847.04 Mbit/s 179.16 ms
Tokyo JP 250.53 Mbit/s 853.05 Mbit/s 107.79 ms
Seoul KR 221.50 Mbit/s 637.37 Mbit/s 148.88 ms
Los Angeles US 790.08 Mbit/s 852.27 Mbit/s 9.17 ms
Frankfurt DE 243.38 Mbit/s 867.85 Mbit/s 153.13 ms
France FR 248.74 Mbit/s 826.20 Mbit/s 151.93 ms
----------------------------------------------------------------------
CN2GIA-1024-STD20机器路由去程跟踪测试
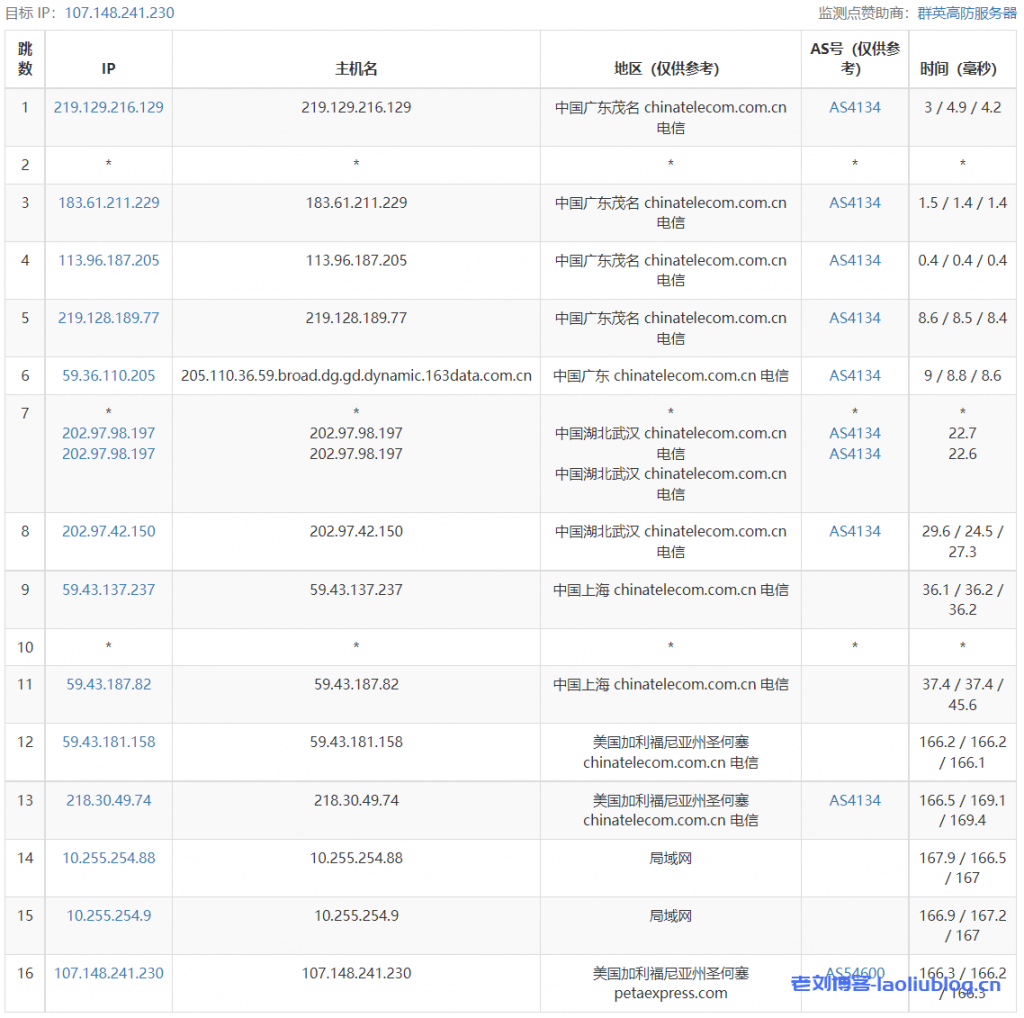
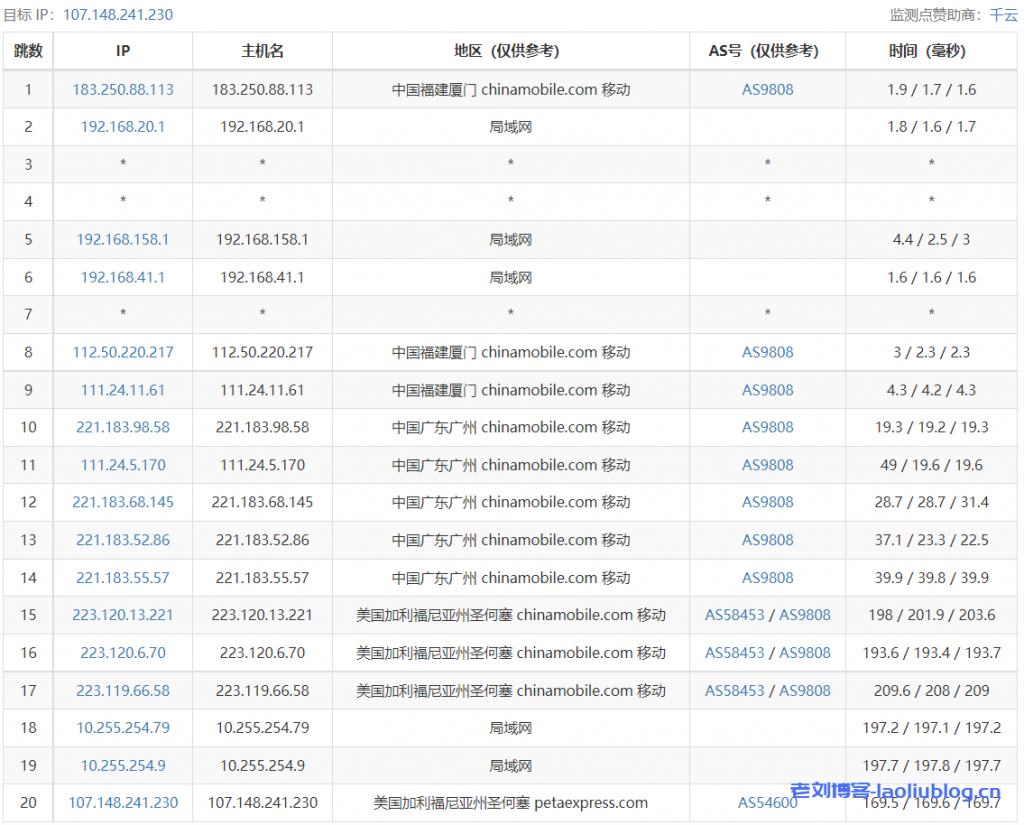
CN2GIA-1024-STD20机器路由回程跟踪测试
Traceroute to China, Guangzhou CT (TCP Mode, Max 30 Hop)
============================================================
traceroute to 113.108.209.1 (113.108.209.1), 30 hops max, 32 byte packets
1 104.233.240.94 0.85 ms AS54600 United States, California, San Jose, petaexpress.com
2 10.255.254.8 0.85 ms * LAN Address
3 10.255.254.89 2.49 ms * LAN Address
4 218.30.49.73 1.60 ms AS4134 United States, ChinaTelecom
5 59.43.189.217 157.37 ms * China, Guangdong, Guangzhou, ChinaTelecom
6 *
7 59.43.130.121 159.61 ms * China, Guangdong, Guangzhou, ChinaTelecom
8 202.97.43.81 159.79 ms AS4134 China, Guangdong, Guangzhou, ChinaTelecom
9 *
10 113.108.209.1 159.87 ms AS4134 China, Guangdong, Guangzhou, ChinaTelecom
Traceroute to China, Shanghai CT (TCP Mode, Max 30 Hop)
============================================================
traceroute to 180.153.28.5 (180.153.28.5), 30 hops max, 32 byte packets
1 104.233.240.94 0.81 ms AS54600 United States, California, San Jose, petaexpress.com
2 10.255.254.8 0.98 ms * LAN Address
3 10.255.254.89 2.46 ms * LAN Address
4 218.30.49.197 1.54 ms AS4134 United States, ChinaTelecom
5 59.43.182.138 130.59 ms * China, Shanghai, ChinaTelecom
6 59.43.187.65 126.90 ms * China, Shanghai, ChinaTelecom
7 59.43.130.213 123.91 ms * China, Shanghai, ChinaTelecom
8 101.95.88.206 144.59 ms AS4812 China, Shanghai, ChinaTelecom
9 101.95.207.242 146.40 ms AS4812 China, Shanghai, ChinaTelecom
10 124.74.232.238 124.49 ms AS4811 China, Shanghai, ChinaTelecom
11 101.227.255.46 135.56 ms AS4812 China, Shanghai, ChinaTelecom
12 180.153.28.5 132.75 ms AS4812 China, Shanghai, ChinaTelecom
Traceroute to China, Beijing CT (TCP Mode, Max 30 Hop)
============================================================
traceroute to 180.149.128.9 (180.149.128.9), 30 hops max, 32 byte packets
1 104.233.240.94 1.81 ms AS54600 United States, California, San Jose, petaexpress.com
2 10.255.254.8 0.86 ms * LAN Address
3 10.255.254.89 2.31 ms * LAN Address
4 218.30.49.193 1.27 ms AS4134 United States, ChinaTelecom
5 59.43.181.153 126.30 ms * China, Shanghai, ChinaTelecom
6 59.43.247.141 148.73 ms * China, Beijing, ChinaTelecom
7 *
8 59.43.131.253 163.71 ms * China, Beijing, ChinaTelecom
9 *
10 *
11 36.110.251.61 160.59 ms AS23724 China, Beijing, ChinaTelecom
12 180.149.128.9 162.08 ms AS23724 China, Beijing, ChinaTelecom
Traceroute to China, Guangzhou CU (TCP Mode, Max 30 Hop)
============================================================
traceroute to 210.21.4.130 (210.21.4.130), 30 hops max, 32 byte packets
1 104.233.240.94 0.79 ms AS54600 United States, California, San Jose, petaexpress.com
2 10.255.254.8 0.99 ms * LAN Address
3 10.255.254.89 1.29 ms * LAN Address
4 219.158.45.177 8.85 ms AS4837 United States, California, San Jose, ChinaUnicom
5 219.158.97.177 144.78 ms AS4837 China, Shanghai, ChinaUnicom
6 219.158.113.118 144.32 ms AS4837 China, Shanghai, ChinaUnicom
7 219.158.113.105 141.46 ms AS4837 China, Shanghai, ChinaUnicom
8 219.158.6.214 168.11 ms AS4837 China, Guangdong, Guangzhou, ChinaUnicom
9 120.83.0.62 172.70 ms AS17816 China, Guangdong, Guangzhou, ChinaUnicom
10 120.80.91.66 167.88 ms AS17816 China, Guangdong, Guangzhou, ChinaUnicom
11 *
12 *
13 *
14 *
15 *
16 *
17 *
18 *
19 *
20 *
21 *
22 *
23 *
24 *
25 *
26 *
27 *
28 *
29 *
30 *
Traceroute to China, Shanghai CU (TCP Mode, Max 30 Hop)
============================================================
traceroute to 58.247.8.158 (58.247.8.158), 30 hops max, 32 byte packets
1 104.233.240.94 0.77 ms AS54600 United States, California, San Jose, petaexpress.com
2 10.255.254.8 0.88 ms * LAN Address
3 10.255.254.78 1.43 ms * LAN Address
4 219.158.45.177 6.04 ms AS4837 United States, California, San Jose, ChinaUnicom
5 219.158.116.237 141.83 ms AS4837 China, Shanghai, ChinaUnicom
6 219.158.113.134 136.95 ms AS4837 China, Shanghai, ChinaUnicom
7 219.158.113.109 131.62 ms AS4837 China, Shanghai, ChinaUnicom
8 *
9 58.247.221.178 132.55 ms AS17621 China, Shanghai, ChinaUnicom
10 139.226.225.22 140.45 ms AS17621 China, Shanghai, ChinaUnicom
11 58.247.8.153 162.39 ms AS17621 China, Shanghai, ChinaUnicom
12 *
13 *
14 *
15 *
16 *
17 *
18 *
19 *
20 *
21 *
22 *
23 *
24 *
25 *
26 *
27 *
28 *
29 *
30 *
Traceroute to China, Beijing CU (TCP Mode, Max 30 Hop)
============================================================
traceroute to 123.125.99.1 (123.125.99.1), 30 hops max, 32 byte packets
1 104.233.240.94 0.81 ms AS54600 United States, California, San Jose, petaexpress.com
2 10.255.254.8 0.79 ms * LAN Address
3 10.255.254.78 1.45 ms * LAN Address
4 219.158.45.177 6.30 ms AS4837 United States, California, San Jose, ChinaUnicom
5 219.158.97.177 149.87 ms AS4837 China, Shanghai, ChinaUnicom
6 219.158.6.185 148.29 ms AS4837 China, Shanghai, ChinaUnicom
7 219.158.7.125 142.68 ms AS4837 China, Shanghai, ChinaUnicom
8 *
9 124.65.194.6 179.93 ms AS4808 China, Beijing, ChinaUnicom
10 219.232.11.102 162.06 ms AS4808 China, Beijing, ChinaUnicom
11 61.148.158.106 172.16 ms AS4808 China, Beijing, ChinaUnicom
12 61.135.113.158 170.91 ms AS4808 China, Beijing, ChinaUnicom
13 *
14 123.125.99.1 165.79 ms AS4808 China, Beijing, ChinaUnicom
Traceroute to China, Guangzhou CM (TCP Mode, Max 30 Hop)
============================================================
traceroute to 120.196.212.25 (120.196.212.25), 30 hops max, 32 byte packets
1 104.233.240.94 0.89 ms AS54600 United States, California, San Jose, petaexpress.com
2 10.255.254.8 0.83 ms * LAN Address
3 10.255.254.78 1.54 ms * LAN Address
4 223.119.66.57 1.16 ms AS58453 United States, California, San Jose, ChinaMobile
5 223.120.6.69 1.19 ms AS58453 United States, California, San Jose, ChinaMobile
6 *
7 221.183.55.54 161.75 ms AS9808 China, Guangdong, Guangzhou, ChinaMobile
8 221.176.24.137 174.37 ms AS9808 China, Guangdong, Guangzhou, ChinaMobile
9 221.176.18.109 173.98 ms AS9808 China, Guangdong, Guangzhou, ChinaMobile
10 111.24.5.169 162.51 ms AS9808 China, Guangdong, Guangzhou, ChinaMobile
11 111.24.14.78 165.09 ms AS9808 China, Guangdong, Shenzhen, ChinaMobile
12 183.235.226.13 169.61 ms AS56040 China, Guangdong, Guangzhou, ChinaMobile
13 211.136.214.138 166.34 ms AS56040 China, Guangdong, Guangzhou, ChinaMobile
14 211.139.180.106 166.11 ms AS56040 China, Guangdong, Guangzhou, ChinaMobile
15 *
16 120.196.212.25 165.03 ms AS56040 China, Guangdong, Guangzhou, ChinaMobile
Traceroute to China, Shanghai CM (TCP Mode, Max 30 Hop)
============================================================
traceroute to 221.183.55.22 (221.183.55.22), 30 hops max, 32 byte packets
1 104.233.240.94 0.92 ms AS54600 United States, California, San Jose, petaexpress.com
2 10.255.254.8 0.82 ms * LAN Address
3 10.255.254.78 1.36 ms * LAN Address
4 223.119.66.57 1.15 ms AS58453 United States, California, San Jose, ChinaMobile
5 223.120.6.69 1.37 ms AS58453 United States, California, San Jose, ChinaMobile
6 *
7 221.183.55.22 174.42 ms AS9808 China, Shanghai, ChinaMobile
Traceroute to China, Beijing CM (TCP Mode, Max 30 Hop)
============================================================
traceroute to 211.136.25.153 (211.136.25.153), 30 hops max, 32 byte packets
1 104.233.240.94 0.86 ms AS54600 United States, California, San Jose, petaexpress.com
2 10.255.254.8 1.30 ms * LAN Address
3 10.255.254.78 1.21 ms * LAN Address
4 223.119.66.57 1.40 ms AS58453 United States, California, San Jose, ChinaMobile
5 223.120.6.69 1.46 ms AS58453 United States, California, San Jose, ChinaMobile
6 *
7 *
8 *
9 221.176.16.213 192.69 ms AS9808 China, Beijing, ChinaMobile
10 111.24.2.241 187.98 ms AS9808 China, Beijing, ChinaMobile
11 111.24.2.134 197.42 ms AS9808 China, Beijing, ChinaMobile
12 *
13 *
14 211.136.95.226 198.59 ms AS56048 China, Beijing, ChinaMobile
15 *
16 *
17 211.136.25.153 192.08 ms AS56048 China, Beijing, ChinaMobile
Traceroute to China, Beijing Dr.Peng Network IDC Network (TCP Mode, Max 30 Hop)
============================================================
traceroute to 211.167.230.100 (211.167.230.100), 30 hops max, 32 byte packets
1 104.233.240.94 1.00 ms AS54600 United States, California, San Jose, petaexpress.com
2 10.255.254.8 1.31 ms * LAN Address
3 10.255.254.78 1.41 ms * LAN Address
4 219.158.45.177 2.73 ms AS4837 United States, California, San Jose, ChinaUnicom
5 219.158.6.5 133.31 ms AS4837 China, Shanghai, ChinaUnicom
6 219.158.113.118 138.32 ms AS4837 China, Shanghai, ChinaUnicom
7 *
8 219.158.16.85 160.55 ms AS4837 China, Beijing, ChinaUnicom
9 124.65.194.30 158.73 ms AS4808 China, Beijing, ChinaUnicom
10 202.96.13.222 165.07 ms AS4808 China, Beijing, ChinaUnicom
11 61.149.212.242 158.51 ms http: 403 http: 403
12 202.99.1.234 148.98 ms http: 403 http: 403
13 124.205.97.138 152.07 ms http: 403 http: 403
14 218.241.245.98 150.91 ms http: 403 http: 403
15 218.241.245.158 152.90 ms http: 403 http: 403
16 *
17 211.167.230.100 158.57 ms http: 403 http: 403
----------------------------------------------------------------------
老刘博客




























