AkkoCloud英国伦敦CN2 GIA VPS套餐详情:AkkoCloud再次补货英国CN2 GIA VPS,300Mbps带宽500G流量起步,三网回程CN2 GIA,电信去程CN2 GIA,官方说明是英国伦敦CN2 GIA 三网回程GIA,电信联通去程GIA Looking Glass:http://lonlg.akkocloud.com/(只是测试ip 并不代表分配的ip就是这个段的 也不保证是原生ip 谢绝以不是原生ip申请退款 Tos也写了不允许退款),老刘博客早前3月底入手了一台,一直没做测评,这里抽空做了下VPS简单测评,供大家参考。
AkkoCloud官网:https://www.AkkoCloud.com/
AkkoCloud网络测试:AkkoCloud英国伦敦CN2 GIA 185.217.110.10 // http://lonlg.akkocloud.com/1000MB.test
拿到的小鸡硬盘I/O大致645MB/S,顺手把BBR开启了:
----------------------------------------------------------------------
CPU Model : Intel Core Processor (Broadwell, IBRS)
CPU Cores : 1 Cores 2099.996 MHz x86_64
CPU Cache : 16384 KB
OS : CentOS 7.9.2009 (64 Bit) KVM
Kernel : 5.4.164-1.el7.elrepo.x86_64
Total Space : 1.1 GB / 9.4 GB
Total RAM : 59 MB / 731 MB (51 MB Buff)
Total SWAP : 0 MB / 0 MB
Uptime : 0 days 1 hour 7 min
Load Average : 0.03, 0.03, 0.00
TCP CC : bbr
ASN & ISP : AS41378, HK CEDOC LIMITED
Organization : HK CEDOC LIMITED
Location : London, United Kingdom / GB
Region : England
----------------------------------------------------------------------
I/O Speed( 1.0GB ) : 470 MB/s
I/O Speed( 1.0GB ) : 726 MB/s
I/O Speed( 1.0GB ) : 741 MB/s
Average I/O Speed : 645.7 MB/s
----------------------------------------------------------------------
关于IP方面,商家已经说不保证原生IP了,当然我们来看下是哪里转播的,看下这是美国转播IP
看看PING吧,国内55个节点的数据,由ping.chinaz.com提供:
看下小鸡丢包率情况:
fio Disk Speed Tests (Mixed R/W 50/50):
---------------------------------
Block Size | 4k (IOPS) | 64k (IOPS)
------ | --- ---- | ---- ----
Read | 44.06 MB/s (11.0k) | 535.63 MB/s (8.3k)
Write | 44.14 MB/s (11.0k) | 538.45 MB/s (8.4k)
Total | 88.21 MB/s (22.0k) | 1.07 GB/s (16.7k)
| |
Block Size | 512k (IOPS) | 1m (IOPS)
------ | --- ---- | ---- ----
Read | 524.89 MB/s (1.0k) | 522.81 MB/s (510)
Write | 552.78 MB/s (1.0k) | 557.63 MB/s (544)
Total | 1.07 GB/s (2.1k) | 1.08 GB/s (1.0k)
iperf3 Network Speed Tests (IPv4):
---------------------------------
Provider | Location (Link) | Send Speed | Recv Speed
| | |
Clouvider | London, UK (10G) | 386 Mbits/sec | 253 Mbits/sec
Online.net | Paris, FR (10G) | 385 Mbits/sec | 236 Mbits/sec
Hybula | The Netherlands (40G) | 385 Mbits/sec | 212 Mbits/sec
Clouvider | NYC, NY, US (10G) | 372 Mbits/sec | 177 Mbits/sec
Velocity Online | Tallahassee, FL, US (10G) | busy | busy
Clouvider | Los Angeles, CA, US (10G) | 362 Mbits/sec | 180 Mbits/sec
VPS在国内带宽能跑到多少是个极其重要的参数,我们用speedtest.net的国内三网节点测试一下,从数据来看,母鸡的接入国际带宽估计是10Gbps:
----------------------------------------------------------------------
Node Name Upload Speed Download Speed Latency
Speedtest.net 351.39 Mbps 267.81 Mbps 0.81 ms
Los Angeles, US 358.47 Mbps 227.54 Mbps 129.83 ms
Dallas, US 358.26 Mbps 248.54 Mbps 101.88 ms
Montreal, CA 362.69 Mbps 199.43 Mbps 74.17 ms
Paris, FR 351.91 Mbps 318.43 Mbps 7.36 ms
Amsterdam, NL 351.99 Mbps 324.78 Mbps 7.30 ms
Shanghai, CN 373.71 Mbps 211.77 Mbps 176.48 ms
Nanjing, CN 388.73 Mbps 249.39 Mbps 159.78 ms
Guangzhou, CN 346.71 Mbps 167.23 Mbps 171.17 ms
Seoul, KR 244.91 Mbps 28.34 Mbps 279.60 ms
Singapore, SG 373.43 Mbps 230.89 Mbps 185.80 ms
Tokyo, JP 315.60 Mbps 165.08 Mbps 230.44 ms
----------------------------------------------------------------------
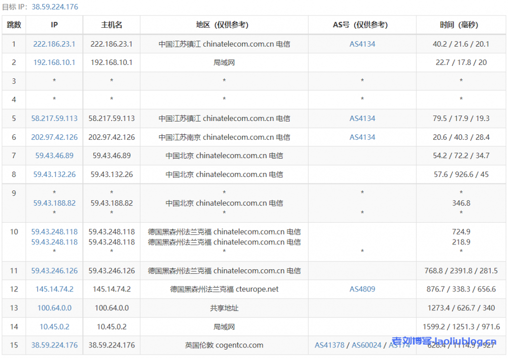
VPS路由去程跟踪测试:
电信去程,走的是CN2
VPS路由回程跟踪测试:
回程,到国内电信:欧洲电信英国节点走CN2直接到国内;回程,到国内联通: 欧洲电信出来走CN2直接到国内然后接驳联通;回程,到国内移动:欧洲电信英国节点走CN2到国内后再接驳移动
----------------------------------------------------------------------
北京电信
traceroute to 219.141.147.210 (219.141.147.210), 30 hops max, 32 byte packets
1 10.1.1.1 11.96 ms * LAN Address
2 10.45.0.1 11.17 ms * LAN Address
3 10.10.10.0 15.62 ms * LAN Address
4 *
5 162.255.48.137 142.26 ms AS10099 United Kingdom, London, ChinaUnicom
6 162.255.48.233 141.01 ms AS10099 China, Beijing, ChinaUnicom
7 210.78.28.161 140.86 ms * China, ChinaUnicom
8 210.78.30.158 139.34 ms * China, Beijing, ChinaUnicom
9 202.97.16.61 140.05 ms AS4134 China, Beijing, ChinaTelecom
10 *
11 *
12 *
13 2.254.120.106.static.bjtelecom.net (106.120.254.2) 142.41 ms AS4847 China, Beijing, ChinaTelecom
14 bj141-147-210.bjtelecom.net (219.141.147.210) 142.30 ms AS4847 China, Beijing, ChinaTelecom
----------------------------------------------------------------------
北京联通
traceroute to 202.106.50.1 (202.106.50.1), 30 hops max, 32 byte packets
1 10.1.1.1 99.60 ms * LAN Address
2 10.45.0.1 11.16 ms * LAN Address
3 10.10.10.0 18.87 ms * LAN Address
4 *
5 162.255.48.137 142.45 ms AS10099 United Kingdom, London, ChinaUnicom
6 162.255.48.233 141.34 ms AS10099 China, Beijing, ChinaUnicom
7 210.78.28.173 141.16 ms * China, ChinaUnicom
8 210.78.30.166 140.81 ms * China, Beijing, ChinaUnicom
9 219.158.39.61 171.25 ms AS4837 China, Beijing, ChinaUnicom
10 *
11 61.49.214.42 171.50 ms AS4808 China, Beijing, ChinaUnicom
12 202.106.50.1 174.98 ms AS4808 China, Beijing, ChinaUnicom
----------------------------------------------------------------------
北京移动
traceroute to 221.179.155.161 (221.179.155.161), 30 hops max, 32 byte packets
1 10.1.1.1 16.92 ms * LAN Address
2 10.45.0.1 11.15 ms * LAN Address
3 10.10.10.0 23.07 ms * LAN Address
4 *
5 162.255.48.137 141.70 ms AS10099 United Kingdom, London, ChinaUnicom
6 162.255.48.233 143.88 ms AS10099 China, Beijing, ChinaUnicom
7 210.78.28.169 141.89 ms * China, ChinaUnicom
8 210.78.30.166 140.60 ms * China, Beijing, ChinaUnicom
9 219.158.39.57 173.90 ms AS4837 China, Beijing, ChinaUnicom
10 *
11 *
12 *
13 *
14 cachedns03.bj.chinamobile.com (221.179.155.161) 305.39 ms AS56048 China, Beijing, ChinaMobile
----------------------------------------------------------------------
上海电信
traceroute to 202.96.209.133 (202.96.209.133), 30 hops max, 32 byte packets
1 10.1.1.1 4.32 ms * LAN Address
2 10.45.0.1 11.18 ms * LAN Address
3 10.10.10.0 20.76 ms * LAN Address
4 *
5 162.255.48.137 141.49 ms AS10099 United Kingdom, London, ChinaUnicom
6 162.255.48.233 144.80 ms AS10099 China, Beijing, ChinaUnicom
7 210.78.28.161 140.89 ms * China, ChinaUnicom
8 218.105.131.102 173.70 ms AS9929 China, Shanghai, ChinaUnicom
9 218.105.2.150 162.05 ms AS9929 China, Shanghai, ChinaUnicom
10 202.97.81.81 162.45 ms AS4134 China, Shanghai, ChinaTelecom
11 *
12 *
13 124.74.229.238 176.45 ms AS4812 China, Shanghai, ChinaTelecom
14 ns-pd.online.sh.cn (202.96.209.133) 174.16 ms AS4812 China, Shanghai, ChinaTelecom
----------------------------------------------------------------------
上海联通
traceroute to 210.22.97.1 (210.22.97.1), 30 hops max, 32 byte packets
1 10.1.1.1 17.50 ms * LAN Address
2 10.45.0.1 11.14 ms * LAN Address
3 10.10.10.0 16.67 ms * LAN Address
4 *
5 162.255.48.137 141.40 ms AS10099 United Kingdom, London, ChinaUnicom
6 162.255.48.233 141.59 ms AS10099 China, Beijing, ChinaUnicom
7 210.78.28.173 140.95 ms * China, ChinaUnicom
8 218.105.131.126 164.07 ms AS9929 China, Shanghai, ChinaUnicom
9 218.105.2.174 163.72 ms AS9929 China, Shanghai, ChinaUnicom
10 219.158.113.153 167.09 ms AS4837 China, Shanghai, ChinaUnicom
11 219.158.113.197 164.73 ms AS4837 China, Shanghai, ChinaUnicom
12 139.226.195.122 165.16 ms AS17621 China, Shanghai, ChinaUnicom
13 139.226.201.146 164.60 ms AS17621 China, Shanghai, ChinaUnicom
14 210.22.97.1 180.08 ms AS17621 China, Shanghai, ChinaUnicom
----------------------------------------------------------------------
上海移动
traceroute to 211.136.112.200 (211.136.112.200), 30 hops max, 32 byte packets
1 10.1.1.1 15.91 ms * LAN Address
2 10.45.0.1 11.35 ms * LAN Address
3 10.10.10.0 21.10 ms * LAN Address
4 *
5 162.255.48.137 141.50 ms AS10099 United Kingdom, London, ChinaUnicom
6 162.255.48.233 144.10 ms AS10099 China, Beijing, ChinaUnicom
7 210.78.28.173 140.67 ms * China, ChinaUnicom
8 218.105.131.126 163.45 ms AS9929 China, Shanghai, ChinaUnicom
9 218.105.2.174 163.68 ms AS9929 China, Shanghai, ChinaUnicom
10 219.158.44.209 165.03 ms AS4837 China, Shanghai, ChinaUnicom
11 219.158.46.142 206.22 ms AS4837 China, Shanghai, ChinaUnicom
12 221.183.94.1 200.43 ms AS9808 China, Shanghai, ChinaMobile
13 *
14 211.136.190.234 206.20 ms AS24400 China, Shanghai, ChinaMobile
15 211.136.112.252 208.48 ms AS24400 China, Shanghai, ChinaMobile
16 211.136.112.200 205.92 ms AS24400 China, Shanghai, ChinaMobile
----------------------------------------------------------------------
深圳电信
traceroute to 58.60.188.222 (58.60.188.222), 30 hops max, 32 byte packets
1 10.1.1.1 40.14 ms * LAN Address
2 10.45.0.1 11.16 ms * LAN Address
3 10.10.10.0 16.71 ms * LAN Address
4 *
5 162.255.48.137 144.12 ms AS10099 United Kingdom, London, ChinaUnicom
6 162.255.48.233 141.66 ms AS10099 China, Beijing, ChinaUnicom
7 210.78.28.169 142.46 ms * China, ChinaUnicom
8 218.105.131.146 171.98 ms AS9929 China, Guangdong, Guangzhou, ChinaUnicom
9 210.14.161.66 171.61 ms * China, Guangdong, Guangzhou, ChinaUnicom
10 202.97.81.97 170.78 ms AS4134 China, Guangdong, Guangzhou, ChinaTelecom
11 202.97.95.113 170.96 ms AS4134 China, Guangdong, Guangzhou, ChinaTelecom
12 14.147.127.74 172.69 ms AS134774 China, Guangdong, Shenzhen, ChinaTelecom
13 *
14 59.40.49.93 174.26 ms AS4134 China, Guangdong, Shenzhen, ChinaTelecom
15 58.60.188.222 173.51 ms AS4134 China, Guangdong, Shenzhen, ChinaTelecom
----------------------------------------------------------------------
深圳联通
traceroute to 210.21.196.6 (210.21.196.6), 30 hops max, 32 byte packets
1 10.1.1.1 12.87 ms * LAN Address
2 10.45.0.1 11.20 ms * LAN Address
3 10.10.10.0 20.93 ms * LAN Address
4 *
5 162.255.48.137 141.59 ms AS10099 United Kingdom, London, ChinaUnicom
6 162.255.48.233 142.60 ms AS10099 China, Beijing, ChinaUnicom
7 210.78.28.161 140.71 ms * China, ChinaUnicom
8 218.105.131.122 179.50 ms AS9929 China, Guangdong, Guangzhou, ChinaUnicom
9 210.14.161.150 172.47 ms * China, Guangdong, Guangzhou, ChinaUnicom
10 210.14.191.106 173.46 ms * China, Guangdong, Guangzhou, ChinaUnicom
11 219.158.9.73 172.59 ms AS4837 China, Guangdong, Guangzhou, ChinaUnicom
12 *
13 120.80.144.38 187.33 ms AS17623 China, Guangdong, Shenzhen, ChinaUnicom
14 dns2-ftcg.gdsz.cncnet.net (210.21.196.6) 216.61 ms AS17623 China, Guangdong, Shenzhen, ChinaUnicom
----------------------------------------------------------------------
深圳移动
traceroute to 120.196.165.24 (120.196.165.24), 30 hops max, 32 byte packets
1 10.1.1.1 20.70 ms * LAN Address
2 10.45.0.1 11.23 ms * LAN Address
3 10.10.10.0 26.31 ms * LAN Address
4 *
5 162.255.48.137 141.53 ms AS10099 United Kingdom, London, ChinaUnicom
6 162.255.48.233 143.86 ms AS10099 China, Beijing, ChinaUnicom
7 210.78.28.169 150.47 ms * China, ChinaUnicom
8 218.105.131.146 171.96 ms AS9929 China, Guangdong, Guangzhou, ChinaUnicom
9 210.14.161.62 170.77 ms * China, Guangdong, Guangzhou, ChinaUnicom
10 219.158.42.9 172.59 ms AS4837 China, Guangdong, Guangzhou, ChinaUnicom
11 *
12 221.183.94.173 217.45 ms AS9808 China, Guangdong, Guangzhou, ChinaMobile
13 221.183.71.78 197.91 ms AS9808 China, Guangdong, Guangzhou, ChinaMobile
14 221.183.110.166 199.42 ms AS9808 China, ChinaMobile
15 ns6.gd.cnmobile.net (120.196.165.24) 198.59 ms AS56040 China, Guangdong, Shenzhen, ChinaMobile
----------------------------------------------------------------------
成都教育网
traceroute to 202.112.14.151 (202.112.14.151), 30 hops max, 32 byte packets
1 10.1.1.1 12.66 ms * LAN Address
2 10.45.0.1 11.18 ms * LAN Address
3 10.10.10.0 22.05 ms * LAN Address
4 *
5 162.255.48.137 141.32 ms AS10099 United Kingdom, London, ChinaUnicom
6 162.255.48.233 142.98 ms AS10099 China, Beijing, ChinaUnicom
7 210.78.28.161 140.97 ms * China, ChinaUnicom
8 210.78.30.142 140.20 ms * China, ChinaUnicom
9 219.158.39.69 171.45 ms AS4837 China, Beijing, ChinaUnicom
10 219.158.5.117 172.80 ms AS4837 China, Beijing, ChinaUnicom
11 219.158.109.190 175.90 ms AS4837 China, Beijing, ChinaUnicom
12 219.158.39.54 176.26 ms AS4837 China, Beijing, ChinaUnicom
13 101.4.116.65 181.87 ms AS4538 China, Beijing, CHINAEDU
14 *
15 *
16 *
17 *
18 202.112.14.151 188.70 ms AS24355 China, Sichuan, Chengdu, CHINAEDU
----------------------------------------------------------------------
来看看Unixbench跑分吧:
Benchmark Run: Sun May 29 2022 06:26:40 - 06:54:47
1 CPU in system; running 1 parallel copy of tests
Dhrystone 2 using register variables 17734792.9 lps (10.0 s, 7 samples)
Double-Precision Whetstone 4065.8 MWIPS (10.0 s, 7 samples)
Execl Throughput 2978.0 lps (29.8 s, 2 samples)
File Copy 1024 bufsize 2000 maxblocks 331867.4 KBps (30.0 s, 2 samples)
File Copy 256 bufsize 500 maxblocks 88132.1 KBps (30.0 s, 2 samples)
File Copy 4096 bufsize 8000 maxblocks 870969.6 KBps (30.0 s, 2 samples)
Pipe Throughput 474749.6 lps (10.0 s, 7 samples)
Pipe-based Context Switching 123883.2 lps (10.0 s, 7 samples)
Process Creation 7893.3 lps (30.0 s, 2 samples)
Shell Scripts (1 concurrent) 3485.7 lpm (60.0 s, 2 samples)
Shell Scripts (8 concurrent) 456.6 lpm (60.0 s, 2 samples)
System Call Overhead 348832.5 lps (10.0 s, 7 samples)
System Benchmarks Index Values BASELINE RESULT INDEX
Dhrystone 2 using register variables 116700.0 17734792.9 1519.7
Double-Precision Whetstone 55.0 4065.8 739.2
Execl Throughput 43.0 2978.0 692.6
File Copy 1024 bufsize 2000 maxblocks 3960.0 331867.4 838.0
File Copy 256 bufsize 500 maxblocks 1655.0 88132.1 532.5
File Copy 4096 bufsize 8000 maxblocks 5800.0 870969.6 1501.7
Pipe Throughput 12440.0 474749.6 381.6
Pipe-based Context Switching 4000.0 123883.2 309.7
Process Creation 126.0 7893.3 626.5
Shell Scripts (1 concurrent) 42.4 3485.7 822.1
Shell Scripts (8 concurrent) 6.0 456.6 761.0
System Call Overhead 15000.0 348832.5 232.6
========
System Benchmarks Index Score 649.3
最后看看VPS的流媒体解锁情况:
** 测试时间: Sun May 29 05:48:32 UTC 2022
** 正在测试IPv4解锁情况
--------------------------------
** 您的网络为: Kirino LLC (38.59.*.*)
============[ Multination ]============
Dazn: No
HotStar: Yes (Region: GB)
Disney+: Yes (Region: US)
Netflix: Yes (Region: GB)
YouTube Premium: Yes (Region: GB)
Amazon Prime Video: Yes (Region: GB)
TVBAnywhere+: Yes
iQyi Oversea Region: GB
Viu.com: No
YouTube CDN: London
Netflix Preferred CDN: London
Spotify Registration: No
Steam Currency: GBP
=======================================
===============[ Europe ]==============
Rakuten TV: Yes
Funimation: Yes (Region: GB)
HBO Nordic: Failed
HBO GO Europe: Failed (Network Connection)
---GB---
Sky Go: Yes
BritBox: Yes
ITV Hub: Yes
Channel 4: Yes
Channel 5: No
BBC iPLAYER: Yes
Discovery+ UK: Yes
---FR---
Salto: No
Canal+: No
Molotov: No
---DE---
Joyn: No
Sky: No
ZDF: No
---NL---
NLZIET: Failed
videoland: No
NPO Start Plus: No
---ES---
HBO Spain: Failed
PANTAYA: No
---IT---
Rai Play: No
---RU---
Amediateka: Yes
---PT---
HBO Portugal: Failed (Network Connection)
=======================================
当前主机不支持IPv6,跳过...
老刘博客






























