华纳云新加坡云服务器基于成熟的OpenStack云计算平台,不限流量,双向cn2带宽三网直连,带宽可选1M-1000M。优惠:月付8折,年付5折,3年付4折。位于新加坡SG1数据中心,自营机房,接入新加坡电信SingTel,电讯盈科PCCW, 中国电信CN2,联通,移动等优质线路,超100G丰富带宽。这种优质线路的新加坡VPS绝对是非常少见的,如果你需要新加坡VPS就一定不要错过。针对新老用户,特别优惠促销。新用户4120现金券免费领+特价秒杀,老用户新购复购低至4折,详见下面活动页:https://www.hncloud.com/activity_register.html
华纳云,成立于2015年,总部在香港,隶属于香港联合通讯国际有限公司。华纳云是独立的、中立的全球IDC服务商, 是APNIC和ARIN会员单位。行业经验逾10年,是知名的海外IDC服务商,一直致力于香港、美国、新加坡等及海外数据中心基础业务开发,提供香港/美国/新加坡物理服务器、高防服务器、云服务器、高防IP、DNS污染、SSL证书、域名等优质产品,自营香港美国新加坡等数据中心,常驻技术人员7*24*365在线运维。接入超100G网络带宽,超过数10余条的丰富网络带宽,拥有丰富的BGP国际多线 + CN2 GIA回国专线,自研防火墙,DDoS防护可达T级,面向全球用户提供服务器配置方案和客户服务。
华纳云官网:https://www.hncloud.com/
付款方式:支付宝,PayPal ,银行在线转账,银行线下转账。
服务:24h工单,24h机房值守,免费在线咨询,支持定制设备。
新加坡云服务器测试IP: 45.194.17.254
一、华纳云新加坡云服务器限时秒杀,低至24元/月,298元/年。每天10点,14点,17点,20点4款海外云服务器开秒,每个新客限购一台。
| 配置 | 硬盘 | 带宽 | IP数 | 月付 | 年付 |
| 新加坡1H1G | 50G | 2Mbps | 1个 | 84/月 | 630/年(52/月) |
| 美国2H4G | 50G | 10Mbps | 1个 | 153/月 | 1146/年(95/月) |
| 香港2H2G | 50G | 2Mbps | 1个 | 134/月 | 1008/年(84/月) |
| 香港1H1G | 50G | 5Mbps | 1个 | 158/月 | 1188/年(99/月) |
二、华纳云新加坡云服务器,双向cn2 GIA带宽三网直连,月付8折,年付5折,3年付4折,购买时间越长,价格越优惠;测试IP: 45.194.17.254
| CPU | 内存 | 硬盘 | 带宽 | IP数 | 月付8折 | 年付5折 | 3年付4折 |
| 1核 | 1G | 50G | 2Mbps | 1个 | 84/月 | 630/年(52/月) | 1512/年(42/月) |
| 2核 | 2G | 50G | 2Mbps | 1个 | 132/月 | 990/年(82/月) | 2376/年(66/月) |
| 2核 | 4G | 50G | 2Mbps | 1个 | 180/月 | 1350/年(112/月) | 3240/年(99/月) |
| 2核 | 4G | 50G | 5Mbps | 1个 | 252/月 | 1890/年(158/月) | 3240/年(126/月) |
| 4核 | 4G | 50G | 5Mbps | 1个 | 300/月 | 2250/年(187/月) | 5400/年(150/月) |
| 4核 | 8G | 50G | 5Mbps | 1个 | 396/月 | 2970/年(247/月) | 7128/年(198/月) |
| 8核 | 16G | 50G | 5Mbps | 1个 | 684/月 | 5130/年(427/月) | 12312/年(342/月) |
下面我们就会对华纳云新加坡VPS 2H4G5M 50G硬盘配置的网络情况进行详细测评介绍。
先看看我本地网络的Ping延迟情况,如下所示:
可以看到我本地Ping的平均延迟在89ms左右,对于一般的新加坡VPS来说我本地的平均延迟一般都在150~180ms左右,这样可以延迟可以说是相当给力。而且因为我是在内陆地区测试,如果你是东南沿海地区,那么这个延迟还会低很多的。并且可以看到网络稳定性也是相当给力的,没有丢包的情况。
我本地个人的测试情况不代表全国三网用户的情况,所以我们通过工具再测试下全国三网的延迟,如下所示:
从测试结果可以看到,三网Ping的平均延迟在81ms左右,其中居然是移动网络延迟是最低的,其次是电信、联通。不过整体而已三网延迟都差不多。另外你也可以看到在东南沿海的广东地区,延迟更是低到只有40ms左右,可谓是相当给力的。
接下来我们就看看三网的去程路由线路。
电信网络去程路由:
可以看到电信网络是经过香港节点,然后直连新加坡机房,并且走是是59.43的CN2 GIA线路。
联通网络去程路由:
联通网络去程先走的AS4837优化线路,然后再走的AS9929的联通VIP优化线路,相当的给力。线路也是通过香港节点后直连新加坡机房的。
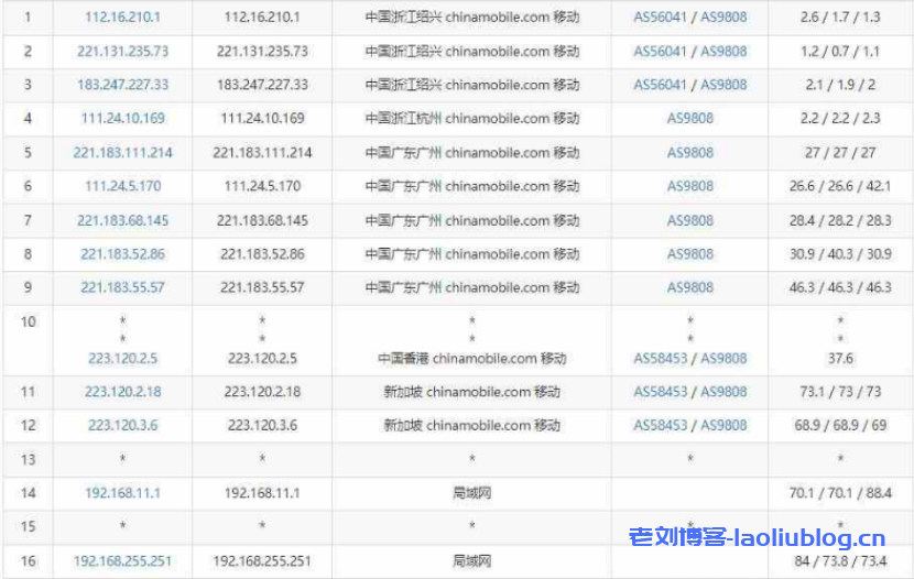
移动网络去程路由:
移动网络同样是通过香港节点后直连新加坡机房的。
接下来我们再看看三网的回程路由测试。
电信网络回程路由:
电信网络回程走的是直连线路,并且也是走的59.43的CN2线路。
联通网络回程路由:
联通网络回程也是通过香港节点后回到大陆节点,都是直连线路。
移动网络回程路由:
移动网络回程则是直连内地节点,似乎比电信和联通还要更好一些。
可以看到华纳云这款新加坡VPS三网不管去程和回程都是直连线路,并且是拥有双向的CN2 GIA线路,相当的给力。
接下来我们再看看这款新加坡VPS的服务器性能和上下载速度怎么样,如下所示:
可以看到磁盘的I/O在161MB/秒左右,这个肯定是采用的SSD固态硬盘无疑了。因为我测试的5Mbps带宽的机子,所以上传和下载速度都跑满了5Mbps。
从上面的各方面数据来看,华纳云新加坡vps云服务器还是相当给力的,速度稳定性不错,无限流量,支持windows linux等多种操作系统,也支持宝塔面板。套餐可以选择月付 年付 3年付,如果你长期使用,建议年付或者3年付。支持支付宝、paypal进行付款。
老刘博客

































