正值成立7周年,CubeCloud魔方云正在搞促销活动,详情见:CubeCloud魔方云7周年庆:美国洛杉矶和中国香港机房VPS,Pro系列终身85折,Lite系列终身7折,站长这里针对CubeCloud魔方云香港Lite系列VPS做了测评,供大家参考。测评的配置是香港Global-1G套餐49元/月(现在7周年庆优惠后是34.3元/月),2核1G内存15G硬盘,1.2TB流量@1Gbps带宽,默认给1个IPv4和25个IPv6地址,据官方描述是BGP混合(NTT+CDN77+CMI+HKIX)线路,国际业务建站性价比首选,具体怎么样,我们一起来看下。
CubeCloud魔方云香港Lite VPS购买入口:https://www.cubecloud.net/cart.php?gid=16(购买时可以使用魔方云Lite系列终身循环7折优惠码:LITE-30OFF)
这是购入CubeCloud魔方云香港Lite VPS控制台信息,我们可以看到机器的基础信息、账单信息、带宽和流量以及流量图。其中可以明显看到IP地址有1个IPv4和多个IPv6。
为了更直观地看IP地址数量,这里站长罗列明细地址如下:
IP地址
103.107.8.223 #1个IPv4
2403:27c0:1000::bf68:1e5a 2403:27c0:1000::ad8b:7b2d 2403:27c0:1000::b0e:8428 2403:27c0:1000::9d10:f2ac 2403:27c0:1000::ef90:363a 2403:27c0:1000::32f:df29 2403:27c0:1000::5b19:54b2 2403:27c0:1000::430b:4e1c 2403:27c0:1000::501b:27b2 2403:27c0:1000::681b:fce1 2403:27c0:1000::e246:72a3 2403:27c0:1000::daf7:b53a 2403:27c0:1000::35c7:efd8 2403:27c0:1000::6098:df7a 2403:27c0:1000::d0e7:c039 2403:27c0:1000::2c89:85b8 2403:27c0:1000::505d:cad4 2403:27c0:1000::1ef9:3808 2403:27c0:1000::7b51:2e90 2403:27c0:1000::1f01:87d2 2403:27c0:1000::84ec:50b9 2403:27c0:1000::9383:db98 2403:27c0:1000::e83b:79b8 2403:27c0:1000::597a:2ed2 2403:27c0:1000::51c0:d475 #25个IPv6
CubeCloud魔方云香港Lite VPS基本信息参数,硬盘I/O差不多在455.0 MB/s,也给出了流媒体解锁情况(具体后文还有测评)
----------------------------------------------------------------------------------
CPU Model : Intel(R) Xeon(R) CPU E5-2670 0 @ 2.60GHz
CPU Cores : 2 Cores 2599.998 MHz x86_64
CPU Cache : 16384 KB
CPU Flags : AES-NI Enabled & VM-x/AMD-V Enabled
OS : CentOS 7.9.2009 (64 Bit) KVM
Kernel : 5.4.142-1.el7.elrepo.x86_64
Total Space : 2.2 GB / 15.0 GB
Total RAM : 107 MB / 983 MB (814 MB Buff)
Total SWAP : 31 MB / 511 MB
Uptime : 0 days 0 hour 55 min
Load Average : 0.26, 0.18, 0.13
TCP CC : bbr + fq
Organization : AS136600 Beijing Fengniao Network Technology Co., Ltd
Location : Hong Kong / HK
Region : Central and Western
----------------------------------------------------------------------------------
Stream Media Unlock :
Netflix : Yes (Region: HK)
YouTube Premium : No (Region: CN)
YouTube CDN : Hong Kong
BiliBili China : Yes (Region: HongKong/Macau/Taiwan Only)
TikTok : No
iQIYI International : Yes (Region: HK)
----------------------------------------------------------------------------------
I/O Speed( 1.0GB ) : 357 MB/s
I/O Speed( 1.0GB ) : 461 MB/s
I/O Speed( 1.0GB ) : 547 MB/s
Average I/O Speed : 455.0 MB/s
----------------------------------------------------------------------------------
CubeCloud魔方云香港Lite VPS Speedtest.net国内外节点测速:
----------------------------------------------------------------------------------
Node Name Upload Speed Download Speed Latency Packet Loss
Speedtest.net 926.23 Mbit/s 924.17 Mbit/s 2.68 ms 0.0%
Nanjing 5G CT 57.24 Mbit/s 0.13 Mbit/s 276.64 ms 19.0%
Shanghai 5G CU 145.42 Mbit/s 879.88 Mbit/s 115.06 ms 7.0%
Wu Xi CU 418.39 Mbit/s 4.27 Mbit/s 199.14 ms Not available
Yinchuan CM 486.19 Mbit/s 876.86 Mbit/s 56.00 ms 0.5%
Nanning CM 877.74 Mbit/s 953.71 Mbit/s 47.44 ms 0.0%
Beijing CM 724.36 Mbit/s 954.71 Mbit/s 45.45 ms Not available
Chengdu CM 897.22 Mbit/s 970.88 Mbit/s 58.47 ms 0.0%
----------------------------------------------------------------------------------
Node Name Upload Speed Download Speed Latency Packet Loss
Macau CN 930.93 Mbit/s 287.78 Mbit/s 7.23 ms 0.0%
Taiwan CN 891.33 Mbit/s 906.18 Mbit/s 80.85 ms 0.0%
Singapore SG 915.61 Mbit/s 921.66 Mbit/s 37.28 ms 0.0%
Tokyo JP 309.44 Mbit/s 622.23 Mbit/s 256.89 ms Not available
Seoul KR 759.24 Mbit/s 795.80 Mbit/s 40.19 ms 0.0%
Los Angeles US 30.34 Mbit/s 608.82 Mbit/s 211.94 ms 0.0%
France FR 389.81 Mbit/s 768.80 Mbit/s 200.38 ms 0.0%
----------------------------------------------------------------------------------
CubeCloud魔方云香港Lite VPS三网Ping测试:
CubeCloud魔方云香港Lite VPS丢包率测试:
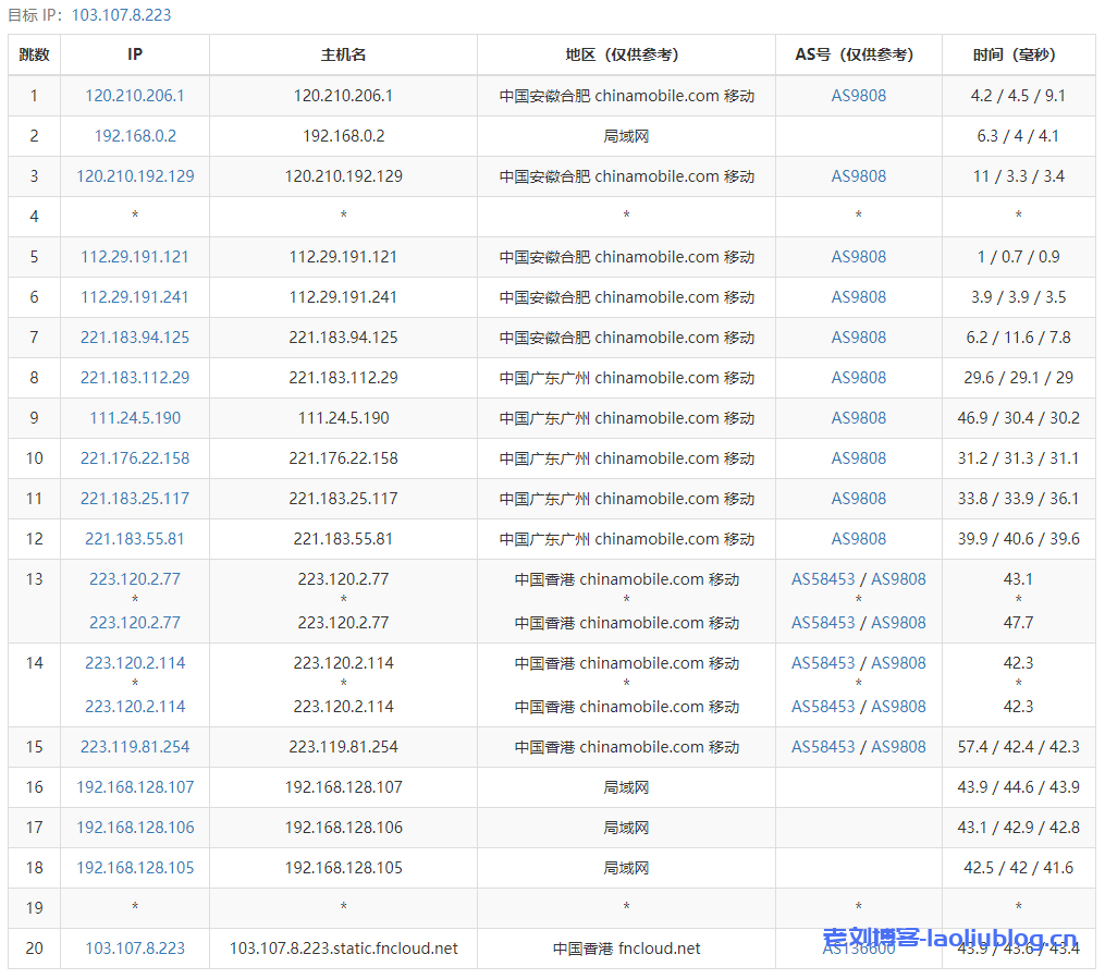
CubeCloud魔方云香港Lite VPS去程路由追踪测试
电信去程,走ntt,绕日本。
移动去程,走移动cmi,直连。
CubeCloud魔方云香港Lite VPS回程路由追踪测试
电信回程,走ntt,绕日本,新加坡,美国;联通回程,走ntt,绕日本,国内部分走AS4837;移动回程,走ntt,第8跳跳移动cmi,直连大陆。
Traceroute to China, Guangzhou CT (TCP Mode, Max 30 Hop)
============================================================
traceroute to 113.108.209.1 (113.108.209.1), 30 hops max, 32 byte packets
1 103.107.8.1 0.51 ms AS136600 China, Hong Kong, fncloud.net
2 10.1.10.85 3.95 ms * LAN Address
3 192.168.128.94 1.53 ms * LAN Address
4 192.168.128.232 0.95 ms * LAN Address
5 168.143.105.208 2.67 ms AS2914 China, Hong Kong, ntt.com
6 129.250.6.99 7.04 ms AS2914 China, Hong Kong, ntt.com
7 129.250.2.50 52.80 ms AS2914 Japan, Tokyo, ntt.com
8 129.250.5.78 156.55 ms AS2914 United States, California, San Jose, ntt.com
9 129.250.6.119 158.94 ms AS2914 NTT.COM 骨干网, ntt.com
10 218.30.53.50 163.61 ms AS4134 United States, California, Los Angeles, ChinaTelecom
11 202.97.63.29 216.77 ms AS4134 China, Guangdong, Guangzhou, ChinaTelecom
12 202.97.12.42 219.23 ms AS4134 China, Guangdong, Guangzhou, ChinaTelecom
13 202.97.94.133 214.27 ms AS4134 China, Guangdong, Guangzhou, ChinaTelecom
14 113.108.209.1 226.30 ms AS4134 China, Guangdong, Guangzhou, ChinaTelecom
Traceroute to China, Shanghai CT (TCP Mode, Max 30 Hop)
============================================================
traceroute to 180.153.28.5 (180.153.28.5), 30 hops max, 32 byte packets
1 103.107.8.1 0.40 ms AS136600 China, Hong Kong, fncloud.net
2 10.1.10.85 0.53 ms * LAN Address
3 192.168.128.94 3.09 ms * LAN Address
4 192.168.128.232 0.77 ms * LAN Address
5 168.143.105.208 2.77 ms AS2914 China, Hong Kong, ntt.com
6 129.250.6.101 3.28 ms AS2914 China, Hong Kong, ntt.com
7 *
8 129.250.2.74 46.91 ms AS2914 Singapore, ntt.com
9 183.91.56.125 254.66 ms AS4134 Singapore, ChinaTelecom
10 *
11 *
12 *
13 101.95.120.157 251.68 ms AS4812 China, Shanghai, ChinaTelecom
14 *
15 101.95.225.38 275.58 ms AS4811 China, Shanghai, ChinaTelecom
16 101.227.255.46 265.76 ms AS4812 China, Shanghai, ChinaTelecom
17 *
18 *
19 *
20 *
21 *
22 *
23 *
24 *
25 *
26 *
27 *
28 *
29 *
30 *
Traceroute to China, Beijing CT (TCP Mode, Max 30 Hop)
============================================================
traceroute to 180.149.128.9 (180.149.128.9), 30 hops max, 32 byte packets
1 103.107.8.1 3.84 ms AS136600 China, Hong Kong, fncloud.net
2 10.1.10.85 0.75 ms * LAN Address
3 192.168.128.94 0.68 ms * LAN Address
4 192.168.128.232 0.63 ms * LAN Address
5 168.143.105.208 2.41 ms AS2914 China, Hong Kong, ntt.com
6 129.250.6.101 2.52 ms AS2914 China, Hong Kong, ntt.com
7 129.250.7.66 2233.47 ms AS2914 Singapore, ntt.com
8 *
9 183.91.56.121 267.54 ms AS4134 Singapore, ChinaTelecom
10 *
11 *
12 *
13 202.97.33.97 283.56 ms AS4134 China, Beijing, ChinaTelecom
14 *
15 *
16 *
17 *
18 *
19 *
20 *
21 *
22 *
23 *
24 *
25 *
26 *
27 *
28 *
29 *
30 *
Traceroute to China, Guangzhou CU (TCP Mode, Max 30 Hop)
============================================================
traceroute to 210.21.4.130 (210.21.4.130), 30 hops max, 32 byte packets
1 103.107.8.1 0.50 ms AS136600 China, Hong Kong, fncloud.net
2 10.1.10.85 1.07 ms * LAN Address
3 192.168.128.94 0.83 ms * LAN Address
4 192.168.128.232 0.74 ms * LAN Address
5 168.143.105.208 2.55 ms AS2914 China, Hong Kong, ntt.com
6 129.250.6.99 4.18 ms AS2914 China, Hong Kong, ntt.com
7 129.250.2.50 68.48 ms AS2914 Japan, Tokyo, ntt.com
8 129.250.3.33 51.45 ms AS2914 Japan, Tokyo, ntt.com
9 219.158.42.5 143.45 ms AS4837 China, Guangdong, Guangzhou, ChinaUnicom
10 219.158.96.206 145.79 ms AS4837 China, Guangdong, Guangzhou, ChinaUnicom
11 219.158.103.217 183.32 ms AS4837 China, Guangdong, Guangzhou, ChinaUnicom
12 157.18.0.30 180.67 ms AS17816 China, Guangdong, Guangzhou, ChinaUnicom
13 120.80.79.194 182.11 ms AS17622 China, Guangdong, Guangzhou, ChinaUnicom
14 *
15 *
16 *
17 *
18 *
19 *
20 *
21 *
22 *
23 *
24 *
25 *
26 *
27 *
28 *
29 *
30 *
Traceroute to China, Shanghai CU (TCP Mode, Max 30 Hop)
============================================================
traceroute to 58.247.8.158 (58.247.8.158), 30 hops max, 32 byte packets
1 103.107.8.1 0.55 ms AS136600 China, Hong Kong, fncloud.net
2 10.1.10.85 1.14 ms * LAN Address
3 192.168.128.94 1.08 ms * LAN Address
4 192.168.128.232 0.87 ms * LAN Address
5 168.143.105.208 2.62 ms AS2914 China, Hong Kong, ntt.com
6 129.250.6.101 4.25 ms AS2914 China, Hong Kong, ntt.com
7 129.250.2.42 46.23 ms AS2914 Japan, Osaka, ntt.com
8 129.250.2.40 45.70 ms AS2914 Japan, Osaka, ntt.com
9 219.158.39.197 95.55 ms AS4837 China, Shanghai, ChinaUnicom
10 219.158.113.118 121.50 ms AS4837 China, Shanghai, ChinaUnicom
11 *
12 *
13 58.247.221.178 102.75 ms AS17621 China, Shanghai, ChinaUnicom
14 139.226.225.22 116.19 ms AS17621 China, Shanghai, ChinaUnicom
15 58.247.8.153 146.57 ms AS17621 China, Shanghai, ChinaUnicom
16 *
17 *
18 *
19 *
20 *
21 *
22 *
23 *
24 *
25 *
26 *
27 *
28 *
29 *
30 *
Traceroute to China, Beijing CU (TCP Mode, Max 30 Hop)
============================================================
traceroute to 123.125.99.1 (123.125.99.1), 30 hops max, 32 byte packets
1 103.107.8.1 0.72 ms AS136600 China, Hong Kong, fncloud.net
2 10.1.10.85 0.64 ms * LAN Address
3 192.168.128.94 0.62 ms * LAN Address
4 192.168.128.232 0.81 ms * LAN Address
5 168.143.105.208 4.13 ms AS2914 China, Hong Kong, ntt.com
6 129.250.6.101 4.01 ms AS2914 China, Hong Kong, ntt.com
7 129.250.2.42 45.98 ms AS2914 Japan, Osaka, ntt.com
8 129.250.7.31 45.69 ms AS2914 Japan, Osaka, ntt.com
9 219.158.34.153 138.76 ms AS4837 China, Beijing, ChinaUnicom
10 219.158.3.181 139.31 ms AS4837 China, Beijing, ChinaUnicom
11 219.158.5.157 142.48 ms AS4837 China, Beijing, ChinaUnicom
12 *
13 219.232.11.130 140.32 ms AS4808 China, Beijing, ChinaUnicom
14 *
15 *
16 *
17 *
18 *
19 *
20 *
21 *
22 *
23 *
24 *
25 *
26 *
27 *
28 *
29 *
30 *
Traceroute to China, Guangzhou CM (TCP Mode, Max 30 Hop)
============================================================
traceroute to 120.196.212.25 (120.196.212.25), 30 hops max, 32 byte packets
1 103.107.8.1 0.47 ms AS136600 China, Hong Kong, fncloud.net
2 10.1.10.85 0.78 ms * LAN Address
3 192.168.128.94 0.63 ms * LAN Address
4 192.168.128.232 1.40 ms * LAN Address
5 168.143.105.208 2.52 ms AS2914 China, Hong Kong, ntt.com
6 129.250.6.99 3.30 ms AS2914 China, Hong Kong, ntt.com
7 129.250.6.92 2.77 ms AS2914 China, Hong Kong, ntt.com
8 *
9 223.120.2.117 2.84 ms AS58453 China, Hong Kong, ChinaMobile
10 *
11 *
12 221.176.24.61 22.40 ms AS9808 China, Guangdong, Guangzhou, ChinaMobile
13 221.176.22.157 9.20 ms AS9808 China, Guangdong, Guangzhou, ChinaMobile
14 111.24.4.253 9.01 ms AS9808 China, Guangdong, Guangzhou, ChinaMobile
15 111.24.14.78 16.25 ms AS9808 China, Guangdong, Shenzhen, ChinaMobile
16 211.136.249.105 13.38 ms AS56040 China, Guangdong, Guangzhou, ChinaMobile
17 211.136.249.101 16.24 ms AS56040 China, Guangdong, Guangzhou, ChinaMobile
18 *
19 *
20 120.196.212.25 11.38 ms AS56040 China, Guangdong, Guangzhou, ChinaMobile
Traceroute to China, Shanghai CM (TCP Mode, Max 30 Hop)
============================================================
traceroute to 221.183.55.22 (221.183.55.22), 30 hops max, 32 byte packets
1 103.107.8.1 0.38 ms AS136600 China, Hong Kong, fncloud.net
2 10.1.10.85 46.76 ms * LAN Address
3 192.168.128.94 0.71 ms * LAN Address
4 192.168.128.232 0.81 ms * LAN Address
5 168.143.105.208 2.55 ms AS2914 China, Hong Kong, ntt.com
6 *
7 129.250.5.161 5.64 ms AS2914 China, Hong Kong, ntt.com
8 203.131.254.2 4.75 ms AS2914 China, Hong Kong, ntt.com
9 223.120.2.65 6.03 ms AS58453 China, Hong Kong, ChinaMobile
10 223.120.2.41 2.67 ms AS58453 China, Hong Kong, ChinaMobile
11 *
12 *
13 221.183.55.22 41.12 ms AS9808 China, Shanghai, ChinaMobile
Traceroute to China, Beijing CM (TCP Mode, Max 30 Hop)
============================================================
traceroute to 211.136.25.153 (211.136.25.153), 30 hops max, 32 byte packets
1 103.107.8.1 0.58 ms AS136600 China, Hong Kong, fncloud.net
2 10.1.10.85 6.29 ms * LAN Address
3 192.168.128.94 0.78 ms * LAN Address
4 192.168.128.232 1.01 ms * LAN Address
5 168.143.105.208 2.77 ms AS2914 China, Hong Kong, ntt.com
6 129.250.6.99 2.76 ms AS2914 China, Hong Kong, ntt.com
7 129.250.5.39 13.65 ms AS2914 China, Hong Kong, ntt.com
8 *
9 223.120.2.53 3.40 ms AS58453 China, Hong Kong, ChinaMobile
10 *
11 *
12 *
13 221.183.46.254 49.72 ms AS9808 China, Beijing, ChinaMobile
14 *
15 111.24.2.101 67.84 ms AS9808 China, Beijing, ChinaMobile
16 111.24.2.134 55.19 ms AS9808 China, Beijing, ChinaMobile
17 *
18 *
19 211.136.63.66 51.87 ms AS56048 China, Beijing, ChinaMobile
20 211.136.95.226 46.07 ms AS56048 China, Beijing, ChinaMobile
21 *
22 211.136.25.153 48.62 ms AS56048 China, Beijing, ChinaMobile
Traceroute to China, Beijing Dr.Peng Network IDC Network (TCP Mode, Max 30 Hop)
============================================================
traceroute to 211.167.230.100 (211.167.230.100), 30 hops max, 32 byte packets
1 103.107.8.1 0.56 ms AS136600 China, Hong Kong, fncloud.net
2 10.1.10.85 3.05 ms * LAN Address
3 192.168.128.94 1.91 ms * LAN Address
4 192.168.128.232 0.82 ms * LAN Address
5 168.143.105.208 2.84 ms AS2914 China, Hong Kong, ntt.com
6 129.250.6.101 4.24 ms AS2914 China, Hong Kong, ntt.com
7 129.250.2.42 46.36 ms AS2914 Japan, Osaka, ntt.com
8 129.250.7.31 45.88 ms AS2914 Japan, Osaka, ntt.com
9 129.250.8.26 142.03 ms AS2914 Japan, Osaka, ntt.com
10 219.158.16.77 146.31 ms AS4837 China, Beijing, ChinaUnicom
11 *
12 202.96.12.66 142.84 ms AS4808 China, Beijing, ChinaUnicom
13 202.106.192.6 141.08 ms AS4808 China, Beijing, ChinaUnicom
14 61.149.212.242 144.27 ms AS4808 China, Beijing, ChinaUnicom
15 202.99.1.126 146.99 ms AS4808 China, Beijing, ChinaUnicom
16 *
17 *
18 *
19 211.167.230.100 145.68 ms AS17964 China, Beijing, DRPENG
----------------------------------------------------------------------------------
CubeCloud魔方云香港Lite VPS FIO测试硬盘读写:
fio Disk Speed Tests (Mixed R/W 50/50):
---------------------------------
Block Size | 4k (IOPS) | 64k (IOPS)
------ | --- ---- | ---- ----
Read | 67.49 MB/s (16.8k) | 572.42 MB/s (8.9k)
Write | 67.66 MB/s (16.9k) | 575.43 MB/s (8.9k)
Total | 135.15 MB/s (33.7k) | 1.14 GB/s (17.9k)
| |
Block Size | 512k (IOPS) | 1m (IOPS)
------ | --- ---- | ---- ----
Read | 903.92 MB/s (1.7k) | 727.44 MB/s (710)
Write | 951.95 MB/s (1.8k) | 775.89 MB/s (757)
Total | 1.85 GB/s (3.6k) | 1.50 GB/s (1.4k)
CubeCloud魔方云香港Lite VPS iperf3针对欧美的节点的数据测试:
iperf3 Network Speed Tests (IPv4):
---------------------------------
Provider | Location (Link) | Send Speed | Recv Speed
| | |
Clouvider | London, UK (10G) | 345 Mbits/sec | 256 Mbits/sec
Online.net | Paris, FR (10G) | 686 Mbits/sec | 93.9 Mbits/sec
Hybula | The Netherlands (40G) | 730 Mbits/sec | 531 Mbits/sec
Uztelecom | Tashkent, UZ (10G) | 644 Mbits/sec | 338 Mbits/sec
Clouvider | NYC, NY, US (10G) | 780 Mbits/sec | 273 Mbits/sec
Clouvider | Dallas, TX, US (10G) | 790 Mbits/sec | 305 Mbits/sec
Clouvider | Los Angeles, CA, US (10G) | 244 Mbits/sec | 337 Mbits/sec
iperf3 Network Speed Tests (IPv6):
---------------------------------
Provider | Location (Link) | Send Speed | Recv Speed
| | |
Clouvider | London, UK (10G) | 609 Mbits/sec | 162 Mbits/sec
Online.net | Paris, FR (10G) | 674 Mbits/sec | 99.1 Mbits/sec
Hybula | The Netherlands (40G) | 630 Mbits/sec | 512 Mbits/sec
Uztelecom | Tashkent, UZ (10G) | 792 Mbits/sec | 210 Mbits/sec
Clouvider | NYC, NY, US (10G) | 750 Mbits/sec | 218 Mbits/sec
Clouvider | Dallas, TX, US (10G) | 783 Mbits/sec | 125 Mbits/sec
Clouvider | Los Angeles, CA, US (10G) | 820 Mbits/sec | 242 Mbits/sec
CubeCloud魔方云香港Lite VPS流媒体解锁测试:
** 测试时间: Sat Aug 20 09:20:40 PDT 2022
** 正在测试IPv4解锁情况
--------------------------------
** 您的网络为: Beijing Fengniao Network Technology Co. (103.107.*.*)
============[ Multination ]============
Dazn: No
HotStar: No
Disney+: Available For [Disney+ CN] Soon
Netflix: Yes (Region: HK)
YouTube Premium: No
Amazon Prime Video: Yes (Region: HK)
TVBAnywhere+: No
iQyi Oversea Region: HK
Viu.com: Yes (Region: HK)
YouTube CDN: Hong Kong
Netflix Preferred CDN: Johannesburg
Spotify Registration: No
Steam Currency: HKD
=======================================
=============[ Hong Kong ]=============
Now E: Yes
Viu.TV: Yes
MyTVSuper: No
HBO GO Asia: Yes (Region: HK)
BiliBili Hongkong/Macau/Taiwan: Yes
=======================================
CubeCloud魔方云香港Lite VPS Geekbench跑分:
Geekbench 5 Benchmark Test:
---------------------------------
Test | Value
|
Single Core | 577
Multi Core | 1118
Full Test | https://browser.geekbench.com/v5/cpu/16754399
老刘博客





























