CubeCloud魔方云7周年庆活动正在进行中:CubeCloud魔方云7周年庆:美国洛杉矶和中国香港机房VPS,Pro系列终身85折,Lite系列终身7折,站长测评了CubeCloud魔方云洛杉矶Pro VPS,洛杉矶CN2 GIA-2G套餐135元/月(7周年活动85折终身优惠后114.75元/月),纯SSD阵列,CN2 GIA+CU接入,1Gbps超大带宽,速度保证。
CubeCloud魔方云洛杉矶Pro VPS购买入口:https://www.cubecloud.net/cart.php?gid=10(购买时可以使用魔方云Pro系列终身循环85折优惠码:PRO-15OFF)。
CubeCloud魔方云洛杉矶Pro系列VPS控制台信息,默认给到1个IPv4和25个IPv6:
CubeCloud魔方云洛杉矶Pro VPS基本信息,磁盘IO在371.8 MB/s左右
----------------------------------------------------------------------------------
CPU Model : Intel(R) Xeon(R) CPU E5-2690 0 @ 2.90GHz
CPU Cores : 2 Cores 2899.998 MHz x86_64
CPU Cache : 16384 KB
CPU Flags : AES-NI Enabled & VM-x/AMD-V Enabled
OS : CentOS 7.9.2009 (64 Bit) KVM
Kernel : 5.4.142-1.el7.elrepo.x86_64
Total Space : 2.2 GB / 29.0 GB
Total RAM : 116 MB / 1989 MB (770 MB Buff)
Total SWAP : 0 MB / 511 MB
Uptime : 0 days 10 hour 31 min
Load Average : 0.07, 0.04, 0.08
TCP CC : bbr + fq
Organization : AS136600 Beijing Fengniao Network Technology Co., Ltd
Location : Los Angeles / US
Region : California
----------------------------------------------------------------------------------
Stream Media Unlock :
Netflix : Originals Only
YouTube Premium : No (Region: CN)
YouTube CDN : Los Angeles
BiliBili China : No
TikTok : No
iQIYI International : Yes (Region: US)
----------------------------------------------------------------------------------
I/O Speed( 1.0GB ) : 49.5 MB/s
I/O Speed( 1.0GB ) : 426 MB/s
I/O Speed( 1.0GB ) : 640 MB/s
Average I/O Speed : 371.8 MB/s
----------------------------------------------------------------------------------
Geekbench v5 Test :
Single Core : 504
Multi Core : 975
----------------------------------------------------------------------------------
CubeCloud魔方云洛杉矶Pro VPS Speedtest.net国内外节点测速:
----------------------------------------------------------------------------------
Node Name Upload Speed Download Speed Latency Packet Loss
Speedtest.net 867.52 Mbit/s 808.61 Mbit/s 0.44 ms 0.0%
Shanghai CT 95.81 Mbit/s 325.99 Mbit/s 128.37 ms Not available
Nanjing 5G CT 4.86 Mbit/s 377.70 Mbit/s 159.44 ms 0.0%
TianJin 5G CT 4.99 Mbit/s 160.05 Mbit/s 150.12 ms 0.0%
Shanghai 5G CU 569.81 Mbit/s 332.83 Mbit/s 140.16 ms 0.0%
Wu Xi CU 460.13 Mbit/s 242.77 Mbit/s 135.18 ms Not available
Yinchuan CM 89.80 Mbit/s 331.23 Mbit/s 203.21 ms 0.0%
Nanning CM 6.95 Mbit/s 749.03 Mbit/s 171.21 ms 28.8%
Beijing CM 4.98 Mbit/s 720.46 Mbit/s 172.84 ms Not available
Chengdu CM 5.02 Mbit/s 671.71 Mbit/s 205.05 ms 15.1%
----------------------------------------------------------------------------------
Node Name Upload Speed Download Speed Latency Packet Loss
Hong Kong CN 510.70 Mbit/s 404.84 Mbit/s 157.83 ms Not available
Macau CN 297.12 Mbit/s 387.65 Mbit/s 166.11 ms 0.0%
Taiwan CN 544.96 Mbit/s 383.56 Mbit/s 151.35 ms 0.0%
Singapore SG 465.16 Mbit/s 160.11 Mbit/s 175.51 ms 0.0%
Tokyo JP 423.66 Mbit/s 65.11 Mbit/s 99.78 ms Not available
Seoul KR 346.27 Mbit/s 295.06 Mbit/s 143.00 ms 0.0%
Los Angeles US 758.09 Mbit/s 438.64 Mbit/s 61.80 ms 0.0%
France FR 413.70 Mbit/s 81.67 Mbit/s 168.13 ms 0.0%
----------------------------------------------------------------------------------
CubeCloud魔方云洛杉矶Pro VPS三网Ping测试:
CubeCloud魔方云洛杉矶Pro VPS丢包率测试:
CubeCloud魔方云洛杉矶Pro VPS FIO测试硬盘读写:
fio Disk Speed Tests (Mixed R/W 50/50):
---------------------------------
Block Size | 4k (IOPS) | 64k (IOPS)
------ | --- ---- | ---- ----
Read | 82.51 MB/s (20.6k) | 166.43 MB/s (2.6k)
Write | 82.73 MB/s (20.6k) | 167.31 MB/s (2.6k)
Total | 165.24 MB/s (41.3k) | 333.75 MB/s (5.2k)
| |
Block Size | 512k (IOPS) | 1m (IOPS)
------ | --- ---- | ---- ----
Read | 1.13 GB/s (2.2k) | 188.77 MB/s (184)
Write | 1.19 GB/s (2.3k) | 201.35 MB/s (196)
Total | 2.32 GB/s (4.5k) | 390.13 MB/s (380)
CubeCloud魔方云洛杉矶Pro VPS iperf3针对欧美的节点的数据测试:
iperf3 Network Speed Tests (IPv4):
---------------------------------
Provider | Location (Link) | Send Speed | Recv Speed
| | |
Clouvider | London, UK (10G) | 357 Mbits/sec | 185 Mbits/sec
Online.net | Paris, FR (10G) | 424 Mbits/sec | 107 Mbits/sec
Hybula | The Netherlands (40G) | 587 Mbits/sec | 413 Mbits/sec
Uztelecom | Tashkent, UZ (10G) | 579 Mbits/sec | 79.0 Mbits/sec
Clouvider | NYC, NY, US (10G) | 760 Mbits/sec | 127 Mbits/sec
Clouvider | Dallas, TX, US (10G) | 748 Mbits/sec | 108 Mbits/sec
Clouvider | Los Angeles, CA, US (10G) | 733 Mbits/sec | 736 Mbits/sec
iperf3 Network Speed Tests (IPv6):
---------------------------------
Provider | Location (Link) | Send Speed | Recv Speed
| | |
Clouvider | London, UK (10G) | 797 Mbits/sec | 62.4 Mbits/sec
Online.net | Paris, FR (10G) | 794 Mbits/sec | 66.7 Mbits/sec
Hybula | The Netherlands (40G) | 760 Mbits/sec | 420 Mbits/sec
Uztelecom | Tashkent, UZ (10G) | 700 Mbits/sec | 68.5 Mbits/sec
Clouvider | NYC, NY, US (10G) | 851 Mbits/sec | 102 Mbits/sec
Clouvider | Dallas, TX, US (10G) | 833 Mbits/sec | 148 Mbits/sec
Clouvider | Los Angeles, CA, US (10G) | 842 Mbits/sec | 725 Mbits/sec
CubeCloud魔方云洛杉矶Pro VPS去程路由追踪测试
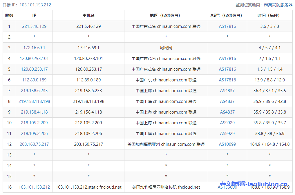
CubeCloud魔方云洛杉矶Pro VPS回程路由追踪测试
Traceroute to China, Guangzhou CT (TCP Mode, Max 30 Hop)
============================================================
traceroute to 113.108.209.1 (113.108.209.1), 30 hops max, 32 byte packets
1 *
2 *
3 218.30.49.161 0.96 ms AS4134 United States, California, Los Angeles, ChinaTelecom
4 59.43.182.102 146.33 ms * China, Guangdong, Guangzhou, ChinaTelecom
5 *
6 59.43.130.109 159.42 ms * China, Guangdong, Guangzhou, ChinaTelecom
7 *
8 113.108.209.1 150.98 ms AS4134 China, Guangdong, Guangzhou, ChinaTelecom
Traceroute to China, Shanghai CT (TCP Mode, Max 30 Hop)
============================================================
traceroute to 180.153.28.5 (180.153.28.5), 30 hops max, 32 byte packets
1 *
2 *
3 218.30.49.161 0.94 ms AS4134 United States, California, Los Angeles, ChinaTelecom
4 59.43.181.145 127.06 ms * China, Shanghai, ChinaTelecom
5 *
6 59.43.138.49 128.29 ms * China, Shanghai, ChinaTelecom
7 101.95.88.58 128.98 ms AS4812 China, Shanghai, ChinaTelecom
8 *
9 124.74.232.62 131.62 ms AS4811 China, Shanghai, ChinaTelecom
10 101.227.255.34 129.56 ms AS4812 China, Shanghai, ChinaTelecom
11 *
12 *
13 *
14 *
15 *
16 *
17 *
18 *
19 *
20 *
21 *
22 *
23 *
24 *
25 *
26 *
27 *
28 *
29 *
30 *
Traceroute to China, Beijing CT (TCP Mode, Max 30 Hop)
============================================================
traceroute to 180.149.128.9 (180.149.128.9), 30 hops max, 32 byte packets
1 *
2 *
3 218.30.49.161 3.37 ms AS4134 United States, California, Los Angeles, ChinaTelecom
4 59.43.189.37 127.23 ms * China, Shanghai, ChinaTelecom
5 59.43.247.141 155.42 ms * China, Beijing, ChinaTelecom
6 *
7 59.43.132.17 150.27 ms * China, Beijing, ChinaTelecom
8 *
9 219.142.9.110 155.49 ms AS4847 China, Beijing, ChinaTelecom
10 *
11 *
12 *
13 *
14 *
15 *
16 *
17 *
18 *
19 *
20 *
21 *
22 *
23 *
24 *
25 *
26 *
27 *
28 *
29 *
30 *
Traceroute to China, Guangzhou CU (TCP Mode, Max 30 Hop)
============================================================
traceroute to 210.21.4.130 (210.21.4.130), 30 hops max, 32 byte packets
1 *
2 100.64.10.10 0.95 ms AS35807 Shared Address
3 *
4 *
5 219.158.97.177 153.54 ms AS4837 China, Shanghai, ChinaUnicom
6 219.158.113.126 151.75 ms AS4837 China, Shanghai, ChinaUnicom
7 219.158.113.101 150.50 ms AS4837 China, Shanghai, ChinaUnicom
8 219.158.6.254 184.30 ms AS4837 China, Guangdong, Guangzhou, ChinaUnicom
9 120.83.0.58 279.75 ms AS17816 China, Guangdong, Guangzhou, ChinaUnicom
10 120.80.79.194 177.09 ms AS17622 China, Guangdong, Guangzhou, ChinaUnicom
11 *
12 *
13 *
14 *
15 *
16 *
17 *
18 *
19 *
20 *
21 *
22 *
23 *
24 *
25 *
26 *
27 *
28 *
29 *
30 *
Traceroute to China, Shanghai CU (TCP Mode, Max 30 Hop)
============================================================
traceroute to 58.247.8.158 (58.247.8.158), 30 hops max, 32 byte packets
1 *
2 100.64.10.10 1.01 ms AS35807 Shared Address
3 *
4 *
5 219.158.97.181 136.89 ms AS4837 China, Shanghai, ChinaUnicom
6 219.158.8.181 135.82 ms AS4837 China, Shanghai, ChinaUnicom
7 219.158.8.209 132.67 ms AS4837 China, Shanghai, ChinaUnicom
8 *
9 58.247.221.178 134.33 ms AS17621 China, Shanghai, ChinaUnicom
10 139.226.225.22 134.40 ms AS17621 China, Shanghai, ChinaUnicom
11 58.247.8.153 136.46 ms AS17621 China, Shanghai, ChinaUnicom
12 *
13 *
14 *
15 *
16 *
17 *
18 *
19 *
20 *
21 *
22 *
23 *
24 *
25 *
26 *
27 *
28 *
29 *
30 *
Traceroute to China, Beijing CU (TCP Mode, Max 30 Hop)
============================================================
traceroute to 123.125.99.1 (123.125.99.1), 30 hops max, 32 byte packets
1 *
2 100.64.10.10 1.49 ms AS35807 Shared Address
3 *
4 *
5 219.158.97.181 134.23 ms AS4837 China, Shanghai, ChinaUnicom
6 219.158.19.90 134.83 ms AS4837 China, Shanghai, ChinaUnicom
7 219.158.19.81 135.47 ms AS4837 China, Shanghai, ChinaUnicom
8 *
9 *
10 219.232.11.202 157.81 ms AS4808 China, Beijing, ChinaUnicom
11 *
12 *
13 *
14 *
15 *
16 *
17 *
18 *
19 *
20 *
21 *
22 *
23 *
24 *
25 *
26 *
27 *
28 *
29 *
30 *
Traceroute to China, Guangzhou CM (TCP Mode, Max 30 Hop)
============================================================
traceroute to 120.196.212.25 (120.196.212.25), 30 hops max, 32 byte packets
1 *
2 *
3 218.30.49.161 1.13 ms AS4134 United States, California, Los Angeles, ChinaTelecom
4 59.43.182.102 223.59 ms * China, Guangdong, Guangzhou, ChinaTelecom
5 *
6 59.43.130.157 152.04 ms * China, Guangdong, Guangzhou, ChinaTelecom
7 *
8 202.97.95.74 155.66 ms AS4134 China, Guangdong, Guangzhou, ChinaTelecom
9 221.183.68.161 174.42 ms AS9808 China, Guangdong, Guangzhou, ChinaMobile
10 221.183.90.213 182.08 ms AS9808 China, Guangdong, Guangzhou, ChinaMobile
11 *
12 211.136.208.25 169.51 ms AS56040 China, Guangdong, Guangzhou, ChinaMobile
13 211.136.249.97 158.68 ms AS56040 China, Guangdong, Guangzhou, ChinaMobile
14 211.139.180.110 164.01 ms AS56040 China, Guangdong, Guangzhou, ChinaMobile
15 *
16 *
17 *
18 120.196.212.25 167.70 ms AS56040 China, Guangdong, Guangzhou, ChinaMobile
Traceroute to China, Shanghai CM (TCP Mode, Max 30 Hop)
============================================================
traceroute to 221.183.55.22 (221.183.55.22), 30 hops max, 32 byte packets
1 *
2 *
3 218.30.49.161 1.15 ms AS4134 United States, California, Los Angeles, ChinaTelecom
4 59.43.189.37 127.01 ms * China, Shanghai, ChinaTelecom
5 59.43.187.57 127.92 ms * China, Shanghai, ChinaTelecom
6 59.43.130.205 130.34 ms * China, Shanghai, ChinaTelecom
7 *
8 202.97.87.122 134.33 ms AS4134 China, Shanghai, ChinaTelecom
9 *
10 221.183.90.249 131.00 ms AS9808 China, Shanghai, ChinaMobile
11 *
12 221.176.22.10 130.02 ms AS9808 China, Shanghai, ChinaMobile
13 221.183.55.22 151.05 ms AS9808 China, Shanghai, ChinaMobile
Traceroute to China, Beijing CM (TCP Mode, Max 30 Hop)
============================================================
traceroute to 211.136.25.153 (211.136.25.153), 30 hops max, 32 byte packets
1 *
2 *
3 218.30.49.161 1.42 ms AS4134 United States, California, Los Angeles, ChinaTelecom
4 59.43.189.33 127.51 ms * China, Shanghai, ChinaTelecom
5 *
6 59.43.138.49 131.30 ms * China, Shanghai, ChinaTelecom
7 59.43.80.141 128.29 ms * China, Shanghai, ChinaTelecom
8 202.97.97.237 148.30 ms AS4134 China, Beijing, ChinaTelecom
9 202.97.17.78 150.46 ms AS4134 China, Beijing, ChinaTelecom
10 221.183.95.169 186.78 ms AS9808 China, Beijing, ChinaMobile
11 *
12 *
13 *
14 *
15 211.136.95.226 186.25 ms AS56048 China, Beijing, ChinaMobile
16 211.136.95.226 185.98 ms AS56048 China, Beijing, ChinaMobile
17 *
18 211.136.25.153 187.81 ms AS56048 China, Beijing, ChinaMobile
Traceroute to China, Beijing Dr.Peng Network IDC Network (TCP Mode, Max 30 Hop)
============================================================
traceroute to 211.167.230.100 (211.167.230.100), 30 hops max, 32 byte packets
1 *
2 100.64.10.10 1.00 ms AS35807 Shared Address
3 *
4 *
5 219.158.116.237 147.80 ms AS4837 China, Shanghai, ChinaUnicom
6 219.158.8.173 143.57 ms AS4837 China, Shanghai, ChinaUnicom
7 *
8 219.158.8.241 165.18 ms AS4837 China, Beijing, ChinaUnicom
9 *
10 202.106.193.38 162.01 ms AS4808 China, Beijing, ChinaUnicom
11 61.149.212.242 160.71 ms AS4808 China, Beijing, ChinaUnicom
12 202.99.1.238 161.15 ms AS4808 China, Beijing, ChinaUnicom
13 218.241.252.14 163.20 ms AS4808 China, Beijing, DRPENG
14 218.241.253.134 162.42 ms AS4808 China, Beijing, DRPENG
15 211.167.230.100 163.52 ms AS17964 China, Beijing, DRPENG
----------------------------------------------------------------------------------
CubeCloud魔方云洛杉矶Pro VPS流媒体测试
** 测试时间: Sat Aug 20 18:43:06 PDT 2022
** 正在测试IPv4解锁情况
--------------------------------
** 您的网络为: Beijing Fengniao Network Technology Co. (103.101.*.*)
============[ Multination ]============
Dazn: No
HotStar: Yes (Region: US)
Disney+: Available For [Disney+ CN] Soon
Netflix: Yes (Region: US)
YouTube Premium: No
Amazon Prime Video: Yes (Region: US)
TVBAnywhere+: Yes
iQyi Oversea Region: US
Viu.com: No
YouTube CDN: Los Angeles, CA
Netflix Preferred CDN: Los Angeles, CA
Spotify Registration: No
Steam Currency: USD
=======================================
===========[ North America ]===========
FOX: Yes
Hulu: Failed
ESPN+:[Sponsored by Jam] No
Epix: No
Starz: No
HBO Now: No
HBO Max: Yes
BritBox: Yes
NBA TV: Yes
Fubo TV: Failed (Network Connection)
Sling TV: Yes
Pluto TV: Yes
Acorn TV: Yes
SHOWTIME: Yes
encoreTVB: No
CineMax Go: No
Funimation: Yes (Region: US)
Discovery+: Yes
Paramount+: No
Peacock TV: Yes
Directv Stream: Yes
---CA---
CBC Gem: No
Crave: No
=======================================
** 正在测试IPv6解锁情况
--------------------------------
** 您的网络为: Beijing Fengniao Network Technology Co. (2401:1740:1000:*:*)
============[ Multination ]============
Dazn: Failed (Network Connection)
HotStar: Failed (Network Connection)
Disney+: Available For [Disney+ CN] Soon
Netflix: Originals Only
YouTube Premium: No
Amazon Prime Video: Unsupported
TVBAnywhere+: Failed (Network Connection)
iQyi Oversea Region: Failed
Viu.com: Failed
YouTube CDN: Los Angeles, CA
Netflix Preferred CDN: Los Angeles, CA
Spotify Registration: No
Steam Currency: Failed (Network Connection)
=======================================
===========[ North America ]===========
FOX: Yes
Hulu: Failed
ESPN+:[Sponsored by Jam] No
Epix: No
Starz: Failed (Network Connection)
HBO Now: Failed (Network Connection)
HBO Max: Failed (Network Connection)
BritBox: Failed (Network Connection)
NBA TV: Failed (Network Connection)
Fubo TV: Failed (Network Connection)
Sling TV: Yes
Pluto TV: Yes
Acorn TV: Failed (Network Connection)
SHOWTIME: Failed (Network Connection)
encoreTVB: Failed (Network Connection)
CineMax Go: Failed (Network Connection)
Funimation: IPv6 Not Support
Discovery+: IPv6 Not Support
Paramount+: No
Peacock TV: ->curl: (7) Failed connect to www.peacocktv.com:443; Operation now in progress
Peacock TV: Yes
Directv Stream: Failed (Network Connection)
---CA---
CBC Gem: Failed (Network Connection)
Crave: Failed (Network Connection)
=======================================
本次测试已结束,感谢使用此脚本
CubeCloud魔方云洛杉矶Pro VPS Geekbench跑分测试
Geekbench 5 Benchmark Test:
---------------------------------
Test | Value
|
Single Core | 486
Multi Core | 967
Full Test | https://browser.geekbench.com/v5/cpu/16762028
老刘博客





























