arkecx怎么样?arkecx好不好?arkecx目前搞促销活动:《ArkEdge季付9.5折、半年9折、年付8.5折!1Gbps带宽起步,有曼谷/菲律宾/马来西亚,日本云服务器月付$168起(CN2/9929/CMI)》,本文站长测评了下Ark Edge Cloud美国洛杉矶机房云服务器的Global Locations – Ark02套餐,总结下来就是性能很好,绝对够用,放心!网络,去程:电信、联通、移动,三网直连;网络,回程:全部都是从三大运营商的美国节点直连回来。在常规网络里面算是非常优秀的了。三网全部拉直,没有多余的,值得推荐!
Ark Edge Cloud官方网站:门户首页 – Ark Edge Cloud (arkecx.com)(可选中文版本)
Ark Edge Cloud优惠码:Q11NTEH40Q,9折优惠
Global Locations – Ark02套餐购买入口:https://www.arkecx.com/aff.php?aff=9&pid=37(2核2G内存75G SSD硬盘3TB流量@1Gbps带宽)
zenlayer自己的广播IP,硬盘I/O大致575MB/S的样子;TIKTOK流媒体解锁,美区:OK
FIO详细测试硬盘读写数据
fio Disk Speed Tests (Mixed R/W 50/50):
---------------------------------
Block Size | 4k (IOPS) | 64k (IOPS)
------ | --- ---- | ---- ----
Read | 45.16 MB/s (11.2k) | 454.01 MB/s (7.0k)
Write | 45.23 MB/s (11.3k) | 456.40 MB/s (7.1k)
Total | 90.40 MB/s (22.5k) | 910.41 MB/s (14.2k)
| |
Block Size | 512k (IOPS) | 1m (IOPS)
------ | --- ---- | ---- ----
Read | 820.10 MB/s (1.6k) | 576.58 MB/s (563)
Write | 863.67 MB/s (1.6k) | 614.98 MB/s (600)
Total | 1.68 GB/s (3.2k) | 1.19 GB/s (1.1k)
iperf3跑几个欧美节点看看:
iperf3 Network Speed Tests (IPv4):
---------------------------------
Provider | Location (Link) | Send Speed | Recv Speed
| | |
Clouvider | London, UK (10G) | 804 Mbits/sec | 667 Mbits/sec
Online.net | Paris, FR (10G) | 789 Mbits/sec | 630 Mbits/sec
Hybula | The Netherlands (40G) | 436 Mbits/sec | 646 Mbits/sec
Uztelecom | Tashkent, UZ (10G) | 151 Mbits/sec | 407 Mbits/sec
Clouvider | NYC, NY, US (10G) | 909 Mbits/sec | 923 Mbits/sec
Clouvider | Dallas, TX, US (10G) | 925 Mbits/sec | 959 Mbits/sec
Clouvider | Los Angeles, CA, US (10G) | 962 Mbits/sec | 974 Mbits/sec
speedtest.net脚本测试机器速度,速度惊人!
三网Ping测试下:
看看丢包率情况
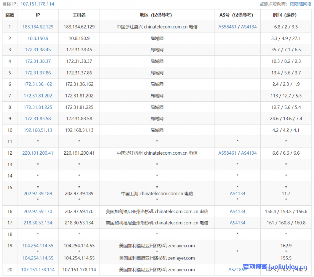
去程路由追踪测试:
回程路由追踪测试:
回程,到国内电信:从电信在洛杉矶的节点直连回国;回程,到国内联通:从机房出来直接走联通AS4837回国;回程,到国内移动:全部从移动在洛杉矶的节点直连回国
Traceroute to China, Guangzhou CT (TCP Mode, Max 30 Hop)
============================================================
traceroute to 113.108.209.1 (113.108.209.1), 30 hops max, 32 byte packets
1 5.7.250.1 13.75 ms AS6805 Germany, telefonica.de
2 *
3 192.254.84.32 0.68 ms AS21859 United States, California, Los Angeles, zenlayer.com
4 218.30.53.133 2.83 ms AS4134 United States, California, Los Angeles, ChinaTelecom
5 202.97.51.113 157.33 ms AS4134 China, Guangdong, Guangzhou, ChinaTelecom
6 *
7 202.97.82.21 159.87 ms AS4134 China, Guangdong, Guangzhou, ChinaTelecom
8 113.96.5.166 163.54 ms AS4134 China, Guangdong, Guangzhou, ChinaTelecom
9 113.108.209.1 154.29 ms AS4134 China, Guangdong, Guangzhou, ChinaTelecom
Traceroute to China, Shanghai CT (TCP Mode, Max 30 Hop)
============================================================
traceroute to 180.153.28.5 (180.153.28.5), 30 hops max, 32 byte packets
1 5.7.250.1 15.67 ms AS6805 Germany, telefonica.de
2 *
3 192.254.84.114 0.57 ms AS21859 United States, California, Los Angeles, zenlayer.com
4 218.30.53.133 5.80 ms AS4134 United States, California, Los Angeles, ChinaTelecom
5 *
6 *
7 202.97.50.137 157.99 ms AS4134 China, Shanghai, ChinaTelecom
8 *
9 *
10 124.74.232.54 157.99 ms AS4811 China, Shanghai, ChinaTelecom
11 101.227.255.46 161.38 ms AS4812 China, Shanghai, ChinaTelecom
12 *
13 *
14 *
15 *
16 *
17 *
18 *
19 *
20 *
21 *
22 *
23 *
24 *
25 *
26 *
27 *
28 *
29 *
30 *
Traceroute to China, Beijing CT (TCP Mode, Max 30 Hop)
============================================================
traceroute to 180.149.128.9 (180.149.128.9), 30 hops max, 32 byte packets
1 5.7.250.1 13.01 ms AS6805 Germany, telefonica.de
2 *
3 192.254.84.114 0.72 ms AS21859 United States, California, Los Angeles, zenlayer.com
4 218.30.53.133 3.33 ms AS4134 United States, California, Los Angeles, ChinaTelecom
5 202.97.59.133 154.22 ms AS4134 China, Beijing, ChinaTelecom
6 202.97.12.125 155.48 ms AS4134 China, Beijing, ChinaTelecom
7 *
8 *
9 *
10 *
11 *
12 *
13 *
14 *
15 *
16 *
17 *
18 *
19 *
20 *
21 *
22 *
23 *
24 *
25 *
26 *
27 *
28 *
29 *
30 *
Traceroute to China, Guangzhou CU (TCP Mode, Max 30 Hop)
============================================================
traceroute to 210.21.4.130 (210.21.4.130), 30 hops max, 32 byte packets
1 5.7.250.1 9.47 ms AS6805 Germany, telefonica.de
2 *
3 23.236.97.252 12.36 ms AS21859 United States, California, Los Angeles, zenlayer.com
4 23.236.97.167 0.77 ms AS21859 United States, California, Los Angeles, zenlayer.com
5 219.158.45.181 4.96 ms AS4837 United States, California, Los Angeles, ChinaUnicom
6 219.158.97.209 147.97 ms AS4837 China, Guangdong, Guangzhou, ChinaUnicom
7 219.158.97.30 145.51 ms AS4837 China, Guangdong, Guangzhou, ChinaUnicom
8 219.158.8.113 145.83 ms AS4837 China, Guangdong, Guangzhou, ChinaUnicom
9 157.18.0.26 147.74 ms AS17816 China, Guangdong, Guangzhou, ChinaUnicom
10 120.80.169.118 155.47 ms AS17622 China, Guangdong, Guangzhou, ChinaUnicom
11 *
12 *
13 *
14 *
15 *
16 *
17 *
18 *
19 *
20 *
21 *
22 *
23 *
24 *
25 *
26 *
27 *
28 *
29 *
30 *
Traceroute to China, Shanghai CU (TCP Mode, Max 30 Hop)
============================================================
traceroute to 58.247.8.158 (58.247.8.158), 30 hops max, 32 byte packets
1 5.7.250.1 16.35 ms AS6805 Germany, telefonica.de
2 *
3 192.254.84.114 0.58 ms AS21859 United States, California, Los Angeles, zenlayer.com
4 219.158.45.181 6.89 ms AS4837 United States, California, Los Angeles, ChinaUnicom
5 219.158.17.85 150.64 ms AS4837 China, Guangdong, Guangzhou, ChinaUnicom
6 219.158.111.137 177.65 ms AS4837 China, Shanghai, ChinaUnicom
7 219.158.8.189 180.07 ms AS4837 China, Shanghai, ChinaUnicom
8 219.158.8.201 177.10 ms AS4837 China, Shanghai, ChinaUnicom
9 *
10 58.247.221.178 192.50 ms AS17621 China, Shanghai, ChinaUnicom
11 139.226.225.22 181.95 ms AS17621 China, Shanghai, ChinaUnicom
12 58.247.8.153 186.13 ms AS17621 China, Shanghai, ChinaUnicom
13 *
14 *
15 *
16 *
17 *
18 *
19 *
20 *
21 *
22 *
23 *
24 *
25 *
26 *
27 *
28 *
29 *
30 *
Traceroute to China, Beijing CU (TCP Mode, Max 30 Hop)
============================================================
traceroute to 123.125.99.1 (123.125.99.1), 30 hops max, 32 byte packets
1 5.7.250.1 9.20 ms AS6805 Germany, telefonica.de
2 *
3 192.254.84.114 0.59 ms AS21859 United States, California, Los Angeles, zenlayer.com
4 219.158.45.181 2.11 ms AS4837 United States, California, Los Angeles, ChinaUnicom
5 219.158.17.85 153.30 ms AS4837 China, Guangdong, Guangzhou, ChinaUnicom
6 219.158.115.121 185.02 ms AS4837 China, Beijing, ChinaUnicom
7 219.158.3.133 185.89 ms AS4837 China, Beijing, ChinaUnicom
8 *
9 125.33.186.26 189.28 ms AS4808 China, Beijing, ChinaUnicom
10 219.232.11.130 196.04 ms AS4808 China, Beijing, ChinaUnicom
11 *
12 *
13 *
14 *
15 *
16 *
17 *
18 *
19 *
20 *
21 *
22 *
23 *
24 *
25 *
26 *
27 *
28 *
29 *
30 *
Traceroute to China, Guangzhou CM (TCP Mode, Max 30 Hop)
============================================================
traceroute to 120.196.212.25 (120.196.212.25), 30 hops max, 32 byte packets
1 5.7.250.1 10.32 ms AS6805 Germany, telefonica.de
2 *
3 23.236.97.250 10.52 ms AS21859 United States, California, Los Angeles, zenlayer.com
4 223.119.66.113 1.08 ms AS58453 CHINAMOBILE.COM 骨干网, ChinaMobile
5 223.120.6.17 1.07 ms AS58453 United States, California, Los Angeles, ChinaMobile
6 *
7 *
8 221.183.52.85 150.68 ms AS9808 China, Guangdong, Guangzhou, ChinaMobile
9 221.176.24.149 155.30 ms AS9808 China, Guangdong, Guangzhou, ChinaMobile
10 221.176.18.109 154.15 ms AS9808 China, Guangdong, Guangzhou, ChinaMobile
11 *
12 *
13 211.136.203.14 149.19 ms AS56040 China, Guangdong, Guangzhou, ChinaMobile
14 211.136.196.250 157.79 ms AS56040 China, Guangdong, Guangzhou, ChinaMobile
15 *
16 120.196.212.25 148.88 ms AS56040 China, Guangdong, Guangzhou, ChinaMobile
Traceroute to China, Shanghai CM (TCP Mode, Max 30 Hop)
============================================================
traceroute to 221.183.55.22 (221.183.55.22), 30 hops max, 32 byte packets
1 5.7.250.1 11.10 ms AS6805 Germany, telefonica.de
2 *
3 23.236.97.250 1.16 ms AS21859 United States, California, Los Angeles, zenlayer.com
4 223.119.66.113 0.91 ms AS58453 CHINAMOBILE.COM 骨干网, ChinaMobile
5 223.120.6.17 1.13 ms AS58453 United States, California, Los Angeles, ChinaMobile
6 *
7 *
8 221.183.55.22 226.06 ms AS9808 China, Shanghai, ChinaMobile
Traceroute to China, Beijing CM (TCP Mode, Max 30 Hop)
============================================================
traceroute to 211.136.25.153 (211.136.25.153), 30 hops max, 32 byte packets
1 5.7.250.1 8.53 ms AS6805 Germany, telefonica.de
2 *
3 23.236.97.250 1.14 ms AS21859 United States, California, Los Angeles, zenlayer.com
4 223.119.66.113 1.25 ms AS58453 CHINAMOBILE.COM 骨干网, ChinaMobile
5 223.120.6.17 1.23 ms AS58453 United States, California, Los Angeles, ChinaMobile
6 *
7 *
8 *
9 *
10 111.24.2.105 215.85 ms AS9808 China, Beijing, ChinaMobile
11 111.24.14.54 198.53 ms AS9808 China, Beijing, ChinaMobile
12 211.136.66.229 210.74 ms AS56048 China, Beijing, ChinaMobile
13 211.136.67.166 223.62 ms AS56048 China, Beijing, ChinaMobile
14 211.136.63.66 227.35 ms AS56048 China, Beijing, ChinaMobile
15 211.136.95.226 196.72 ms AS56048 China, Beijing, ChinaMobile
16 *
17 *
18 211.136.25.153 224.22 ms AS56048 China, Beijing, ChinaMobile
Traceroute to China, Beijing Dr.Peng Network IDC Network (TCP Mode, Max 30 Hop)
============================================================
traceroute to 211.167.230.100 (211.167.230.100), 30 hops max, 32 byte packets
1 5.7.250.1 7.27 ms AS6805 Germany, telefonica.de
2 *
3 23.236.97.252 0.92 ms AS21859 United States, California, Los Angeles, zenlayer.com
4 23.236.97.167 0.77 ms AS21859 United States, California, Los Angeles, zenlayer.com
5 219.158.45.181 2.66 ms AS4837 United States, California, Los Angeles, ChinaUnicom
6 219.158.97.209 144.85 ms AS4837 China, Guangdong, Guangzhou, ChinaUnicom
7 219.158.115.121 182.28 ms AS4837 China, Beijing, ChinaUnicom
8 219.158.3.177 183.59 ms AS4837 China, Beijing, ChinaUnicom
9 *
10 125.33.186.182 180.17 ms AS4808 China, Beijing, ChinaUnicom
11 202.96.13.194 181.31 ms AS4808 China, Beijing, ChinaUnicom
12 61.149.212.242 181.42 ms AS4808 China, Beijing, ChinaUnicom
13 202.99.1.234 174.07 ms AS4808 China, Beijing, ChinaUnicom
14 218.241.252.14 188.70 ms AS4808 China, Beijing, DRPENG
15 218.241.253.130 180.55 ms AS4808 China, Beijing, DRPENG
16 211.167.230.100 191.55 ms AS17964 China, Beijing, DRPENG
----------------------------------------------------------------------------------
跨区域以及北区地区的流媒体平台解锁情况:
24个全球机房-云服务器
常规网络,非CN2 GIA,最低1Gbps带宽;季付9.5折、半年9折、年付8.5折
老刘博客

































