恒爱网络怎么样?恒爱网络好不好?恒爱网络平台始于2009年,一直做域名主机这方面的业务,目前云服务器为香港机房资源,包括香港ColudIE和沙田,同时也代理景安国内云服务器,目前商家云服务器采用首月5折续费6折原则,分为固定配置和弹性配置,除了固定的套餐外可以自由搭配,香港沙田最低1GB内存特惠型号首月付仅30元,年付354元/年:香港沙田精品CN2线路,免备案,速度快,首月5折体验,续费6折,支持3天内退款。我们来一起看下套餐:
恒爱网络官网:国外域名,空间主机,SSL证书,云服务器 – 恒爱网络 (zzhidc.com)
| CPU:2cores | CPU:4cores | CPU:4cores |
| 内存:1GB | 内存:2GB | 内存:3GB |
| 硬盘:20+10GB | 硬盘:20+20GB | 硬盘:20+30GB |
| 带宽:1Mbps | 带宽:2Mbps | 带宽:3Mbps |
| 架构:KVM | 架构:KVM | 架构:KVM |
| IPv4:1个 | IPv4:1个 | IPv4:1个 |
| 价格:30元/月购买链接 | 价格:55元/月购买链接 | 价格:70元/月购买链接 |
为了实际看看恒爱网络香港弹性云实际性能如何,站长这里选购了一台4核4GB内存2M带宽的弹性云(首月半价,续费6折:首月80元,续费96元/月)进行了测评。
官网配置信息:
相关测评具体如下:
恒爱网络香港弹性云三网Ping测试
恒爱网络香港弹性云丢包率
恒爱网络香港弹性云Speedtest.net国内外节点测速
恒爱网络香港弹性云FIO测试硬盘读写
恒爱网络香港弹性云iperf3针对欧美的节点的数据测试
恒爱网络香港弹性云去程路由追踪测试
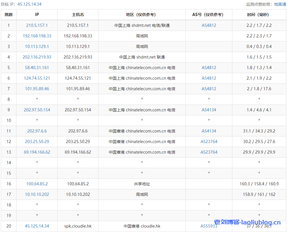
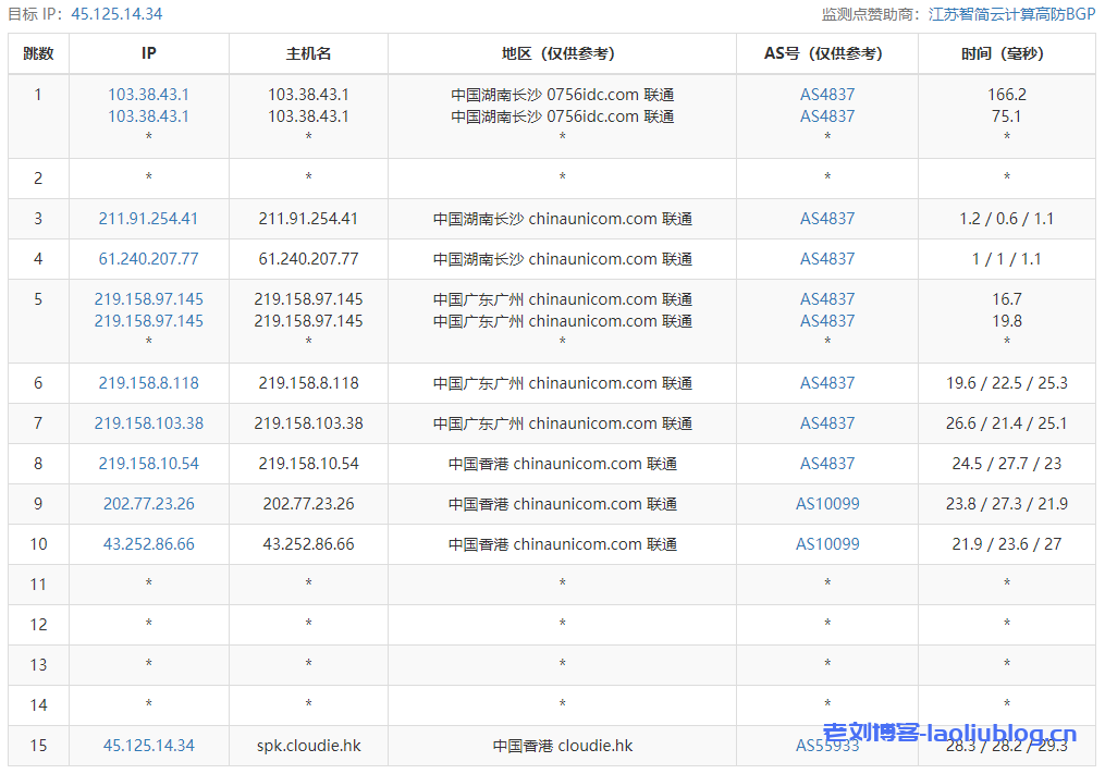
恒爱网络香港弹性云回程路由追踪测试
Traceroute to China, Guangzhou CT (TCP Mode, Max 30 Hop)
============================================================
traceroute to 113.108.209.1 (113.108.209.1), 30 hops max, 32 byte packets
1 *
2 10.83.0.254 0.73 ms * LAN Address
3 *
4 *
5 *
6 221.183.30.153 6.67 ms AS9808 China, Guangdong, Guangzhou, ChinaMobile
7 221.176.24.61 8.51 ms AS9808 China, Guangdong, Guangzhou, ChinaMobile
8 *
9 111.24.4.233 9.51 ms AS9808 China, Guangdong, Guangzhou, ChinaMobile
10 221.183.97.86 11.37 ms AS9808 China, Guangdong, Guangzhou, ChinaMobile
11 221.183.128.94 13.81 ms AS9808 China, Guangdong, ChinaMobile
12 *
13 113.96.5.170 19.90 ms AS4134 China, Guangdong, Guangzhou, ChinaTelecom
14 113.108.209.1 10.07 ms AS4134 China, Guangdong, Guangzhou, ChinaTelecom
Traceroute to China, Shanghai CT (TCP Mode, Max 30 Hop)
============================================================
traceroute to 180.153.28.5 (180.153.28.5), 30 hops max, 32 byte packets
1 *
2 10.83.0.254 0.87 ms * LAN Address
3 *
4 *
5 *
6 221.183.30.153 6.42 ms AS9808 China, Guangdong, Guangzhou, ChinaMobile
7 221.176.24.61 7.88 ms AS9808 China, Guangdong, Guangzhou, ChinaMobile
8 221.176.24.181 9.95 ms AS9808 China, Guangdong, Guangzhou, ChinaMobile
9 111.24.5.165 8.43 ms AS9808 China, Guangdong, Guangzhou, ChinaMobile
10 *
11 221.183.90.250 43.20 ms AS9808 China, Shanghai, ChinaMobile
12 221.183.68.166 45.33 ms AS9808 China, Shanghai, ChinaMobile
13 *
14 *
15 124.74.166.218 33.32 ms AS4812 China, Shanghai, ChinaTelecom
16 124.74.232.54 42.27 ms AS4811 China, Shanghai, ChinaTelecom
17 101.227.255.34 40.27 ms AS4812 China, Shanghai, ChinaTelecom
18 *
19 *
20 *
21 *
22 *
23 *
24 *
25 *
26 *
27 *
28 *
29 *
30 *
Traceroute to China, Beijing CT (TCP Mode, Max 30 Hop)
============================================================
traceroute to 180.149.128.9 (180.149.128.9), 30 hops max, 32 byte packets
1 *
2 10.83.0.254 1.35 ms * LAN Address
3 *
4 *
5 *
6 221.183.30.161 6.78 ms AS9808 China, Guangdong, Guangzhou, ChinaMobile
7 221.176.24.61 35.79 ms AS9808 China, Guangdong, Guangzhou, ChinaMobile
8 221.176.22.237 13.82 ms AS9808 China, Guangdong, Guangzhou, ChinaMobile
9 111.24.5.177 7.85 ms AS9808 China, Guangdong, Guangzhou, ChinaMobile
10 221.183.119.97 42.47 ms AS9808 China, Beijing, ChinaMobile
11 *
12 221.183.90.226 49.41 ms AS9808 China, Beijing, ChinaMobile
13 *
14 *
15 *
16 *
17 *
18 *
19 *
20 *
21 *
22 *
23 *
24 *
25 *
26 *
27 *
28 *
29 *
30 *
Traceroute to China, Guangzhou CU (TCP Mode, Max 30 Hop)
============================================================
traceroute to 210.21.4.130 (210.21.4.130), 30 hops max, 32 byte packets
1 *
2 10.83.0.254 0.86 ms * LAN Address
3 *
4 *
5 *
6 43.252.86.65 7.49 ms AS10099 China, Hong Kong, ChinaUnicom
7 43.252.86.129 10.33 ms AS10099 China, Hong Kong, ChinaUnicom
8 219.158.10.53 11.07 ms AS4837 China, Guangdong, Guangzhou, ChinaUnicom
9 219.158.96.206 10.18 ms AS4837 China, Guangdong, Guangzhou, ChinaUnicom
10 219.158.103.217 13.50 ms AS4837 China, Guangdong, Guangzhou, ChinaUnicom
11 157.18.0.26 21.54 ms AS17816 China, Guangdong, Guangzhou, ChinaUnicom
12 120.80.91.62 15.02 ms AS17816 China, Guangdong, Guangzhou, ChinaUnicom
13 *
14 *
15 *
16 *
17 *
18 *
19 *
20 *
21 *
22 *
23 *
24 *
25 *
26 *
27 *
28 *
29 *
30 *
Traceroute to China, Shanghai CU (TCP Mode, Max 30 Hop)
============================================================
traceroute to 58.247.8.158 (58.247.8.158), 30 hops max, 32 byte packets
1 *
2 10.83.0.254 0.86 ms * LAN Address
3 *
4 *
5 *
6 43.252.86.65 10.37 ms AS10099 China, Hong Kong, ChinaUnicom
7 43.252.86.129 4.28 ms AS10099 China, Hong Kong, ChinaUnicom
8 219.158.10.49 16.14 ms AS4837 China, Guangdong, Guangzhou, ChinaUnicom
9 219.158.115.125 39.03 ms AS4837 China, Shanghai, ChinaUnicom
10 219.158.6.157 42.00 ms AS4837 China, Shanghai, ChinaUnicom
11 *
12 *
13 139.226.228.46 35.44 ms AS17621 China, Shanghai, ChinaUnicom
14 139.226.225.22 55.32 ms AS17621 China, Shanghai, ChinaUnicom
15 58.247.8.153 43.04 ms AS17621 China, Shanghai, ChinaUnicom
16 *
17 *
18 *
19 *
20 *
21 *
22 *
23 *
24 *
25 *
26 *
27 *
28 *
29 *
30 *
Traceroute to China, Beijing CU (TCP Mode, Max 30 Hop)
============================================================
traceroute to 123.125.99.1 (123.125.99.1), 30 hops max, 32 byte packets
1 *
2 10.83.0.254 0.69 ms * LAN Address
3 *
4 *
5 *
6 43.252.86.65 5.43 ms AS10099 China, Hong Kong, ChinaUnicom
7 43.252.86.129 7.98 ms AS10099 China, Hong Kong, ChinaUnicom
8 219.158.10.53 10.47 ms AS4837 China, Guangdong, Guangzhou, ChinaUnicom
9 219.158.111.121 37.46 ms AS4837 China, Beijing, ChinaUnicom
10 219.158.3.141 41.54 ms AS4837 China, Beijing, ChinaUnicom
11 219.158.5.157 45.82 ms AS4837 China, Beijing, ChinaUnicom
12 202.96.12.98 46.17 ms AS4808 China, Beijing, ChinaUnicom
13 61.51.169.174 40.72 ms AS4808 China, Beijing, ChinaUnicom
14 *
15 *
16 123.125.99.1 45.20 ms AS4808 China, Beijing, ChinaUnicom
Traceroute to China, Guangzhou CM (TCP Mode, Max 30 Hop)
============================================================
traceroute to 120.196.212.25 (120.196.212.25), 30 hops max, 32 byte packets
1 *
2 10.83.0.254 0.65 ms * LAN Address
3 *
4 *
5 *
6 223.120.2.117 3.25 ms AS58453 China, Hong Kong, ChinaMobile
7 *
8 *
9 221.176.24.61 10.16 ms AS9808 China, Guangdong, Guangzhou, ChinaMobile
10 221.176.22.105 9.21 ms AS9808 China, Guangdong, Guangzhou, ChinaMobile
11 111.24.4.249 10.73 ms AS9808 China, Guangdong, Guangzhou, ChinaMobile
12 111.24.5.218 11.31 ms AS9808 China, Guangdong, Guangzhou, ChinaMobile
13 211.136.196.230 11.43 ms AS56040 China, Guangdong, Guangzhou, ChinaMobile
14 183.235.226.237 14.45 ms AS56040 China, Guangdong, Guangzhou, ChinaMobile
15 211.139.180.110 15.20 ms AS56040 China, Guangdong, Guangzhou, ChinaMobile
16 *
17 *
18 120.196.212.25 15.84 ms AS56040 China, Guangdong, Guangzhou, ChinaMobile
Traceroute to China, Shanghai CM (TCP Mode, Max 30 Hop)
============================================================
traceroute to 221.183.55.22 (221.183.55.22), 30 hops max, 32 byte packets
1 *
2 10.83.0.254 0.86 ms * LAN Address
3 *
4 *
5 *
6 *
7 223.120.2.41 3.96 ms AS58453 China, Hong Kong, ChinaMobile
8 223.120.3.186 30.79 ms AS58453 China, Shanghai, ChinaMobile
9 *
10 221.183.55.22 36.01 ms AS9808 China, Shanghai, ChinaMobile
Traceroute to China, Beijing CM (TCP Mode, Max 30 Hop)
============================================================
traceroute to 211.136.25.153 (211.136.25.153), 30 hops max, 32 byte packets
1 *
2 10.83.0.254 3.16 ms * LAN Address
3 *
4 *
5 *
6 223.120.2.117 3.31 ms AS58453 China, Hong Kong, ChinaMobile
7 *
8 *
9 *
10 221.183.25.201 42.95 ms AS9808 China, Beijing, ChinaMobile
11 221.183.89.110 58.49 ms AS9808 China, Beijing, ChinaMobile
12 111.24.2.249 42.27 ms AS9808 China, Beijing, ChinaMobile
13 211.136.66.121 43.72 ms AS56048 China, Beijing, ChinaMobile
14 *
15 211.136.63.66 47.78 ms AS56048 China, Beijing, ChinaMobile
16 211.136.67.166 50.58 ms AS56048 China, Beijing, ChinaMobile
17 *
18 *
19 *
20 211.136.25.153 52.94 ms AS56048 China, Beijing, ChinaMobile
Traceroute to China, Beijing Dr.Peng Network IDC Network (TCP Mode, Max 30 Hop)
============================================================
traceroute to 211.167.230.100 (211.167.230.100), 30 hops max, 32 byte packets
1 *
2 10.83.0.254 1.03 ms * LAN Address
3 *
4 *
5 *
6 43.252.86.65 6.68 ms AS10099 China, Hong Kong, ChinaUnicom
7 43.252.86.129 8.55 ms AS10099 China, Hong Kong, ChinaUnicom
8 219.158.20.97 14.60 ms AS4837 China, Hong Kong, ChinaUnicom
9 219.158.115.157 50.47 ms AS4837 China, Beijing, ChinaUnicom
10 219.158.3.49 42.88 ms AS4837 China, Beijing, ChinaUnicom
11 *
12 *
13 202.96.13.178 51.08 ms AS4808 China, Beijing, ChinaUnicom
14 61.149.212.242 42.31 ms AS4808 China, Beijing, ChinaUnicom
15 202.99.1.134 51.15 ms AS4808 China, Beijing, ChinaUnicom
16 *
17 218.241.253.134 44.73 ms AS4808 China, Beijing, DRPENG
18 211.167.230.100 43.68 ms AS17964 China, Beijing, DRPENG
----------------------------------------------------------------------------------
恒爱网络香港弹性云流媒体解锁详情
恒爱网络香港弹性云Geekbench跑分
老刘博客






































