前文《艾云iaclouds中秋款VPS:Standard-2022MidAutumn,德国-法兰克福机房,原生IP解锁Tiktok,免费20Gbps DDoS防御,使用优惠码立减10元》我们分享了艾云iaclouds中秋款VPS套餐详情,不过艾云iaclouds中秋款VPS:Standard-2022MidAutumn性能怎么样,这里我们一起通过艾云VPS测评数据来看下。
首先看下这款机器配置信息:1 vCPU,0.75 GiB 内存,磁盘IO能到1600M/s

具体看看解锁Tiktok流媒体情况:解锁德区Tiktok
丢包率测试下:
iperf3针对欧美的节点的数据测试:
Speedtest.net国内外节点测速:
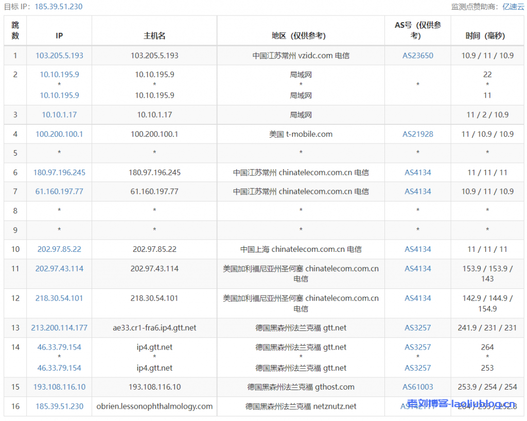
去程路由追踪测试
回程路由追踪测试
Traceroute to China, Guangzhou CT (TCP Mode, Max 30 Hop)
============================================================
traceroute to 113.108.209.1 (113.108.209.1), 30 hops max, 32 byte packets
1 185.39.51.1 0.09 ms AS142111 Germany, Hesse, Frankfurt, netznutz.net
2 193.108.116.9 0.28 ms AS61003 Germany, Hesse, Frankfurt, gthost.com
3 80.77.167.28 0.61 ms AS28917 Germany, Hesse, Frankfurt, fiord.ru
4 81.173.22.33 3.02 ms AS4134 Germany, Hesse, Frankfurt, cteurope.net
5 202.97.98.178 243.98 ms AS4134 China, Guangdong, Guangzhou, ChinaTelecom
6 202.97.91.189 242.14 ms AS4134 China, Guangdong, Guangzhou, ChinaTelecom
7 202.97.82.61 250.70 ms AS4134 China, Guangdong, Guangzhou, ChinaTelecom
8 113.108.209.1 250.62 ms AS4134 China, Guangdong, Guangzhou, ChinaTelecom
Traceroute to China, Shanghai CT (TCP Mode, Max 30 Hop)
============================================================
traceroute to 180.153.28.5 (180.153.28.5), 30 hops max, 32 byte packets
1 185.39.51.1 0.15 ms AS142111 Germany, Hesse, Frankfurt, netznutz.net
2 193.108.116.9 0.24 ms AS61003 Germany, Hesse, Frankfurt, gthost.com
3 80.77.167.28 0.43 ms AS28917 Germany, Hesse, Frankfurt, fiord.ru
4 81.173.22.33 3.14 ms AS4134 Germany, Hesse, Frankfurt, cteurope.net
5 *
6 *
7 *
8 61.152.25.53 243.06 ms AS4812 China, Shanghai, ChinaTelecom
9 *
10 101.95.225.38 246.38 ms AS4811 China, Shanghai, ChinaTelecom
11 101.227.255.46 245.62 ms AS4812 China, Shanghai, ChinaTelecom
12 *
13 *
14 *
15 *
16 *
17 *
18 *
19 *
20 *
21 *
22 *
23 *
24 *
25 *
26 *
27 *
28 *
29 *
30 *
Traceroute to China, Beijing CT (TCP Mode, Max 30 Hop)
============================================================
traceroute to 180.149.128.9 (180.149.128.9), 30 hops max, 32 byte packets
1 185.39.51.1 0.10 ms AS142111 Germany, Hesse, Frankfurt, netznutz.net
2 193.108.116.9 0.46 ms AS61003 Germany, Hesse, Frankfurt, gthost.com
3 80.77.167.28 0.49 ms AS28917 Germany, Hesse, Frankfurt, fiord.ru
4 81.173.22.33 2.54 ms AS4134 Germany, Hesse, Frankfurt, cteurope.net
5 *
6 202.97.14.205 229.30 ms AS4134 China, Beijing, ChinaTelecom
7 202.97.61.221 233.11 ms AS4134 China, Beijing, ChinaTelecom
8 *
9 *
10 *
11 *
12 *
13 *
14 *
15 *
16 *
17 *
18 *
19 *
20 *
21 *
22 *
23 *
24 *
25 *
26 *
27 *
28 *
29 *
30 *
Traceroute to China, Guangzhou CU (TCP Mode, Max 30 Hop)
============================================================
traceroute to 210.21.4.130 (210.21.4.130), 30 hops max, 32 byte packets
1 185.39.51.1 0.20 ms AS142111 Germany, Hesse, Frankfurt, netznutz.net
2 193.108.116.9 0.29 ms AS61003 Germany, Hesse, Frankfurt, gthost.com
3 46.33.79.153 0.50 ms AS3257 Germany, Hesse, Frankfurt, gtt.net
4 213.200.116.225 1.26 ms AS3257 Germany, Hesse, Frankfurt, gtt.net
5 *
6 219.158.14.153 252.13 ms AS4837 China, Guangdong, Guangzhou, ChinaUnicom
7 219.158.97.30 233.06 ms AS4837 China, Guangdong, Guangzhou, ChinaUnicom
8 219.158.24.125 291.73 ms AS4837 China, Guangdong, Guangzhou, ChinaUnicom
9 120.83.0.62 259.01 ms AS17816 China, Guangdong, Guangzhou, ChinaUnicom
10 120.80.169.118 271.90 ms AS17622 China, Guangdong, Guangzhou, ChinaUnicom
11 *
12 *
13 *
14 *
15 *
16 *
17 *
18 *
19 *
20 *
21 *
22 *
23 *
24 *
25 *
26 *
27 *
28 *
29 *
30 *
Traceroute to China, Shanghai CU (TCP Mode, Max 30 Hop)
============================================================
traceroute to 58.247.8.158 (58.247.8.158), 30 hops max, 32 byte packets
1 185.39.51.1 0.11 ms AS142111 Germany, Hesse, Frankfurt, netznutz.net
2 193.108.116.9 0.24 ms AS61003 Germany, Hesse, Frankfurt, gthost.com
3 46.33.79.153 1.57 ms AS3257 Germany, Hesse, Frankfurt, gtt.net
4 213.200.117.138 0.68 ms AS3257 Germany, Hesse, Frankfurt, gtt.net
5 *
6 219.158.21.113 234.46 ms AS4837 China, Guangdong, Guangzhou, ChinaUnicom
7 219.158.8.141 236.47 ms AS4837 China, Shanghai, ChinaUnicom
8 219.158.19.78 257.54 ms AS4837 China, Shanghai, ChinaUnicom
9 *
10 *
11 58.247.221.178 232.97 ms AS17621 China, Shanghai, ChinaUnicom
12 139.226.225.22 242.18 ms AS17621 China, Shanghai, ChinaUnicom
13 58.247.8.153 240.37 ms AS17621 China, Shanghai, ChinaUnicom
14 *
15 *
16 *
17 *
18 *
19 *
20 *
21 *
22 *
23 *
24 *
25 *
26 *
27 *
28 *
29 *
30 *
Traceroute to China, Beijing CU (TCP Mode, Max 30 Hop)
============================================================
traceroute to 123.125.99.1 (123.125.99.1), 30 hops max, 32 byte packets
1 185.39.51.1 0.09 ms AS142111 Germany, Hesse, Frankfurt, netznutz.net
2 193.108.116.9 0.30 ms AS61003 Germany, Hesse, Frankfurt, gthost.com
3 *
4 154.54.37.29 1.38 ms AS174 Germany, Hesse, Frankfurt, cogentco.com
5 130.117.1.117 1.26 ms AS174 Germany, Hesse, Frankfurt, cogentco.com
6 149.11.181.34 217.62 ms AS174 Germany, Hesse, Frankfurt, cogentco.com
7 219.158.13.141 216.15 ms AS4837 China, Beijing, ChinaUnicom
8 219.158.3.29 232.17 ms AS4837 China, Guangdong, ChinaUnicom
9 219.158.18.69 212.08 ms AS4837 China, Beijing, ChinaUnicom
10 125.33.186.122 218.95 ms AS4808 China, Beijing, ChinaUnicom
11 219.232.11.206 224.77 ms AS4808 China, Beijing, ChinaUnicom
12 *
13 *
14 123.125.99.1 214.35 ms AS4808 China, Beijing, ChinaUnicom
Traceroute to China, Guangzhou CM (TCP Mode, Max 30 Hop)
============================================================
traceroute to 120.196.212.25 (120.196.212.25), 30 hops max, 32 byte packets
1 185.39.51.1 0.09 ms AS142111 Germany, Hesse, Frankfurt, netznutz.net
2 193.108.116.9 0.53 ms AS61003 Germany, Hesse, Frankfurt, gthost.com
3 46.33.79.153 0.40 ms AS3257 Germany, Hesse, Frankfurt, gtt.net
4 213.200.117.138 0.80 ms AS3257 Germany, Hesse, Frankfurt, gtt.net
5 *
6 62.115.124.118 0.87 ms AS1299 Germany, Hesse, Frankfurt, telia.com
7 62.115.114.91 0.81 ms AS1299 Germany, Hesse, Frankfurt, telia.com
8 62.115.47.45 1.82 ms AS1299 Germany, Hesse, Frankfurt, telia.com
9 223.120.10.85 1.21 ms AS58453 Germany, Hesse, Frankfurt, ChinaMobile
10 223.120.15.206 270.24 ms AS58453 China, Shanghai, ChinaMobile
11 *
12 221.183.55.98 212.55 ms AS9808 China, Guangdong, Guangzhou, ChinaMobile
13 221.176.24.137 218.72 ms AS9808 China, Guangdong, Guangzhou, ChinaMobile
14 221.183.68.142 247.87 ms AS9808 China, Guangdong, Guangzhou, ChinaMobile
15 111.24.4.245 254.02 ms AS9808 China, Guangdong, Guangzhou, ChinaMobile
16 111.24.5.22 256.49 ms AS9808 China, Guangdong, Guangzhou, ChinaMobile
17 183.235.226.5 250.79 ms AS56040 China, Guangdong, Guangzhou, ChinaMobile
18 211.136.196.226 212.14 ms AS56040 China, Guangdong, Guangzhou, ChinaMobile
19 211.136.196.214 264.62 ms AS56040 China, Guangdong, Guangzhou, ChinaMobile
20 *
21 *
22 *
23 120.196.212.25 248.87 ms AS56040 China, Guangdong, Guangzhou, ChinaMobile
Traceroute to China, Shanghai CM (TCP Mode, Max 30 Hop)
============================================================
traceroute to 221.183.55.22 (221.183.55.22), 30 hops max, 32 byte packets
1 185.39.51.1 0.10 ms AS142111 Germany, Hesse, Frankfurt, netznutz.net
2 193.108.116.9 0.52 ms AS61003 Germany, Hesse, Frankfurt, gthost.com
3 46.33.79.153 0.46 ms AS3257 Germany, Hesse, Frankfurt, gtt.net
4 213.200.116.225 1.15 ms AS3257 Germany, Hesse, Frankfurt, gtt.net
5 213.254.225.170 9.63 ms AS3257 Germany, Hesse, Frankfurt, gtt.net
6 223.120.10.14 3.54 ms AS58453 Germany, Hesse, Frankfurt, ChinaMobile
7 223.120.16.142 219.51 ms AS58453 China, Shanghai, ChinaMobile
8 *
9 221.183.55.22 233.62 ms AS9808 China, Shanghai, ChinaMobile
Traceroute to China, Beijing CM (TCP Mode, Max 30 Hop)
============================================================
traceroute to 211.136.25.153 (211.136.25.153), 30 hops max, 32 byte packets
1 185.39.51.1 0.10 ms AS142111 Germany, Hesse, Frankfurt, netznutz.net
2 193.108.116.9 0.21 ms AS61003 Germany, Hesse, Frankfurt, gthost.com
3 46.33.79.153 6.80 ms AS3257 Germany, Hesse, Frankfurt, gtt.net
4 89.149.181.102 146.69 ms AS3257 United States, California, Los Angeles, gtt.net
5 173.205.45.154 225.19 ms AS3257 United States, California, Los Angeles, gtt.net
6 223.120.6.217 219.97 ms AS58453 United States, California, Los Angeles, ChinaMobile
7 *
8 *
9 221.183.46.250 296.92 ms AS9808 China, Beijing, ChinaMobile
10 *
11 111.24.2.109 316.83 ms AS9808 China, Beijing, ChinaMobile
12 211.136.66.229 312.99 ms AS56048 China, Beijing, ChinaMobile
13 211.136.63.66 320.83 ms AS56048 China, Beijing, ChinaMobile
14 *
15 211.136.67.166 319.32 ms AS56048 China, Beijing, ChinaMobile
16 *
17 *
18 211.136.25.153 314.93 ms AS56048 China, Beijing, ChinaMobile
Traceroute to China, Beijing Dr.Peng Network IDC Network (TCP Mode, Max 30 Hop)
============================================================
traceroute to 211.167.230.100 (211.167.230.100), 30 hops max, 32 byte packets
1 185.39.51.1 0.11 ms AS142111 Germany, Hesse, Frankfurt, netznutz.net
2 193.108.116.9 0.54 ms AS61003 Germany, Hesse, Frankfurt, gthost.com
3 *
4 154.54.56.189 1.26 ms AS174 Germany, Hesse, Frankfurt, cogentco.com
5 130.117.0.2 1.48 ms AS174 Germany, Hesse, Frankfurt, cogentco.com
6 *
7 219.158.15.161 213.08 ms AS4837 China, Beijing, ChinaUnicom
8 219.158.9.214 212.99 ms AS4837 China, Beijing, ChinaUnicom
9 *
10 *
11 202.96.13.246 261.34 ms AS4808 China, Beijing, ChinaUnicom
12 61.149.212.242 229.53 ms AS4808 China, Beijing, ChinaUnicom
13 202.99.1.134 221.35 ms AS4808 China, Beijing, ChinaUnicom
14 124.205.97.138 240.79 ms AS4808 China, Beijing, DRPENG
15 218.241.253.134 229.28 ms AS4808 China, Beijing, DRPENG
16 211.167.230.100 209.01 ms AS17964 China, Beijing, DRPENG
----------------------------------------------------------------------------------
老刘博客



































