已经测过arkecx怎么样?Ark Edge Cloud荷兰阿姆斯特丹云服务器测评分享,去程电信绕美,回程移动北京和广州方向绕美,今天我们继续再测台Ark Edge Cloud云服务器,开设在俄罗斯莫斯科机房,配置2核2G内存75G硬盘3TB流量,整体来看:常规国际线路,可以胜任绝大多数任务。
Ark Edge Cloud官方网站:门户首页 – Ark Edge Cloud (arkecx.com)(可选中文版本)
Ark Edge Cloud优惠码:Q11NTEH40Q,9折优惠
Global Locations – Ark02套餐购买入口:https://www.arkecx.com/aff.php?aff=9&pid=37(2核2G内存75G SSD硬盘3TB流量@1Gbps带宽)
speedtest.net国内外节点测速:
FIO来测试下硬盘读写数据
iperf3针对欧美的节点的数据测试:
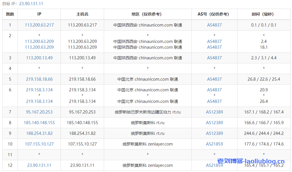
去程路由追踪测试
电信去程,骨干网对接cogent直接去了欧洲然后去俄罗斯:
联通去程,骨干网对接俄罗斯rosetelecom直接去俄罗斯:
回程路由追踪测试
回程,到国内电信:统一走retn到德国法兰克福,从电信在法兰克福的节点直连回国
回程,到国内联通:
- 北京方向:走retn到德国法兰克福转Verizon然后对接电信骨干
- 上海方向:走RT到瑞典然后转level3到美国圣何塞再对接as4837
- 广州方向:与上海方向一致,只是圣何塞改成了洛杉矶
回程,到国内移动:全部走RETN到德国,经过de-cix数据交换中心之后走移动在德国法兰克福的节点直接回国
Traceroute to China, Guangzhou CT (TCP Mode, Max 30 Hop)
============================================================
traceroute to 113.108.209.1 (113.108.209.1), 30 hops max, 32 byte packets
1 *
2 104.254.115.50 6.88 ms * Russian Federation, Moscow, zenlayer.com
3 104.254.119.228 0.91 ms * United States, California, Los Angeles, zenlayer.com
4 46.46.138.68 0.30 ms AS29470 Russian Federation, Moscow, retn.net
5 87.245.232.244 35.65 ms AS9002 Germany, Hesse, Frankfurt, retn.net
6 87.245.236.153 43.43 ms AS9002 Germany, Hesse, Frankfurt, retn.net
7 202.97.87.165 236.11 ms AS4134 China, Guangdong, Guangzhou, ChinaTelecom
8 *
9 202.97.82.21 237.96 ms AS4134 China, Guangdong, Guangzhou, ChinaTelecom
10 *
11 113.108.209.1 236.72 ms AS4134 China, Guangdong, Guangzhou, ChinaTelecom
Traceroute to China, Shanghai CT (TCP Mode, Max 30 Hop)
============================================================
traceroute to 180.153.28.5 (180.153.28.5), 30 hops max, 32 byte packets
1 5.8.0.1 14.20 ms AS41909 Russian Federation, Saint Petersburg, pinspb.ru
2 104.254.115.50 6.52 ms * Russian Federation, Moscow, zenlayer.com
3 128.1.55.20 1.49 ms AS21859 Russian Federation, Moscow, zenlayer.com
4 46.46.138.68 0.34 ms AS29470 Russian Federation, Moscow, retn.net
5 87.245.232.244 35.55 ms AS9002 Germany, Hesse, Frankfurt, retn.net
6 87.245.236.153 41.68 ms AS9002 Germany, Hesse, Frankfurt, retn.net
7 87.245.236.153 43.46 ms AS9002 Germany, Hesse, Frankfurt, retn.net
8 *
9 *
10 202.97.83.34 234.01 ms AS4134 China, Shanghai, ChinaTelecom
11 124.74.166.10 257.64 ms AS4812 China, Shanghai, ChinaTelecom
12 *
13 *
14 *
15 *
16 *
17 *
18 *
19 *
20 *
21 *
22 *
23 *
24 *
25 *
26 *
27 *
28 *
29 *
30 *
Traceroute to China, Beijing CT (TCP Mode, Max 30 Hop)
============================================================
traceroute to 180.149.128.9 (180.149.128.9), 30 hops max, 32 byte packets
1 *
2 104.254.115.48 5.38 ms * Russian Federation, Moscow, zenlayer.com
3 107.155.10.126 1.62 ms AS21859 Russian Federation, Moscow, zenlayer.com
4 107.155.10.26 11.69 ms AS21859 Russian Federation, Moscow, zenlayer.com
5 217.107.81.177 1.58 ms AS12389 Russian Federation, Moscow, rt.ru
6 188.128.126.81 21.13 ms AS12389 Sweden, Stockholm County, Stockholm, rt.ru
7 62.115.139.180 20.35 ms AS1299 Sweden, Stockholm County, Stockholm, telia.com
8 195.2.9.241 123.18 ms AS1273 VODAFONE.COM 骨干网, vodafone.com
9 62.115.138.105 40.53 ms AS1299 TELIA.COM 骨干网, telia.com
10 195.2.24.245 118.83 ms AS1273 United States, Virginia, Ashburn, vodafone.com
11 *
12 *
13 *
14 *
15 *
16 *
17 *
18 *
19 *
20 *
21 *
22 *
23 *
24 *
25 *
26 *
27 *
28 *
29 *
30 *
Traceroute to China, Guangzhou CU (TCP Mode, Max 30 Hop)
============================================================
traceroute to 210.21.4.130 (210.21.4.130), 30 hops max, 32 byte packets
1 *
2 104.254.115.48 5.00 ms * Russian Federation, Moscow, zenlayer.com
3 104.254.119.228 1.54 ms * United States, California, Los Angeles, zenlayer.com
4 46.46.138.68 0.38 ms AS29470 Russian Federation, Moscow, retn.net
5 87.245.232.2 32.73 ms AS9002 Austria, Vienna, retn.net
6 213.249.107.129 21.60 ms AS3356 Sweden, level3.com
7 193.251.132.42 45.41 ms AS5511 ORANGE.COM 骨干网, orange.com
8 4.26.1.134 257.43 ms AS3356 United States, California, Los Angeles, level3.com
9 193.251.240.102 47.76 ms AS5511 ORANGE.COM 骨干网, orange.com
10 219.158.3.161 303.78 ms AS4837 China, Guangdong, Guangzhou, ChinaUnicom
11 219.158.21.105 181.49 ms AS4837 China, Beijing, ChinaUnicom
12 157.18.0.158 260.45 ms AS17816 China, Guangdong, Guangzhou, ChinaUnicom
13 219.158.113.122 188.87 ms AS4837 China, Shanghai, ChinaUnicom
14 *
15 *
16 *
17 120.80.170.254 196.78 ms AS17622 China, Guangdong, Guangzhou, ChinaUnicom
18 *
19 *
20 *
21 *
22 *
23 *
24 *
25 *
26 *
27 *
28 *
29 *
30 *
Traceroute to China, Shanghai CU (TCP Mode, Max 30 Hop)
============================================================
traceroute to 58.247.8.158 (58.247.8.158), 30 hops max, 32 byte packets
1 *
2 104.254.115.50 6.08 ms * Russian Federation, Moscow, zenlayer.com
3 128.1.55.20 0.97 ms AS21859 Russian Federation, Moscow, zenlayer.com
4 46.46.138.68 0.36 ms AS29470 Russian Federation, Moscow, retn.net
5 87.245.232.2 41.03 ms AS9002 Austria, Vienna, retn.net
6 193.251.251.9 42.97 ms AS5511 ORANGE.COM 骨干网, orange.com
7 193.251.132.42 45.62 ms AS5511 ORANGE.COM 骨干网, orange.com
8 193.251.131.9 45.49 ms AS5511 ORANGE.COM 骨干网, orange.com
9 193.251.240.102 47.97 ms AS5511 ORANGE.COM 骨干网, orange.com
10 219.158.8.181 234.32 ms AS4837 China, Shanghai, ChinaUnicom
11 219.158.19.121 157.49 ms AS4837 China, Beijing, ChinaUnicom
12 219.158.111.134 182.21 ms AS4837 China, Shanghai, ChinaUnicom
13 219.158.113.122 199.21 ms AS4837 China, Shanghai, ChinaUnicom
14 219.158.8.209 177.72 ms AS4837 China, Shanghai, ChinaUnicom
15 *
16 *
17 *
18 58.247.8.153 189.34 ms AS17621 China, Shanghai, ChinaUnicom
19 *
20 *
21 *
22 *
23 *
24 *
25 *
26 *
27 *
28 *
29 *
30 *
Traceroute to China, Beijing CU (TCP Mode, Max 30 Hop)
============================================================
traceroute to 123.125.99.1 (123.125.99.1), 30 hops max, 32 byte packets
1 *
2 104.254.115.48 5.28 ms * Russian Federation, Moscow, zenlayer.com
3 107.155.10.126 1.87 ms AS21859 Russian Federation, Moscow, zenlayer.com
4 46.46.138.68 0.50 ms AS29470 Russian Federation, Moscow, retn.net
5 87.245.232.233 35.49 ms AS9002 Germany, Hesse, Frankfurt, retn.net
6 146.188.112.181 35.51 ms AS702 Germany, Hesse, Frankfurt, verizon.com
7 *
8 *
9 219.158.15.161 157.25 ms AS4837 China, Beijing, ChinaUnicom
10 219.158.3.29 153.12 ms AS4837 China, Beijing, ChinaUnicom
11 219.158.4.169 162.59 ms AS4837 China, Beijing, ChinaUnicom
12 *
13 61.51.169.142 148.77 ms AS4808 China, Beijing, ChinaUnicom
14 *
15 *
16 123.125.99.1 154.36 ms AS4808 China, Beijing, ChinaUnicom
Traceroute to China, Guangzhou CM (TCP Mode, Max 30 Hop)
============================================================
traceroute to 120.196.212.25 (120.196.212.25), 30 hops max, 32 byte packets
1 *
2 104.254.115.50 12.01 ms * Russian Federation, Moscow, zenlayer.com
3 128.1.55.20 0.94 ms AS21859 Russian Federation, Moscow, zenlayer.com
4 46.46.138.68 0.67 ms AS29470 Russian Federation, Moscow, retn.net
5 87.245.232.233 39.73 ms AS9002 Germany, Hesse, Frankfurt, retn.net
6 80.81.195.121 37.07 ms * Germany, Hesse, Frankfurt, de-cix.net
7 87.245.214.179 36.41 ms AS9002 Germany, Hesse, Frankfurt, retn.net
8 223.120.10.181 43.34 ms AS58453 Germany, Hesse, Frankfurt, ChinaMobile
9 *
10 221.183.52.85 408.31 ms AS9808 China, Guangdong, Guangzhou, ChinaMobile
11 *
12 221.176.22.157 284.80 ms AS9808 China, Guangdong, Guangzhou, ChinaMobile
13 111.24.5.218 312.20 ms AS9808 China, Guangdong, Guangzhou, ChinaMobile
14 211.136.203.6 307.55 ms AS56040 China, Guangdong, Guangzhou, ChinaMobile
15 183.235.232.193 413.82 ms AS56040 China, Guangdong, Guangzhou, ChinaMobile
16 183.235.226.165 421.80 ms AS56040 China, Guangdong, Guangzhou, ChinaMobile
17 211.139.180.110 371.40 ms AS56040 China, Guangdong, Guangzhou, ChinaMobile
18 *
19 *
20 120.196.212.25 377.41 ms AS56040 China, Guangdong, Guangzhou, ChinaMobile
Traceroute to China, Shanghai CM (TCP Mode, Max 30 Hop)
============================================================
traceroute to 221.183.55.22 (221.183.55.22), 30 hops max, 32 byte packets
1 *
2 104.254.115.50 6.03 ms * Russian Federation, Moscow, zenlayer.com
3 104.254.119.228 1.11 ms * United States, California, Los Angeles, zenlayer.com
4 46.46.138.68 0.41 ms AS29470 Russian Federation, Moscow, retn.net
5 87.245.232.233 35.35 ms AS9002 Germany, Hesse, Frankfurt, retn.net
6 87.245.232.233 35.90 ms AS9002 Germany, Hesse, Frankfurt, retn.net
7 223.118.18.141 75.70 ms AS58453 Germany, Hesse, Frankfurt, ChinaMobile
8 223.120.10.181 73.83 ms AS58453 Germany, Hesse, Frankfurt, ChinaMobile
9 *
10 *
11 221.183.55.22 277.11 ms AS9808 China, Shanghai, ChinaMobile
Traceroute to China, Beijing CM (TCP Mode, Max 30 Hop)
============================================================
traceroute to 211.136.25.153 (211.136.25.153), 30 hops max, 32 byte packets
1 *
2 104.254.115.48 4.63 ms * Russian Federation, Moscow, zenlayer.com
3 128.1.55.20 1.70 ms AS21859 Russian Federation, Moscow, zenlayer.com
4 46.46.138.68 0.44 ms AS29470 Russian Federation, Moscow, retn.net
5 87.245.232.233 38.73 ms AS9002 Germany, Hesse, Frankfurt, retn.net
6 87.245.232.233 35.77 ms AS9002 Germany, Hesse, Frankfurt, retn.net
7 223.118.18.137 67.13 ms AS58453 Germany, Hesse, Frankfurt, ChinaMobile
8 *
9 *
10 221.183.52.2 235.21 ms AS9808 China, Beijing, ChinaMobile
11 221.183.89.134 360.04 ms AS9808 China, Beijing, ChinaMobile
12 111.24.2.105 377.94 ms AS9808 China, Beijing, ChinaMobile
13 *
14 *
15 211.136.67.166 368.55 ms AS56048 China, Beijing, ChinaMobile
16 *
17 *
18 211.136.25.153 395.37 ms AS56048 China, Beijing, ChinaMobile
Traceroute to China, Beijing Dr.Peng Network IDC Network (TCP Mode, Max 30 Hop)
============================================================
traceroute to 211.167.230.100 (211.167.230.100), 30 hops max, 32 byte packets
1 *
2 104.254.115.48 6.97 ms * Russian Federation, Moscow, zenlayer.com
3 107.155.10.126 9.33 ms AS21859 Russian Federation, Moscow, zenlayer.com
4 46.46.138.68 0.59 ms AS29470 Russian Federation, Moscow, retn.net
5 87.245.232.233 36.43 ms AS9002 Germany, Hesse, Frankfurt, retn.net
6 146.188.112.181 35.44 ms AS702 Germany, Hesse, Frankfurt, verizon.com
7 *
8 139.4.140.202 149.85 ms AS702 Germany, verizon.com
9 219.158.15.157 147.47 ms AS4837 China, Beijing, ChinaUnicom
10 219.158.9.214 163.17 ms AS4837 China, Beijing, ChinaUnicom
11 *
12 *
13 202.96.13.250 147.37 ms AS4808 China, Beijing, ChinaUnicom
14 61.149.212.242 165.90 ms AS4808 China, Beijing, ChinaUnicom
15 202.99.1.126 235.51 ms AS4808 China, Beijing, ChinaUnicom
16 218.241.255.86 153.94 ms AS4808 China, Beijing, DRPENG
17 218.241.253.130 181.03 ms AS4808 China, Beijing, DRPENG
18 211.167.230.100 148.50 ms AS17964 China, Beijing, DRPENG
----------------------------------------------------------------------------------
Unixbench跑分测试:
老刘博客




































