ReCloud美国洛杉矶BGP线路VPS套餐见:ReCloud美国洛杉矶VPS限时8折促销中!美国原生ip,1G共享带宽,解锁disney neftlix hbo和ReCloud限时优惠码:还剩2天,美国VPS超过100元产品打七折,未超过打八折,可用作续费,那么这款美国|L.A BGP|一期VPS主机性能如何呢?今天站长采购了一台进行了测评。ReCloud主机测评:美国|L.A BGP|一期,美西BGP 1C2G,国内延迟、丢包率、性能和带宽、路由去回程、流媒体和TikTok检测。
ReCloud官网:https://oneprovide.net,Recloud TG群连接:t.me/Recloud888
ReCloud美国BGP | L.A | 一期方案:
50.114段,禁止敏感(VPN SSR等)字符域名解析,系统24小时扫描。如发现解析则清退且不退款。
| 美西 BGP 1C512MB 免费版 | 美西 BGP 1C512MB 特惠版 | 美西 BGP 1C1G | 美西 BGP 1C2G | 美西 BGP 2C2G | 美西 BGP 2C4G |
| 1 vCPU | 1 vCPU | 1 vCPU | 1 vCPU | 2 vCPU | 2 vCPU |
| 512M DDR3 RAM | 512M DDR3 RAM | 1G DDR3 RAM | 2G DDR3 RAM | 2G DDR3 RAM | 4G DDR3 RAM |
| 10GB NVME SSD | 10GB NVME SSD | 10GB NVME SSD | 10GB NVME SSD | 10GB NVME SSD | 15GB NVME SSD |
| 150G 双向流量(可免费重置一次) | 1000G 双向流量 | 2000G 双向流量 | 4000G 双向流量 | 20T 双向流量 | 20T 双向流量 |
| 200m 共享带宽 | 1G 共享带宽 | 1G 共享带宽 | 1G共享带宽 | 1G 共享带宽 | 1G 共享带宽 |
| 1 IPv4 三网4k 油管直连 | 1 IPv4 三网4k 油管直连 | 1 IPv4(美国原生ip) | 1 IPv4(美国原生ip)解锁disney neftlix(有几率只解锁自制剧) hbo | 1 IPv4(美国原生ip)解锁disney neftlix(有几率不解锁原生局) hbo | 1 IPv4(美国原生ip)解锁disney neftlix(有几率不解锁原生局) hbo |
| ¥10.00CNY/月 ¥3.00 初装费 | ¥25.00CNY/月 ¥5.00 初装费 | ¥50.00CNY/月 | ¥80.00CNY/月 ¥10.00 初装费 | ¥180.00CNY/月 | ¥200.00CNY/月 |
| 立即订购 | 立即订购 | 立即订购 | 立即订购 | 立即订购 | 立即订购 |
ReCloud美西BGP 1C2G配置信息,IO磁盘在500MB/s左右。
iperf3针对欧美的节点的数据测试
三网Ping测试,看国内延迟情况
speedtest.net国内外节点测速
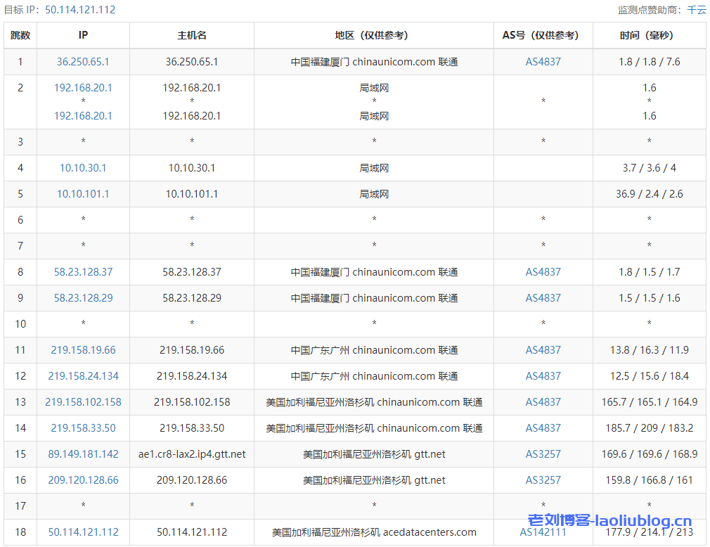
去程路由追踪测试:
回程路由追踪测试:
Traceroute to China, Guangzhou CT (TCP Mode, Max 30 Hop)
============================================================
traceroute to 113.108.209.1 (113.108.209.1), 30 hops max, 32 byte packets
1 *
2 50.114.121.1 0.33 ms AS142111 United States, California, Los Angeles, acedatacenters.com
3 45.137.97.1 0.58 ms AS63023 United States, California, Los Angeles
4 98.124.174.161 1.47 ms AS3257 United States, California, Los Angeles, gtt.net
5 89.149.180.78 7.72 ms AS3257 United States, California, San Jose, gtt.net
6 218.30.54.100 8.33 ms AS4134 United States, California, San Jose, ChinaTelecom
7 *
8 *
9 *
10 113.108.209.1 156.00 ms AS4134 China, Guangdong, Guangzhou, ChinaTelecom
Traceroute to China, Shanghai CT (TCP Mode, Max 30 Hop)
============================================================
traceroute to 180.153.28.5 (180.153.28.5), 30 hops max, 32 byte packets
1 *
2 50.114.121.1 0.34 ms AS142111 United States, California, Los Angeles, acedatacenters.com
3 45.137.97.1 0.60 ms AS63023 United States, California, Los Angeles
4 98.124.174.161 1.12 ms AS3257 United States, California, Los Angeles, gtt.net
5 89.149.141.125 0.51 ms AS3257 United States, California, Los Angeles, gtt.net
6 218.30.54.72 2.24 ms AS4134 United States, California, Los Angeles, ChinaTelecom
7 *
8 *
9 *
10 101.95.120.153 132.90 ms AS4812 China, Shanghai, ChinaTelecom
11 *
12 124.74.232.62 132.80 ms AS4811 China, Shanghai, ChinaTelecom
13 *
14 *
15 *
16 *
17 *
18 *
19 *
20 *
21 *
22 *
23 *
24 *
25 *
26 *
27 *
28 *
29 *
30 *
Traceroute to China, Beijing CT (TCP Mode, Max 30 Hop)
============================================================
traceroute to 180.149.128.9 (180.149.128.9), 30 hops max, 32 byte packets
1 *
2 50.114.121.1 0.34 ms AS142111 United States, California, Los Angeles, acedatacenters.com
3 45.137.97.1 0.75 ms AS63023 United States, California, Los Angeles
4 98.124.174.161 0.95 ms AS3257 United States, California, Los Angeles, gtt.net
5 89.149.141.125 0.64 ms AS3257 United States, California, Los Angeles, gtt.net
6 218.30.54.72 2.25 ms AS4134 United States, California, Los Angeles, ChinaTelecom
7 *
8 *
9 202.97.34.77 160.34 ms AS4134 China, Beijing, ChinaTelecom
10 *
11 *
12 *
13 *
14 *
15 *
16 *
17 *
18 *
19 *
20 *
21 *
22 *
23 *
24 *
25 *
26 *
27 *
28 *
29 *
30 *
Traceroute to China, Guangzhou CU (TCP Mode, Max 30 Hop)
============================================================
traceroute to 210.21.4.130 (210.21.4.130), 30 hops max, 32 byte packets
1 *
2 50.114.121.1 0.35 ms AS142111 United States, California, Los Angeles, acedatacenters.com
3 45.137.97.1 0.79 ms AS63023 United States, California, Los Angeles
4 98.124.174.161 15.63 ms AS3257 United States, California, Los Angeles, gtt.net
5 89.149.136.149 7.43 ms AS3257 United States, California, San Jose, gtt.net
6 173.205.56.142 8.77 ms AS3257 United States, California, San Jose, gtt.net
7 219.158.97.177 245.68 ms AS4837 China, Shanghai, ChinaUnicom
8 219.158.6.205 252.07 ms AS4837 China, Shanghai, ChinaUnicom
9 219.158.7.133 170.17 ms AS4837 China, Shanghai, ChinaUnicom
10 *
11 120.83.0.230 176.01 ms AS17816 China, Guangdong, Guangzhou, ChinaUnicom
12 120.80.169.118 177.71 ms AS17622 China, Guangdong, Guangzhou, ChinaUnicom
13 *
14 *
15 *
16 *
17 *
18 *
19 *
20 *
21 *
22 *
23 *
24 *
25 *
26 *
27 *
28 *
29 *
30 *
Traceroute to China, Shanghai CU (TCP Mode, Max 30 Hop)
============================================================
traceroute to 58.247.8.158 (58.247.8.158), 30 hops max, 32 byte packets
1 *
2 50.114.121.1 0.48 ms AS142111 United States, California, Los Angeles, acedatacenters.com
3 45.137.97.1 0.39 ms AS63023 United States, California, Los Angeles
4 98.124.174.161 0.62 ms AS3257 United States, California, Los Angeles, gtt.net
5 89.149.130.90 0.65 ms AS3257 United States, California, Los Angeles, gtt.net
6 199.229.231.214 4.69 ms AS3257 GTT.NET 骨干网, gtt.net
7 219.158.96.233 163.38 ms AS4837 China, Guangdong, Guangzhou, ChinaUnicom
8 219.158.98.93 164.37 ms AS4837 China, Guangdong, Guangzhou, ChinaUnicom
9 *
10 *
11 139.226.225.186 256.13 ms AS17621 China, Shanghai, ChinaUnicom
12 139.226.228.46 260.71 ms AS17621 China, Shanghai, ChinaUnicom
13 139.226.225.22 190.13 ms AS17621 China, Shanghai, ChinaUnicom
14 58.247.8.153 260.35 ms AS17621 China, Shanghai, ChinaUnicom
15 *
16 *
17 *
18 *
19 *
20 *
21 *
22 *
23 *
24 *
25 *
26 *
27 *
28 *
29 *
30 *
Traceroute to China, Beijing CU (TCP Mode, Max 30 Hop)
============================================================
traceroute to 123.125.99.1 (123.125.99.1), 30 hops max, 32 byte packets
1 *
2 50.114.121.1 0.32 ms AS142111 United States, California, Los Angeles, acedatacenters.com
3 45.137.97.1 1.09 ms AS63023 United States, California, Los Angeles
4 98.124.174.161 1.12 ms AS3257 United States, California, Los Angeles, gtt.net
5 89.149.140.77 0.81 ms AS3257 United States, California, Los Angeles, gtt.net
6 199.229.231.206 1.60 ms AS3257 GTT.NET 骨干网, gtt.net
7 219.158.97.209 159.37 ms AS4837 China, Guangdong, Guangzhou, ChinaUnicom
8 219.158.4.129 162.08 ms AS4837 China, ChinaUnicom
9 219.158.3.9 162.35 ms AS4837 China, Guangdong, ChinaUnicom
10 *
11 125.33.186.22 198.33 ms AS4808 China, Beijing, ChinaUnicom
12 61.51.169.142 206.52 ms AS4808 China, Beijing, ChinaUnicom
13 *
14 *
15 123.125.99.1 190.68 ms AS4808 China, Beijing, ChinaUnicom
Traceroute to China, Guangzhou CM (TCP Mode, Max 30 Hop)
============================================================
traceroute to 120.196.212.25 (120.196.212.25), 30 hops max, 32 byte packets
1 *
2 50.114.121.1 0.35 ms AS142111 United States, California, Los Angeles, acedatacenters.com
3 45.137.97.1 0.68 ms AS63023 United States, California, Los Angeles
4 98.124.174.161 0.91 ms AS3257 United States, California, Los Angeles, gtt.net
5 213.200.124.178 0.88 ms AS3257 United States, California, Los Angeles, gtt.net
6 80.239.160.154 1.41 ms AS1299 United States, California, Los Angeles, telia.com
7 62.115.171.219 6.89 ms AS1299 United States, California, Los Angeles, telia.com
8 223.120.6.17 1.29 ms AS58453 United States, California, Los Angeles, ChinaMobile
9 223.120.16.210 146.81 ms AS58453 China, Hong Kong, ChinaMobile
10 221.183.55.78 161.98 ms AS9808 China, Guangdong, Guangzhou, ChinaMobile
11 221.176.24.57 158.17 ms AS9808 China, Guangdong, Guangzhou, ChinaMobile
12 221.183.68.138 157.89 ms AS9808 China, Guangdong, Guangzhou, ChinaMobile
13 111.24.5.169 156.04 ms AS9808 China, Guangdong, Guangzhou, ChinaMobile
14 111.24.5.34 165.97 ms AS9808 China, Guangdong, Shenzhen, ChinaMobile
15 111.24.5.22 161.05 ms AS9808 China, Guangdong, Guangzhou, ChinaMobile
16 211.136.249.109 166.30 ms AS56040 China, Guangdong, Guangzhou, ChinaMobile
17 211.136.196.214 169.57 ms AS56040 China, Guangdong, Guangzhou, ChinaMobile
18 *
19 120.196.212.25 194.95 ms AS56040 China, Guangdong, Guangzhou, ChinaMobile
Traceroute to China, Shanghai CM (TCP Mode, Max 30 Hop)
============================================================
traceroute to 221.183.55.22 (221.183.55.22), 30 hops max, 32 byte packets
1 *
2 50.114.121.1 0.30 ms AS142111 United States, California, Los Angeles, acedatacenters.com
3 45.137.97.1 0.74 ms AS63023 United States, California, Los Angeles
4 98.124.174.161 0.95 ms AS3257 United States, California, Los Angeles, gtt.net
5 213.200.117.138 136.19 ms AS3257 Germany, Hesse, Frankfurt, gtt.net
6 213.254.225.170 150.24 ms AS3257 Germany, Hesse, Frankfurt, gtt.net
7 223.120.10.14 148.47 ms AS58453 Germany, Hesse, Frankfurt, ChinaMobile
8 *
9 *
10 *
11 *
12 *
13 *
14 *
15 *
16 *
17 *
18 *
19 *
20 *
21 *
22 *
23 *
24 *
25 *
26 *
27 *
28 *
29 *
30 *
Traceroute to China, Beijing CM (TCP Mode, Max 30 Hop)
============================================================
traceroute to 211.136.25.153 (211.136.25.153), 30 hops max, 32 byte packets
1 *
2 50.114.121.1 0.52 ms AS142111 United States, California, Los Angeles, acedatacenters.com
3 45.137.97.1 0.57 ms AS63023 United States, California, Los Angeles
4 98.124.174.161 0.70 ms AS3257 United States, California, Los Angeles, gtt.net
5 89.149.187.114 2.09 ms AS3257 United States, California, Los Angeles, gtt.net
6 173.205.45.154 3.70 ms AS3257 United States, California, Los Angeles, gtt.net
7 223.120.6.217 1.62 ms AS58453 United States, California, Los Angeles, ChinaMobile
8 223.120.6.37 7.09 ms AS58453 United States, California, Los Angeles, ChinaMobile
9 *
10 *
11 221.183.89.110 187.53 ms AS9808 China, Beijing, ChinaMobile
12 111.24.2.249 203.31 ms AS9808 China, Beijing, ChinaMobile
13 111.24.2.134 195.01 ms AS9808 China, Beijing, ChinaMobile
14 *
15 211.136.63.66 195.72 ms AS56048 China, Beijing, ChinaMobile
16 211.136.95.226 197.40 ms AS56048 China, Beijing, ChinaMobile
17 *
18 *
19 211.136.25.153 200.14 ms AS56048 China, Beijing, ChinaMobile
Traceroute to China, Beijing Dr.Peng Network IDC Network (TCP Mode, Max 30 Hop)
============================================================
traceroute to 211.167.230.100 (211.167.230.100), 30 hops max, 32 byte packets
1 *
2 50.114.121.1 0.36 ms AS142111 United States, California, Los Angeles, acedatacenters.com
3 45.137.97.1 0.67 ms AS63023 United States, California, Los Angeles
4 98.124.174.161 1.87 ms AS3257 United States, California, Los Angeles, gtt.net
5 89.149.130.90 0.87 ms AS3257 United States, California, Los Angeles, gtt.net
6 199.229.231.202 4.40 ms AS3257 United States, California, Los Angeles, gtt.net
7 219.158.96.33 154.34 ms AS4837 China, Guangdong, Guangzhou, ChinaUnicom
8 219.158.103.37 154.55 ms AS4837 China, Guangdong, Guangzhou, ChinaUnicom
9 *
10 219.158.19.225 256.31 ms AS4837 China, Beijing, ChinaUnicom
11 *
12 202.96.13.190 204.21 ms AS4808 China, Beijing, ChinaUnicom
13 61.149.212.242 265.23 ms AS4808 China, Beijing, ChinaUnicom
14 202.99.1.126 190.80 ms AS4808 China, Beijing, ChinaUnicom
15 218.241.252.14 180.84 ms AS4808 China, Beijing, DRPENG
16 218.241.253.130 185.94 ms AS4808 China, Beijing, DRPENG
17 211.167.230.100 193.13 ms AS17964 China, Beijing, DRPENG
----------------------------------------------------------------------------------
Unixbench跑分结果:
TikTok检测:解锁美区TikTok,可以看出这是浙江艾云网络科技公司的IP(也就是这是买的艾云的机器)
艾云VPS方案:艾云Aiyun Network新用户优惠:常规服务器永久循环88折!免费20Gbps DDoS防御,不限流量,250Mbps峰值速率起步。
老刘博客




































