六六云怎么样?今天站长拿到了一台日本软银JPSB大带宽VPS,套餐名JP-1H1G-SoftBank-30M,配置不言而喻,具体就是下面套餐列表中的第一款机器,那么其性能怎么样呢?一起来看下六六云日本软银JPSB大带宽VPS测评:国内延迟、丢包率、性能和带宽、路由去回程、流媒体和TikTok检测。
六六云网络测试:http://118.107.62.49:6688/,日本软银
六六云日本软银JPSB大带宽VPS套餐方案:
| JP-1H1G-SoftBank-30M | JP-2H2G-SoftBank-50M | JP-4H4G-SoftBank-50M | JP-8H8G-SoftBank-50M |
| 1vCPU | 2vCPU | 4vCPU | 8vCPU |
| 1G 内存 | 2G 内存 | 4G 内存 | 8G 内存 |
| 20G+15G SSD高速硬盘 | 20G+30G SSD高速硬盘 | 20G+60G SSD高速硬盘 | 20G+150G SSD高速硬盘 |
| 30Mbps 峰值带宽 | 50Mbps 峰值带宽 | 50Mbps 峰值带宽 | 50Mbps 峰值带宽 |
| 双向800GB流量 | 双向1500GB流量 | 双向2000GB流量 | 双向3000GB流量 |
| ¥45.00 CNY月繳 | ¥80.00 CNY月繳 | ¥140.00 CNY月繳 | ¥250.00 CNY月繳 |
| 立即購買 | 立即購買 | 立即購買 | 立即購買 |
六六云日本软银JPSB大带宽VPS测评分析
配置信息测试,IO磁盘281MB/s,可以解锁日区Netflix奈飞、新加坡/东京油管、日区Tiktok和日区爱奇艺国际版。
流媒体脚本来具体看下解锁情况:
speedtest.net国内外节点测速
iperf3针对欧美的节点的数据测试
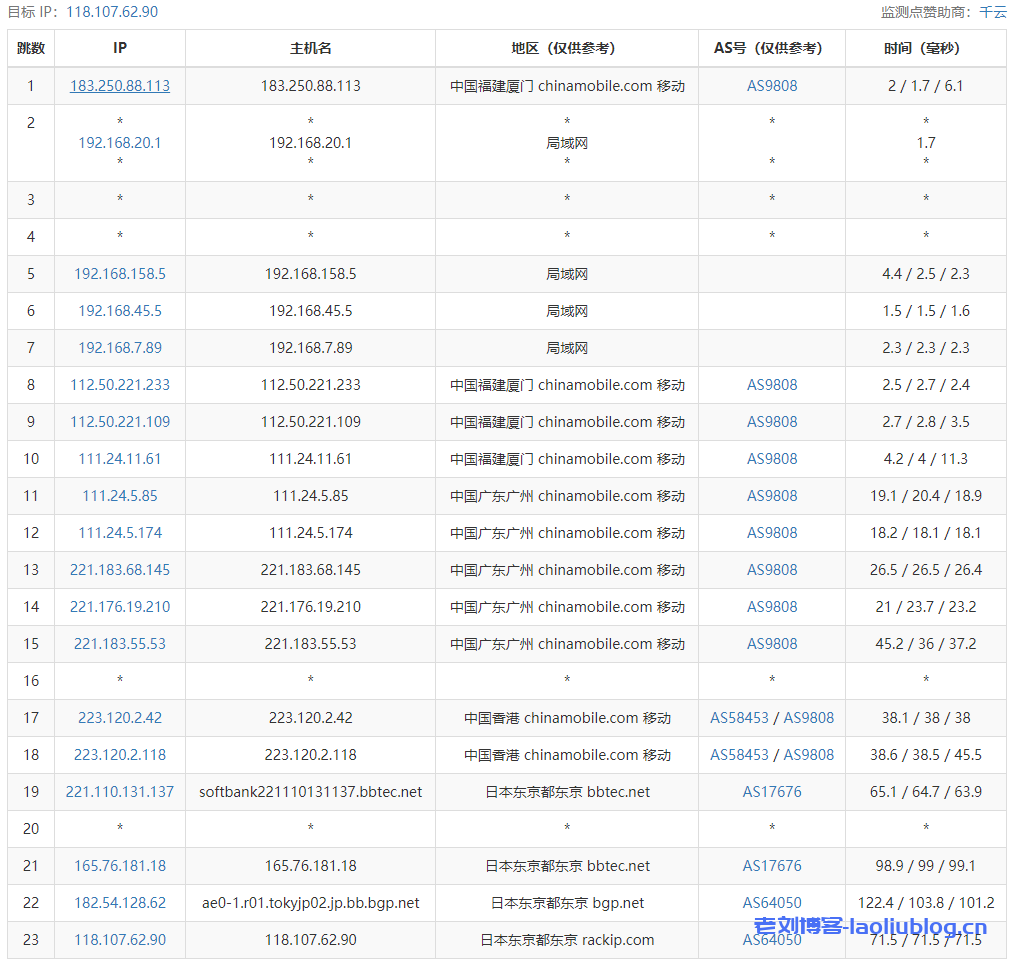
去程路由追踪测试
回程路由追踪测试
Traceroute to China, Guangzhou CT (TCP Mode, Max 30 Hop)
============================================================
traceroute to 113.108.209.1 (113.108.209.1), 30 hops max, 32 byte packets
1 118.107.62.1 10.63 ms AS64050 Japan, Tokyo, rackip.com
2 10.7.3.13 4.96 ms * LAN Address
3 182.54.128.17 0.86 ms AS64050 Japan, Tokyo, bgp.net
4 121.59.140.61 2.76 ms AS23764 Japan, Tokyo, ChinaTelecom
5 69.194.186.57 2.41 ms * United States, Louisiana, conterra.com
6 203.22.182.18 2.59 ms * Japan, Tokyo, ChinaTelecom
7 59.43.183.53 49.18 ms * China, Shanghai, ChinaTelecom
8 59.43.182.242 54.21 ms * China, Guangdong, Guangzhou, ChinaTelecom
9 *
10 *
11 *
12 *
13 113.108.209.1 62.16 ms AS4134 China, Guangdong, Guangzhou, ChinaTelecom
Traceroute to China, Shanghai CT (TCP Mode, Max 30 Hop)
============================================================
traceroute to 180.153.28.5 (180.153.28.5), 30 hops max, 32 byte packets
1 118.107.62.1 3.55 ms AS64050 Japan, Tokyo, rackip.com
2 10.7.3.13 19.82 ms * LAN Address
3 182.54.128.17 0.85 ms AS64050 Japan, Tokyo, bgp.net
4 121.59.140.61 2.72 ms AS23764 Japan, Tokyo, ChinaTelecom
5 69.194.166.97 2.16 ms AS23764 China, Hong Kong, ChinaTelecom
6 203.22.182.18 2.59 ms * Japan, Tokyo, ChinaTelecom
7 59.43.183.53 49.15 ms * China, Shanghai, ChinaTelecom
8 *
9 202.97.51.162 32.93 ms AS4134 China, Shanghai, ChinaTelecom
10 *
11 61.152.25.53 35.04 ms AS4812 China, Shanghai, ChinaTelecom
12 *
13 101.95.225.222 39.72 ms AS4811 China, Shanghai, ChinaTelecom
14 *
15 *
16 *
17 *
18 *
19 *
20 *
21 *
22 *
23 *
24 *
25 *
26 *
27 *
28 *
29 *
30 *
Traceroute to China, Beijing CT (TCP Mode, Max 30 Hop)
============================================================
traceroute to 180.149.128.9 (180.149.128.9), 30 hops max, 32 byte packets
1 118.107.62.1 0.45 ms AS64050 Japan, Tokyo, rackip.com
2 10.7.3.13 0.44 ms * LAN Address
3 182.54.128.17 1.02 ms AS64050 Japan, Tokyo, bgp.net
4 121.59.140.61 2.77 ms AS23764 Japan, Tokyo, ChinaTelecom
5 69.194.186.61 2.33 ms * United States, Louisiana, conterra.com
6 203.22.182.54 2.55 ms * China, ChinaTelecom
7 59.43.247.114 49.08 ms * China, Shanghai, ChinaTelecom
8 59.43.247.101 69.17 ms * China, Beijing, ChinaTelecom
9 59.43.246.162 55.21 ms * China, Beijing, ChinaTelecom
10 202.97.12.61 53.71 ms AS4134 China, Beijing, ChinaTelecom
11 *
12 *
13 *
14 *
15 *
16 *
17 *
18 *
19 *
20 *
21 *
22 *
23 *
24 *
25 *
26 *
27 *
28 *
29 *
30 *
Traceroute to China, Guangzhou CU (TCP Mode, Max 30 Hop)
============================================================
traceroute to 210.21.4.130 (210.21.4.130), 30 hops max, 32 byte packets
1 118.107.62.1 39.32 ms AS64050 Japan, Tokyo, rackip.com
2 10.7.3.13 12.21 ms * LAN Address
3 182.54.128.17 0.92 ms AS64050 Japan, Tokyo, bgp.net
4 121.59.140.61 2.48 ms AS23764 Japan, Tokyo, ChinaTelecom
5 69.194.165.190 2.25 ms AS23764 Japan, Tokyo, ChinaTelecom
6 203.22.182.118 2.52 ms * China, ChinaTelecom
7 59.43.183.1 53.12 ms * China, Shanghai, ChinaTelecom
8 59.43.182.242 59.49 ms * China, Guangdong, Guangzhou, ChinaTelecom
9 59.43.244.138 71.31 ms * China, Guangdong, Guangzhou, ChinaTelecom
10 202.97.94.93 74.73 ms AS4134 China, Guangdong, Guangzhou, ChinaTelecom
11 202.97.94.129 66.55 ms AS4134 China, Guangdong, Guangzhou, ChinaTelecom
12 *
13 *
14 *
15 157.18.0.30 63.78 ms AS17816 China, Guangdong, Guangzhou, ChinaUnicom
16 120.80.170.254 65.81 ms AS17622 China, Guangdong, Guangzhou, ChinaUnicom
17 *
18 *
19 *
20 *
21 *
22 *
23 *
24 *
25 *
26 *
27 *
28 *
29 *
30 *
Traceroute to China, Shanghai CU (TCP Mode, Max 30 Hop)
============================================================
traceroute to 58.247.8.158 (58.247.8.158), 30 hops max, 32 byte packets
1 118.107.62.1 0.41 ms AS64050 Japan, Tokyo, rackip.com
2 10.7.3.13 4.34 ms * LAN Address
3 182.54.128.17 1.07 ms AS64050 Japan, Tokyo, bgp.net
4 121.59.140.61 2.76 ms AS23764 Japan, Tokyo, ChinaTelecom
5 69.194.166.73 2.47 ms AS23764 China, Hong Kong, ChinaTelecom
6 203.22.182.122 2.27 ms * China, ChinaTelecom
7 59.43.184.181 56.74 ms * China, Shanghai, ChinaTelecom
8 *
9 *
10 202.97.57.154 29.96 ms AS4134 China, Shanghai, ChinaTelecom
11 202.97.69.18 36.71 ms AS4134 China, Shanghai, ChinaTelecom
12 *
13 *
14 *
15 58.247.221.178 38.41 ms AS17621 China, Shanghai, ChinaUnicom
16 139.226.225.22 30.72 ms AS17621 China, Shanghai, ChinaUnicom
17 58.247.8.153 35.02 ms AS17621 China, Shanghai, ChinaUnicom
18 *
19 *
20 *
21 *
22 *
23 *
24 *
25 *
26 *
27 *
28 *
29 *
30 *
Traceroute to China, Beijing CU (TCP Mode, Max 30 Hop)
============================================================
traceroute to 123.125.99.1 (123.125.99.1), 30 hops max, 32 byte packets
1 118.107.62.1 6.54 ms AS64050 Japan, Tokyo, rackip.com
2 10.7.3.13 3.11 ms * LAN Address
3 182.54.128.17 0.89 ms AS64050 Japan, Tokyo, bgp.net
4 121.59.140.61 2.74 ms AS23764 Japan, Tokyo, ChinaTelecom
5 69.194.186.61 2.25 ms * United States, Louisiana, conterra.com
6 203.22.182.54 2.45 ms * China, ChinaTelecom
7 59.43.186.185 55.48 ms * China, Shanghai, ChinaTelecom
8 59.43.182.225 202.75 ms * China, Beijing, ChinaTelecom
9 59.43.246.142 54.14 ms * China, Beijing, ChinaTelecom
10 202.97.26.249 54.30 ms AS4134 China, Beijing, ChinaTelecom
11 *
12 *
13 *
14 *
15 *
16 61.51.169.174 62.22 ms AS4808 China, Beijing, ChinaUnicom
17 *
18 *
19 *
20 *
21 *
22 *
23 *
24 *
25 *
26 *
27 *
28 *
29 *
30 *
Traceroute to China, Guangzhou CM (TCP Mode, Max 30 Hop)
============================================================
traceroute to 120.196.212.25 (120.196.212.25), 30 hops max, 32 byte packets
1 118.107.62.1 0.37 ms AS64050 Japan, Tokyo, rackip.com
2 10.7.3.13 0.78 ms * LAN Address
3 182.54.128.61 6.68 ms AS64050 Japan, Tokyo, bgp.net
4 165.76.181.17 1.17 ms AS17676 Japan, Tokyo, bbtec.net
5 *
6 *
7 *
8 221.110.131.138 51.34 ms AS17676 Japan, Tokyo, bbtec.net
9 223.120.2.117 50.64 ms AS58453 China, Hong Kong, ChinaMobile
10 *
11 *
12 *
13 221.176.22.105 56.68 ms AS9808 China, Guangdong, Guangzhou, ChinaMobile
14 111.24.5.181 57.38 ms AS9808 China, Guangdong, Guangzhou, ChinaMobile
15 111.24.5.30 59.44 ms AS9808 China, Guangdong, Guangzhou, ChinaMobile
16 211.136.249.145 59.66 ms AS56040 China, Guangdong, Guangzhou, ChinaMobile
17 211.139.180.106 58.89 ms AS56040 China, Guangdong, Guangzhou, ChinaMobile
18 211.136.196.242 60.64 ms AS56040 China, Guangdong, Guangzhou, ChinaMobile
19 211.139.180.106 62.36 ms AS56040 China, Guangdong, Guangzhou, ChinaMobile
20 *
21 120.196.212.25 61.91 ms AS56040 China, Guangdong, Guangzhou, ChinaMobile
Traceroute to China, Shanghai CM (TCP Mode, Max 30 Hop)
============================================================
traceroute to 221.183.55.22 (221.183.55.22), 30 hops max, 32 byte packets
1 118.107.62.1 3.99 ms AS64050 Japan, Tokyo, rackip.com
2 10.7.3.13 24.34 ms * LAN Address
3 182.54.128.61 0.87 ms AS64050 Japan, Tokyo, bgp.net
4 165.76.181.17 1.26 ms AS17676 Japan, Tokyo, bbtec.net
5 *
6 *
7 221.111.202.238 3.30 ms AS17676 Japan, Tokyo, bbtec.net
8 223.118.3.25 2.27 ms AS58453 Japan, Tokyo, ChinaMobile
9 223.120.2.33 3.23 ms AS58453 Japan, Tokyo, ChinaMobile
10 223.120.3.246 54.95 ms AS58453 China, Shanghai, ChinaMobile
11 *
12 *
13 *
14 *
15 *
16 *
17 *
18 *
19 *
20 *
21 *
22 *
23 *
24 *
25 *
26 *
27 *
28 *
29 *
30 *
Traceroute to China, Beijing CM (TCP Mode, Max 30 Hop)
============================================================
traceroute to 211.136.25.153 (211.136.25.153), 30 hops max, 32 byte packets
1 118.107.62.1 0.39 ms AS64050 Japan, Tokyo, rackip.com
2 10.7.3.13 0.52 ms * LAN Address
3 182.54.128.61 2.22 ms AS64050 Japan, Tokyo, bgp.net
4 165.76.181.17 1.33 ms AS17676 Japan, Tokyo, bbtec.net
5 *
6 *
7 221.111.202.238 2.56 ms AS17676 Japan, Tokyo, bbtec.net
8 *
9 *
10 221.183.46.254 95.76 ms AS9808 China, Beijing, ChinaMobile
11 *
12 111.24.2.105 88.89 ms AS9808 China, Beijing, ChinaMobile
13 111.24.3.18 90.85 ms AS9808 China, Beijing, ChinaMobile
14 211.136.67.166 90.15 ms AS56048 China, Beijing, ChinaMobile
15 211.136.63.66 99.23 ms AS56048 China, Beijing, ChinaMobile
16 *
17 *
18 *
19 *
20 211.136.25.153 93.00 ms AS56048 China, Beijing, ChinaMobile
Traceroute to China, Beijing Dr.Peng Network IDC Network (TCP Mode, Max 30 Hop)
============================================================
traceroute to 211.167.230.100 (211.167.230.100), 30 hops max, 32 byte packets
1 118.107.62.1 0.83 ms AS64050 Japan, Tokyo, rackip.com
2 10.7.3.13 0.46 ms * LAN Address
3 182.54.128.17 0.89 ms AS64050 Japan, Tokyo, bgp.net
4 121.59.140.61 2.71 ms AS23764 Japan, Tokyo, ChinaTelecom
5 69.194.165.190 2.31 ms AS23764 Japan, Tokyo, ChinaTelecom
6 203.22.182.54 2.62 ms * China, ChinaTelecom
7 59.43.184.177 53.12 ms * China, Shanghai, ChinaTelecom
8 59.43.247.101 65.57 ms * China, Beijing, ChinaTelecom
9 59.43.246.158 55.14 ms * China, Beijing, ChinaTelecom
10 *
11 *
12 *
13 *
14 219.158.13.77 55.64 ms AS4837 China, Beijing, ChinaUnicom
15 *
16 202.96.13.218 59.57 ms AS4808 China, Beijing, ChinaUnicom
17 61.149.212.242 59.98 ms AS4808 China, Beijing, ChinaUnicom
18 202.99.1.234 56.97 ms AS4808 China, Beijing, ChinaUnicom
19 124.205.97.138 55.65 ms AS4808 China, Beijing, DRPENG
20 218.241.253.134 58.09 ms AS4808 China, Beijing, DRPENG
21 211.167.230.100 55.23 ms AS17964 China, Beijing, DRPENG
----------------------------------------------------------------------------------
Geekbench主要用于对设备的处理器和存储性能进行评估,提供一系列综合性的数据作为参考。
Geekbench 5 Benchmark Test:
---------------------------------
Test | Value
|
Single Core | 595
Multi Core | 597
Full Test | https://browser.geekbench.com/v5/cpu/17705432
老刘博客



































