六六云VPS怎么样?我们测评过六六云美西原生9929线路(新)VPS、六六云美西双向9929精品线路大带宽VPS、六六云日本软银JPSB大带宽VPS、六六云日本软银JPSB大带宽VPS、六六云香港三网CN2 GIA建站VPS、六六云美西cera联通CUVIP,那么六六云tiktok专区-英原生IP VPS性能怎么样呢?一起来看下六六云666clouds英国原生tiktok测评分享。
六六云tiktok专区-美、英原生IP VPS
美国、英国原生IP,支持48小时内退款(特别申明:如果不为服务器设置高强度密码,请不要购买本站产品!)其中第三款为此次测评机器。
| 美西原生9929线路(新) | 美西原生IP | 英国原生IP | 2H2G高配置|三网回程CN2 | 2H2G高配置|150M大带宽|cu9929精品线路 |
| 自行安装bbr加速 | 美西原生IP | 英国原生IP | 美西原生IP,助力TikTok流量业务 | 美西原生IP,助力TikTok流量业务 |
| 美西原生IP新段 | 助力TikTok流量业务 | 助力TikTok流量业务,支持直播 | 2H2G2T – CN2精品线路,晚高峰更稳定 | 2H2G2T -150M大带宽 CU9929精品线路,晚高峰更稳定 |
| 助力TikTok流量业务 | 200M大带宽 | 500M大带宽 | //172.247.111.131:6688/ 测速面板:http | ¥70.00 CNY月繳 |
| 100M大带宽 | 1H1G1T | 1H0.5G1T | ¥80.00 CNY月繳 | 立即購買 |
| 1H1G1T | ¥50.00 CNY月繳 | 重装系统后切记要安装bbr!!! | 立即購買 | |
| ¥50.00 CNY月繳 | 立即購買 | ¥60.00 CNY月繳 | ||
| 立即購買 | 立即購買 |
流媒体解锁情况:
测试是不是原生IP,结果确为英国原生IP
iperf3针对欧美的节点的数据测试
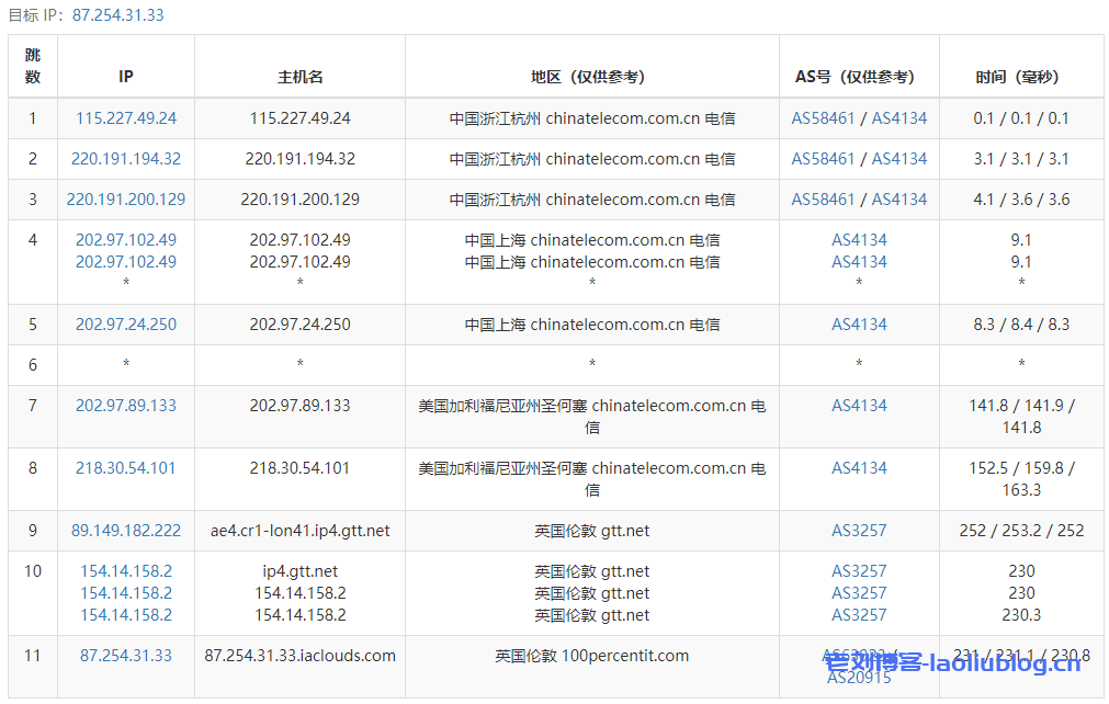
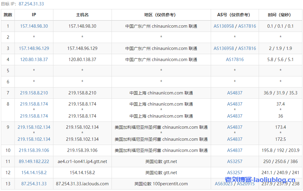
去程路由跟踪测试
老刘博客


































