DigitalVirt洛杉矶9929线路VPS怎么样?官方说法是美国精品网,美国西海岸CU-9929回程(四网9929),这里站长下单了一台基础款套餐L1-1C1G进行了测评,一起来看下DigitalVirt洛杉矶9929线路VPS测评:国内延迟、丢包率、性能和带宽、路由去回程、流媒体和TikTok检测。

DigitalVirt官网:门户首页 – DigitalVirt
DigitalVirt测试IP:154.12.53.1,洛杉矶9929线路
DigitalVirt洛杉矶9929线路VPS套餐方案:
四网9929 ,禁止长期占用带宽。
| L1-1C1G | L2-1C2G | L3-2C2G | L4-2C4G | L5-4C4G | L6-4C4G | L7-4C8G | L8-8C8G |
| ¥ 39 月付 | ¥ 49 月付 | ¥ 59 月付 | ¥ 79 月付 | ¥ 99 月付 | ¥ 129 月付 | ¥ 199 月付 | ¥ 299 月付 |
| 核心1核(独享) | 核心1核(独享) | 核心2核(独享) | 核心2核(独享) | 核心4核(独享) | 核心4核(独享) | 核心4核(独享) | 核心8核(独享) |
| 内存1GB | 内存2GB | 内存2GB | 内存4GB | 内存4GB | 内存4GB | 内存8GB | 内存8GB |
| 系统盘20G NVMe | 系统盘30G NVMe | 系统盘40G NVMe | 系统盘50G NVMe | 系统盘80G NVMe | 系统盘100G NVMe | 系统盘120G NVMe | 系统盘150G NVMe |
| 带宽200Mbps | 带宽200Mbps | 带宽300Mbps | 带宽300Mbps | 带宽400Mbps | 带宽400Mbps | 带宽400Mbps | 带宽500Mbps |
| 流量包1000G/月 | 流量包1200G/月 | 流量包1500G/月 | 流量包1800G/月 | 流量包2000G/月 | 流量包2500G/月 | 流量包3000G/月 | 流量包4000G/月 |
| 立即订购 | 立即订购 | 立即订购 | 立即订购 | 立即订购 | 立即订购 | 立即订购 | 立即订购 |
配置信息情况;TikTok检测结果:支持解锁美区TikTok;磁盘IO在634.7MB/s

其他流媒体解锁情况




speedtest.net国内外节点测速,和官方描述的200Mbps带宽一致


iperf3针对欧美的节点的数据测试

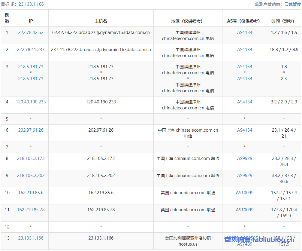
去程路由追踪测试



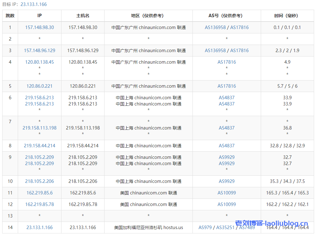
回程路由追踪测试
Traceroute to China, Guangzhou CT (TCP Mode, Max 30 Hop)
============================================================
traceroute to 113.108.209.1 (113.108.209.1), 30 hops max, 32 byte packets
1 10.0.107.1 0.16 ms * LAN Address
2 *
3 10.5.6.7 0.44 ms * LAN Address
4 162.219.85.77 0.69 ms AS10099 United States, ChinaUnicom
5 162.219.85.5 130.92 ms AS10099 China, Shanghai, ChinaUnicom
6 218.105.2.201 129.62 ms AS9929 China, Shanghai, ChinaUnicom
7 218.105.131.197 156.36 ms AS9929 China, Guangdong, Guangzhou, ChinaUnicom
8 210.14.161.62 156.46 ms * China, Guangdong, Guangzhou, ChinaUnicom
9 202.97.81.97 161.05 ms AS4134 China, Guangdong, Guangzhou, ChinaTelecom
10 202.97.81.253 158.71 ms AS4134 China, Guangdong, Guangzhou, ChinaTelecom
11 *
12 113.108.209.1 158.32 ms AS4134 China, Guangdong, Guangzhou, ChinaTelecom
Traceroute to China, Shanghai CT (TCP Mode, Max 30 Hop)
============================================================
traceroute to 180.153.28.5 (180.153.28.5), 30 hops max, 32 byte packets
1 10.0.107.1 0.14 ms * LAN Address
2 *
3 10.3.4.5 0.44 ms * LAN Address
4 162.219.85.77 6.24 ms AS10099 United States, ChinaUnicom
5 162.219.85.1 134.34 ms AS10099 China, Shanghai, ChinaUnicom
6 218.105.2.201 129.66 ms AS9929 China, Shanghai, ChinaUnicom
7 218.105.2.174 129.87 ms AS9929 China, Shanghai, ChinaUnicom
8 202.97.16.65 132.95 ms AS4134 China, Shanghai, ChinaTelecom
9 *
10 101.95.120.157 135.88 ms AS4812 China, Shanghai, ChinaTelecom
11 101.95.207.230 135.05 ms AS4812 China, Shanghai, ChinaTelecom
12 124.74.232.238 133.72 ms AS4811 China, Shanghai, ChinaTelecom
13 *
14 *
15 *
16 *
17 *
18 *
19 *
20 *
21 *
22 *
23 *
24 *
25 *
26 *
27 *
28 *
29 *
30 *
Traceroute to China, Beijing CT (TCP Mode, Max 30 Hop)
============================================================
traceroute to 180.149.128.9 (180.149.128.9), 30 hops max, 32 byte packets
1 10.0.107.1 0.15 ms * LAN Address
2 *
3 10.7.8.9 0.59 ms * LAN Address
4 162.219.85.77 0.80 ms AS10099 United States, ChinaUnicom
5 162.219.85.9 135.77 ms AS10099 China, Shanghai, ChinaUnicom
6 218.105.2.205 132.25 ms AS9929 China, Shanghai, ChinaUnicom
7 218.105.131.125 150.84 ms AS9929 China, Beijing, ChinaUnicom
8 210.78.30.166 150.57 ms * China, Beijing, ChinaUnicom
9 202.97.81.65 151.01 ms AS4134 China, Beijing, ChinaTelecom
10 *
11 *
12 *
13 *
14 *
15 *
16 *
17 *
18 *
19 *
20 *
21 *
22 *
23 *
24 *
25 *
26 *
27 *
28 *
29 *
30 *
Traceroute to China, Guangzhou CU (TCP Mode, Max 30 Hop)
============================================================
traceroute to 210.21.4.130 (210.21.4.130), 30 hops max, 32 byte packets
1 10.0.107.1 0.13 ms * LAN Address
2 *
3 10.6.7.8 0.43 ms * LAN Address
4 162.219.85.77 0.71 ms AS10099 United States, ChinaUnicom
5 162.219.85.9 135.26 ms AS10099 China, Shanghai, ChinaUnicom
6 218.105.2.205 129.64 ms AS9929 China, Shanghai, ChinaUnicom
7 218.105.131.197 156.41 ms AS9929 China, Guangdong, Guangzhou, ChinaUnicom
8 210.14.161.66 159.28 ms * China, Guangdong, Guangzhou, ChinaUnicom
9 219.158.40.209 163.77 ms AS4837 China, Guangdong, Guangzhou, ChinaUnicom
10 219.158.103.173 157.80 ms AS4837 China, Guangdong, Guangzhou, ChinaUnicom
11 112.96.0.2 160.49 ms AS17816 China, Guangdong, Guangzhou, ChinaUnicom
12 120.80.91.66 159.14 ms AS17816 China, Guangdong, Guangzhou, ChinaUnicom
13 *
14 *
15 *
16 *
17 *
18 *
19 *
20 *
21 *
22 *
23 *
24 *
25 *
26 *
27 *
28 *
29 *
30 *
Traceroute to China, Shanghai CU (TCP Mode, Max 30 Hop)
============================================================
traceroute to 58.247.8.158 (58.247.8.158), 30 hops max, 32 byte packets
1 10.0.107.1 0.17 ms * LAN Address
2 *
3 10.4.5.6 0.36 ms * LAN Address
4 162.219.85.77 0.79 ms AS10099 United States, ChinaUnicom
5 162.219.85.1 134.59 ms AS10099 China, Shanghai, ChinaUnicom
6 218.105.2.201 129.54 ms AS9929 China, Shanghai, ChinaUnicom
7 218.105.2.174 132.53 ms AS9929 China, Shanghai, ChinaUnicom
8 219.158.113.153 133.78 ms AS4837 China, Shanghai, ChinaUnicom
9 219.158.9.97 130.97 ms AS4837 China, Shanghai, ChinaUnicom
10 *
11 58.247.221.178 131.25 ms AS17621 China, Shanghai, ChinaUnicom
12 139.226.225.22 134.52 ms AS17621 China, Shanghai, ChinaUnicom
13 58.247.8.153 144.81 ms AS17621 China, Shanghai, ChinaUnicom
14 *
15 *
16 *
17 *
18 *
19 *
20 *
21 *
22 *
23 *
24 *
25 *
26 *
27 *
28 *
29 *
30 *
Traceroute to China, Beijing CU (TCP Mode, Max 30 Hop)
============================================================
traceroute to 123.125.99.1 (123.125.99.1), 30 hops max, 32 byte packets
1 10.0.107.1 0.12 ms * LAN Address
2 *
3 10.4.5.6 8.87 ms * LAN Address
4 162.219.85.77 1.07 ms AS10099 United States, ChinaUnicom
5 162.219.85.1 133.46 ms AS10099 China, Shanghai, ChinaUnicom
6 218.105.2.205 129.75 ms AS9929 China, Shanghai, ChinaUnicom
7 218.105.131.125 150.77 ms AS9929 China, Beijing, ChinaUnicom
8 210.78.30.166 150.51 ms * China, Beijing, ChinaUnicom
9 219.158.35.45 156.87 ms AS4837 China, Beijing, ChinaUnicom
10 *
11 125.33.186.122 160.37 ms AS4808 China, Beijing, ChinaUnicom
12 61.148.158.90 153.73 ms AS4808 China, Beijing, ChinaUnicom
13 *
14 *
15 *
16 *
17 *
18 *
19 *
20 *
21 *
22 *
23 *
24 *
25 *
26 *
27 *
28 *
29 *
30 *
Traceroute to China, Guangzhou CM (TCP Mode, Max 30 Hop)
============================================================
traceroute to 120.196.212.25 (120.196.212.25), 30 hops max, 32 byte packets
1 10.0.107.1 0.21 ms * LAN Address
2 *
3 10.7.8.9 0.64 ms * LAN Address
4 162.219.85.77 0.74 ms AS10099 United States, ChinaUnicom
5 162.219.85.1 135.62 ms AS10099 China, Shanghai, ChinaUnicom
6 218.105.2.201 129.51 ms AS9929 China, Shanghai, ChinaUnicom
7 218.105.131.197 158.50 ms AS9929 China, Guangdong, Guangzhou, ChinaUnicom
8 210.14.161.66 160.12 ms * China, Guangdong, Guangzhou, ChinaUnicom
9 219.158.42.9 158.63 ms AS4837 China, Guangdong, Guangzhou, ChinaUnicom
10 221.183.123.1 155.44 ms AS9808 China, Guangdong, Guangzhou, ChinaMobile
11 221.183.94.173 190.30 ms AS9808 China, Guangdong, Guangzhou, ChinaMobile
12 *
13 211.136.208.49 166.70 ms AS56040 China, Guangdong, Guangzhou, ChinaMobile
14 211.139.180.110 166.41 ms AS56040 China, Guangdong, Guangzhou, ChinaMobile
15 211.139.180.106 167.87 ms AS56040 China, Guangdong, Guangzhou, ChinaMobile
16 211.139.180.106 166.72 ms AS56040 China, Guangdong, Guangzhou, ChinaMobile
17 120.196.212.25 168.65 ms AS56040 China, Guangdong, Guangzhou, ChinaMobile
Traceroute to China, Shanghai CM (TCP Mode, Max 30 Hop)
============================================================
traceroute to 221.183.55.22 (221.183.55.22), 30 hops max, 32 byte packets
1 10.0.107.1 0.14 ms * LAN Address
2 *
3 10.4.5.6 0.27 ms * LAN Address
4 162.219.85.77 1.16 ms AS10099 United States, ChinaUnicom
5 162.219.85.1 134.72 ms AS10099 China, Shanghai, ChinaUnicom
6 218.105.2.93 130.26 ms AS9929 China, Shanghai, ChinaUnicom
7 218.105.2.150 129.55 ms AS9929 China, Shanghai, ChinaUnicom
8 219.158.44.209 132.44 ms AS4837 China, Shanghai, ChinaUnicom
9 219.158.46.142 158.23 ms AS4837 China, Shanghai, ChinaUnicom
10 *
11 *
12 *
13 *
14 *
15 *
16 *
17 *
18 *
19 *
20 *
21 *
22 *
23 *
24 *
25 *
26 *
27 *
28 *
29 *
30 *
Traceroute to China, Beijing CM (TCP Mode, Max 30 Hop)
============================================================
traceroute to 211.136.25.153 (211.136.25.153), 30 hops max, 32 byte packets
1 10.0.107.1 0.17 ms * LAN Address
2 *
3 10.7.8.9 0.45 ms * LAN Address
4 162.219.85.77 1.13 ms AS10099 United States, ChinaUnicom
5 203.160.75.218 131.26 ms AS10099 China, Hong Kong, ChinaUnicom
6 218.105.2.93 129.47 ms AS9929 China, Shanghai, ChinaUnicom
7 218.105.131.101 149.62 ms AS9929 China, Beijing, ChinaUnicom
8 210.78.30.158 152.26 ms * China, Beijing, ChinaUnicom
9 219.158.39.57 152.62 ms AS4837 China, Beijing, ChinaUnicom
10 221.183.95.57 150.78 ms AS9808 China, Beijing, ChinaMobile
11 221.183.94.37 177.04 ms AS9808 China, Beijing, ChinaMobile
12 *
13 211.136.67.106 179.78 ms AS56048 China, Beijing, ChinaMobile
14 211.136.63.66 176.87 ms AS56048 China, Beijing, ChinaMobile
15 211.136.95.226 176.03 ms AS56048 China, Beijing, ChinaMobile
16 *
17 *
18 *
19 211.136.25.153 180.37 ms AS56048 China, Beijing, ChinaMobile
Traceroute to China, Beijing Dr.Peng Network IDC Network (TCP Mode, Max 30 Hop)
============================================================
traceroute to 211.167.230.100 (211.167.230.100), 30 hops max, 32 byte packets
1 10.0.107.1 0.19 ms * LAN Address
2 *
3 10.4.5.6 1.06 ms * LAN Address
4 162.219.85.77 0.73 ms AS10099 United States, ChinaUnicom
5 162.219.85.9 137.87 ms AS10099 China, Shanghai, ChinaUnicom
6 218.105.2.201 129.65 ms AS9929 China, Shanghai, ChinaUnicom
7 218.105.131.125 153.57 ms AS9929 China, Beijing, ChinaUnicom
8 210.78.30.166 150.73 ms * China, Beijing, ChinaUnicom
9 219.158.35.17 157.46 ms AS4837 China, Beijing, ChinaUnicom
10 *
11 *
12 202.106.192.94 153.22 ms AS4808 China, Beijing, ChinaUnicom
13 61.149.212.242 152.30 ms AS4808 China, Beijing, ChinaUnicom
14 202.99.1.238 152.02 ms AS4808 China, Beijing, ChinaUnicom
15 218.241.255.138 155.20 ms AS4808 China, Beijing, DRPENG
16 218.241.253.130 152.49 ms AS4808 China, Beijing, DRPENG
17 211.167.230.100 157.62 ms AS17964 China, Beijing, DRPENG
----------------------------------------------------------------------------------
Geekbench跑分结果
Geekbench 5 Benchmark Test:
---------------------------------
Test | Value
|
Single Core | 707
Multi Core | 715
Full Test | https://browser.geekbench.com/v5/cpu/17727908
老刘博客


























