就在7号,艾云放出了国庆节第二款特价VPS,也是最后一款,即特价服务器:美国洛杉矶VPS套餐《艾云iaclouds:128/年 美国-洛杉矶 Plus款VPS 解锁Tiktok 国内网速较优异 免费20Gbps DDoS防御 国庆最后福利》,那么VPS性能如何?艾云服务器怎么样?艾云iaclouds年付128元的美国洛杉矶VPS测评,一起来看看其国内延迟、丢包率、性能和带宽、路由去回程、流媒体和TikTok检测。
艾云Aiyun Network官网:门户首页 – 艾云 (iaclouds.com)
艾云QQ群:994298224,艾云TG群:https://t.me/+rs7onLzH66M3OWU1
艾云iaclouds年付128元的美国洛杉矶VPS测评分析:
基础信息测试,符合官方描述;支持解锁美区TikTok;IO磁盘依旧很吊,达到GB级别/s
其他流媒体解锁测试
speedtest.net国内外节点测速
iperf3针对欧美的节点的数据测试:
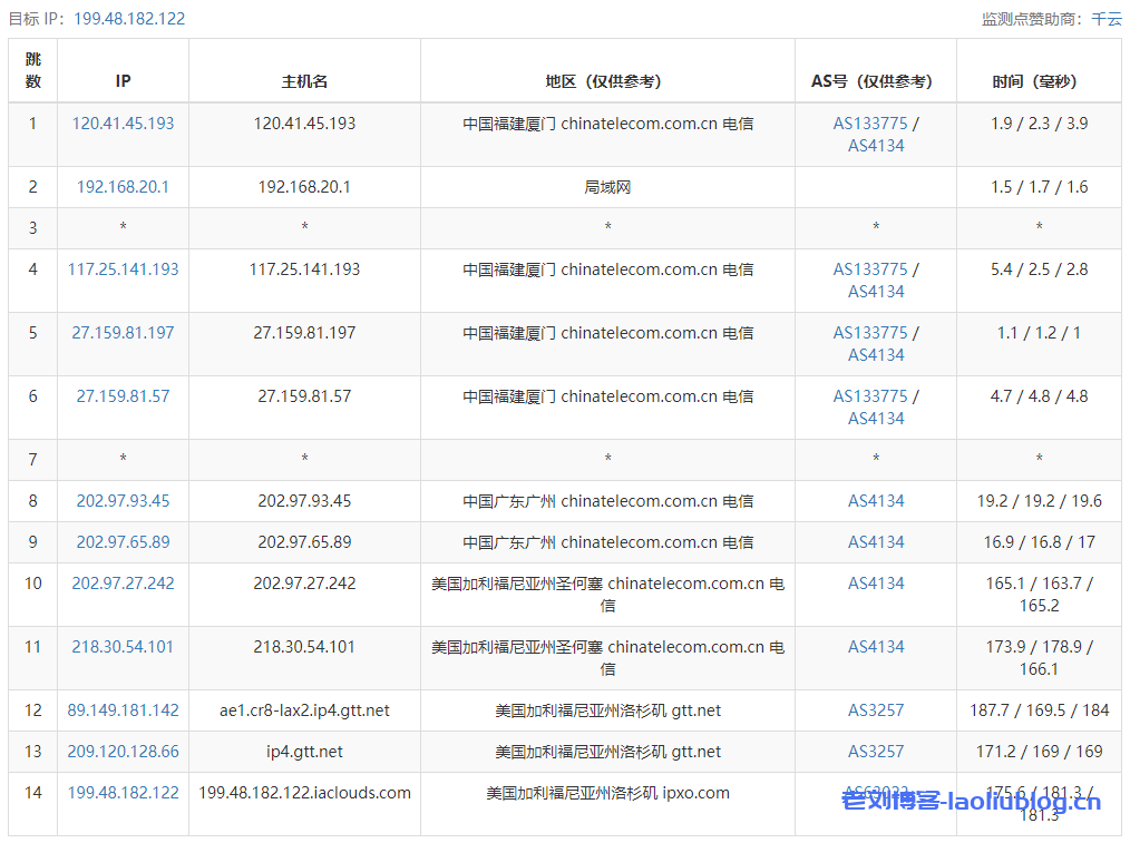
去程路由追踪测试
回程路由追踪测试
Traceroute to China, Guangzhou CT (TCP Mode, Max 30 Hop)
============================================================
traceroute to 113.108.209.1 (113.108.209.1), 30 hops max, 32 byte packets
1 45.137.97.1 0.33 ms AS63023 United States, California, Los Angeles
2 98.124.174.161 0.69 ms AS3257 United States, California, Los Angeles, gtt.net
3 89.149.180.78 7.53 ms AS3257 United States, California, San Jose, gtt.net
4 218.30.54.100 9.34 ms AS4134 United States, California, San Jose, ChinaTelecom
5 *
6 202.97.12.22 163.56 ms AS4134 China, Guangdong, Guangzhou, ChinaTelecom
7 202.97.66.153 160.90 ms AS4134 China, Guangdong, Guangzhou, ChinaTelecom
8 *
9 113.108.209.1 157.45 ms AS4134 China, Guangdong, Guangzhou, ChinaTelecom
Traceroute to China, Shanghai CT (TCP Mode, Max 30 Hop)
============================================================
traceroute to 180.153.28.5 (180.153.28.5), 30 hops max, 32 byte packets
1 45.137.97.1 0.23 ms AS63023 United States, California, Los Angeles
2 98.124.174.161 0.63 ms AS3257 United States, California, Los Angeles, gtt.net
3 89.149.141.125 7.50 ms AS3257 United States, California, Los Angeles, gtt.net
4 218.30.54.72 2.68 ms AS4134 United States, California, Los Angeles, ChinaTelecom
5 *
6 202.97.39.22 148.62 ms AS4134 China, Shanghai, ChinaTelecom
7 202.97.83.2 130.53 ms AS4134 China, Shanghai, ChinaTelecom
8 61.152.24.245 133.92 ms AS4812 China, Shanghai, ChinaTelecom
9 *
10 124.74.232.66 140.89 ms AS4811 China, Shanghai, ChinaTelecom
11 *
12 *
13 *
14 *
15 *
16 *
17 *
18 *
19 *
20 *
21 *
22 *
23 *
24 *
25 *
26 *
27 *
28 *
29 *
30 *
Traceroute to China, Beijing CT (TCP Mode, Max 30 Hop)
============================================================
traceroute to 180.149.128.9 (180.149.128.9), 30 hops max, 32 byte packets
1 45.137.97.1 1.65 ms AS63023 United States, California, Los Angeles
2 98.124.174.161 3.07 ms AS3257 United States, California, Los Angeles, gtt.net
3 89.149.141.105 1.09 ms AS3257 United States, California, Los Angeles, gtt.net
4 218.30.54.72 2.63 ms AS4134 United States, California, Los Angeles, ChinaTelecom
5 *
6 *
7 *
8 *
9 *
10 *
11 *
12 *
13 *
14 *
15 *
16 *
17 *
18 *
19 *
20 *
21 *
22 *
23 *
24 *
25 *
26 *
27 *
28 *
29 *
30 *
Traceroute to China, Guangzhou CU (TCP Mode, Max 30 Hop)
============================================================
traceroute to 210.21.4.130 (210.21.4.130), 30 hops max, 32 byte packets
1 45.137.97.1 38.60 ms AS63023 United States, California, Los Angeles
2 98.124.174.161 7.99 ms AS3257 United States, California, Los Angeles, gtt.net
3 89.149.136.149 16.90 ms AS3257 United States, California, San Jose, gtt.net
4 77.67.79.150 8.18 ms AS3257 United States, California, San Jose, gtt.net
5 *
6 219.158.6.205 165.48 ms AS4837 China, Shanghai, ChinaUnicom
7 219.158.7.133 164.44 ms AS4837 China, Shanghai, ChinaUnicom
8 *
9 112.96.0.146 243.70 ms AS17816 China, Guangdong, Guangzhou, ChinaUnicom
10 120.80.91.62 163.84 ms AS17816 China, Guangdong, Guangzhou, ChinaUnicom
11 *
12 *
13 *
14 *
15 *
16 *
17 *
18 *
19 *
20 *
21 *
22 *
23 *
24 *
25 *
26 *
27 *
28 *
29 *
30 *
Traceroute to China, Shanghai CU (TCP Mode, Max 30 Hop)
============================================================
traceroute to 58.247.8.158 (58.247.8.158), 30 hops max, 32 byte packets
1 45.137.97.1 0.43 ms AS63023 United States, California, Los Angeles
2 98.124.174.161 0.63 ms AS3257 United States, California, Los Angeles, gtt.net
3 *
4 173.241.128.50 0.76 ms AS3257 United States, California, Los Angeles, gtt.net
5 219.158.97.209 161.10 ms AS4837 China, Guangdong, Guangzhou, ChinaUnicom
6 219.158.103.33 161.24 ms AS4837 China, Guangdong, Guangzhou, ChinaUnicom
7 *
8 *
9 *
10 58.247.221.178 289.16 ms AS17621 China, Shanghai, ChinaUnicom
11 139.226.225.22 186.53 ms AS17621 China, Shanghai, ChinaUnicom
12 *
13 *
14 *
15 *
16 *
17 *
18 *
19 *
20 *
21 *
22 *
23 *
24 *
25 *
26 *
27 *
28 *
29 *
30 *
Traceroute to China, Beijing CU (TCP Mode, Max 30 Hop)
============================================================
traceroute to 123.125.99.1 (123.125.99.1), 30 hops max, 32 byte packets
1 45.137.97.1 0.20 ms AS63023 United States, California, Los Angeles
2 98.124.174.161 0.59 ms AS3257 United States, California, Los Angeles, gtt.net
3 *
4 199.229.231.214 1.24 ms AS3257 GTT.NET 骨干网, gtt.net
5 *
6 219.158.98.93 238.33 ms AS4837 China, Guangdong, Guangzhou, ChinaUnicom
7 219.158.24.125 157.46 ms AS4837 China, Guangdong, Guangzhou, ChinaUnicom
8 219.158.108.241 286.62 ms AS4837 China, Beijing, ChinaUnicom
9 124.65.194.74 288.50 ms AS4808 China, Beijing, ChinaUnicom
10 *
11 *
12 *
13 *
14 *
15 *
16 *
17 *
18 *
19 *
20 *
21 *
22 *
23 *
24 *
25 *
26 *
27 *
28 *
29 *
30 *
Traceroute to China, Guangzhou CM (TCP Mode, Max 30 Hop)
============================================================
traceroute to 120.196.212.25 (120.196.212.25), 30 hops max, 32 byte packets
1 45.137.97.1 0.52 ms AS63023 United States, California, Los Angeles
2 98.124.174.161 0.46 ms AS3257 United States, California, Los Angeles, gtt.net
3 213.200.124.170 0.66 ms AS3257 United States, California, Los Angeles, gtt.net
4 80.239.160.154 0.73 ms AS1299 United States, California, Los Angeles, telia.com
5 62.115.171.219 0.94 ms AS1299 United States, California, Los Angeles, telia.com
6 223.120.6.17 0.84 ms AS58453 United States, California, Los Angeles, ChinaMobile
7 223.120.16.210 153.60 ms AS58453 China, Hong Kong, ChinaMobile
8 221.183.55.90 153.12 ms AS9808 China, Guangdong, Guangzhou, ChinaMobile
9 221.183.55.78 164.97 ms AS9808 China, Guangdong, Guangzhou, ChinaMobile
10 221.176.22.237 166.07 ms AS9808 China, Guangdong, Guangzhou, ChinaMobile
11 221.176.24.157 162.15 ms AS9808 China, Guangdong, Guangzhou, ChinaMobile
12 111.24.14.78 158.13 ms AS9808 China, Guangdong, Shenzhen, ChinaMobile
13 211.136.249.113 148.29 ms AS56040 China, Guangdong, Guangzhou, ChinaMobile
14 211.136.203.2 163.32 ms AS56040 China, Guangdong, Guangzhou, ChinaMobile
15 *
16 *
17 120.196.212.25 166.92 ms AS56040 China, Guangdong, Guangzhou, ChinaMobile
Traceroute to China, Shanghai CM (TCP Mode, Max 30 Hop)
============================================================
traceroute to 221.183.55.22 (221.183.55.22), 30 hops max, 32 byte packets
1 45.137.97.1 0.28 ms AS63023 United States, California, Los Angeles
2 98.124.174.161 0.45 ms AS3257 United States, California, Los Angeles, gtt.net
3 *
4 213.254.225.170 151.97 ms AS3257 Germany, Hesse, Frankfurt, gtt.net
5 223.120.10.14 144.22 ms AS58453 Germany, Hesse, Frankfurt, ChinaMobile
6 223.120.16.166 284.13 ms AS58453 China, Shanghai, ChinaMobile
7 *
8 *
9 *
10 *
11 *
12 *
13 *
14 *
15 *
16 *
17 *
18 *
19 *
20 *
21 *
22 *
23 *
24 *
25 *
26 *
27 *
28 *
29 *
30 *
Traceroute to China, Beijing CM (TCP Mode, Max 30 Hop)
============================================================
traceroute to 211.136.25.153 (211.136.25.153), 30 hops max, 32 byte packets
1 45.137.97.1 0.23 ms AS63023 United States, California, Los Angeles
2 98.124.174.161 0.43 ms AS3257 United States, California, Los Angeles, gtt.net
3 89.149.187.114 20.46 ms AS3257 United States, California, Los Angeles, gtt.net
4 173.205.45.154 25.54 ms AS3257 United States, California, Los Angeles, gtt.net
5 223.120.6.217 0.99 ms AS58453 United States, California, Los Angeles, ChinaMobile
6 *
7 *
8 221.183.25.201 220.59 ms AS9808 China, Beijing, ChinaMobile
9 221.183.46.250 231.99 ms AS9808 China, Beijing, ChinaMobile
10 111.24.3.18 251.71 ms AS9808 China, Beijing, ChinaMobile
11 111.24.14.46 202.08 ms AS9808 China, Beijing, ChinaMobile
12 211.136.66.229 193.60 ms AS56048 China, Beijing, ChinaMobile
13 *
14 211.136.67.166 231.83 ms AS56048 China, Beijing, ChinaMobile
15 211.136.67.166 194.43 ms AS56048 China, Beijing, ChinaMobile
16 *
17 211.136.25.153 195.48 ms AS56048 China, Beijing, ChinaMobile
Traceroute to China, Beijing Dr.Peng Network IDC Network (TCP Mode, Max 30 Hop)
============================================================
traceroute to 211.167.230.100 (211.167.230.100), 30 hops max, 32 byte packets
1 45.137.97.1 0.29 ms AS63023 United States, California, Los Angeles
2 98.124.174.161 1.79 ms AS3257 United States, California, Los Angeles, gtt.net
3 *
4 173.241.128.50 4.10 ms AS3257 United States, California, Los Angeles, gtt.net
5 *
6 219.158.4.129 159.09 ms AS4837 China, Guangdong, ChinaUnicom
7 *
8 *
9 *
10 202.96.13.218 193.58 ms AS4808 China, Beijing, ChinaUnicom
11 61.149.212.242 265.45 ms AS4808 China, Beijing, ChinaUnicom
12 202.99.1.126 193.42 ms AS4808 China, Beijing, ChinaUnicom
13 218.241.255.138 193.40 ms AS4808 China, Beijing, DRPENG
14 218.241.253.130 192.57 ms AS4808 China, Beijing, DRPENG
15 *
16 211.167.230.100 194.21 ms AS17964 China, Beijing, DRPENG
----------------------------------------------------------------------------------
老刘博客

































