CubeCloud魔方云提供的VPS套餐,站长已经在文章《CubeCloud魔方云VPS方案:低至39元/月!可选香港CN2 GIA线路@50M带宽起、香港BGP混合线路@1Gbps带宽、洛杉矶CN2 GIA线路@1Gbps带宽起和洛杉矶联通AS4837线路@1Gbps带宽起》有过详尽的阐述,那么CubeCloud魔方云香港CN2 GIA线路VPS怎么样呢?这里我们主要进行香港vps主机测评来看下CubeCloud魔方云香港CN2 GIA线路VPS怎么样。
CubeCloud魔方云香港CN2 GIA线路VPS套餐名称为HKG|香港 Pro (CN2 GIA),是CubeCloud商家主打的招牌VPS产品,官方称是香港原生IP VPS,线路非常优秀,电信CN2 GIA、联通CU10099、移动CMI+ NTT、Softlayer、CDN77、HE、HKIX接入,大陆方向去程回程均为直连!电信去程CN2 GIA,联通去程AS10099,移动去程CMI国际骨干直连,三网回程均为CN2 GIA!所以低延迟直连访问保障!那么接下来我们具体来看下是不是这样的。
魔方云CubeCloud官网:https://www.cubecloud.net,香港Pro(CN2 GIA)测试IP: lg.a.hk.cubecloud.net
CubeCloud魔方云香港CN2 GIA线路VPS测评分析:
CPU为e5-2680v4,2.4GHz的主频,机器默认开启了BBR,当前I/O大致在460MB/s的样子,不支持解锁TikTok:
这款VPS是香港原生IP的:
国内77个节点的延迟测试:
FIO继续测试硬盘读写数据的情况:
iperf3跑欧美的节点,大致数据如下(IPv4、IPv6都有了,这款机器是有1个IPv4和25个IPv6):
站长开的是50Mbps带宽的香港VPS,用speedtest.net在国内的节点跑一把,看看上行和下行的带宽能跑到什么样子?大致数据如下:
去程路由追踪测试
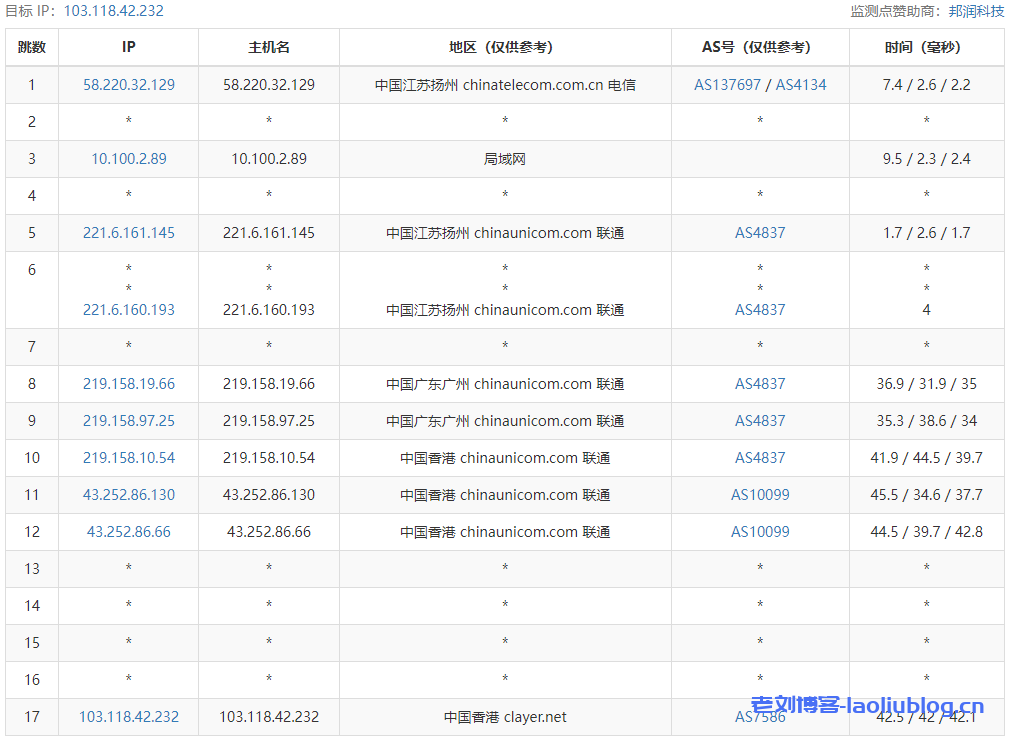
联通去程
移动去程
回程路由追踪测试
Traceroute to China, Guangzhou CT (TCP Mode, Max 30 Hop)
============================================================
traceroute to 113.108.209.1 (113.108.209.1), 30 hops max, 32 byte packets
1 103.118.42.1 0.60 ms AS7586 China, Hong Kong, clayer.net
2 *
3 *
4 10.1.10.145 4.53 ms * LAN Address
5 192.168.128.196 3.81 ms * LAN Address
6 203.34.194.5 7.18 ms AS23764 China, Hong Kong, ChinaTelecom
7 69.194.166.57 7.74 ms AS23764 China, Hong Kong, ChinaTelecom
8 203.22.178.94 12.44 ms * China, Hong Kong, ChinaTelecom
9 *
10 59.43.16.165 15.56 ms * China, Guangdong, Guangzhou, ChinaTelecom
11 202.97.43.81 14.19 ms AS4134 China, Guangdong, Guangzhou, ChinaTelecom
12 113.96.4.42 20.04 ms AS4134 China, Guangdong, Guangzhou, ChinaTelecom
13 113.108.209.1 16.50 ms AS4134 China, Guangdong, Guangzhou, ChinaTelecom
Traceroute to China, Shanghai CT (TCP Mode, Max 30 Hop)
============================================================
traceroute to 180.153.28.5 (180.153.28.5), 30 hops max, 32 byte packets
1 103.118.42.1 0.55 ms AS7586 China, Hong Kong, clayer.net
2 *
3 *
4 10.1.10.145 7.79 ms * LAN Address
5 192.168.128.196 7.66 ms * LAN Address
6 203.34.194.5 7.05 ms AS23764 China, Hong Kong, ChinaTelecom
7 69.194.166.33 7.55 ms AS23764 China, Hong Kong, ChinaTelecom
8 203.22.178.86 34.23 ms * China, Hong Kong, ChinaTelecom
9 *
10 *
11 101.95.88.194 34.55 ms AS4812 China, Shanghai, ChinaTelecom
12 *
13 101.95.225.158 39.34 ms AS4811 China, Shanghai, ChinaTelecom
14 *
15 *
16 *
17 *
18 *
19 *
20 *
21 *
22 *
23 *
24 *
25 *
26 *
27 *
28 *
29 *
30 *
Traceroute to China, Beijing CT (TCP Mode, Max 30 Hop)
============================================================
traceroute to 180.149.128.9 (180.149.128.9), 30 hops max, 32 byte packets
1 103.118.42.1 0.78 ms AS7586 China, Hong Kong, clayer.net
2 *
3 *
4 10.1.10.145 19.13 ms * LAN Address
5 192.168.128.196 3.92 ms * LAN Address
6 203.34.194.5 7.16 ms AS23764 China, Hong Kong, ChinaTelecom
7 69.194.166.45 7.46 ms AS23764 China, Hong Kong, ChinaTelecom
8 *
9 *
10 59.43.132.13 43.90 ms * China, Beijing, ChinaTelecom
11 *
12 36.110.251.154 42.93 ms AS23724 China, Beijing, ChinaTelecom
13 36.110.251.73 44.35 ms AS23724 China, Beijing, ChinaTelecom
14 *
15 *
16 *
17 *
18 *
19 *
20 *
21 *
22 *
23 *
24 *
25 *
26 *
27 *
28 *
29 *
30 *
Traceroute to China, Guangzhou CU (TCP Mode, Max 30 Hop)
============================================================
traceroute to 210.21.4.130 (210.21.4.130), 30 hops max, 32 byte packets
1 103.118.42.1 0.43 ms AS7586 China, Hong Kong, clayer.net
2 *
3 *
4 10.1.10.145 4.75 ms * LAN Address
5 192.168.128.196 4.61 ms * LAN Address
6 203.34.194.5 6.95 ms AS23764 China, Hong Kong, ChinaTelecom
7 69.194.166.57 7.96 ms AS23764 China, Hong Kong, ChinaTelecom
8 203.22.178.90 12.91 ms * China, Hong Kong, ChinaTelecom
9 *
10 *
11 59.43.156.193 14.56 ms * China, Guangdong, Guangzhou, ChinaTelecom
12 219.158.103.173 20.08 ms AS4837 China, Guangdong, Guangzhou, ChinaUnicom
13 120.86.0.182 17.84 ms AS17816 China, Guangdong, Guangzhou, ChinaUnicom
14 120.86.0.182 17.83 ms AS17816 China, Guangdong, Guangzhou, ChinaUnicom
15 *
16 *
17 *
18 *
19 *
20 *
21 *
22 *
23 *
24 *
25 *
26 *
27 *
28 *
29 *
30 *
Traceroute to China, Shanghai CU (TCP Mode, Max 30 Hop)
============================================================
traceroute to 58.247.8.158 (58.247.8.158), 30 hops max, 32 byte packets
1 103.118.42.1 0.53 ms AS7586 China, Hong Kong, clayer.net
2 *
3 *
4 10.1.10.145 5.80 ms * LAN Address
5 192.168.128.196 3.71 ms * LAN Address
6 203.34.194.5 6.95 ms AS23764 China, Hong Kong, ChinaTelecom
7 69.194.166.49 7.82 ms AS23764 China, Hong Kong, ChinaTelecom
8 203.22.178.82 31.62 ms * China, Hong Kong, ChinaTelecom
9 *
10 59.43.138.53 35.84 ms * China, Shanghai, ChinaTelecom
11 219.158.38.241 38.24 ms AS4837 China, Shanghai, ChinaUnicom
12 219.158.9.97 40.74 ms AS4837 China, Shanghai, ChinaUnicom
13 *
14 58.247.221.178 40.45 ms AS17621 China, Shanghai, ChinaUnicom
15 139.226.225.22 40.81 ms AS17621 China, Shanghai, ChinaUnicom
16 58.247.8.153 51.10 ms AS17621 China, Shanghai, ChinaUnicom
17 *
18 *
19 *
20 *
21 *
22 *
23 *
24 *
25 *
26 *
27 *
28 *
29 *
30 *
Traceroute to China, Beijing CU (TCP Mode, Max 30 Hop)
============================================================
traceroute to 123.125.99.1 (123.125.99.1), 30 hops max, 32 byte packets
1 103.118.42.1 1.02 ms AS7586 China, Hong Kong, clayer.net
2 *
3 *
4 10.1.10.145 3.55 ms * LAN Address
5 192.168.128.196 13.65 ms * LAN Address
6 203.34.194.5 8.52 ms AS23764 China, Hong Kong, ChinaTelecom
7 69.194.166.45 7.44 ms AS23764 China, Hong Kong, ChinaTelecom
8 203.22.178.98 43.16 ms * China, Hong Kong, ChinaTelecom
9 *
10 59.43.132.9 43.90 ms * China, Beijing, ChinaTelecom
11 202.97.42.13 42.59 ms AS4134 China, Beijing, ChinaTelecom
12 *
13 219.158.44.125 50.11 ms AS4837 China, Beijing, ChinaUnicom
14 61.51.169.146 46.68 ms AS4808 China, Beijing, ChinaUnicom
15 *
16 219.232.11.130 74.68 ms AS4808 China, Beijing, ChinaUnicom
17 *
18 *
19 *
20 *
21 *
22 *
23 *
24 *
25 *
26 *
27 *
28 *
29 *
30 *
Traceroute to China, Guangzhou CM (TCP Mode, Max 30 Hop)
============================================================
traceroute to 120.196.212.25 (120.196.212.25), 30 hops max, 32 byte packets
1 103.118.42.1 0.43 ms AS7586 China, Hong Kong, clayer.net
2 *
3 *
4 10.1.10.145 3.91 ms * LAN Address
5 192.168.128.196 3.56 ms * LAN Address
6 203.34.194.5 7.04 ms AS23764 China, Hong Kong, ChinaTelecom
7 69.194.166.33 7.62 ms AS23764 China, Hong Kong, ChinaTelecom
8 203.22.178.90 12.85 ms * China, Hong Kong, ChinaTelecom
9 *
10 59.43.130.157 14.82 ms * China, Guangdong, Guangzhou, ChinaTelecom
11 *
12 202.97.95.114 19.93 ms AS4134 China, Guangdong, Guangzhou, ChinaTelecom
13 *
14 221.183.90.213 69.17 ms AS9808 China, Guangdong, Guangzhou, ChinaMobile
15 *
16 211.136.249.113 19.17 ms AS56040 China, Guangdong, Guangzhou, ChinaMobile
17 211.136.196.210 74.26 ms AS56040 China, Guangdong, Guangzhou, ChinaMobile
18 211.136.196.246 72.12 ms AS56040 China, Guangdong, Guangzhou, ChinaMobile
19 *
20 *
21 120.196.212.25 74.57 ms AS56040 China, Guangdong, Guangzhou, ChinaMobile
Traceroute to China, Shanghai CM (TCP Mode, Max 30 Hop)
============================================================
traceroute to 221.183.55.22 (221.183.55.22), 30 hops max, 32 byte packets
1 103.118.42.1 0.52 ms AS7586 China, Hong Kong, clayer.net
2 *
3 *
4 10.1.10.145 49.49 ms * LAN Address
5 192.168.128.196 3.61 ms * LAN Address
6 203.34.194.5 7.18 ms AS23764 China, Hong Kong, ChinaTelecom
7 69.194.166.57 9.18 ms AS23764 China, Hong Kong, ChinaTelecom
8 *
9 *
10 59.43.16.181 16.94 ms * China, Guangdong, Guangzhou, ChinaTelecom
11 *
12 202.97.62.106 36.93 ms AS4134 China, Shanghai, ChinaTelecom
13 221.183.90.153 63.04 ms AS9808 China, Shanghai, ChinaMobile
14 *
15 *
16 *
17 *
18 *
19 *
20 *
21 *
22 *
23 *
24 *
25 *
26 *
27 *
28 *
29 *
30 *
Traceroute to China, Beijing CM (TCP Mode, Max 30 Hop)
============================================================
traceroute to 211.136.25.153 (211.136.25.153), 30 hops max, 32 byte packets
1 103.118.42.1 0.43 ms AS7586 China, Hong Kong, clayer.net
2 *
3 *
4 10.1.10.145 4.67 ms * LAN Address
5 192.168.128.196 3.56 ms * LAN Address
6 203.34.194.5 7.07 ms AS23764 China, Hong Kong, ChinaTelecom
7 69.194.166.45 7.47 ms AS23764 China, Hong Kong, ChinaTelecom
8 *
9 *
10 59.43.131.253 45.16 ms * China, Beijing, ChinaTelecom
11 *
12 *
13 221.183.128.81 99.61 ms AS9808 China, Beijing, ChinaMobile
14 *
15 221.183.39.122 98.00 ms AS9808 China, Beijing, ChinaMobile
16 *
17 211.136.67.166 100.66 ms AS56048 China, Beijing, ChinaMobile
18 211.136.95.226 101.41 ms AS56048 China, Beijing, ChinaMobile
19 211.136.95.226 102.18 ms AS56048 China, Beijing, ChinaMobile
20 *
21 *
22 211.136.25.153 102.01 ms AS56048 China, Beijing, ChinaMobile
Traceroute to China, Beijing Dr.Peng Network IDC Network (TCP Mode, Max 30 Hop)
============================================================
traceroute to 211.167.230.100 (211.167.230.100), 30 hops max, 32 byte packets
1 103.118.42.1 0.60 ms AS7586 China, Hong Kong, clayer.net
2 *
3 *
4 10.1.10.145 8.39 ms * LAN Address
5 192.168.128.196 5.42 ms * LAN Address
6 203.34.194.5 7.93 ms AS23764 China, Hong Kong, ChinaTelecom
7 69.194.166.45 7.53 ms AS23764 China, Hong Kong, ChinaTelecom
8 *
9 *
10 59.43.132.13 43.99 ms * China, Beijing, ChinaTelecom
11 202.97.42.13 41.70 ms AS4134 China, Beijing, ChinaTelecom
12 *
13 *
14 219.158.103.209 48.12 ms AS4837 China, Beijing, ChinaUnicom
15 61.149.212.242 43.47 ms AS4808 China, Beijing, ChinaUnicom
16 202.99.1.238 50.92 ms AS4808 China, Beijing, ChinaUnicom
17 61.149.212.242 44.49 ms AS4808 China, Beijing, ChinaUnicom
18 218.241.253.134 52.01 ms AS4808 China, Beijing, DRPENG
19 124.205.97.138 48.62 ms AS4808 China, Beijing, DRPENG
20 218.241.253.134 51.99 ms AS4808 China, Beijing, DRPENG
21 211.167.230.100 46.12 ms AS17964 China, Beijing, DRPENG
----------------------------------------------------------------------------------
流媒体解锁情况测试
Unixbench跑分测试
CubeCloud魔方云香港CN2 GIA线路VPS方案:
第一款为本次测试机配置。
老刘博客



































