昨天站长分享了童话镇VPS套餐:童話鎮VPS:$0.99/月/512MB内存/10GB SSD空间/500GB流量/1Gbps端口/KVM/香港/日本/新加坡,那么newtudou怎么样?这里站长入手了一台童話鎮香港CN2 VPS【HK Ldgia Pro vps – hkcn2.Pro.40.S1】进行了简单测评,来看下其国内延迟、丢包率、性能和带宽、路由去回程、解锁流媒体和TikTok检测情况。
注意,注册时请提供真实资料,比如与IP地址一致,paypal账号需不是风险账号,否则会被判定订单欺诈!
童話鎮官网:客戶系統 – 童話鎮 (newtudou.com)
童話鎮香港国内直连、优化线路KVM VPS方案(标红的是本次测评VPS套餐):
| vCPU | 内存 | 空间 | 流量 | 端口 | 价格 | 链接 |
|---|---|---|---|---|---|---|
| 1 | 1GB | 10GB SSD | 500GB | 30Mbps | ¥40.65/月,香港 | 购买链接 |
| 2 | 2GB | 20GB SSD | 1TB | 30Mbps | ¥71.74/月,香港 | 购买链接 |
| 2 | 2GB | 50GB SSD | 2TB | 200Mbps | ¥143.55/月,香港 | 购买链接 |
童話鎮香港CN2 VPS测评分享:
CPU为e5-2683v4,2.1GHz的主频,当前I/O大致在256MB/s的样子,支持解锁港区奈飞流媒体,不支持解锁TikTok:
FIO继续测试硬盘读写数据的情况:
站长开的是30Mbps带宽的香港VPS,用speedtest.net在国内的节点跑一把,看看上行和下行的带宽能跑到什么样子?大致数据如下:
VPS本地上传、下载文件速度还是很重要的,1.9GB视频文件上传仅花费了不到7分钟,平均速度4.65MB/s:
下载速度3.3MB/s,差不多花费9分钟时间:
iperf3跑欧美的节点,大致数据如下:
国内79个节点的延迟测试:
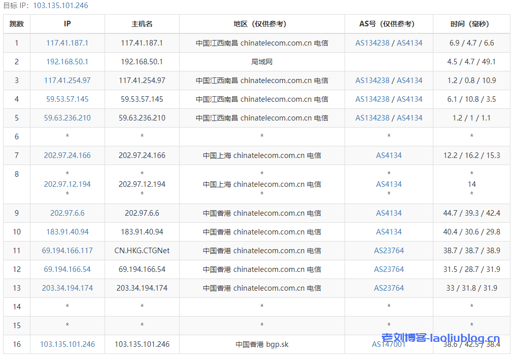
去程路由追踪测试
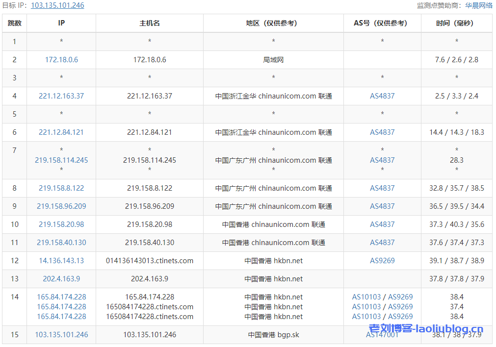
回程路由追踪测试
Traceroute to China, Guangzhou CT (TCP Mode, Max 30 Hop)
============================================================
traceroute to 113.108.209.1 (113.108.209.1), 30 hops max, 32 byte packets
1 103.100.157.1 0.44 ms AS147001 China, Hong Kong, letidc.com
2 172.16.20.145 0.96 ms * LAN Address
3 172.16.12.17 2.14 ms * LAN Address
4 203.34.194.173 1.34 ms AS23764 China, Hong Kong, ChinaTelecom
5 69.194.165.186 5.01 ms AS23764 China, Hong Kong, ChinaTelecom
6 203.22.178.90 5.20 ms * China, Hong Kong, ChinaTelecom
7 *
8 59.43.16.181 10.55 ms * China, Guangdong, Guangzhou, ChinaTelecom
9 *
10 113.96.4.222 14.30 ms AS4134 China, Guangdong, Guangzhou, ChinaTelecom
11 113.108.209.1 8.68 ms AS4134 China, Guangdong, Guangzhou, ChinaTelecom
Traceroute to China, Shanghai CT (TCP Mode, Max 30 Hop)
============================================================
traceroute to 180.153.28.5 (180.153.28.5), 30 hops max, 32 byte packets
1 103.100.157.1 0.36 ms AS147001 China, Hong Kong, letidc.com
2 172.16.20.145 0.96 ms * LAN Address
3 172.16.12.17 1.12 ms * LAN Address
4 203.34.194.173 1.20 ms AS23764 China, Hong Kong, ChinaTelecom
5 69.194.165.186 1.76 ms AS23764 China, Hong Kong, ChinaTelecom
6 203.22.178.82 24.65 ms * China, Hong Kong, ChinaTelecom
7 *
8 59.43.159.97 25.30 ms * China, Shanghai, ChinaTelecom
9 101.95.88.214 36.17 ms AS4812 China, Shanghai, ChinaTelecom
10 *
11 101.95.225.38 28.80 ms AS4811 China, Shanghai, ChinaTelecom
12 *
13 *
14 *
15 *
16 *
17 *
18 *
19 *
20 *
21 *
22 *
23 *
24 *
25 *
26 *
27 *
28 *
29 *
30 *
Traceroute to China, Beijing CT (TCP Mode, Max 30 Hop)
============================================================
traceroute to 180.149.128.9 (180.149.128.9), 30 hops max, 32 byte packets
1 103.100.157.1 0.45 ms AS147001 China, Hong Kong, letidc.com
2 172.16.20.145 7.57 ms * LAN Address
3 172.16.12.17 5.11 ms * LAN Address
4 203.34.194.173 5.22 ms AS23764 China, Hong Kong, ChinaTelecom
5 69.194.166.57 5.61 ms AS23764 China, Hong Kong, ChinaTelecom
6 203.22.178.102 34.92 ms * China, Hong Kong, ChinaTelecom
7 59.43.181.209 46.92 ms * China, ChinaTelecom
8 59.43.19.93 45.68 ms * China, Beijing, ChinaTelecom
9 *
10 36.110.251.154 39.50 ms AS23724 China, Beijing, ChinaTelecom
11 *
12 *
13 *
14 *
15 *
16 *
17 *
18 *
19 *
20 *
21 *
22 *
23 *
24 *
25 *
26 *
27 *
28 *
29 *
30 *
Traceroute to China, Guangzhou CU (TCP Mode, Max 30 Hop)
============================================================
traceroute to 210.21.4.130 (210.21.4.130), 30 hops max, 32 byte packets
1 103.100.157.1 0.43 ms AS147001 China, Hong Kong, letidc.com
2 84.17.33.124 0.43 ms AS60068 CDN77.COM 骨干网, cdn77.com
3 203.131.242.153 1.61 ms AS2914 China, Hong Kong, ntt.com
4 129.250.6.93 1.68 ms AS2914 China, Hong Kong, ntt.com
5 129.250.2.50 47.87 ms AS2914 Japan, Tokyo, ntt.com
6 129.250.3.33 51.73 ms AS2914 Japan, Tokyo, ntt.com
7 129.250.66.162 60.20 ms AS2914 NTT.COM 骨干网, ntt.com
8 219.158.97.30 66.05 ms AS4837 China, Guangdong, Guangzhou, ChinaUnicom
9 219.158.8.113 60.74 ms AS4837 China, Guangdong, Guangzhou, ChinaUnicom
10 120.83.0.54 55.89 ms AS17816 China, Guangdong, Guangzhou, ChinaUnicom
11 120.80.170.254 67.12 ms AS17622 China, Guangdong, Guangzhou, ChinaUnicom
12 *
13 *
14 *
15 *
16 *
17 *
18 *
19 *
20 *
21 *
22 *
23 *
24 *
25 *
26 *
27 *
28 *
29 *
30 *
Traceroute to China, Shanghai CU (TCP Mode, Max 30 Hop)
============================================================
traceroute to 58.247.8.158 (58.247.8.158), 30 hops max, 32 byte packets
1 103.100.157.1 0.52 ms AS147001 China, Hong Kong, letidc.com
2 172.16.20.145 0.93 ms * LAN Address
3 172.16.12.17 1.43 ms * LAN Address
4 203.34.194.173 1.23 ms AS23764 China, Hong Kong, ChinaTelecom
5 69.194.166.57 7.87 ms AS23764 China, Hong Kong, ChinaTelecom
6 203.22.178.82 29.96 ms * China, Hong Kong, ChinaTelecom
7 59.43.247.197 24.73 ms * China, Shanghai, ChinaTelecom
8 59.43.159.97 26.68 ms * China, Shanghai, ChinaTelecom
9 219.158.38.241 34.56 ms AS4837 China, Shanghai, ChinaUnicom
10 *
11 *
12 58.247.221.178 30.29 ms AS17621 China, Shanghai, ChinaUnicom
13 139.226.225.22 29.84 ms AS17621 China, Shanghai, ChinaUnicom
14 58.247.8.153 47.82 ms AS17621 China, Shanghai, ChinaUnicom
15 *
16 *
17 *
18 *
19 *
20 *
21 *
22 *
23 *
24 *
25 *
26 *
27 *
28 *
29 *
30 *
Traceroute to China, Beijing CU (TCP Mode, Max 30 Hop)
============================================================
traceroute to 123.125.99.1 (123.125.99.1), 30 hops max, 32 byte packets
1 103.100.157.1 2.47 ms AS147001 China, Hong Kong, letidc.com
2 172.16.20.145 2.47 ms * LAN Address
3 172.16.12.17 5.14 ms * LAN Address
4 203.34.194.173 1.15 ms AS23764 China, Hong Kong, ChinaTelecom
5 69.194.166.57 11.30 ms AS23764 China, Hong Kong, ChinaTelecom
6 203.22.178.102 36.33 ms * China, Hong Kong, ChinaTelecom
7 59.43.181.241 47.34 ms * China, ChinaTelecom
8 59.43.19.97 44.23 ms * China, Beijing, ChinaTelecom
9 219.158.40.165 37.89 ms AS4837 China, Beijing, ChinaUnicom
10 *
11 219.158.41.21 44.59 ms AS4837 China, Beijing, ChinaUnicom
12 219.232.11.130 48.19 ms AS4808 China, Beijing, ChinaUnicom
13 *
14 61.51.169.146 40.47 ms AS4808 China, Beijing, ChinaUnicom
15 *
16 *
17 *
18 *
19 *
20 *
21 *
22 *
23 *
24 *
25 *
26 *
27 *
28 *
29 *
30 *
Traceroute to China, Guangzhou CM (TCP Mode, Max 30 Hop)
============================================================
traceroute to 120.196.212.25 (120.196.212.25), 30 hops max, 32 byte packets
1 103.100.157.1 0.41 ms AS147001 China, Hong Kong, letidc.com
2 172.16.20.145 6.76 ms * LAN Address
3 172.16.12.17 1.49 ms * LAN Address
4 203.34.194.173 1.16 ms AS23764 China, Hong Kong, ChinaTelecom
5 69.194.166.53 1.77 ms AS23764 China, Hong Kong, ChinaTelecom
6 *
7 *
8 *
9 202.97.43.81 10.33 ms AS4134 China, Guangdong, Guangzhou, ChinaTelecom
10 202.97.95.122 13.45 ms AS4134 China, Guangdong, Guangzhou, ChinaTelecom
11 221.183.128.89 11.70 ms AS9808 China, Guangdong, Guangzhou, ChinaMobile
12 221.183.90.217 38.38 ms AS9808 China, Guangdong, Guangzhou, ChinaMobile
13 *
14 *
15 211.139.180.110 11.87 ms AS56040 China, Guangdong, Guangzhou, ChinaMobile
16 211.139.180.110 13.39 ms AS56040 China, Guangdong, Guangzhou, ChinaMobile
17 *
18 *
19 120.196.212.25 18.29 ms AS56040 China, Guangdong, Guangzhou, ChinaMobile
Traceroute to China, Shanghai CM (TCP Mode, Max 30 Hop)
============================================================
traceroute to 221.183.55.22 (221.183.55.22), 30 hops max, 32 byte packets
1 103.100.157.1 0.48 ms AS147001 China, Hong Kong, letidc.com
2 172.16.20.145 1.04 ms * LAN Address
3 172.16.12.17 1.28 ms * LAN Address
4 203.34.194.173 2.67 ms AS23764 China, Hong Kong, ChinaTelecom
5 69.194.165.186 10.26 ms AS23764 China, Hong Kong, ChinaTelecom
6 *
7 59.43.39.177 30.04 ms * China, Shanghai, ChinaTelecom
8 59.43.16.165 15.74 ms * China, Guangdong, Guangzhou, ChinaTelecom
9 *
10 202.97.61.54 29.18 ms AS4134 China, Shanghai, ChinaTelecom
11 *
12 *
13 *
14 *
15 *
16 *
17 *
18 *
19 *
20 *
21 *
22 *
23 *
24 *
25 *
26 *
27 *
28 *
29 *
30 *
Traceroute to China, Beijing CM (TCP Mode, Max 30 Hop)
============================================================
traceroute to 211.136.25.153 (211.136.25.153), 30 hops max, 32 byte packets
1 103.100.157.1 0.41 ms AS147001 China, Hong Kong, letidc.com
2 172.16.20.145 1.07 ms * LAN Address
3 172.16.12.17 53.47 ms * LAN Address
4 203.34.194.173 1.72 ms AS23764 China, Hong Kong, ChinaTelecom
5 69.194.166.45 1.79 ms AS23764 China, Hong Kong, ChinaTelecom
6 203.22.178.98 35.83 ms * China, Hong Kong, ChinaTelecom
7 59.43.182.109 36.90 ms * China, ChinaTelecom
8 59.43.19.93 45.66 ms * China, Beijing, ChinaTelecom
9 202.97.42.13 40.86 ms AS4134 China, Beijing, ChinaTelecom
10 202.97.17.94 38.99 ms AS4134 China, Beijing, ChinaTelecom
11 *
12 *
13 *
14 211.136.66.121 45.38 ms AS56048 China, Beijing, ChinaMobile
15 211.136.63.66 42.78 ms AS56048 China, Beijing, ChinaMobile
16 211.136.95.226 42.67 ms AS56048 China, Beijing, ChinaMobile
17 *
18 *
19 *
20 211.136.25.153 43.79 ms AS56048 China, Beijing, ChinaMobile
Traceroute to China, Beijing Dr.Peng Network IDC Network (TCP Mode, Max 30 Hop)
============================================================
traceroute to 211.167.230.100 (211.167.230.100), 30 hops max, 32 byte packets
1 103.100.157.1 0.43 ms AS147001 China, Hong Kong, letidc.com
2 172.16.20.145 3.26 ms * LAN Address
3 172.16.12.17 1.09 ms * LAN Address
4 203.34.194.173 1.70 ms AS23764 China, Hong Kong, ChinaTelecom
5 69.194.166.49 1.66 ms AS23764 China, Hong Kong, ChinaTelecom
6 203.22.178.102 34.82 ms * China, Hong Kong, ChinaTelecom
7 59.43.182.209 36.18 ms * China, ChinaTelecom
8 59.43.132.17 43.46 ms * China, Beijing, ChinaTelecom
9 219.158.40.165 37.95 ms AS4837 China, Beijing, ChinaUnicom
10 *
11 *
12 *
13 *
14 202.96.13.222 37.85 ms AS4808 China, Beijing, ChinaUnicom
15 61.149.212.242 43.15 ms AS4808 China, Beijing, ChinaUnicom
16 202.99.1.134 40.24 ms AS4808 China, Beijing, ChinaUnicom
17 211.167.230.100 56.41 ms AS17964 China, Beijing, DRPENG
----------------------------------------------------------------------------------
流媒体解锁情况测试
Unixbench跑分测试
老刘博客







































