我们在前文分享了JustHost商家新上架了几个机房的消息:JustHost新增加拿大多伦多、芬兰赫尔辛基、美国洛杉矶VPS,低至$4.6/月!,那么JustHost怎么样呢?今天商家邀约站长测评下这三个机房的VPS性能,我们就以加拿大多伦多机房打头阵,测下这个数据中心的VPS性能。测评之前,我们再介绍下JustHost加拿大多伦多VPS:
JustHost新增的加拿大多伦多数据中心VPS,依旧还是祖传200M带宽起步,最高1Gbps带宽,不限制流量,硬盘分SAS\SSD\NVMe三种,支持自定义配置,CPU、内存、硬盘、带宽、IP都可以根据自己的需求选择大小…. 信用卡、paypal、支付宝等都可以付款。
JustHost官网:https://justhost.ru(已和谐),justhost.asia/just.hosting(镜像站)目前国内可访问
JustHost优惠码:LET20 (8折优惠,适用月付,购买时候在评论框中输入回车即可!)
这台VPS的CPU是E5-2695v4,2.1GHz主频,I/O磁盘大致640M/s:
FIO再次测试下硬盘的读写数据的情况:
国内三网79个节点的网络延迟整体情况:
欧美的iperf3测试,可以参考,这里包括IPv4和IPv6的网路效果:
speedtest.net在国内的三网不同节点跑一下:
上海移动1000M带宽本地上传速度,速度不快,下载就不测了,网友测试下载在10MB/s左右:
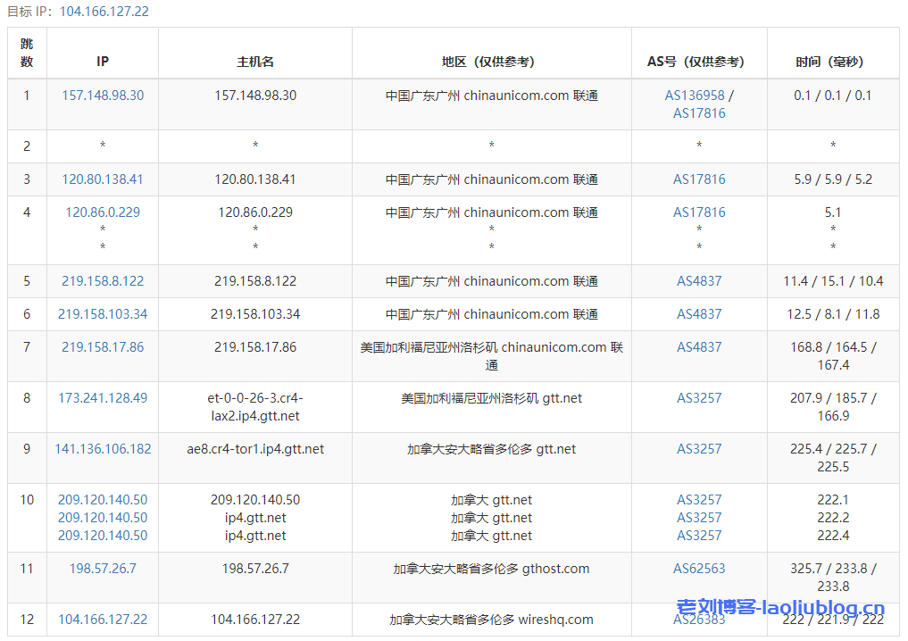
去程路由追踪测试
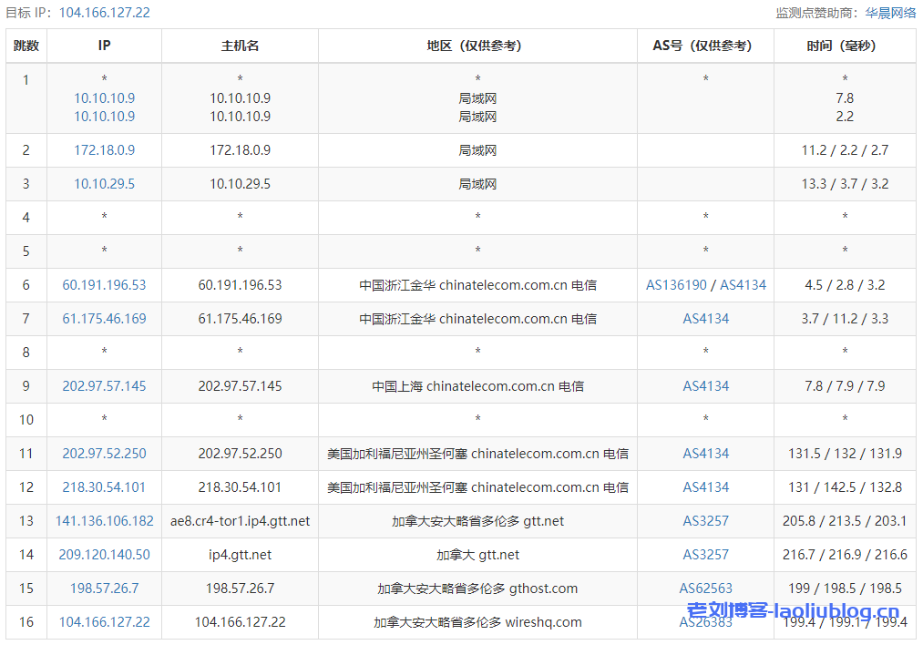
电信去程,电信骨干对接GTT
移动去程,国际CMI对接cogent,从美国洛杉矶登录然后去加拿大
回程路由追踪测试
回程,到国内电信:走GTT到美国纽约然后到洛杉矶/圣何塞,从电信在洛杉矶/圣何塞的节点直连回来;
回程,到国内联通:走GTT从加拿大到美国洛杉矶,在洛杉矶转联通自己的AS4837回国;
回程,到国内移动:走GTT或者cogent从家拿到美国洛杉矶或者圣何塞,然后从移动在洛杉矶或者圣何塞的节点直接直连回国。
Traceroute to China, Guangzhou CT (TCP Mode, Max 30 Hop)
============================================================
traceroute to 113.108.209.1 (113.108.209.1), 30 hops max, 32 byte packets
1 104.166.127.1 1.13 ms AS26383 Canada, Ontario, Toronto, wireshq.com
2 198.57.26.6 0.34 ms AS62563 Canada, Ontario, Toronto, gthost.com
3 209.120.140.49 34.43 ms AS3257 Canada, gtt.net
4 89.149.129.218 10.74 ms AS3257 United States, New York, New York City, gtt.net
5 218.30.53.81 17.60 ms AS4134 United States, New York, New York City, ChinaTelecom
6 202.97.18.57 63.87 ms AS4134 United States, California, Los Angeles, ChinaTelecom
7 202.97.43.105 230.37 ms AS4134 China, Guangdong, Guangzhou, ChinaTelecom
8 *
9 202.97.82.21 219.13 ms AS4134 China, Guangdong, Guangzhou, ChinaTelecom
10 *
11 113.108.209.1 214.70 ms AS4134 China, Guangdong, Guangzhou, ChinaTelecom
Traceroute to China, Shanghai CT (TCP Mode, Max 30 Hop)
============================================================
traceroute to 180.153.28.5 (180.153.28.5), 30 hops max, 32 byte packets
1 104.166.127.1 0.91 ms AS26383 Canada, Ontario, Toronto, wireshq.com
2 198.57.26.6 0.34 ms AS62563 Canada, Ontario, Toronto, gthost.com
3 209.120.140.49 3.45 ms AS3257 Canada, gtt.net
4 89.149.129.218 10.93 ms AS3257 United States, New York, New York City, gtt.net
5 218.30.53.81 13.72 ms AS4134 United States, New York, New York City, ChinaTelecom
6 202.97.18.61 68.27 ms AS4134 United States, California, Los Angeles, ChinaTelecom
7 *
8 *
9 202.97.24.141 203.88 ms AS4134 China, Shanghai, ChinaTelecom
10 61.152.25.57 237.33 ms AS4812 China, Shanghai, ChinaTelecom
11 124.74.166.222 193.54 ms AS4812 China, Shanghai, ChinaTelecom
12 124.74.232.62 196.44 ms AS4811 China, Shanghai, ChinaTelecom
13 *
14 *
15 *
16 *
17 *
18 *
19 *
20 *
21 *
22 *
23 *
24 *
25 *
26 *
27 *
28 *
29 *
30 *
Traceroute to China, Beijing CT (TCP Mode, Max 30 Hop)
============================================================
traceroute to 180.149.128.9 (180.149.128.9), 30 hops max, 32 byte packets
1 104.166.127.1 1.42 ms AS26383 Canada, Ontario, Toronto, wireshq.com
2 198.57.26.6 1.93 ms AS62563 Canada, Ontario, Toronto, gthost.com
3 209.120.140.49 6.68 ms AS3257 Canada, gtt.net
4 89.149.129.218 10.71 ms AS3257 United States, New York, New York City, gtt.net
5 218.30.53.81 15.42 ms AS4134 United States, New York, New York City, ChinaTelecom
6 202.97.18.57 70.15 ms AS4134 United States, California, Los Angeles, ChinaTelecom
7 202.97.52.21 212.50 ms AS4134 China, Beijing, ChinaTelecom
8 *
9 *
10 *
11 *
12 *
13 *
14 *
15 *
16 *
17 *
18 *
19 *
20 *
21 *
22 *
23 *
24 *
25 *
26 *
27 *
28 *
29 *
30 *
Traceroute to China, Guangzhou CU (TCP Mode, Max 30 Hop)
============================================================
traceroute to 210.21.4.130 (210.21.4.130), 30 hops max, 32 byte packets
1 104.166.127.1 1.08 ms AS26383 Canada, Ontario, Toronto, wireshq.com
2 198.57.26.6 0.71 ms AS62563 Canada, Ontario, Toronto, gthost.com
3 209.120.140.49 0.48 ms AS3257 Canada, gtt.net
4 89.149.141.29 64.55 ms AS3257 United States, California, San Jose, gtt.net
5 219.158.39.105 61.11 ms AS4837 United States, California, San Jose, ChinaUnicom
6 219.158.116.249 252.18 ms AS4837 China, Shanghai, ChinaUnicom
7 219.158.113.138 204.69 ms AS4837 China, Shanghai, ChinaUnicom
8 219.158.113.101 220.02 ms AS4837 China, Shanghai, ChinaUnicom
9 *
10 120.83.0.58 239.46 ms AS17816 China, Guangdong, Guangzhou, ChinaUnicom
11 120.80.175.62 240.95 ms AS17622 China, Guangdong, Guangzhou, ChinaUnicom
12 *
13 *
14 *
15 *
16 *
17 *
18 *
19 *
20 *
21 *
22 *
23 *
24 *
25 *
26 *
27 *
28 *
29 *
30 *
Traceroute to China, Shanghai CU (TCP Mode, Max 30 Hop)
============================================================
traceroute to 58.247.8.158 (58.247.8.158), 30 hops max, 32 byte packets
1 104.166.127.1 0.86 ms AS26383 Canada, Ontario, Toronto, wireshq.com
2 198.57.26.6 0.27 ms AS62563 Canada, Ontario, Toronto, gthost.com
3 209.120.140.49 0.79 ms AS3257 Canada, gtt.net
4 89.149.140.77 59.43 ms AS3257 United States, California, Los Angeles, gtt.net
5 173.241.128.46 61.60 ms AS3257 United States, gtt.net
6 219.158.96.233 222.33 ms AS4837 China, Guangdong, Guangzhou, ChinaUnicom
7 219.158.97.30 219.43 ms AS4837 China, Guangdong, Guangzhou, ChinaUnicom
8 *
9 *
10 *
11 139.226.228.46 317.79 ms AS17621 China, Shanghai, ChinaUnicom
12 139.226.225.22 242.13 ms AS17621 China, Shanghai, ChinaUnicom
13 58.247.8.153 289.15 ms AS17621 China, Shanghai, ChinaUnicom
14 *
15 *
16 *
17 *
18 *
19 *
20 *
21 *
22 *
23 *
24 *
25 *
26 *
27 *
28 *
29 *
30 *
Traceroute to China, Beijing CU (TCP Mode, Max 30 Hop)
============================================================
traceroute to 123.125.99.1 (123.125.99.1), 30 hops max, 32 byte packets
1 104.166.127.1 0.82 ms AS26383 Canada, Ontario, Toronto, wireshq.com
2 198.57.26.6 0.67 ms AS62563 Canada, Ontario, Toronto, gthost.com
3 209.120.140.49 0.40 ms AS3257 Canada, gtt.net
4 89.149.140.77 58.12 ms AS3257 United States, California, Los Angeles, gtt.net
5 173.241.128.50 62.93 ms AS3257 United States, California, Los Angeles, gtt.net
6 219.158.98.49 224.24 ms AS4837 China, Guangdong, Guangzhou, ChinaUnicom
7 219.158.96.210 229.14 ms AS4837 China, Guangdong, Guangzhou, ChinaUnicom
8 219.158.8.117 218.56 ms AS4837 China, Guangdong, Guangzhou, ChinaUnicom
9 *
10 202.96.12.62 260.11 ms AS4808 China, Beijing, ChinaUnicom
11 61.51.169.178 256.66 ms AS4808 China, Beijing, ChinaUnicom
12 *
13 *
14 *
15 *
16 *
17 *
18 *
19 *
20 *
21 *
22 *
23 *
24 *
25 *
26 *
27 *
28 *
29 *
30 *
Traceroute to China, Guangzhou CM (TCP Mode, Max 30 Hop)
============================================================
traceroute to 120.196.212.25 (120.196.212.25), 30 hops max, 32 byte packets
1 104.166.127.1 0.80 ms AS26383 Canada, Ontario, Toronto, wireshq.com
2 198.57.26.6 0.30 ms AS62563 Canada, Ontario, Toronto, gthost.com
3 *
4 154.54.31.233 7.45 ms AS174 COGENTCO.COM 骨干网, cogentco.com
5 154.54.7.129 13.89 ms AS174 United States, Illinois, Chicago, cogentco.com
6 154.54.44.169 25.90 ms AS174 COGENTCO.COM 骨干网, cogentco.com
7 154.54.31.89 37.16 ms AS174 COGENTCO.COM 骨干网, cogentco.com
8 154.54.87.29 50.33 ms AS174 United States, California, San Francisco, cogentco.com
9 154.54.87.66 50.41 ms AS174 United States, cogentco.com
10 154.54.42.65 58.41 ms AS174 United States, Arizona, Phoenix, cogentco.com
11 154.54.44.86 70.11 ms AS174 United States, California, Los Angeles, cogentco.com
12 154.54.3.70 70.13 ms AS174 United States, California, Los Angeles, cogentco.com
13 38.19.140.98 70.17 ms AS174 United States, California, Los Angeles, cogentco.com
14 223.118.10.153 70.64 ms AS58453 United States, California, Los Angeles, ChinaMobile
15 *
16 221.183.52.85 222.47 ms AS9808 China, Guangdong, Guangzhou, ChinaMobile
17 221.176.22.105 220.41 ms AS9808 China, Guangdong, Guangzhou, ChinaMobile
18 111.24.4.241 221.07 ms AS9808 China, Guangdong, Guangzhou, ChinaMobile
19 111.24.5.210 223.00 ms AS9808 China, Guangdong, Guangzhou, ChinaMobile
20 211.136.196.214 225.32 ms AS56040 China, Guangdong, Guangzhou, ChinaMobile
21 211.139.180.110 227.47 ms AS56040 China, Guangdong, Guangzhou, ChinaMobile
22 *
23 *
24 *
25 *
26 *
27 120.196.212.25 227.78 ms AS56040 China, Guangdong, Guangzhou, ChinaMobile
Traceroute to China, Shanghai CM (TCP Mode, Max 30 Hop)
============================================================
traceroute to 221.183.55.22 (221.183.55.22), 30 hops max, 32 byte packets
1 104.166.127.1 0.94 ms AS26383 Canada, Ontario, Toronto, wireshq.com
2 198.57.26.6 0.85 ms AS62563 Canada, Ontario, Toronto, gthost.com
3 *
4 154.54.31.233 8.06 ms AS174 COGENTCO.COM 骨干网, cogentco.com
5 154.54.7.129 14.01 ms AS174 United States, Illinois, Chicago, cogentco.com
6 154.54.44.169 25.88 ms AS174 COGENTCO.COM 骨干网, cogentco.com
7 154.54.31.89 37.22 ms AS174 COGENTCO.COM 骨干网, cogentco.com
8 154.54.42.97 47.59 ms AS174 United States, Utah, Salt Lake City, cogentco.com
9 154.54.44.141 61.76 ms AS174 United States, California, San Francisco, cogentco.com
10 154.54.43.14 62.82 ms AS174 United States, California, San Jose, cogentco.com
11 38.88.224.162 63.22 ms AS174 United States, California, San Jose, cogentco.com
12 223.120.6.69 62.73 ms AS58453 United States, California, San Jose, ChinaMobile
13 *
14 221.183.89.170 247.91 ms AS9808 China, Shanghai, ChinaMobile
15 *
16 *
17 *
18 *
19 *
20 *
21 *
22 *
23 *
24 *
25 *
26 *
27 *
28 *
29 *
30 *
Traceroute to China, Beijing CM (TCP Mode, Max 30 Hop)
============================================================
traceroute to 211.136.25.153 (211.136.25.153), 30 hops max, 32 byte packets
1 104.166.127.1 1.19 ms AS26383 Canada, Ontario, Toronto, wireshq.com
2 198.57.26.6 0.47 ms AS62563 Canada, Ontario, Toronto, gthost.com
3 209.120.140.49 0.58 ms AS3257 Canada, gtt.net
4 89.149.181.102 68.09 ms AS3257 United States, California, Los Angeles, gtt.net
5 173.205.45.154 65.01 ms AS3257 United States, California, Los Angeles, gtt.net
6 223.118.10.249 63.54 ms AS58453 United States, California, Los Angeles, ChinaMobile
7 *
8 *
9 *
10 221.183.89.114 246.58 ms AS9808 China, Beijing, ChinaMobile
11 111.24.2.105 246.86 ms AS9808 China, Beijing, ChinaMobile
12 *
13 *
14 211.136.67.166 249.99 ms AS56048 China, Beijing, ChinaMobile
15 *
16 211.136.95.226 251.97 ms AS56048 China, Beijing, ChinaMobile
17 *
18 211.136.25.153 250.09 ms AS56048 China, Beijing, ChinaMobile
Traceroute to China, Beijing Dr.Peng Network IDC Network (TCP Mode, Max 30 Hop)
============================================================
traceroute to 211.167.230.100 (211.167.230.100), 30 hops max, 32 byte packets
1 104.166.127.1 1.05 ms AS26383 Canada, Ontario, Toronto, wireshq.com
2 198.57.26.6 0.60 ms AS62563 Canada, Ontario, Toronto, gthost.com
3 209.120.140.49 0.39 ms AS3257 Canada, gtt.net
4 *
5 219.158.42.241 60.75 ms AS4837 United States, California, Los Angeles, ChinaUnicom
6 219.158.98.49 228.04 ms AS4837 China, Guangdong, Guangzhou, ChinaUnicom
7 219.158.4.41 220.00 ms AS4837 China, Guangdong, ChinaUnicom
8 *
9 *
10 *
11 202.96.13.250 249.34 ms AS4808 China, Beijing, ChinaUnicom
12 61.149.212.242 247.86 ms AS4808 China, Beijing, ChinaUnicom
13 202.99.1.238 252.09 ms AS4808 China, Beijing, ChinaUnicom
14 218.241.255.86 250.08 ms AS4808 China, Beijing, DRPENG
15 218.241.253.134 242.92 ms AS4808 China, Beijing, DRPENG
16 211.167.230.100 253.04 ms AS17964 China, Beijing, DRPENG
----------------------------------------------------------------------------------
部分跨区域流媒体平台解锁测试结果:看起来可以看美区奈飞,这里也有北美部分流媒体解锁测试结果:
** 测试时间: Tue Nov 8 15:55:20 MSK 2022
** 正在测试IPv4解锁情况
--------------------------------
** 您的网络为: ASNET (104.166.*.*)
============[ Multination ]============
Dazn: Yes (Region: NG)
HotStar: Yes (Region: US)
Disney+: Yes (Region: US)
Netflix: Yes (Region: US)
YouTube Premium: Yes
Amazon Prime Video: Yes (Region: US)
TVBAnywhere+: Yes
iQyi Oversea Region: US
Viu.com: Yes (Region: NG)
YouTube CDN: Dallas, TX
Netflix Preferred CDN: New York, NY
Spotify Registration: Yes (Region: NG)
Instagram Licensed Music: Failed
Steam Currency: USD
=======================================
===========[ North America ]===========
FOX: No
Hulu: Failed
ESPN+:[Sponsored by Jam] Yes
Epix: No
Starz: Yes
HBO Now: Yes
HBO Max: Yes
BritBox: Yes
NBA TV: Yes
Fubo TV: Yes
Sling TV: Yes
Pluto TV: Yes
Acorn TV: Yes
SHOWTIME: Yes
encoreTVB: Yes
CineMax Go: Failed (Network Connection)
Funimation: No
Discovery+: No
Paramount+: Yes
Peacock TV: Yes
Directv Stream: Yes
---CA---
CBC Gem: No
Crave: No
=======================================
** 正在测试IPv6解锁情况
--------------------------------
** 您的网络为: (2605:e440:6:*:*)
============[ Multination ]============
Dazn: Failed (Network Connection)
HotStar: Yes (Region: US)
Disney+: Yes (Region: US)
Netflix: Originals Only
YouTube Premium: Yes
Amazon Prime Video: Unsupported
TVBAnywhere+: Failed (Network Connection)
iQyi Oversea Region: Failed
Viu.com: Failed
YouTube CDN: Chicago, IL
Netflix Preferred CDN: New York, NY
Spotify Registration: Yes (Region: US)
Instagram Licensed Music: Failed
Steam Currency: Failed (Network Connection)
=======================================
===========[ North America ]===========
FOX: Yes
Hulu: Failed
ESPN+:[Sponsored by Jam] Yes
Epix: Failed
Starz: Failed (Network Connection)
HBO Now: Failed (Network Connection)
HBO Max: Failed (Network Connection)
BritBox: Yes
NBA TV: Yes
Fubo TV: Failed (Network Connection)
Sling TV: Yes
Pluto TV: Yes
Acorn TV: Failed (Network Connection)
SHOWTIME: Failed (Network Connection)
encoreTVB: Failed (Network Connection)
CineMax Go: Failed (Network Connection)
Funimation: IPv6 Not Support
Discovery+: IPv6 Not Support
Paramount+: Yes
Peacock TV: Yes
Directv Stream: -> ---CA---
CBC Gem: Failed (Network Connection)
Crave: Failed (Network Connection)
=======================================
本次测试已结束,感谢使用此脚本
大致总结测评结果下:
测试机采用的是nvme ssd,CPU、I/O目前看起来都还是满不错的,大家用着再说;网络这块儿,三网回国基本上都遵循:基本上都是从加拿大出来到美国,从美国西海岸的三网节点直接直连回国,所以虽然是加拿大,可能效果不会太差,从ping值也能看出来。
老刘博客





































