HighEndNetwork怎么样?HighEndNetwork好不好?HighEndNetwork是国内商家,主要提供香港、圣何塞等KVM VPS。HighEndNetwork双11活动正式启动!针对香港HE+HKiX线路KVM VPS推出双11特价套餐,价格低至$11.11/季,配置为1.1GB内存/11GB SSD空间/1.11TB流量@111Mbps端口。
HighEndNetwork官网:门户首页 – HighEndNetwork
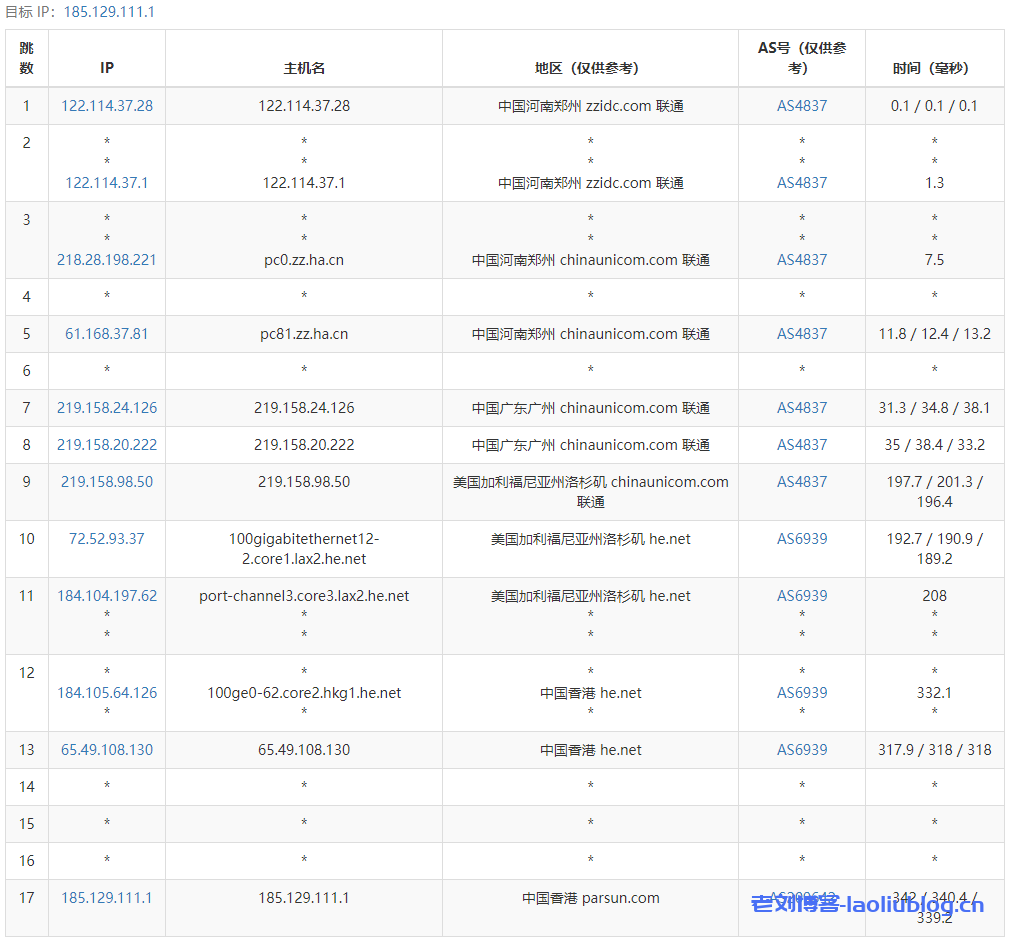
HighEndNetwork测试IP: 185.129.111.1,香港HE+HKiX线路
HighEndNetwork香港HE+HKiX线路KVM VPS套餐方案:
Netflix多区解锁尽力支持,Disney目前支持解锁但不保证;预设111Mbps不限量可转为35T双@300Mbps;流量为双向计算。
| Hong Kong, DC2 – Special 1111 -1 | Hong Kong, DC2 – Special 1111 -2 |
| vCPU:1 | vCPU:11 |
| 内存:1.1 GB | 内存:11.1 GB |
| 空间:11 GB SSD | 空间:111 GB SSD |
| 流量:1.11 TB / 月(111Mbps端口,双向计算) | 流量:不限 / 月(111Mbps端口) |
| IPv4:1 | IPv4:1 |
| $11.11/季 | $111/季 |
| 购买链接 | 购买链接 |
HighEndNetwork测试IP网络延迟情况:
HighEndNetwork测试IP丢包率测试:
HighEndNetwork测试IP去程路由追踪测试:
老刘博客































