香港站群服务器租用哪家好?华纳云,成立于2015年,是行业知名的IDC品牌服务商,是APNIC和ARIN会员单位。自营香港/美国/新加坡数据中心,拥有BGP国际多线+双向CN2 GIA线路,多年来致力于提供数据中心基础服务、互联网业务解决方案, 以及专属服务器租用、云服务器、等产品和服务。目前,华纳云已凝聚起领先的网络、开发和运维团队,通过热线电话、 在线咨询等多种沟通渠道为数千家将网站和应用托管在华纳云平台的企业级客户提供7*24技术支持。
付款方式:支付宝,PayPal ,银行在线转账,银行线下转账。
服务:24h工单,24h机房值守,免费在线咨询,支持定制设备。
测试IP:206.119.81.254
华纳云香港站群服务器正式上线,1C/253个IP,1599元起!
华纳云香港站群服务器,位于T3+香港数据中心,CN2精品带宽三网直连大陆,独享10M CN2三网直连,不限流,免备案低延迟速度快!拥有海量优质IP资源,支持1C/2C/4C等不同C段可选,高达253个独立IP,可满足不同客户需求,支持定制升级,更利于SEO搜索引擎优化!
香港站群服务器均采用顶级品牌硬件,全新E5系列CPU,配备RECC错误检验内存条,搭载高速SSD固态硬盘,独立IP,独享网络带宽,高速稳定,性能卓越!具体配置及价格如下:
| 产品型号 | CPU | 内存 | 硬盘 | 带宽 | IP段 | 价格(元/月) | 购买 |
|
香港站群-A型 |
E5-2660 |
16G |
500G SSD | 10 M CN2 | 1C/253个 | 1599 | 链接 |
| 500G SSD | 10 M CN2 | 2C/250个 | 1699 | 链接 | |||
| 500G SSD | 10 M CN2 | 4C/244个 | 1799 | 链接 | |||
|
香港站群-B型 |
E5-2660 |
32G |
500G SSD | 10 M CN2 | 1C/253个 | 1799 | 链接 |
| 500G SSD | 10 M CN2 | 2C/250个 | 1899 | 链接 | |||
| 500G SSD | 10 M CN2 | 4C/244个 | 1999 | 链接 | |||
|
香港站群-C型 |
E5-2660*2 |
64G
|
500G SSD | 10 M CN2 | 1C/253个 | 2599 | 链接 |
| 500G SSD | 10 M CN2 | 2C/250个 | 2699 | 链接 | |||
| 500G SSD | 10 M CN2 | 4C/244个 | 2799 | 链接 |
香港站群服务器应用场景:
1.PBN站群SEO:PBN站群拥有多个独立ip,且互不干扰。快速稳定的网站表现才可以吸引到更多的用户及蜘蛛爬行。
2.跨境电商运营:无论第三方平台开店还是自建店群都要求能够让买家快速访问,要求网络带宽和硬件高度稳定。
3.游戏加速服务:对ip地址的质量和数量要求高,确保ip不被服务器屏蔽,要求带宽质量优,保证服务器稳定高速运行。
4.测试环境部署:使用站群服务器部署测试环境,免备案,交付时间短,限制內容少,因此布署站群系统业务流程速度快,效率更高。
5.搭建蜘蛛池:搭建蜘蛛池需要大量高质量的泛站群,所以就需要大量独立的高质量ip,站群服务器就成了必不可少的选择。
华纳云香港站群服务器测评如下:
下面我们就通过实体机具体测评下华纳云的香港站群服务器的网络、性能各方面效果怎么样(香港站群-A型):
先看看我本地网络的Ping延迟效果,如下所示:
可以看到我本地Ping的延迟在53ms左右,这个延迟对于香港机房来说还是相当不错的,如果你在东南地区,那么这个延迟还会更低。可以看到网络是相当稳定的,基本都没有丢包的情况。
当然我本地的网络状况不能代表大多数的用户,所以我通过第三方工具看看电信、联通、移动网络在全国各地访问的延迟情况,如下所示:
从上面工具的测试可以知道,全国Ping的平均延迟在35ms左右,比我本地要低很多。其中电信和联通网络都差不多在35ms左右,移动网络稍微高点在47ms左右,总体来说三网延迟都很低。
我们再通过工具测试下华纳云的这款香港站群服务器在全球各地(包括中国大陆地区)的稳定性情况,如下所示:
可以看到全球各地的稳定性都是相当不错的,基本都没有丢包的情况,在中国台湾、深圳、广州、杭州、青岛、北京等地延迟也是很低,并且网络都很稳定,丢包率都是0%,Ping几十下也是没有丢包的。
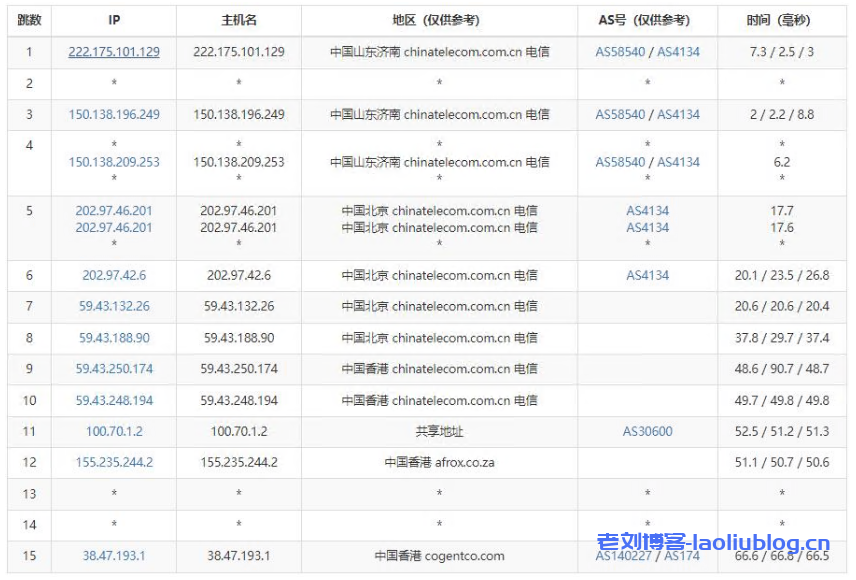
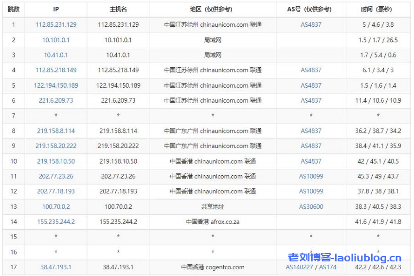
测试完了网络稳定性情况,我们再测试下这款香港站群服务器的去程和回程路由情况。
电信去程路由是从北京网口出去(如果你是南方地区可能是从上海网口或者广州网口出去),然后直连香港机房,并且走的是59.43的CN2 GIA线路。
联通去程路由是从广州网口出去,直连香港机房,走的是AS4837联通优化线路。
移动去程路由和联通网络一样,是从广州网口出去后直连香港机房,走AS9808线路。
然后我们再看看三网的回程路由线路。
电信回程路由:
电信回程路由是从北京、上海、广州三个网口入境,然后线路直连,并且走的是59.43的CN2 GIA线路,所以确实是双向CN2 GIA线路。
联通回程路由:
联通回程路由从广州、上海网口入境,直连内地网络,走的是AS4837联通优化线路。
移动回程路由:
移动回程路由是从北京、上海、广州网口入境,直连内地网络,走AS9808线路。
综合来说三网都是直连线路,电信双向CN2 GIA线路、联通双向AS4837线路、移动双向AS9808线路,网络状况可以说是相当不错。
下面我们再看看华纳云这款香港站群服务器的性能和上传下载速度怎么样,如下所示:
可以看到这款香港站群服务器采用E5-2660处理器,主频2.2GHz,磁盘I/O在384MB/秒,性能是相当可以的。国内和全球各地上传和下载速度都跑满了10Mbps,因为我这个服务器选择的是10Mbps的带宽,所以最大带宽是跑满了的,你可以自定义选择需要的带宽。
以上就是关于华纳云香港站群服务器的相关测评介绍。整体来说这款香港站群服务器从延迟、稳定性、路由、速度、性能、价格等各方面来讲都是相当不错的,对于需要香港站群服务器的用户来说非常值得推荐。香港站群服务器购买可选月付/年付/2年付,购买时间越长越优惠,购买1年减免2个月的费用,相当于只需支付10个月的费用,非常的划算!
老刘博客



































