我们在文章《艾云年付特价服务器Special低至158元,可选美国/欧洲解锁TikTok机房或西雅图4837线路VPS,免费20Gbps DDoS防御》中分享了艾云特价服务器套餐方案,那么艾云服务器怎么样呢?这里站长入手了一款年付158元的美国西雅图Plus Tiktok数据中心特价款VPS进行了测评,来看看其国内延迟、丢包率、性能和带宽、路由去回程、流媒体和TikTok检测情况,总体来看这款VPS是美国原生IP VPS支持解锁TikTok流媒体,磁盘读写I/O速度高达1.8GB/s!
艾云Aiyun Network官网:门户首页 – 艾云 (iaclouds.com)
艾云QQ群:994298224,艾云TG群:https://t.me/+rs7onLzH66M3OWU1
艾云特价服务器Special(Standard-Special-Common)购买入口:https://iaclouds.com/cart.php?a=add&pid=153
艾云美国西雅图年付158元特价款VPS控制台购买界面:
系统选择的是Centos 7,未购买全量备份,也未购买IP Care+增值服务,数据中心选择的是西雅图Plus Tiktok ¥20.00CNY,如图所示:
IP Care+增值服务说明:购入此服务后,当且仅当IP对大陆方向被屏蔽时,可免费更换一次IP地址(保证更换后为通畅),每月仅支持更换一次。通过工单进行更换。
艾云美国西雅图年付158元特价款VPS测评分析:
CPU为e5-2695v3,2.3GHz的主频,机器自带默认开启了BBR加速,当前I/O读写速度达到1.8GB/s,支持解锁美区TikTok流媒体
FIO再次测试下硬盘的读写数据的情况:
77个探测点测试机器网络延迟情况
VPS丢包率测试,结果很漂亮!
欧美的iperf3测试结果
Speedtest.net国内外节点测速
本地测试下文件上传下载速度,这里站长给机器安装了宝塔面板,方面可视化观察
站长家里用的带宽是电信100M(用起来很垃圾),如图是测速网测的网速情况,这还是站长靠近路由器1米内的结果
测试文件的上传下载速度,站长电脑距离路由器4米左右,如果1米内数据应该更好!
上传文件的平均速度为2.2MB/s
下载文件的速度达6.4MB/s,蛮不错了!
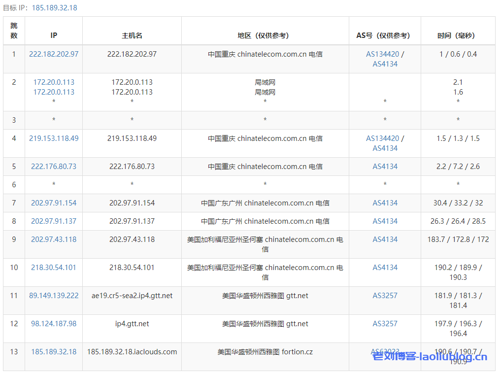
去程路由追踪测试
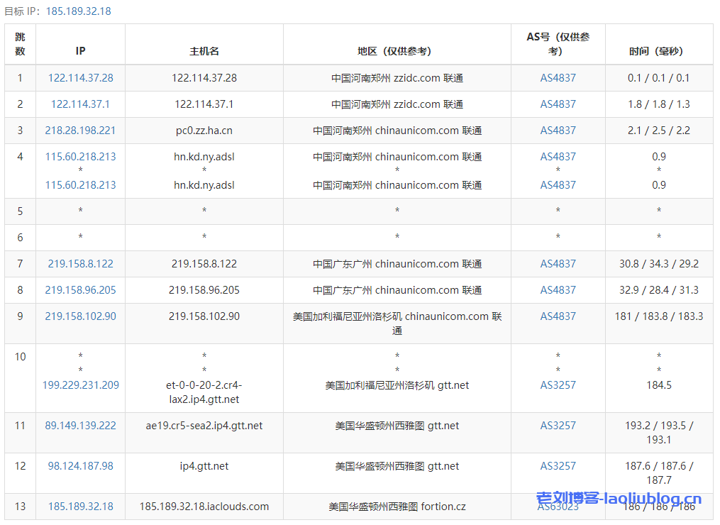
回程路由追踪测试
Traceroute to China, Guangzhou CT (TCP Mode, Max 30 Hop)
============================================================
traceroute to 113.108.209.1 (113.108.209.1), 30 hops max, 32 byte packets
1 2.59.62.1 0.31 ms AS63023 United States, Washington, Seattle, heficed.com
2 98.124.187.97 15.76 ms AS3257 United States, Washington, Seattle, gtt.net
3 89.149.180.134 24.36 ms AS3257 United States, California, San Jose, gtt.net
4 218.30.54.100 24.99 ms AS4134 United States, California, San Jose, ChinaTelecom
5 *
6 202.97.12.6 192.10 ms AS4134 China, Guangdong, Guangzhou, ChinaTelecom
7 202.97.72.1 181.65 ms AS4134 China, Guangdong, Guangzhou, ChinaTelecom
8 113.96.5.166 193.17 ms AS4134 China, Guangdong, Guangzhou, ChinaTelecom
9 113.108.209.1 197.31 ms AS4134 China, Guangdong, Guangzhou, ChinaTelecom
Traceroute to China, Shanghai CT (TCP Mode, Max 30 Hop)
============================================================
traceroute to 180.153.28.5 (180.153.28.5), 30 hops max, 32 byte packets
1 2.59.62.1 0.27 ms AS63023 United States, Washington, Seattle, heficed.com
2 98.124.187.97 0.75 ms AS3257 United States, Washington, Seattle, gtt.net
3 89.149.180.134 28.71 ms AS3257 United States, California, San Jose, gtt.net
4 218.30.54.100 25.35 ms AS4134 United States, California, San Jose, ChinaTelecom
5 202.97.43.113 144.84 ms AS4134 China, Shanghai, ChinaTelecom
6 *
7 202.97.64.181 156.91 ms AS4134 China, Shanghai, ChinaTelecom
8 61.152.25.5 147.05 ms AS4812 China, Shanghai, ChinaTelecom
9 *
10 101.95.225.218 161.71 ms AS4811 China, Shanghai, ChinaTelecom
11 *
12 *
13 *
14 *
15 *
16 *
17 *
18 *
19 *
20 *
21 *
22 *
23 *
24 *
25 *
26 *
27 *
28 *
29 *
30 *
Traceroute to China, Beijing CT (TCP Mode, Max 30 Hop)
============================================================
traceroute to 180.149.128.9 (180.149.128.9), 30 hops max, 32 byte packets
1 2.59.62.1 0.53 ms AS63023 United States, Washington, Seattle, heficed.com
2 98.124.187.97 21.01 ms AS3257 United States, Washington, Seattle, gtt.net
3 89.149.180.134 24.17 ms AS3257 United States, California, San Jose, gtt.net
4 218.30.54.100 25.11 ms AS4134 United States, California, San Jose, ChinaTelecom
5 *
6 202.97.28.237 183.53 ms AS4134 China, Beijing, ChinaTelecom
7 *
8 *
9 *
10 *
11 *
12 *
13 *
14 *
15 *
16 *
17 *
18 *
19 *
20 *
21 *
22 *
23 *
24 *
25 *
26 *
27 *
28 *
29 *
30 *
Traceroute to China, Guangzhou CU (TCP Mode, Max 30 Hop)
============================================================
traceroute to 210.21.4.130 (210.21.4.130), 30 hops max, 32 byte packets
1 2.59.62.1 0.33 ms AS63023 United States, Washington, Seattle, heficed.com
2 98.124.187.97 9.13 ms AS3257 United States, Washington, Seattle, gtt.net
3 89.149.141.29 22.82 ms AS3257 United States, California, San Jose, gtt.net
4 219.158.33.201 26.27 ms AS4837 United States, California, San Jose, ChinaUnicom
5 219.158.97.177 197.01 ms AS4837 China, Shanghai, ChinaUnicom
6 219.158.113.118 191.31 ms AS4837 China, Shanghai, ChinaUnicom
7 219.158.113.101 197.75 ms AS4837 China, Shanghai, ChinaUnicom
8 *
9 120.83.0.58 195.14 ms AS17816 China, Guangdong, Guangzhou, ChinaUnicom
10 120.80.91.62 192.77 ms AS17816 China, Guangdong, Guangzhou, ChinaUnicom
11 *
12 *
13 *
14 *
15 *
16 *
17 *
18 *
19 *
20 *
21 *
22 *
23 *
24 *
25 *
26 *
27 *
28 *
29 *
30 *
Traceroute to China, Shanghai CU (TCP Mode, Max 30 Hop)
============================================================
traceroute to 58.247.8.158 (58.247.8.158), 30 hops max, 32 byte packets
1 2.59.62.1 0.66 ms AS63023 United States, Washington, Seattle, heficed.com
2 98.124.187.97 9.05 ms AS3257 United States, Washington, Seattle, gtt.net
3 89.149.141.29 22.75 ms AS3257 United States, California, San Jose, gtt.net
4 219.158.39.105 24.97 ms AS4837 United States, California, San Jose, ChinaUnicom
5 219.158.97.181 180.21 ms AS4837 China, Shanghai, ChinaUnicom
6 219.158.113.142 188.81 ms AS4837 China, Shanghai, ChinaUnicom
7 *
8 *
9 139.226.228.46 184.45 ms AS17621 China, Shanghai, ChinaUnicom
10 139.226.225.22 182.27 ms AS17621 China, Shanghai, ChinaUnicom
11 58.247.8.153 178.78 ms AS17621 China, Shanghai, ChinaUnicom
12 *
13 *
14 *
15 *
16 *
17 *
18 *
19 *
20 *
21 *
22 *
23 *
24 *
25 *
26 *
27 *
28 *
29 *
30 *
Traceroute to China, Beijing CU (TCP Mode, Max 30 Hop)
============================================================
traceroute to 123.125.99.1 (123.125.99.1), 30 hops max, 32 byte packets
1 2.59.62.1 0.22 ms AS63023 United States, Washington, Seattle, heficed.com
2 98.124.187.97 1.02 ms AS3257 United States, Washington, Seattle, gtt.net
3 89.149.141.29 39.74 ms AS3257 United States, California, San Jose, gtt.net
4 77.67.79.150 23.81 ms AS3257 United States, California, San Jose, gtt.net
5 219.158.97.181 177.19 ms AS4837 China, Shanghai, ChinaUnicom
6 219.158.113.142 185.21 ms AS4837 China, Shanghai, ChinaUnicom
7 219.158.113.101 181.41 ms AS4837 China, Shanghai, ChinaUnicom
8 *
9 *
10 61.51.169.178 190.38 ms AS4808 China, Beijing, ChinaUnicom
11 *
12 *
13 *
14 *
15 *
16 *
17 *
18 *
19 *
20 *
21 *
22 *
23 *
24 *
25 *
26 *
27 *
28 *
29 *
30 *
Traceroute to China, Guangzhou CM (TCP Mode, Max 30 Hop)
============================================================
traceroute to 120.196.212.25 (120.196.212.25), 30 hops max, 32 byte packets
1 2.59.62.1 0.28 ms AS63023 United States, Washington, Seattle, heficed.com
2 98.124.187.97 31.21 ms AS3257 United States, Washington, Seattle, gtt.net
3 89.149.130.78 4.63 ms AS3257 United States, Washington, Seattle, gtt.net
4 62.115.145.70 1.73 ms AS1299 United States, Washington, Seattle, telia.com
5 62.115.171.221 27.15 ms AS1299 United States, Washington, Seattle, telia.com
6 223.120.6.53 27.06 ms AS58453 United States, Washington, Seattle, ChinaMobile
7 *
8 221.183.55.90 161.84 ms AS9808 China, Guangdong, Guangzhou, ChinaMobile
9 221.183.52.85 159.23 ms AS9808 China, Guangdong, Guangzhou, ChinaMobile
10 221.176.18.109 163.53 ms AS9808 China, Guangdong, Guangzhou, ChinaMobile
11 111.24.4.233 160.63 ms AS9808 China, Guangdong, Guangzhou, ChinaMobile
12 111.24.5.30 163.08 ms AS9808 China, Guangdong, Guangzhou, ChinaMobile
13 211.136.196.210 175.78 ms AS56040 China, Guangdong, Guangzhou, ChinaMobile
14 *
15 *
16 *
17 *
18 120.196.212.25 176.63 ms AS56040 China, Guangdong, Guangzhou, ChinaMobile
Traceroute to China, Shanghai CM (TCP Mode, Max 30 Hop)
============================================================
traceroute to 221.183.55.22 (221.183.55.22), 30 hops max, 32 byte packets
1 2.59.62.1 0.21 ms AS63023 United States, Washington, Seattle, heficed.com
2 98.124.187.97 4.73 ms AS3257 United States, Washington, Seattle, gtt.net
3 213.200.117.138 144.38 ms AS3257 Germany, Hesse, Frankfurt, gtt.net
4 213.254.225.170 145.86 ms AS3257 Germany, Hesse, Frankfurt, gtt.net
5 223.120.10.85 145.38 ms AS58453 Germany, Hesse, Frankfurt, ChinaMobile
6 *
7 *
8 *
9 *
10 *
11 *
12 *
13 *
14 *
15 *
16 *
17 *
18 *
19 *
20 *
21 *
22 *
23 *
24 *
25 *
26 *
27 *
28 *
29 *
30 *
Traceroute to China, Beijing CM (TCP Mode, Max 30 Hop)
============================================================
traceroute to 211.136.25.153 (211.136.25.153), 30 hops max, 32 byte packets
1 2.59.62.1 0.23 ms AS63023 United States, Washington, Seattle, heficed.com
2 98.124.187.97 0.67 ms AS3257 United States, Washington, Seattle, gtt.net
3 89.149.181.102 30.56 ms AS3257 United States, California, Los Angeles, gtt.net
4 173.205.45.154 30.09 ms AS3257 United States, California, Los Angeles, gtt.net
5 223.120.6.217 29.78 ms AS58453 United States, California, Los Angeles, ChinaMobile
6 *
7 *
8 221.183.52.2 251.64 ms AS9808 China, Beijing, ChinaMobile
9 *
10 221.183.89.114 229.85 ms AS9808 China, Beijing, ChinaMobile
11 *
12 *
13 211.136.63.66 227.22 ms AS56048 China, Beijing, ChinaMobile
14 211.136.95.226 240.35 ms AS56048 China, Beijing, ChinaMobile
15 *
16 *
17 *
18 211.136.25.153 226.52 ms AS56048 China, Beijing, ChinaMobile
Traceroute to China, Beijing Dr.Peng Network IDC Network (TCP Mode, Max 30 Hop)
============================================================
traceroute to 211.167.230.100 (211.167.230.100), 30 hops max, 32 byte packets
1 2.59.62.1 0.27 ms AS63023 United States, Washington, Seattle, heficed.com
2 98.124.187.97 2.31 ms AS3257 United States, Washington, Seattle, gtt.net
3 89.149.141.29 22.85 ms AS3257 United States, California, San Jose, gtt.net
4 173.205.62.86 25.21 ms AS3257 GTT.NET 骨干网, gtt.net
5 219.158.97.181 180.11 ms AS4837 China, Shanghai, ChinaUnicom
6 219.158.8.177 189.05 ms AS4837 China, Shanghai, ChinaUnicom
7 *
8 *
9 124.65.194.86 197.99 ms AS4808 China, Beijing, ChinaUnicom
10 202.106.192.94 186.54 ms AS4808 China, Beijing, ChinaUnicom
11 61.149.212.242 188.45 ms AS4808 China, Beijing, ChinaUnicom
12 202.99.1.238 187.35 ms AS4808 China, Beijing, ChinaUnicom
13 218.241.252.14 197.89 ms AS4808 China, Beijing, DRPENG
14 218.241.253.134 191.03 ms AS4808 China, Beijing, DRPENG
15 211.167.230.100 202.57 ms AS17964 China, Beijing, DRPENG
----------------------------------------------------------------------------------
其他流媒体解锁情况测试
支持解锁美区奈飞视频/迪士尼等
UnixBench跑分看下VPS综合性能
得分小于400的性能比较差、500-1000正常、大于1000优秀、大于2000极好。这里是944.7分,属于正常水平
总结来看,艾云的这只鸡性价比还是很高的,美国原生IP VPS,又支持解锁TikTok/奈飞/迪斯尼,磁盘读写I/O速度高达1.8GB/s,还免费提供20Gbps DDoS防御,一年下来才158元,值得推荐!有需要大家可以入手一台耍耍。
艾云年付特价服务器Special套餐方案:
| Standard-Special-Common (本文测试机器) | Professional-Special-Common-4837 |
| ¥158.00/yr 起 | ¥339.00/yr 起 |
| 立即订购 | 立即订购 |
| 1 vCPU | 1 vCPU |
| 1 GiB 内存 | 1 GiB 内存 |
| 20 GiB / RAID-10 SSD系统盘 | 20 GiB / RAID-10 SSD系统盘 |
| 0 GiB / RAID-10 SSD数据盘 | 0 GiB / RAID-10 SSD数据盘 |
| 6 TiB 流量 / 500 Mbps 峰值速率 | 3 TiB 流量 / 1000 Mbps 峰值速率 |
| 20Gbps DDoS 防御 | 20Gbps DDoS 防御 |
| 1个 IPv4 | 1个 IPv4 |
| 支持Centos 7,Ubuntu 22,Debian 11 不支持Windows | 支持Centos 7,Ubuntu 22,Debian 11 不支持Windows |
| 任选多个地区/机房: 洛杉矶/芝加哥/西雅图/圣何塞/伦敦Plus Tiktok 洛杉矶/西雅图/纽约/法兰克福/巴黎/伦敦Pro Tiktok ISP | 美国-西雅图4837 |
老刘博客










































