Suike.Cloud随客云计算旗下热网互联正在搞双11促销优惠:HotIIS热网互联2022年双11活动:香港/美国/日本云主机一律5折¥20/月起,独立服务器限时特价¥599/月,预充值最低8折,站长这里入手了一台香港一区S2云服务器(2C2G/40G SSD/1TB@20Mbps)进行了测评,以看下其国内延迟、丢包率、性能和带宽、路由去回程、解锁流媒体和TikTok检测情况(三网直连网络,支持解锁Tiktok流媒体)。
香港云主机五折,活动期间续费同样五折,标红的为本次测评机器。
| 香港一区 | 香港一区 | 香港一区 | 香港一区 |
| S1 – 季付五折 | S2 – 年付折上折 | S4 – 年付折上折 | S8 – 年付折上折 |
| 5G DDoS防御 | 5G DDoS防御 | 5G DDoS防御 | 5G DDoS防御 |
| CPU1 核 | CPU2 核 | CPU4 核 | CPU8 核 |
| 内存1 GB | 内存2 GB | 内存4 GB | 内存8 GB |
| 硬盘20 GB SSD | 硬盘40 GB SSD | 硬盘80 GB SSD | 硬盘120 GB SSD |
| 宽带15 Mbps | 宽带20 Mbps | 宽带30 Mbps | 宽带40 Mbps |
| 流量500 G/月 | 流量1000 G/月 | 流量2000 G/月 | 流量4000 G/月 |
| 双11秒杀专享 | 双11秒杀专享 | 双11秒杀专享 | 双11秒杀专享 |
| 限时不限购 | 限时不限购 | 限时不限购 | 限时不限购 |
| ¥20/月 | ¥40/月 | ¥80/月 | ¥160/月 |
| 立即抢购 | 立即抢购 | 立即抢购 | 立即抢购 |
热网互联香港一区S2云服务器测评分析
配置:2核2G,CPU是E3的具体型号未知;支持解锁TikTok等流媒体;磁盘I/O读写速度280.7MB/s
FIO再次测试下硬盘的读写数据的情况
欧美的iperf3测试结果
Speedtest.net国内外节点测速
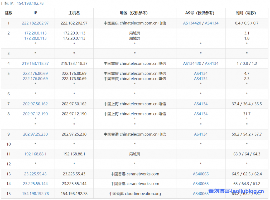
去程路由追踪测试
回程路由追踪测试
Traceroute to China, Guangzhou CT (TCP Mode, Max 30 Hop)
============================================================
traceroute to 113.108.209.1 (113.108.209.1), 30 hops max, 32 byte packets
1 154.198.192.65 1.88 ms AS40065 China, Hong Kong, cloudinnovation.org
2 *
3 23.225.55.42 0.58 ms AS40065 China, Hong Kong, ceranetworks.com
4 23.225.55.33 0.51 ms AS40065 China, Hong Kong, ceranetworks.com
5 23.225.55.54 1.35 ms AS40065 China, Hong Kong, ceranetworks.com
6 223.120.2.53 1.22 ms AS58453 China, Hong Kong, ChinaMobile
7 223.120.3.186 28.38 ms AS58453 China, Shanghai, ChinaMobile
8 221.183.89.174 28.54 ms AS9808 China, Shanghai, ChinaMobile
9 221.183.89.33 28.48 ms AS9808 China, Shanghai, ChinaMobile
10 221.183.89.10 30.95 ms AS9808 China, Shanghai, ChinaMobile
11 *
12 *
13 *
14 202.97.81.229 35.13 ms AS4134 China, Guangdong, Guangzhou, ChinaTelecom
15 *
16 113.108.209.1 36.78 ms AS4134 China, Guangdong, Guangzhou, ChinaTelecom
Traceroute to China, Shanghai CT (TCP Mode, Max 30 Hop)
============================================================
traceroute to 180.153.28.5 (180.153.28.5), 30 hops max, 32 byte packets
1 154.198.192.65 3.68 ms AS40065 China, Hong Kong, cloudinnovation.org
2 *
3 23.225.55.42 0.56 ms AS40065 China, Hong Kong, ceranetworks.com
4 23.225.55.33 0.45 ms AS40065 China, Hong Kong, ceranetworks.com
5 23.225.55.54 1.19 ms AS40065 China, Hong Kong, ceranetworks.com
6 223.120.2.53 1.24 ms AS58453 China, Hong Kong, ChinaMobile
7 *
8 221.183.89.170 30.18 ms AS9808 China, Shanghai, ChinaMobile
9 221.183.89.69 29.68 ms AS9808 China, Shanghai, ChinaMobile
10 221.183.89.50 31.20 ms AS9808 China, Shanghai, ChinaMobile
11 *
12 *
13 *
14 *
15 124.74.166.230 31.72 ms AS4812 China, Shanghai, ChinaTelecom
16 *
17 *
18 *
19 *
20 *
21 *
22 *
23 *
24 *
25 *
26 *
27 *
28 *
29 *
30 *
Traceroute to China, Beijing CT (TCP Mode, Max 30 Hop)
============================================================
traceroute to 180.149.128.9 (180.149.128.9), 30 hops max, 32 byte packets
1 154.198.192.65 1.90 ms AS40065 China, Hong Kong, cloudinnovation.org
2 *
3 23.225.55.42 0.55 ms AS40065 China, Hong Kong, ceranetworks.com
4 23.225.55.33 0.99 ms AS40065 China, Hong Kong, ceranetworks.com
5 23.225.55.54 1.08 ms AS40065 China, Hong Kong, ceranetworks.com
6 *
7 223.120.22.106 27.20 ms AS58453 China, Shanghai, ChinaMobile
8 221.183.89.174 29.07 ms AS9808 China, Shanghai, ChinaMobile
9 221.183.89.33 29.17 ms AS9808 China, Shanghai, ChinaMobile
10 *
11 221.183.37.217 52.48 ms AS9808 China, Beijing, ChinaMobile
12 *
13 *
14 *
15 *
16 *
17 *
18 *
19 *
20 *
21 *
22 *
23 *
24 *
25 *
26 *
27 *
28 *
29 *
30 *
Traceroute to China, Guangzhou CU (TCP Mode, Max 30 Hop)
============================================================
traceroute to 210.21.4.130 (210.21.4.130), 30 hops max, 32 byte packets
1 154.198.192.65 2.21 ms AS40065 China, Hong Kong, cloudinnovation.org
2 *
3 23.225.55.42 0.48 ms AS40065 China, Hong Kong, ceranetworks.com
4 23.225.55.33 0.47 ms AS40065 China, Hong Kong, ceranetworks.com
5 23.225.55.54 1.16 ms AS40065 China, Hong Kong, ceranetworks.com
6 223.120.2.53 1.41 ms AS58453 China, Hong Kong, ChinaMobile
7 223.120.3.186 28.38 ms AS58453 China, Shanghai, ChinaMobile
8 221.183.89.174 28.45 ms AS9808 China, Shanghai, ChinaMobile
9 221.183.89.33 29.07 ms AS9808 China, Shanghai, ChinaMobile
10 *
11 *
12 *
13 219.158.46.145 42.94 ms AS4837 China, Guangdong, Guangzhou, ChinaUnicom
14 219.158.10.249 40.12 ms AS4837 China, Guangdong, Guangzhou, ChinaUnicom
15 120.86.0.182 39.26 ms AS17816 China, Guangdong, Guangzhou, ChinaUnicom
16 120.80.79.194 36.62 ms AS17622 China, Guangdong, Guangzhou, ChinaUnicom
17 *
18 *
19 *
20 *
21 *
22 *
23 *
24 *
25 *
26 *
27 *
28 *
29 *
30 *
Traceroute to China, Shanghai CU (TCP Mode, Max 30 Hop)
============================================================
traceroute to 58.247.8.158 (58.247.8.158), 30 hops max, 32 byte packets
1 154.198.192.65 2.05 ms AS40065 China, Hong Kong, cloudinnovation.org
2 *
3 23.225.55.42 0.80 ms AS40065 China, Hong Kong, ceranetworks.com
4 23.225.55.33 0.57 ms AS40065 China, Hong Kong, ceranetworks.com
5 23.225.55.54 1.44 ms AS40065 China, Hong Kong, ceranetworks.com
6 223.120.2.53 1.28 ms AS58453 China, Hong Kong, ChinaMobile
7 223.120.22.110 27.42 ms AS58453 China, Shanghai, ChinaMobile
8 221.183.89.174 29.06 ms AS9808 China, Shanghai, ChinaMobile
9 221.183.89.33 27.77 ms AS9808 China, Shanghai, ChinaMobile
10 *
11 221.183.94.2 36.14 ms AS9808 China, Shanghai, ChinaMobile
12 221.183.123.110 44.57 ms AS9808 China, Shanghai, ChinaMobile
13 *
14 *
15 58.247.221.178 32.78 ms AS17621 China, Shanghai, ChinaUnicom
16 139.226.225.22 30.29 ms AS17621 China, Shanghai, ChinaUnicom
17 58.247.8.153 41.22 ms AS17621 China, Shanghai, ChinaUnicom
18 *
19 *
20 *
21 *
22 *
23 *
24 *
25 *
26 *
27 *
28 *
29 *
30 *
Traceroute to China, Beijing CU (TCP Mode, Max 30 Hop)
============================================================
traceroute to 123.125.99.1 (123.125.99.1), 30 hops max, 32 byte packets
1 154.198.192.65 5.81 ms AS40065 China, Hong Kong, cloudinnovation.org
2 *
3 23.225.55.42 0.52 ms AS40065 China, Hong Kong, ceranetworks.com
4 23.225.55.33 0.55 ms AS40065 China, Hong Kong, ceranetworks.com
5 23.225.55.54 1.03 ms AS40065 China, Hong Kong, ceranetworks.com
6 223.120.2.53 1.38 ms AS58453 China, Hong Kong, ChinaMobile
7 223.120.3.174 28.23 ms AS58453 China, Shanghai, ChinaMobile
8 221.183.89.174 29.62 ms AS9808 China, Shanghai, ChinaMobile
9 221.183.89.69 29.62 ms AS9808 China, Shanghai, ChinaMobile
10 221.183.89.46 29.74 ms AS9808 China, Shanghai, ChinaMobile
11 *
12 221.183.94.38 53.89 ms AS9808 China, Beijing, ChinaMobile
13 221.183.95.58 62.74 ms AS9808 China, Beijing, ChinaMobile
14 *
15 125.33.186.134 60.28 ms AS4808 China, Beijing, ChinaUnicom
16 219.232.11.206 66.23 ms AS4808 China, Beijing, ChinaUnicom
17 *
18 *
19 *
20 *
21 *
22 *
23 *
24 *
25 *
26 *
27 *
28 *
29 *
30 *
Traceroute to China, Guangzhou CM (TCP Mode, Max 30 Hop)
============================================================
traceroute to 120.196.212.25 (120.196.212.25), 30 hops max, 32 byte packets
1 154.198.192.65 2.56 ms AS40065 China, Hong Kong, cloudinnovation.org
2 *
3 23.225.55.42 0.48 ms AS40065 China, Hong Kong, ceranetworks.com
4 23.225.55.33 0.44 ms AS40065 China, Hong Kong, ceranetworks.com
5 23.225.55.54 4.75 ms AS40065 China, Hong Kong, ceranetworks.com
6 223.120.2.53 2.01 ms AS58453 China, Hong Kong, ChinaMobile
7 *
8 221.183.55.54 7.18 ms AS9808 China, Guangdong, Guangzhou, ChinaMobile
9 221.176.19.213 5.49 ms AS9808 China, Guangdong, Guangzhou, ChinaMobile
10 221.176.24.157 9.54 ms AS9808 China, Guangdong, Guangzhou, ChinaMobile
11 111.24.4.245 8.30 ms AS9808 China, Guangdong, Guangzhou, ChinaMobile
12 111.24.5.214 11.74 ms AS9808 China, Guangdong, Shenzhen, ChinaMobile
13 211.136.196.246 8.97 ms AS56040 China, Guangdong, Guangzhou, ChinaMobile
14 211.139.180.106 10.01 ms AS56040 China, Guangdong, Guangzhou, ChinaMobile
15 *
16 211.139.180.106 10.69 ms AS56040 China, Guangdong, Guangzhou, ChinaMobile
17 *
18 *
19 120.196.212.25 12.50 ms AS56040 China, Guangdong, Guangzhou, ChinaMobile
Traceroute to China, Shanghai CM (TCP Mode, Max 30 Hop)
============================================================
traceroute to 221.183.55.22 (221.183.55.22), 30 hops max, 32 byte packets
1 154.198.192.65 1.81 ms AS40065 China, Hong Kong, cloudinnovation.org
2 *
3 23.225.55.42 0.47 ms AS40065 China, Hong Kong, ceranetworks.com
4 23.225.55.33 0.55 ms AS40065 China, Hong Kong, ceranetworks.com
5 23.225.55.54 1.45 ms AS40065 China, Hong Kong, ceranetworks.com
6 223.120.2.53 2.11 ms AS58453 China, Hong Kong, ChinaMobile
7 *
8 *
9 *
10 *
11 *
12 *
13 *
14 *
15 *
16 *
17 *
18 *
19 *
20 *
21 *
22 *
23 *
24 *
25 *
26 *
27 *
28 *
29 *
30 *
Traceroute to China, Beijing CM (TCP Mode, Max 30 Hop)
============================================================
traceroute to 211.136.25.153 (211.136.25.153), 30 hops max, 32 byte packets
1 154.198.192.65 9.76 ms AS40065 China, Hong Kong, cloudinnovation.org
2 *
3 23.225.55.42 0.50 ms AS40065 China, Hong Kong, ceranetworks.com
4 23.225.55.33 0.44 ms AS40065 China, Hong Kong, ceranetworks.com
5 23.225.55.54 1.29 ms AS40065 China, Hong Kong, ceranetworks.com
6 223.120.2.53 1.34 ms AS58453 China, Hong Kong, ChinaMobile
7 *
8 *
9 *
10 221.183.46.250 42.78 ms AS9808 China, Beijing, ChinaMobile
11 221.183.89.110 49.49 ms AS9808 China, Beijing, ChinaMobile
12 111.24.2.109 49.25 ms AS9808 China, Beijing, ChinaMobile
13 111.24.14.46 46.81 ms AS9808 China, Beijing, ChinaMobile
14 211.136.63.66 47.25 ms AS56048 China, Beijing, ChinaMobile
15 211.136.67.166 45.74 ms AS56048 China, Beijing, ChinaMobile
16 211.136.95.226 59.93 ms AS56048 China, Beijing, ChinaMobile
17 *
18 *
19 *
20 211.136.25.153 49.40 ms AS56048 China, Beijing, ChinaMobile
Traceroute to China, Beijing Dr.Peng Network IDC Network (TCP Mode, Max 30 Hop)
============================================================
traceroute to 211.167.230.100 (211.167.230.100), 30 hops max, 32 byte packets
1 154.198.192.65 2.81 ms AS40065 China, Hong Kong, cloudinnovation.org
2 *
3 23.225.55.42 0.50 ms AS40065 China, Hong Kong, ceranetworks.com
4 23.225.55.33 0.58 ms AS40065 China, Hong Kong, ceranetworks.com
5 23.225.55.54 4.91 ms AS40065 China, Hong Kong, ceranetworks.com
6 *
7 223.120.3.182 28.02 ms AS58453 China, Shanghai, ChinaMobile
8 221.183.89.170 28.93 ms AS9808 China, Shanghai, ChinaMobile
9 221.183.89.69 29.50 ms AS9808 China, Shanghai, ChinaMobile
10 221.183.89.14 31.67 ms AS9808 China, Shanghai, ChinaMobile
11 *
12 *
13 221.183.95.54 67.89 ms AS9808 China, Beijing, ChinaMobile
14 *
15 *
16 202.96.13.250 63.73 ms AS4808 China, Beijing, ChinaUnicom
17 *
18 202.99.1.134 65.51 ms AS4808 China, Beijing, ChinaUnicom
19 218.241.255.138 64.98 ms AS4808 China, Beijing, DRPENG
20 218.241.253.130 65.04 ms AS4808 China, Beijing, DRPENG
21 211.167.230.100 65.22 ms AS17964 China, Beijing, DRPENG
----------------------------------------------------------------------------------
其他流媒体解锁测试
老刘博客


































