童话镇黑五活动拿出旗下新加坡VPS进行促销:newtudou童话镇黑五活动:新加坡1000Mbps大带宽VPS年付半价优惠低至$4.99,可选IPv4或IPv6、国际线路或中国大陆优化线路,那么newtudou童话镇新加坡VPS性能怎么样呢?站长这里入手了一台新加坡VPS(BGP线路Lite序列),套餐名称【sgbgp.Lite.46.H1】进行了简单测评,一起来看看其国内延迟、丢包率、性能和带宽、路由去回程、解锁流媒体和TikTok检测情况。总结来看这台新加坡VPS支持解锁坡奈飞视频、迪士尼等流媒体(不支持TikTok解锁),1Gbps大带宽,黑五活动年付只需$14.50,值得入手!
童話鎮官网:客戶系統 – 童話鎮 (newtudou.com)
童话镇黑五活动促销新加坡VPS方案,其中sgbgp.Lite.46.H1为本文测试机器套餐:
| sgbgp.Lite.45.H0V6 | sgbgp.Lite.46.H1 | sgbgp.Pro.47.A2 |
| 黑五价:$4.99/年 | 黑五价:$14.50/年 | 黑五价:$23.45/年 |
| 黑五优惠码:sgbgp.Lite.45.H0V6 | 黑五优惠码:sgbgp.Lite.46.H1 | 黑五优惠码:sgbgp.Pro.47.A2 |
| – 1 vCPU (E5-2680V2) | – 1 vCPU (E5-2680V2) | – 1 vCPU (AMD 7402P) |
| – 512 MB RAM | – 512 MB RAM | – 1024 MB RAM |
| – 10 GB SSD | – 10 GB SSD | – 10 GB SSD |
| – 500 GB Bandwidth | – 888 GB Bandwidth | – 1000 GB Bandwidth |
| – IPV6*1 (HK IP) | – IPV4*1 (HK IP) | – IPV4*1 (HK IP) |
| – 1000Mbps Network | – 1000Mbps Network | – IPV6*1 (HK IP) |
| – 不直連中國大陸,任何工單要求100%直連中國大陸默認退款 | – 不直連中國大陸(NTT網絡) | – 300Mbps Network |
| – 無IPV4地址|不提供任何IPV4鏈接方式 | – 不保證IP地址中國大陸可訪問 | – 優化中國大陸CM |
| 服務人工審核 | 服務人工審核 | 服務人工審核 |
| 立即購買 | 立即購買 | 立即購買 |
童话镇新加坡VPS测评分析
可以看出CPU是Intel E5-2680V2,1核512MB内存,支持解锁新加坡区奈飞,不支持解锁TikTok,磁盘IO读写速度259.3MB/s
80个节点测试的机器网络延迟情况,可以看到香港延迟最低,这也说明了IP是香港的,这和官方描述“HK IP”相符。
FIO继续测试硬盘读写数据的情况
iperf3跑欧美的节点,大致数据如下,这里有IPv4和IPv6对应的测试数据
Speedtest.net国内外节点测速
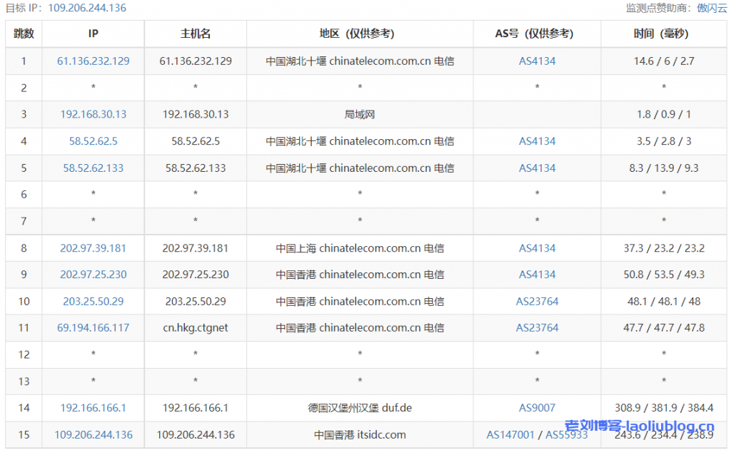
去程路由追踪测试
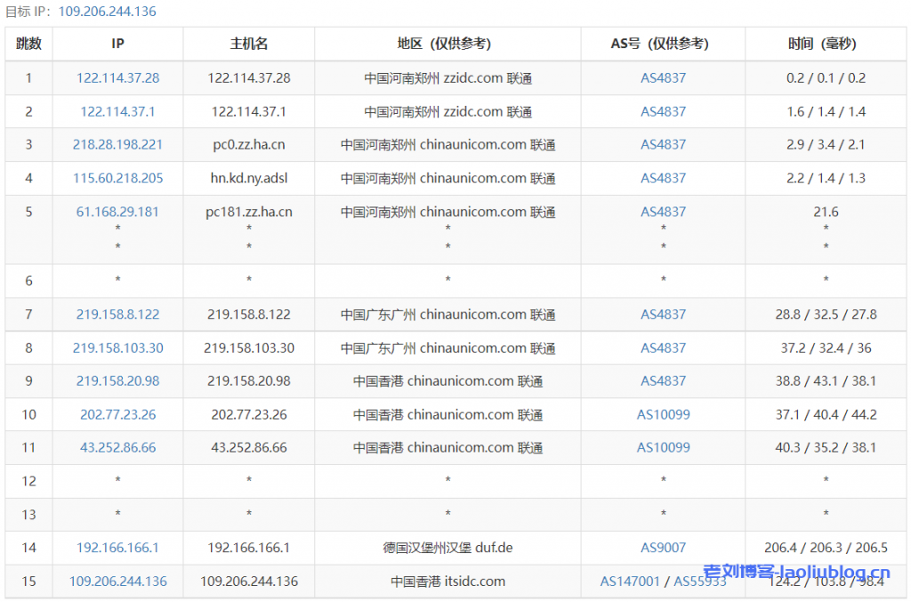
回程路由追踪测试
Traceroute to China, Guangzhou CT (TCP Mode, Max 30 Hop)
============================================================
traceroute to 113.108.209.1 (113.108.209.1), 30 hops max, 32 byte packets
1 5.253.36.1 0.77 ms AS147001 Singapore, lvnet.lv
2 172.20.20.13 0.94 ms * LAN Address
3 10.65.236.1 1.08 ms * LAN Address
4 10.65.226.1 0.87 ms * LAN Address
5 *
6 *
7 129.250.2.243 71.49 ms AS2914 Japan, Tokyo, ntt.com
8 129.250.5.23 70.22 ms AS2914 Japan, Tokyo, ntt.com
9 129.250.5.78 182.51 ms AS2914 United States, California, San Jose, ntt.com
10 129.250.6.119 172.37 ms AS2914 NTT.COM 骨干网, ntt.com
11 218.30.53.50 179.40 ms AS4134 United States, California, Los Angeles, ChinaTelecom
12 *
13 202.97.65.94 182.95 ms AS4134 China, Guangdong, Guangzhou, ChinaTelecom
14 *
15 *
16 113.108.209.1 191.02 ms AS4134 China, Guangdong, Guangzhou, ChinaTelecom
Traceroute to China, Shanghai CT (TCP Mode, Max 30 Hop)
============================================================
traceroute to 180.153.28.5 (180.153.28.5), 30 hops max, 32 byte packets
1 5.253.36.1 0.64 ms AS147001 Singapore, lvnet.lv
2 172.20.20.13 1.03 ms * LAN Address
3 10.65.236.1 1.56 ms * LAN Address
4 10.65.226.1 1.02 ms * LAN Address
5 128.241.9.156 1.37 ms AS2914 Singapore, ntt.com
6 183.91.56.121 2.16 ms AS4134 Singapore, ChinaTelecom
7 *
8 *
9 *
10 101.95.120.109 63.90 ms AS4812 China, Shanghai, ChinaTelecom
11 124.74.166.230 62.59 ms AS4812 China, Shanghai, ChinaTelecom
12 124.74.232.58 64.88 ms AS4811 China, Shanghai, ChinaTelecom
13 *
14 *
15 *
16 *
17 *
18 *
19 *
20 *
21 *
22 *
23 *
24 *
25 *
26 *
27 *
28 *
29 *
30 *
Traceroute to China, Beijing CT (TCP Mode, Max 30 Hop)
============================================================
traceroute to 180.149.128.9 (180.149.128.9), 30 hops max, 32 byte packets
1 5.253.36.1 0.36 ms AS147001 Singapore, lvnet.lv
2 172.20.20.13 0.96 ms * LAN Address
3 10.65.236.1 1.02 ms * LAN Address
4 10.65.226.1 44.77 ms * LAN Address
5 *
6 183.91.56.121 2.47 ms AS4134 Singapore, ChinaTelecom
7 *
8 *
9 *
10 202.97.33.105 77.83 ms AS4134 China, Beijing, ChinaTelecom
11 *
12 *
13 *
14 *
15 *
16 *
17 *
18 *
19 *
20 *
21 *
22 *
23 *
24 *
25 *
26 *
27 *
28 *
29 *
30 *
Traceroute to China, Guangzhou CU (TCP Mode, Max 30 Hop)
============================================================
traceroute to 210.21.4.130 (210.21.4.130), 30 hops max, 32 byte packets
1 5.253.36.1 0.48 ms AS147001 Singapore, lvnet.lv
2 172.20.20.13 0.72 ms * LAN Address
3 10.65.236.1 1.05 ms * LAN Address
4 10.65.226.1 1.26 ms * LAN Address
5 128.241.9.156 1.47 ms AS2914 Singapore, ntt.com
6 *
7 129.250.2.243 77.12 ms AS2914 Japan, Tokyo, ntt.com
8 129.250.3.56 68.62 ms AS2914 Japan, Tokyo, ntt.com
9 219.158.42.5 85.19 ms AS4837 China, Guangdong, Guangzhou, ChinaUnicom
10 219.158.97.26 91.16 ms AS4837 China, Guangdong, Guangzhou, ChinaUnicom
11 219.158.24.125 82.36 ms AS4837 China, Guangdong, Guangzhou, ChinaUnicom
12 120.83.0.230 79.78 ms AS17816 China, Guangdong, Guangzhou, ChinaUnicom
13 120.80.169.118 83.39 ms AS17622 China, Guangdong, Guangzhou, ChinaUnicom
14 *
15 *
16 *
17 *
18 *
19 *
20 *
21 *
22 *
23 *
24 *
25 *
26 *
27 *
28 *
29 *
30 *
Traceroute to China, Shanghai CU (TCP Mode, Max 30 Hop)
============================================================
traceroute to 58.247.8.158 (58.247.8.158), 30 hops max, 32 byte packets
1 5.253.36.1 0.46 ms AS147001 Singapore, lvnet.lv
2 172.20.20.13 0.88 ms * LAN Address
3 10.65.236.1 0.74 ms * LAN Address
4 10.65.226.1 1.30 ms * LAN Address
5 128.241.9.156 1.66 ms AS2914 Singapore, ntt.com
6 *
7 *
8 129.250.2.42 71.79 ms AS2914 Japan, Osaka, ntt.com
9 *
10 129.250.2.128 78.38 ms AS2914 Japan, Osaka, ntt.com
11 129.250.66.86 109.47 ms AS2914 Japan, Osaka, ntt.com
12 219.158.19.86 103.17 ms AS4837 China, Shanghai, ChinaUnicom
13 219.158.19.69 87.77 ms AS4837 China, Shanghai, ChinaUnicom
14 *
15 58.247.221.178 107.82 ms AS17621 China, Shanghai, ChinaUnicom
16 139.226.225.22 93.17 ms AS17621 China, Shanghai, ChinaUnicom
17 58.247.8.153 111.46 ms AS17621 China, Shanghai, ChinaUnicom
18 *
19 *
20 *
21 *
22 *
23 *
24 *
25 *
26 *
27 *
28 *
29 *
30 *
Traceroute to China, Beijing CU (TCP Mode, Max 30 Hop)
============================================================
traceroute to 123.125.99.1 (123.125.99.1), 30 hops max, 32 byte packets
1 5.253.36.1 0.48 ms AS147001 Singapore, lvnet.lv
2 172.20.20.13 0.82 ms * LAN Address
3 10.65.236.1 0.87 ms * LAN Address
4 10.65.226.1 0.94 ms * LAN Address
5 *
6 *
7 *
8 129.250.2.42 73.99 ms AS2914 Japan, Osaka, ntt.com
9 129.250.3.45 79.02 ms AS2914 Japan, Osaka, ntt.com
10 129.250.7.33 78.21 ms AS2914 Japan, Osaka, ntt.com
11 129.250.8.26 113.03 ms AS2914 Japan, Osaka, ntt.com
12 219.158.3.181 104.74 ms AS4837 China, Beijing, ChinaUnicom
13 *
14 *
15 219.232.11.202 113.57 ms AS4808 China, Beijing, ChinaUnicom
16 *
17 *
18 *
19 *
20 *
21 *
22 *
23 *
24 *
25 *
26 *
27 *
28 *
29 *
30 *
Traceroute to China, Guangzhou CM (TCP Mode, Max 30 Hop)
============================================================
traceroute to 120.196.212.25 (120.196.212.25), 30 hops max, 32 byte packets
1 5.253.36.1 0.39 ms AS147001 Singapore, lvnet.lv
2 172.20.20.13 27.55 ms * LAN Address
3 10.65.236.1 1.07 ms * LAN Address
4 10.65.226.1 1.08 ms * LAN Address
5 128.241.9.156 1.09 ms AS2914 Singapore, ntt.com
6 *
7 129.250.7.67 44.37 ms AS2914 China, Hong Kong, ntt.com
8 129.250.6.94 37.82 ms AS2914 China, Hong Kong, ntt.com
9 *
10 *
11 *
12 221.183.55.98 51.90 ms AS9808 China, Guangdong, Guangzhou, ChinaMobile
13 221.183.25.122 43.49 ms AS9808 China, Guangdong, Guangzhou, ChinaMobile
14 221.176.22.105 45.23 ms AS9808 China, Guangdong, Guangzhou, ChinaMobile
15 111.24.5.185 51.19 ms AS9808 China, Guangdong, Guangzhou, ChinaMobile
16 111.24.5.218 46.12 ms AS9808 China, Guangdong, Guangzhou, ChinaMobile
17 211.136.208.249 52.90 ms AS56040 China, Guangdong, Guangzhou, ChinaMobile
18 211.139.180.106 49.36 ms AS56040 China, Guangdong, Guangzhou, ChinaMobile
19 211.139.180.106 141.26 ms AS56040 China, Guangdong, Guangzhou, ChinaMobile
20 120.196.212.25 56.72 ms AS56040 China, Guangdong, Guangzhou, ChinaMobile
Traceroute to China, Shanghai CM (TCP Mode, Max 30 Hop)
============================================================
traceroute to 221.183.55.22 (221.183.55.22), 30 hops max, 32 byte packets
1 5.253.36.1 0.50 ms AS147001 Singapore, lvnet.lv
2 172.20.20.13 0.97 ms * LAN Address
3 10.65.236.1 54.49 ms * LAN Address
4 10.65.226.1 0.82 ms * LAN Address
5 128.241.9.156 1.49 ms AS2914 Singapore, ntt.com
6 *
7 129.250.2.149 1.32 ms AS2914 Singapore, ntt.com
8 116.51.17.238 2.19 ms AS2914 Singapore, ntt.com
9 *
10 223.120.3.186 65.93 ms AS58453 China, Shanghai, ChinaMobile
11 221.183.89.170 65.14 ms AS9808 China, Shanghai, ChinaMobile
12 *
13 *
14 *
15 *
16 *
17 *
18 *
19 *
20 *
21 *
22 *
23 *
24 *
25 *
26 *
27 *
28 *
29 *
30 *
Traceroute to China, Beijing CM (TCP Mode, Max 30 Hop)
============================================================
traceroute to 211.136.25.153 (211.136.25.153), 30 hops max, 32 byte packets
1 5.253.36.1 0.57 ms AS147001 Singapore, lvnet.lv
2 172.20.20.13 1.03 ms * LAN Address
3 10.65.236.1 1.25 ms * LAN Address
4 10.65.226.1 0.87 ms * LAN Address
5 *
6 129.250.2.75 2.23 ms AS2914 Singapore, ntt.com
7 *
8 129.250.5.39 37.35 ms AS2914 China, Hong Kong, ntt.com
9 *
10 223.120.2.53 38.03 ms AS58453 China, Hong Kong, ChinaMobile
11 223.120.3.178 70.41 ms AS58453 China, Shanghai, ChinaMobile
12 221.183.89.174 68.42 ms AS9808 China, Shanghai, ChinaMobile
13 221.183.89.69 68.14 ms AS9808 China, Shanghai, ChinaMobile
14 221.183.89.46 71.75 ms AS9808 China, Shanghai, ChinaMobile
15 221.183.37.217 93.81 ms AS9808 China, Beijing, ChinaMobile
16 *
17 211.136.67.106 95.02 ms AS56048 China, Beijing, ChinaMobile
18 211.136.63.66 92.68 ms AS56048 China, Beijing, ChinaMobile
19 211.136.63.66 99.58 ms AS56048 China, Beijing, ChinaMobile
20 211.136.95.226 93.65 ms AS56048 China, Beijing, ChinaMobile
21 *
22 211.136.25.153 94.99 ms AS56048 China, Beijing, ChinaMobile
Traceroute to China, Beijing Dr.Peng Network IDC Network (TCP Mode, Max 30 Hop)
============================================================
traceroute to 211.167.230.100 (211.167.230.100), 30 hops max, 32 byte packets
1 5.253.36.1 0.65 ms AS147001 Singapore, lvnet.lv
2 172.20.20.13 1.16 ms * LAN Address
3 10.65.236.1 1.20 ms * LAN Address
4 10.65.226.1 1.25 ms * LAN Address
5 128.241.9.156 1.60 ms AS2914 Singapore, ntt.com
6 *
7 129.250.7.67 41.17 ms AS2914 China, Hong Kong, ntt.com
8 129.250.2.42 73.20 ms AS2914 Japan, Osaka, ntt.com
9 *
10 129.250.7.33 78.72 ms AS2914 Japan, Osaka, ntt.com
11 129.250.9.186 100.84 ms AS2914 NTT.COM 骨干网, ntt.com
12 219.158.9.218 102.35 ms AS4837 China, Beijing, ChinaUnicom
13 *
14 *
15 202.96.13.190 102.86 ms AS4808 China, Beijing, ChinaUnicom
16 61.149.212.242 120.76 ms AS4808 China, Beijing, ChinaUnicom
17 202.99.1.234 121.23 ms AS4808 China, Beijing, ChinaUnicom
18 124.205.97.138 123.43 ms AS4808 China, Beijing, DRPENG
19 218.241.253.130 127.79 ms AS4808 China, Beijing, DRPENG
20 211.167.230.100 130.14 ms AS17964 China, Beijing, DRPENG
----------------------------------------------------------------------------------
其他流媒体解锁测试
支持解锁刚去奈飞/迪士尼
Unixbench跑分看下机器综合性能
老刘博客






































