站长在前文有测评过HostingViet越南便宜VPS:HostingViet怎么样?Cloud VPS Basic 2-HostingViet便宜越南VPS测评:越南原生IP,解锁越南TikTok/奈飞流媒体,那么Cloud VPS Basic1性能如何呢?这里入手了一台进行了测评,总结来说,其是越南原生IP VPS,支持解锁奈飞/Tiktok流媒体。
HostingViet官网:Thuê Cloud VPS Giá Rẻ Server Nhanh Ổn Định Việt Nam Từ 75.000đ/ Tháng (hostingviet.vn)
详见《HostingViet十一月优惠:越南便宜VPS月付7折半年付6折,年付配置翻倍!》或《HostingViet越南便宜VPS永久7折优惠!越南原生IP VPS,解锁TikTok,15元/月/1核2G内存/20GB SSD/不限流量@150Mbps带宽》。
HostingViet优惠码:KMT1122(6折) LIFETIME30或LAOLIUBLOG(7折)
HostingViet测试IP:103.81.84.*,越南河内机房
下面列出几款VPS主机配置信息,表中价格为人民币大概费用。
| 型号 | vCPU | 内存 | 硬盘 | 带宽/流量 | IPv4 | 折后价格 | 购买 |
| Cloud VPS Basic 1 | 1核 | 1GB+1GB免费 | 20GB SSD | 150Mbps/不限 | 1个 | 52500VND/月,约15元/月 | 链接 |
| Cloud VPS Basic 2 | 2核 | 3GB | 30GB SSD | 150Mbps/不限 | 1个 | 151200VND /月,约44元/月 | 链接 |
| Cloud VPS Basic 3 | 3核 | 6GB | 40GB SSD | 150Mbps/不限 | 1个 | 332500VND/月,约97元/月 | 链接 |
| Cloud VPS Basic 4 | 4核 | 10GB | 80GB SSD | 150Mbps/不限 | 1个 | 541800VND/月,约157元/月 | 链接 |
HostingViet越南便宜VPS主机(Cloud VPS Basic1)测评分析:
配置信息:CPU是Intel平台,配置是1核1GB内存;支持解锁越南TikTok、奈飞流媒体。
测试看是越南原生IP
三网ping测试看网络延迟
国内外节点测速
iperf3针对欧美的节点的数据测试

去程路由追踪测试
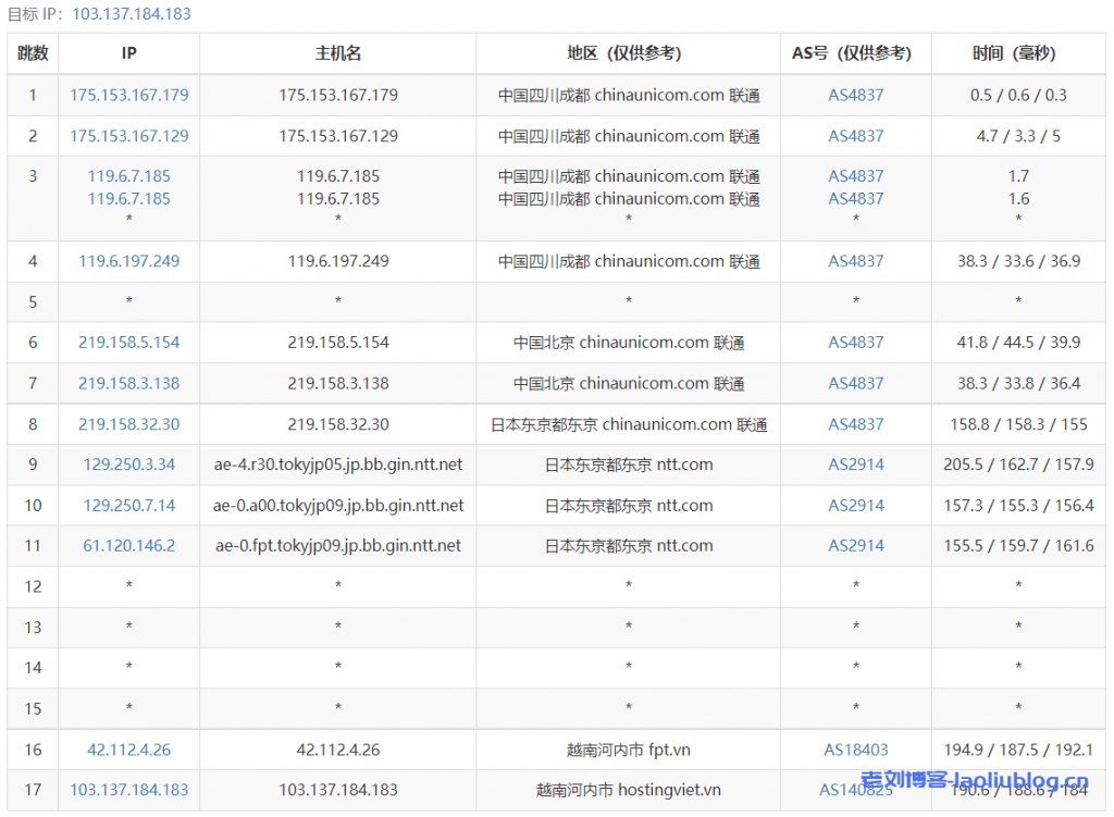
回程路由追踪测试
Traceroute to China, Guangzhou CT (TCP Mode, Max 30 Hop)
============================================================
traceroute to 113.108.209.1 (113.108.209.1), 30 hops max, 32 byte packets
1 103.137.184.253 9.43 ms AS140825 Viet Nam, Hanoi, hostingviet.vn
2 42.112.4.25 1.00 ms AS18403 Viet Nam, Hanoi, fpt.vn
3 118.69.249.26 18.13 ms AS18403 China, Hong Kong, fpt.vn
4 203.215.232.177 82.12 ms AS4134 China, Hong Kong, ChinaTelecom
5 202.97.57.82 69.29 ms AS4134 China, Guangdong, Guangzhou, ChinaTelecom
6 *
7 *
8 113.108.209.1 74.56 ms AS4134 China, Guangdong, Guangzhou, ChinaTelecom
Traceroute to China, Shanghai CT (TCP Mode, Max 30 Hop)
============================================================
traceroute to 180.153.28.5 (180.153.28.5), 30 hops max, 32 byte packets
1 103.137.184.253 6.21 ms AS140825 Viet Nam, Hanoi, hostingviet.vn
2 42.112.4.25 1.05 ms AS18403 Viet Nam, Hanoi, fpt.vn
3 118.69.249.26 18.03 ms AS18403 China, Hong Kong, fpt.vn
4 203.215.232.177 83.36 ms AS4134 China, Hong Kong, ChinaTelecom
5 *
6 *
7 *
8 61.152.24.245 69.66 ms AS4812 China, Shanghai, ChinaTelecom
9 101.95.207.6 75.51 ms AS4812 China, Shanghai, ChinaTelecom
10 124.74.232.62 87.69 ms AS4811 China, Shanghai, ChinaTelecom
11 *
12 *
13 *
14 *
15 *
16 *
17 *
18 *
19 *
20 *
21 *
22 *
23 *
24 *
25 *
26 *
27 *
28 *
29 *
30 *
Traceroute to China, Beijing CT (TCP Mode, Max 30 Hop)
============================================================
traceroute to 180.149.128.9 (180.149.128.9), 30 hops max, 32 byte packets
1 103.137.184.253 0.69 ms AS140825 Viet Nam, Hanoi, hostingviet.vn
2 42.112.4.25 1.20 ms AS18403 Viet Nam, Hanoi, fpt.vn
3 118.69.249.26 19.80 ms AS18403 China, Hong Kong, fpt.vn
4 63.217.16.77 20.29 ms AS3491,AS31713 China, Hong Kong, pccw.com
5 *
6 63.218.72.230 195.45 ms AS3491,AS31713 United States, California, Los Angeles, pccw.com
7 63.223.43.98 205.04 ms AS3491,AS31713 United States, California, Los Angeles, pccw.com
8 *
9 *
10 *
11 *
12 *
13 *
14 *
15 *
16 *
17 *
18 *
19 *
20 *
21 *
22 *
23 *
24 *
25 *
26 *
27 *
28 *
29 *
30 *
Traceroute to China, Guangzhou CU (TCP Mode, Max 30 Hop)
============================================================
traceroute to 210.21.4.130 (210.21.4.130), 30 hops max, 32 byte packets
1 103.137.184.253 4.86 ms AS140825 Viet Nam, Hanoi, hostingviet.vn
2 42.112.4.25 1.00 ms AS18403 Viet Nam, Hanoi, fpt.vn
3 42.112.2.37 1.65 ms AS18403 Viet Nam, Hanoi, fpt.vn
4 118.69.253.73 20.15 ms AS18403 China, Hong Kong, fpt.vn
5 118.69.184.73 23.32 ms AS18403 China, Hong Kong, fpt.vn
6 62.115.35.126 21.86 ms AS1299 TELIA.COM 骨干网, telia.com
7 *
8 62.115.135.140 175.43 ms AS1299 TELIA.COM 骨干网, telia.com
9 62.115.114.202 190.28 ms AS1299 Germany, Hesse, Frankfurt, telia.com
10 *
11 *
12 219.158.3.241 341.84 ms AS4837 China, Guangdong, Guangzhou, ChinaUnicom
13 219.158.24.133 351.67 ms AS4837 China, Guangdong, Guangzhou, ChinaUnicom
14 219.158.8.113 334.55 ms AS4837 China, Guangdong, Guangzhou, ChinaUnicom
15 112.96.0.146 345.80 ms AS17816 China, Guangdong, Guangzhou, ChinaUnicom
16 120.80.175.62 344.49 ms AS17622 China, Guangdong, Guangzhou, ChinaUnicom
17 *
18 *
19 *
20 *
21 *
22 *
23 *
24 *
25 *
26 *
27 *
28 *
29 *
30 *
Traceroute to China, Shanghai CU (TCP Mode, Max 30 Hop)
============================================================
traceroute to 58.247.8.158 (58.247.8.158), 30 hops max, 32 byte packets
1 103.137.184.253 1.04 ms AS140825 Viet Nam, Hanoi, hostingviet.vn
2 42.112.4.25 1.00 ms AS18403 Viet Nam, Hanoi, fpt.vn
3 1.53.123.85 1.14 ms AS18403 Viet Nam, Hanoi, fpt.vn
4 118.69.253.73 22.29 ms AS18403 China, Hong Kong, fpt.vn
5 118.69.184.73 21.78 ms AS18403 China, Hong Kong, fpt.vn
6 62.115.35.126 18.12 ms AS1299 TELIA.COM 骨干网, telia.com
7 *
8 62.115.135.140 173.59 ms AS1299 TELIA.COM 骨干网, telia.com
9 62.115.116.20 189.62 ms AS1299 Germany, Hesse, Frankfurt, telia.com
10 *
11 219.158.41.97 339.07 ms AS4837 Germany, Hesse, Frankfurt, ChinaUnicom
12 219.158.14.25 355.61 ms AS4837 China, Guangdong, Guangzhou, ChinaUnicom
13 219.158.4.77 339.44 ms AS4837 China, Guangdong, ChinaUnicom
14 219.158.3.97 350.59 ms AS4837 China, Guangdong, Guangzhou, ChinaUnicom
15 *
16 *
17 58.247.221.178 359.77 ms AS17621 China, Shanghai, ChinaUnicom
18 139.226.225.22 354.37 ms AS17621 China, Shanghai, ChinaUnicom
19 58.247.8.153 361.65 ms AS17621 China, Shanghai, ChinaUnicom
20 *
21 *
22 *
23 *
24 *
25 *
26 *
27 *
28 *
29 *
30 *
Traceroute to China, Beijing CU (TCP Mode, Max 30 Hop)
============================================================
traceroute to 123.125.99.1 (123.125.99.1), 30 hops max, 32 byte packets
1 103.137.184.253 0.80 ms AS140825 Viet Nam, Hanoi, hostingviet.vn
2 42.112.2.6 2.83 ms AS18403 Viet Nam, Hanoi, fpt.vn
3 42.112.2.37 1.18 ms AS18403 Viet Nam, Hanoi, fpt.vn
4 118.69.253.73 22.29 ms AS18403 China, Hong Kong, fpt.vn
5 118.69.184.73 25.09 ms AS18403 China, Hong Kong, fpt.vn
6 62.115.35.126 19.28 ms AS1299 TELIA.COM 骨干网, telia.com
7 *
8 62.115.135.140 174.79 ms AS1299 TELIA.COM 骨干网, telia.com
9 62.115.114.202 188.62 ms AS1299 Germany, Hesse, Frankfurt, telia.com
10 *
11 219.158.43.25 357.78 ms AS4837 Germany, Hesse, Frankfurt, ChinaUnicom
12 219.158.3.253 360.54 ms AS4837 China, Guangdong, Guangzhou, ChinaUnicom
13 219.158.4.41 354.95 ms AS4837 China, Guangdong, ChinaUnicom
14 219.158.3.81 324.80 ms AS4837 China, Guangdong, Guangzhou, ChinaUnicom
15 *
16 *
17 61.51.169.142 347.56 ms AS4808 China, Beijing, ChinaUnicom
18 *
19 *
20 *
21 *
22 *
23 *
24 *
25 *
26 *
27 *
28 *
29 *
30 *
Traceroute to China, Guangzhou CM (TCP Mode, Max 30 Hop)
============================================================
traceroute to 120.196.212.25 (120.196.212.25), 30 hops max, 32 byte packets
1 103.137.184.253 0.98 ms AS140825 Viet Nam, Hanoi, hostingviet.vn
2 42.112.2.6 1.18 ms AS18403 Viet Nam, Hanoi, fpt.vn
3 1.53.123.85 1.19 ms AS18403 Viet Nam, Hanoi, fpt.vn
4 118.69.253.73 56.26 ms AS18403 China, Hong Kong, fpt.vn
5 223.119.80.85 21.76 ms AS58453 China, Hong Kong, ChinaMobile
6 223.120.2.117 20.23 ms AS58453 China, Hong Kong, ChinaMobile
7 *
8 221.183.55.94 181.30 ms AS9808 China, Guangdong, Guangzhou, ChinaMobile
9 221.183.25.118 28.89 ms AS9808 China, Guangdong, Guangzhou, ChinaMobile
10 221.176.22.233 182.15 ms AS9808 China, Guangdong, Guangzhou, ChinaMobile
11 111.24.5.185 186.06 ms AS9808 China, Guangdong, Guangzhou, ChinaMobile
12 111.24.5.214 185.22 ms AS9808 China, Guangdong, Shenzhen, ChinaMobile
13 *
14 211.136.196.222 192.52 ms AS56040 China, Guangdong, Guangzhou, ChinaMobile
15 211.139.180.110 199.43 ms AS56040 China, Guangdong, Guangzhou, ChinaMobile
16 *
17 120.196.212.25 32.34 ms AS56040 China, Guangdong, Guangzhou, ChinaMobile
Traceroute to China, Shanghai CM (TCP Mode, Max 30 Hop)
============================================================
traceroute to 221.183.55.22 (221.183.55.22), 30 hops max, 32 byte packets
1 103.137.184.253 0.74 ms AS140825 Viet Nam, Hanoi, hostingviet.vn
2 42.112.2.6 1.08 ms AS18403 Viet Nam, Hanoi, fpt.vn
3 1.53.123.85 1.21 ms AS18403 Viet Nam, Hanoi, fpt.vn
4 118.69.253.73 20.01 ms AS18403 China, Hong Kong, fpt.vn
5 223.119.80.85 21.28 ms AS58453 China, Hong Kong, ChinaMobile
6 223.120.2.117 27.08 ms AS58453 China, Hong Kong, ChinaMobile
7 223.120.3.202 199.40 ms AS58453 China, Shanghai, ChinaMobile
8 *
9 *
10 *
11 *
12 *
13 *
14 *
15 *
16 *
17 *
18 *
19 *
20 *
21 *
22 *
23 *
24 *
25 *
26 *
27 *
28 *
29 *
30 *
Traceroute to China, Beijing CM (TCP Mode, Max 30 Hop)
============================================================
traceroute to 211.136.25.153 (211.136.25.153), 30 hops max, 32 byte packets
1 103.137.184.253 1.14 ms AS140825 Viet Nam, Hanoi, hostingviet.vn
2 42.112.4.25 1.23 ms AS18403 Viet Nam, Hanoi, fpt.vn
3 1.53.123.85 3.13 ms AS18403 Viet Nam, Hanoi, fpt.vn
4 118.69.253.73 20.89 ms AS18403 China, Hong Kong, fpt.vn
5 *
6 223.120.2.117 32.83 ms AS58453 China, Hong Kong, ChinaMobile
7 223.120.3.194 195.59 ms AS58453 China, Shanghai, ChinaMobile
8 221.183.89.178 78.50 ms AS9808 China, Shanghai, ChinaMobile
9 221.183.89.33 50.55 ms AS9808 China, Shanghai, ChinaMobile
10 *
11 *
12 *
13 211.136.67.113 78.79 ms AS56048 China, Beijing, ChinaMobile
14 211.136.67.166 224.65 ms AS56048 China, Beijing, ChinaMobile
15 211.136.67.166 224.36 ms AS56048 China, Beijing, ChinaMobile
16 211.136.95.226 226.96 ms AS56048 China, Beijing, ChinaMobile
17 *
18 211.136.25.153 226.14 ms AS56048 China, Beijing, ChinaMobile
Traceroute to China, Beijing Dr.Peng Network IDC Network (TCP Mode, Max 30 Hop)
============================================================
traceroute to 211.167.230.100 (211.167.230.100), 30 hops max, 32 byte packets
1 103.137.184.253 0.84 ms AS140825 Viet Nam, Hanoi, hostingviet.vn
2 42.112.4.25 0.99 ms AS18403 Viet Nam, Hanoi, fpt.vn
3 1.53.123.85 1.20 ms AS18403 Viet Nam, Hanoi, fpt.vn
4 118.69.253.73 19.13 ms AS18403 China, Hong Kong, fpt.vn
5 118.69.184.73 25.09 ms AS18403 China, Hong Kong, fpt.vn
6 62.115.35.126 18.44 ms AS1299 TELIA.COM 骨干网, telia.com
7 *
8 62.115.135.140 175.65 ms AS1299 TELIA.COM 骨干网, telia.com
9 62.115.114.202 188.93 ms AS1299 Germany, Hesse, Frankfurt, telia.com
10 *
11 *
12 219.158.98.37 337.65 ms AS4837 China, Guangdong, Guangzhou, ChinaUnicom
13 219.158.96.206 333.58 ms AS4837 China, Guangdong, Guangzhou, ChinaUnicom
14 *
15 *
16 125.33.186.198 334.85 ms AS4808 China, Beijing, ChinaUnicom
17 202.96.13.186 348.67 ms AS4808 China, Beijing, ChinaUnicom
18 61.149.212.242 347.88 ms AS4808 China, Beijing, ChinaUnicom
19 202.99.1.126 333.88 ms AS4808 China, Beijing, ChinaUnicom
20 218.241.255.86 334.70 ms AS4808 China, Beijing, DRPENG
21 218.241.253.134 350.86 ms AS4808 China, Beijing, DRPENG
22 211.167.230.100 352.36 ms AS17964 China, Beijing, DRPENG
----------------------------------------------------------------------------------
Unixbench跑分
其他流媒体解锁测试
老刘博客







































