龙祥互联VPS方案见:龙祥vps云主机服务器:香港精品cn2 bgp cia 15元 韩国cn2 游戏直连 美国cn2 cera 国际优化 国内优化高防,鉴于龙祥互联官方计划赞助一台韩国建站VPS(ECS云服务器【韩国CN2】A型,2核2G内存3M带宽不限流)用于老刘博客TG群组免费VPS抽奖活动,老刘这里简单测评下这台VPS看看性能如何。
同款机器将于11月21日19:00在本站TG群组(https://t.me/laoliublog)开奖抽取,敬请关注!
龙祥互联韩国建站VPS(ECS云服务器【韩国CN2】)套餐方案:
建站响应速度快,秒打开 演示站点aa6g.com(当天不满意可退)多重CC防御,金盾集群
| ECS云服务器【韩国CN2】A型 本文测评机器 | ECS云服务器【韩国CN2】B型 | ECS云服务器【韩国CN2】C型 |
| 机房:韩国首尔 | 机房:韩国首尔 | 机房:韩国首尔 |
| CPU:2核心 | CPU:4核心 | CPU:8核心 |
| 内存:2G | 内存:4G | 内存:8G |
| 硬盘:数据盘30g | 硬盘:数据盘50g | 硬盘:数据盘100g |
| 机器路线:cn2 | 机器路线:cn2 | 机器路线:cn2 |
| 系统:全系统 | 系统:全系统 | 系统:全系统 |
| 宽带:3M带宽 不限流 | 宽带:带宽5MB – 不限流 | 宽带:带宽8MB – 不限流 |
| 禁止:严禁违法行为-建站专用 | 禁止:严禁违法行为-建站专用 | 禁止:严禁违法行为-建站专用 |
| 45 元/月起 | 65 元/月起 | 99 元/月起 |
| 立即购买 | 立即购买 | 立即购买 |
CPU是Intel E5-2650v2 2.6GHz,2核2G内存,支持解锁奈飞视频/TikTok流媒体,I/O磁盘读取速度233MB/s
89个探测点网络延迟情况
iperf3针对欧美的节点的数据测试
Speedtest.net国内外节点测速
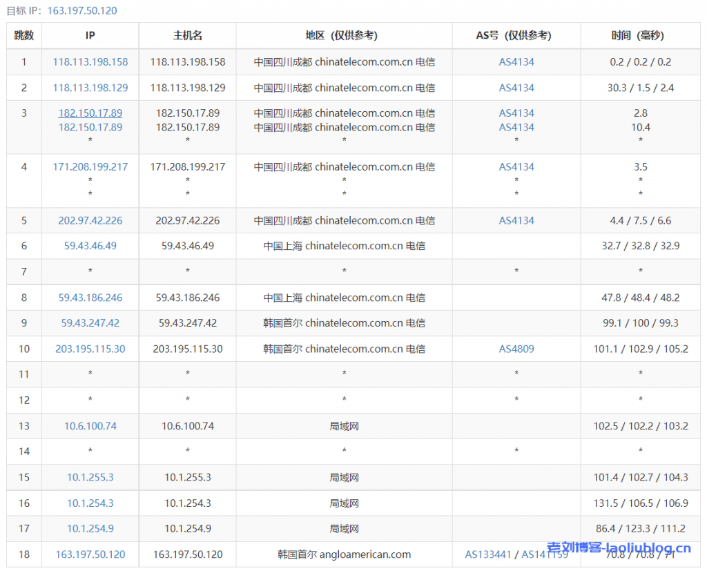
去程路由追踪测试
回程路由追踪测试
Traceroute to China, Guangzhou CT (TCP Mode, Max 30 Hop)
============================================================
traceroute to 113.108.209.1 (113.108.209.1), 30 hops max, 32 byte packets
1 10.0.0.1 0.20 ms * LAN Address
2 163.197.50.1 12.71 ms AS133441,AS141159 Republic of Korea, Seoul
3 10.1.254.8 4.42 ms * LAN Address
4 10.1.254.2 1.79 ms * LAN Address
5 10.1.255.2 2.05 ms * LAN Address
6 172.20.15.8 1.25 ms * LAN Address
7 10.6.100.73 1.36 ms * LAN Address
8 10.6.100.41 11.77 ms * LAN Address
9 10.6.100.70 1.79 ms * LAN Address
10 203.195.115.21 2.05 ms AS4809 Republic of Korea, Seoul, ChinaTelecom
11 *
12 *
13 *
14 59.43.80.141 26.44 ms * China, Shanghai, ChinaTelecom
15 *
16 *
17 113.108.209.1 63.47 ms AS4134 China, Guangdong, Guangzhou, ChinaTelecom
Traceroute to China, Shanghai CT (TCP Mode, Max 30 Hop)
============================================================
traceroute to 180.153.28.5 (180.153.28.5), 30 hops max, 32 byte packets
1 10.0.0.1 0.21 ms * LAN Address
2 163.197.50.1 4.65 ms AS133441,AS141159 Republic of Korea, Seoul
3 10.1.254.8 4.83 ms * LAN Address
4 10.1.254.2 3.54 ms * LAN Address
5 10.1.255.2 1.52 ms * LAN Address
6 172.20.15.8 1.21 ms * LAN Address
7 10.6.100.73 1.51 ms * LAN Address
8 10.6.100.41 1.84 ms * LAN Address
9 10.6.100.66 3.58 ms * LAN Address
10 203.195.115.21 2.93 ms AS4809 Republic of Korea, Seoul, ChinaTelecom
11 59.43.187.209 23.53 ms * China, Shanghai, ChinaTelecom
12 *
13 *
14 61.152.24.202 26.61 ms AS4812 China, Shanghai, ChinaTelecom
15 *
16 101.95.225.218 44.04 ms AS4811 China, Shanghai, ChinaTelecom
17 *
18 *
19 *
20 *
21 *
22 *
23 *
24 *
25 *
26 *
27 *
28 *
29 *
30 *
Traceroute to China, Beijing CT (TCP Mode, Max 30 Hop)
============================================================
traceroute to 180.149.128.9 (180.149.128.9), 30 hops max, 32 byte packets
1 10.0.0.1 0.27 ms * LAN Address
2 163.197.50.1 17.56 ms AS133441,AS141159 Republic of Korea, Seoul
3 10.1.254.8 19.10 ms * LAN Address
4 10.1.254.2 3.15 ms * LAN Address
5 10.1.255.2 7.59 ms * LAN Address
6 172.20.15.8 1.33 ms * LAN Address
7 10.6.100.73 1.42 ms * LAN Address
8 10.6.100.41 2.65 ms * LAN Address
9 10.6.100.70 1.84 ms * LAN Address
10 203.195.115.21 2.28 ms AS4809 Republic of Korea, Seoul, ChinaTelecom
11 59.43.250.33 23.52 ms * China, Shanghai, ChinaTelecom
12 36.110.251.61 95.93 ms AS23724 China, Beijing, ChinaTelecom
13 *
14 59.43.132.9 62.18 ms * China, Beijing, ChinaTelecom
15 *
16 36.110.244.46 47.74 ms AS23724 China, Beijing, ChinaTelecom
17 36.110.251.61 67.16 ms AS23724 China, Beijing, ChinaTelecom
18 *
19 *
20 *
21 *
22 *
23 *
24 *
25 *
26 *
27 *
28 *
29 *
30 *
Traceroute to China, Guangzhou CU (TCP Mode, Max 30 Hop)
============================================================
traceroute to 210.21.4.130 (210.21.4.130), 30 hops max, 32 byte packets
1 10.0.0.1 0.24 ms * LAN Address
2 163.197.50.1 2.98 ms AS133441,AS141159 Republic of Korea, Seoul
3 10.1.254.8 4.29 ms * LAN Address
4 10.1.254.2 63.05 ms * LAN Address
5 10.1.255.4 1.94 ms * LAN Address
6 172.20.15.6 2.24 ms * LAN Address
7 121.189.3.174 50.50 ms AS4766 KT.COM 骨干网, kt.com
8 219.158.40.85 44.45 ms AS4837 China, Shanghai, ChinaUnicom
9 219.158.113.122 47.07 ms AS4837 China, Shanghai, ChinaUnicom
10 219.158.7.125 50.03 ms AS4837 China, Shanghai, ChinaUnicom
11 *
12 120.83.0.230 76.46 ms AS17816 China, Guangdong, Guangzhou, ChinaUnicom
13 120.80.170.254 73.64 ms AS17622 China, Guangdong, Guangzhou, ChinaUnicom
14 *
15 *
16 *
17 *
18 *
19 *
20 *
21 *
22 *
23 *
24 *
25 *
26 *
27 *
28 *
29 *
30 *
Traceroute to China, Shanghai CU (TCP Mode, Max 30 Hop)
============================================================
traceroute to 58.247.8.158 (58.247.8.158), 30 hops max, 32 byte packets
1 10.0.0.1 0.25 ms * LAN Address
2 163.197.50.1 3.24 ms AS133441,AS141159 Republic of Korea, Seoul
3 10.1.254.8 4.25 ms * LAN Address
4 10.1.254.2 2.01 ms * LAN Address
5 10.1.255.4 4.25 ms * LAN Address
6 172.20.15.6 2.19 ms * LAN Address
7 121.189.3.73 9.35 ms AS4766 Republic of Korea, Seoul, kt.com
8 121.189.3.174 47.68 ms AS4766 KT.COM 骨干网, kt.com
9 219.158.113.138 47.36 ms AS4837 China, Shanghai, ChinaUnicom
10 219.158.113.109 50.36 ms AS4837 China, Shanghai, ChinaUnicom
11 *
12 139.226.228.46 96.08 ms AS17621 China, Shanghai, ChinaUnicom
13 139.226.225.22 44.19 ms AS17621 China, Shanghai, ChinaUnicom
14 58.247.8.153 75.12 ms AS17621 China, Shanghai, ChinaUnicom
15 *
16 *
17 *
18 *
19 *
20 *
21 *
22 *
23 *
24 *
25 *
26 *
27 *
28 *
29 *
30 *
Traceroute to China, Beijing CU (TCP Mode, Max 30 Hop)
============================================================
traceroute to 123.125.99.1 (123.125.99.1), 30 hops max, 32 byte packets
1 10.0.0.1 1.05 ms * LAN Address
2 163.197.50.1 2.75 ms AS133441,AS141159 Republic of Korea, Seoul
3 10.1.254.8 4.39 ms * LAN Address
4 10.1.254.2 47.80 ms * LAN Address
5 10.1.255.4 2.15 ms * LAN Address
6 172.20.15.6 1.43 ms * LAN Address
7 121.189.3.73 9.35 ms AS4766 Republic of Korea, Seoul, kt.com
8 112.174.89.46 30.51 ms AS4766 KT.COM 骨干网, kt.com
9 219.158.32.105 65.60 ms AS4837 China, Beijing, ChinaUnicom
10 *
11 *
12 *
13 219.232.11.130 62.33 ms AS4808 China, Beijing, ChinaUnicom
14 *
15 *
16 *
17 *
18 *
19 *
20 *
21 *
22 *
23 *
24 *
25 *
26 *
27 *
28 *
29 *
30 *
Traceroute to China, Guangzhou CM (TCP Mode, Max 30 Hop)
============================================================
traceroute to 120.196.212.25 (120.196.212.25), 30 hops max, 32 byte packets
1 10.0.0.1 5.46 ms * LAN Address
2 163.197.50.1 35.31 ms AS133441,AS141159 Republic of Korea, Seoul
3 10.1.254.8 4.22 ms * LAN Address
4 10.1.254.2 2.18 ms * LAN Address
5 172.20.15.6 1.17 ms * LAN Address
6 172.20.15.6 1.33 ms * LAN Address
7 103.198.144.50 37.33 ms AS64050 China, Hong Kong, bgp.net
8 203.208.190.97 93.31 ms AS7473 Singapore, singtel.com
9 203.208.153.109 94.74 ms AS7473 Singapore, singtel.com
10 203.208.152.2 97.60 ms AS7473 Singapore, singtel.com
11 203.208.183.133 94.96 ms AS7473 Singapore, singtel.com
12 223.121.2.53 96.18 ms AS58453 China, Hong Kong, ChinaMobile
13 203.208.151.38 97.29 ms AS7473 Singapore, singtel.com
14 223.120.2.117 95.19 ms AS58453 China, Hong Kong, ChinaMobile
15 *
16 223.120.2.117 97.16 ms AS58453 China, Hong Kong, ChinaMobile
17 *
18 221.183.55.78 101.29 ms AS9808 China, Guangdong, Guangzhou, ChinaMobile
19 111.24.5.177 107.89 ms AS9808 China, Guangdong, Guangzhou, ChinaMobile
20 111.24.14.74 105.46 ms AS9808 China, Guangdong, Guangzhou, ChinaMobile
21 211.136.196.218 103.99 ms AS56040 China, Guangdong, Guangzhou, ChinaMobile
22 211.139.180.106 111.95 ms AS56040 China, Guangdong, Guangzhou, ChinaMobile
23 *
24 *
25 211.139.180.110 105.85 ms AS56040 China, Guangdong, Guangzhou, ChinaMobile
26 120.196.212.25 108.88 ms AS56040 China, Guangdong, Guangzhou, ChinaMobile
Traceroute to China, Shanghai CM (TCP Mode, Max 30 Hop)
============================================================
traceroute to 221.183.55.22 (221.183.55.22), 30 hops max, 32 byte packets
1 10.0.0.1 0.31 ms * LAN Address
2 163.197.50.1 30.08 ms AS133441,AS141159 Republic of Korea, Seoul
3 10.1.254.8 4.41 ms * LAN Address
4 10.1.254.2 2.08 ms * LAN Address
5 10.1.255.4 32.96 ms * LAN Address
6 172.20.15.6 1.22 ms * LAN Address
7 103.198.144.50 36.52 ms AS64050 China, Hong Kong, bgp.net
8 103.198.146.102 37.13 ms AS64050 China, Hong Kong, bgp.net
9 203.131.242.9 56.63 ms AS2914 China, Hong Kong, ntt.com
10 129.250.6.101 60.00 ms AS2914 China, Hong Kong, ntt.com
11 129.250.6.94 60.60 ms AS2914 China, Hong Kong, ntt.com
12 203.131.254.2 64.23 ms AS2914 China, Hong Kong, ntt.com
13 *
14 *
15 *
16 *
17 *
18 *
19 *
20 *
21 *
22 *
23 *
24 *
25 *
26 *
27 *
28 *
29 *
30 *
Traceroute to China, Beijing CM (TCP Mode, Max 30 Hop)
============================================================
traceroute to 211.136.25.153 (211.136.25.153), 30 hops max, 32 byte packets
1 10.0.0.1 0.26 ms * LAN Address
2 163.197.50.1 7.85 ms AS133441,AS141159 Republic of Korea, Seoul
3 10.1.254.8 16.10 ms * LAN Address
4 10.1.254.2 1.80 ms * LAN Address
5 10.1.255.4 1.86 ms * LAN Address
6 172.20.15.6 1.55 ms * LAN Address
7 103.198.144.50 36.60 ms AS64050 China, Hong Kong, bgp.net
8 103.198.145.61 69.11 ms AS64050 Singapore, bgp.net
9 203.208.190.97 93.62 ms AS7473 Singapore, singtel.com
10 203.208.152.2 106.02 ms AS7473 Singapore, singtel.com
11 203.208.183.133 95.00 ms AS7473 Singapore, singtel.com
12 203.208.172.62 93.74 ms AS7473 Singapore, singtel.com
13 223.120.2.117 96.97 ms AS58453 China, Hong Kong, ChinaMobile
14 223.120.2.117 95.48 ms AS58453 China, Hong Kong, ChinaMobile
15 223.121.2.53 95.22 ms AS58453 China, Hong Kong, ChinaMobile
16 223.120.2.117 103.83 ms AS58453 China, Hong Kong, ChinaMobile
17 223.120.3.198 123.99 ms AS58453 China, Shanghai, ChinaMobile
18 221.183.89.50 126.07 ms AS9808 China, Shanghai, ChinaMobile
19 221.183.37.217 147.11 ms AS9808 China, Beijing, ChinaMobile
20 *
21 *
22 *
23 211.136.95.226 151.04 ms AS56048 China, Beijing, ChinaMobile
24 211.136.95.226 152.75 ms AS56048 China, Beijing, ChinaMobile
25 211.136.25.153 152.20 ms AS56048 China, Beijing, ChinaMobile
Traceroute to China, Beijing Dr.Peng Network IDC Network (TCP Mode, Max 30 Hop)
============================================================
traceroute to 211.167.230.100 (211.167.230.100), 30 hops max, 32 byte packets
1 10.0.0.1 0.29 ms * LAN Address
2 163.197.50.1 20.08 ms AS133441,AS141159 Republic of Korea, Seoul
3 10.1.254.8 4.41 ms * LAN Address
4 10.1.254.2 1.72 ms * LAN Address
5 10.1.255.4 2.16 ms * LAN Address
6 172.20.15.6 1.40 ms * LAN Address
7 121.189.3.73 9.77 ms AS4766 Republic of Korea, Seoul, kt.com
8 121.189.3.174 48.00 ms AS4766 KT.COM 骨干网, kt.com
9 219.158.113.138 48.00 ms AS4837 China, Shanghai, ChinaUnicom
10 219.158.16.89 69.23 ms AS4837 China, Beijing, ChinaUnicom
11 *
12 *
13 202.96.13.186 165.48 ms AS4808 China, Beijing, ChinaUnicom
14 61.149.212.242 75.65 ms AS4808 China, Beijing, ChinaUnicom
15 *
16 124.205.97.138 71.32 ms AS4808 China, Beijing, DRPENG
17 218.241.253.134 68.40 ms AS4808 China, Beijing, DRPENG
18 211.167.230.100 68.46 ms AS17964 China, Beijing, DRPENG
----------------------------------------------------------------------------------
其他流媒体解锁测试
老刘博客





































