DigitalVirt美国洛杉矶CN2 GIA线路VPS方案见:DigitalVirt黑五来袭!美国洛杉矶CN2 GIA(AS4809) 云服务器全系7折循环优惠低至¥553/年,老刘入手了一台洛杉矶CN2 GIA线路VPS进行了测评,美国原生IP,三网回程CN2 GIA(AS4809),电信去程CN2 GIA,支持解锁TikTok流媒体。
DigitalVirt官网:网站首页 – DigitalVirt
DigitalVirt looking Glass: http://154.7.182.2/
DigitalVirt美国洛杉矶CN2 GIA(AS4809) 云服务器方案:
| G1-1C1G | G2-1C2G | G3-2C2G | G4-4C4G |
| ¥ 79 月付(原价) ¥55.3月付/¥553年付 黑五价 | ¥ 159 月付(原价) ¥111.3月付/¥1113年付黑五价 | ¥ 319 月付(原价) ¥223.3月付/¥2233年付 黑五价 | ¥ 699 月付(原价) ¥489.3月付或¥4893年付 黑五价 |
| 核心1核 (独享) | 核心1核 (独享) | 核心2核 (独享) | 核心4核 (独享) |
| 内存1GB | 内存2GB | 内存2GB | 内存4GB |
| 存储20G SSD | 存储40G SSD | 存储60G SSD | 存储80G SSD |
| 峰值200Mbps | 峰值300Mbps | 峰值400Mbps | 峰值500Mbps |
| 流量包1000G | 流量包2000G | 流量包3000G | 流量包5000G |
| 购买入口 | 购买入口 | 购买入口 | 购买入口 |
DigitalVirt美国洛杉矶CN2 GIA线路VPS测评分析:
CPU为E5-2698 v3 @2.30GHz,解锁美区TikTok流媒体
85个节点测试网络延迟情况
VPS的FIO测试硬盘读写
iperf3跑下欧美节点数据
Speedtest.net国内外节点测速
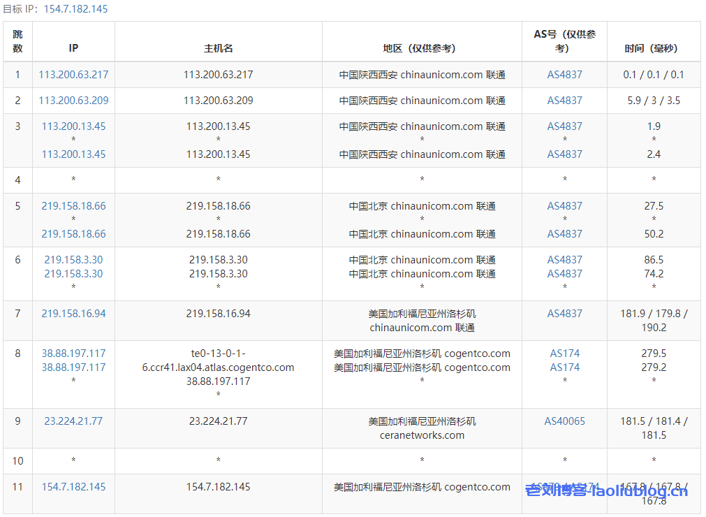
去程路由追踪测试
回程路由追踪测试
Traceroute to China, Guangzhou CT (TCP Mode, Max 30 Hop)
============================================================
traceroute to 113.108.209.1 (113.108.209.1), 30 hops max, 32 byte packets
1 10.0.8.1 0.30 ms * LAN Address
2 *
3 10.6.5.4 0.53 ms * LAN Address
4 *
5 *
6 59.43.182.106 160.46 ms * China, Guangdong, Guangzhou, ChinaTelecom
7 *
8 59.43.16.165 169.62 ms * China, Guangdong, Guangzhou, ChinaTelecom
9 *
10 113.96.5.170 175.93 ms AS4134 China, Guangdong, Guangzhou, ChinaTelecom
11 113.108.209.1 172.33 ms AS4134 China, Guangdong, Guangzhou, ChinaTelecom
Traceroute to China, Shanghai CT (TCP Mode, Max 30 Hop)
============================================================
traceroute to 180.153.28.5 (180.153.28.5), 30 hops max, 32 byte packets
1 10.0.8.1 0.28 ms * LAN Address
2 *
3 10.8.7.6 0.60 ms * LAN Address
4 *
5 *
6 59.43.181.145 150.94 ms * China, Shanghai, ChinaTelecom
7 59.43.187.69 127.60 ms * China, Shanghai, ChinaTelecom
8 59.43.138.45 132.52 ms * China, Shanghai, ChinaTelecom
9 101.95.88.162 141.18 ms AS4812 China, Shanghai, ChinaTelecom
10 *
11 101.95.225.222 140.94 ms AS4811 China, Shanghai, ChinaTelecom
12 *
13 *
14 *
15 *
16 *
17 *
18 *
19 *
20 *
21 *
22 *
23 *
24 *
25 *
26 *
27 *
28 *
29 *
30 *
Traceroute to China, Beijing CT (TCP Mode, Max 30 Hop)
============================================================
traceroute to 180.149.128.9 (180.149.128.9), 30 hops max, 32 byte packets
1 10.0.8.1 0.23 ms * LAN Address
2 *
3 10.8.7.6 9.46 ms * LAN Address
4 *
5 *
6 59.43.246.237 127.79 ms * China, Shanghai, ChinaTelecom
7 59.43.247.141 149.88 ms * China, Beijing, ChinaTelecom
8 *
9 59.43.132.9 153.58 ms * China, Beijing, ChinaTelecom
10 *
11 36.110.251.122 165.83 ms AS23724 China, Beijing, ChinaTelecom
12 36.110.251.73 169.26 ms AS23724 China, Beijing, ChinaTelecom
13 *
14 *
15 *
16 *
17 *
18 *
19 *
20 *
21 *
22 *
23 *
24 *
25 *
26 *
27 *
28 *
29 *
30 *
Traceroute to China, Guangzhou CU (TCP Mode, Max 30 Hop)
============================================================
traceroute to 210.21.4.130 (210.21.4.130), 30 hops max, 32 byte packets
1 10.0.8.1 0.24 ms * LAN Address
2 *
3 *
4 *
5 *
6 59.43.182.106 160.41 ms * China, Guangdong, Guangzhou, ChinaTelecom
7 *
8 59.43.16.181 164.03 ms * China, Guangdong, Guangzhou, ChinaTelecom
9 219.158.38.245 179.84 ms AS4837 China, Guangdong, Guangzhou, ChinaUnicom
10 219.158.10.249 171.84 ms AS4837 China, Guangdong, Guangzhou, ChinaUnicom
11 120.86.0.182 177.13 ms AS17816 China, Guangdong, Guangzhou, ChinaUnicom
12 120.80.170.254 173.62 ms AS17622 China, Guangdong, Guangzhou, ChinaUnicom
13 *
14 *
15 *
16 *
17 *
18 *
19 *
20 *
21 *
22 *
23 *
24 *
25 *
26 *
27 *
28 *
29 *
30 *
Traceroute to China, Shanghai CU (TCP Mode, Max 30 Hop)
============================================================
traceroute to 58.247.8.158 (58.247.8.158), 30 hops max, 32 byte packets
1 10.0.8.1 0.29 ms * LAN Address
2 *
3 *
4 *
5 *
6 59.43.189.37 127.15 ms * China, Shanghai, ChinaTelecom
7 59.43.187.81 127.64 ms * China, Shanghai, ChinaTelecom
8 59.43.130.201 135.38 ms * China, Shanghai, ChinaTelecom
9 219.158.38.241 255.61 ms AS4837 China, Shanghai, ChinaUnicom
10 219.158.9.97 254.78 ms AS4837 China, Shanghai, ChinaUnicom
11 *
12 139.226.228.46 303.74 ms AS17621 China, Shanghai, ChinaUnicom
13 139.226.225.22 253.17 ms AS17621 China, Shanghai, ChinaUnicom
14 58.247.8.153 263.28 ms AS17621 China, Shanghai, ChinaUnicom
15 *
16 *
17 *
18 *
19 *
20 *
21 *
22 *
23 *
24 *
25 *
26 *
27 *
28 *
29 *
30 *
Traceroute to China, Beijing CU (TCP Mode, Max 30 Hop)
============================================================
traceroute to 123.125.99.1 (123.125.99.1), 30 hops max, 32 byte packets
1 10.0.8.1 0.25 ms * LAN Address
2 *
3 10.9.8.7 0.66 ms * LAN Address
4 *
5 *
6 59.43.189.37 131.79 ms * China, Shanghai, ChinaTelecom
7 *
8 59.43.138.69 130.27 ms * China, Shanghai, ChinaTelecom
9 219.158.40.173 151.00 ms AS4837 China, Shanghai, ChinaUnicom
10 *
11 *
12 *
13 *
14 *
15 *
16 *
17 *
18 *
19 *
20 *
21 *
22 *
23 *
24 *
25 *
26 *
27 *
28 *
29 *
30 *
Traceroute to China, Guangzhou CM (TCP Mode, Max 30 Hop)
============================================================
traceroute to 120.196.212.25 (120.196.212.25), 30 hops max, 32 byte packets
1 10.0.8.1 0.29 ms * LAN Address
2 *
3 *
4 *
5 *
6 59.43.182.106 160.49 ms * China, Guangdong, Guangzhou, ChinaTelecom
7 *
8 59.43.130.105 167.34 ms * China, Guangdong, Guangzhou, ChinaTelecom
9 202.97.43.77 167.15 ms AS4134 China, Guangdong, Guangzhou, ChinaTelecom
10 *
11 *
12 *
13 *
14 211.136.249.157 163.47 ms AS56040 China, Guangdong, Guangzhou, ChinaMobile
15 211.136.204.89 161.23 ms AS56040 China, Guangdong, Guangzhou, ChinaMobile
16 211.139.180.110 158.93 ms AS56040 China, Guangdong, Guangzhou, ChinaMobile
17 120.196.212.25 172.61 ms AS56040 China, Guangdong, Guangzhou, ChinaMobile
Traceroute to China, Shanghai CM (TCP Mode, Max 30 Hop)
============================================================
traceroute to 221.183.55.22 (221.183.55.22), 30 hops max, 32 byte packets
1 10.0.8.1 0.25 ms * LAN Address
2 *
3 10.9.8.7 0.80 ms * LAN Address
4 *
5 *
6 59.43.246.237 127.76 ms * China, Shanghai, ChinaTelecom
7 59.43.187.65 131.65 ms * China, Shanghai, ChinaTelecom
8 59.43.138.45 127.79 ms * China, Shanghai, ChinaTelecom
9 59.43.80.141 139.55 ms * China, Shanghai, ChinaTelecom
10 202.97.87.126 140.63 ms AS4134 China, Shanghai, ChinaTelecom
11 *
12 *
13 *
14 *
15 *
16 *
17 *
18 *
19 *
20 *
21 *
22 *
23 *
24 *
25 *
26 *
27 *
28 *
29 *
30 *
Traceroute to China, Beijing CM (TCP Mode, Max 30 Hop)
============================================================
traceroute to 211.136.25.153 (211.136.25.153), 30 hops max, 32 byte packets
1 10.0.8.1 0.25 ms * LAN Address
2 *
3 *
4 *
5 *
6 59.43.189.37 127.07 ms * China, Shanghai, ChinaTelecom
7 *
8 59.43.130.205 133.87 ms * China, Shanghai, ChinaTelecom
9 59.43.80.141 140.75 ms * China, Shanghai, ChinaTelecom
10 *
11 *
12 221.183.86.49 174.69 ms AS9808 China, Beijing, ChinaMobile
13 221.183.94.21 187.02 ms AS9808 China, Beijing, ChinaMobile
14 *
15 *
16 *
17 211.136.95.226 190.33 ms AS56048 China, Beijing, ChinaMobile
18 211.136.95.226 190.85 ms AS56048 China, Beijing, ChinaMobile
19 *
20 *
21 211.136.25.153 183.63 ms AS56048 China, Beijing, ChinaMobile
Traceroute to China, Beijing Dr.Peng Network IDC Network (TCP Mode, Max 30 Hop)
============================================================
traceroute to 211.167.230.100 (211.167.230.100), 30 hops max, 32 byte packets
1 10.0.8.1 0.21 ms * LAN Address
2 *
3 10.8.7.6 0.85 ms * LAN Address
4 *
5 *
6 59.43.189.37 127.08 ms * China, Shanghai, ChinaTelecom
7 59.43.187.69 127.60 ms * China, Shanghai, ChinaTelecom
8 *
9 *
10 *
11 *
12 125.33.186.54 150.46 ms AS4808 China, Beijing, ChinaUnicom
13 202.96.13.178 149.81 ms AS4808 China, Beijing, ChinaUnicom
14 *
15 202.99.1.126 152.46 ms AS4808 China, Beijing, ChinaUnicom
16 218.241.166.18 149.13 ms AS4808 China, Beijing, DRPENG
17 *
18 124.205.97.138 153.16 ms AS4808 China, Beijing, DRPENG
19 211.167.230.100 153.82 ms AS17964 China, Beijing, DRPENG
----------------------------------------------------------------------------------
其他流媒体解锁测试
老刘博客





































