Megalayer怎么样?Megalayer是一家成立于2019年的主机商,主要经营海外机房,其Megalayer香港VPS提供了CN2优化线路,不是原生IP,最低价格是49.5元/月,支持Linux和Windows操作系统。这里我们将测评下他们家的香港CN2优化线路不限流量VPS,看看这款VPS性能怎么样。
Megalayer官网:Megalayer – Global ISP 全球二级电信服务提供商(中文网址)
Megalayer香港VPS价格套餐:
价格便宜,支持多个IP,可以选择使用支付宝付款。
| 参数项 | 套餐1 | 套餐2 | 套餐3 | 套餐4 |
| 内存 | 1GB | 2GB | 4GB | 6GB |
| CPU核数 | 1 | 2 | 3 | 4 |
| 存储空间 | 50G | 60G | 70G | 80G |
| 带宽 | 3Mbps | 3Mbps | 3Mbps | 3Mbps |
| 流量 | 无限 | 无限 | 无限 | 无限 |
| 价格 | 49.5元/月 | 89.5元/月 | 152元/月 | 194.5元/月 |
| 购买链接 | 立即购买 | 立即购买 | 立即购买 | 立即购买 |
Megalayer香港CN2优化线路不限流量VPS简单测评分析:
先看看本地Ping的延迟效果,如下所示
可以看到本地Ping的平均延迟在55ms左右,网络还算是比较稳定,只是偶尔有丢包的情况。
然后我们再看看全国三网Ping的延迟效果,如下所示:
可以看到三网Ping的延迟效果在37ms左右,其中电信网络延迟最低在35ms左右,其次是联通网络延迟在44ms左右,最后是移动网络延迟在52ms左右。
接下来我们再看看全国各地稳定性性情况,如下所示:
可以看到全国各地网络延迟还是比较稳定的,基本都没有丢包的情况,各地网络延迟基本都在40ms以内。
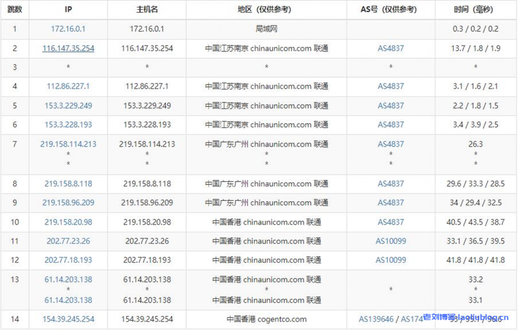
接下来我们再卡看看全国三网的去程路由线路。
电信去程路由是从上海网口出去,然后直连香港机房,走的是59.43的CN2线路。
联通去程路由是从广州网口出去,然后直连香港机房,走的是AS4837线路。
移动去程路由从广州网口出去然后直连香港机房。
老刘博客































