前文《Netfront香港VPS:三网直连,香港原生IP,100M国内优化带宽不限流,解锁港区奈菲,4C4G256G仅550.7元/月》,老刘给大家分享了Netfront香港VPS新推出的100M国内优化带宽不限流VPS套餐,那么这款VPS性能怎么样?老刘这里入手了一台进行了简单测评,来看看其国内延迟、丢包率、性能和带宽、路由去回程、流媒体和TikTok检测情况!整体来看Netfront这款VPS是香港原生IP,解锁港区NF奈菲、Disney+、YouTube,三网直连,100Mbps带宽跑满!
Netfront官网:2012 Limited – best hosting (netfront.net)
Netfront测试IP:202.81.229.5
Netfront香港VPS:100Mbps VPS 不限流量 Unlimited Traffic (4C+4G+256G+1IP) (C),购买入口
我们按Netfront使用教程:NetFront怎么用?Netfront知识库之Netfront VPS使用图文教程对VPS进行相关配置,如下:
点击 “Add New Server”
自选密码, 设定资源, 然后点击 “Add New Virtual Server”
等待状态由红色变成绿色(要等待大概10-15分钟)
变成绿色之后,可以点击名称进入管理
进入管理后可以查看VPS的IP地址
4核@2.9GHz 4G内存,机器默认开启了BBR加速,支持解锁港区奈菲;磁盘读写I/O速度高达近1GB/s!
91个节点测试下三网Ping网络延迟
BGP.HE.NET分析是香港原生IP VPS
VPS的FIO测试硬盘读写
iperf3跑下欧美节点数据
Speedtest.net国内外节点测速,100Mbps带宽跑满
老刘本地测试下文件上传/下载速度:
上海带宽经测试大概300-500M移动带宽,实际老刘装的是1000M带宽
文件上传速度3.41MB/s
文件下载速度12.3MB/s,换算下100Mbps带宽跑满的下载速度差不多就是这个数据
去程路由追踪测试
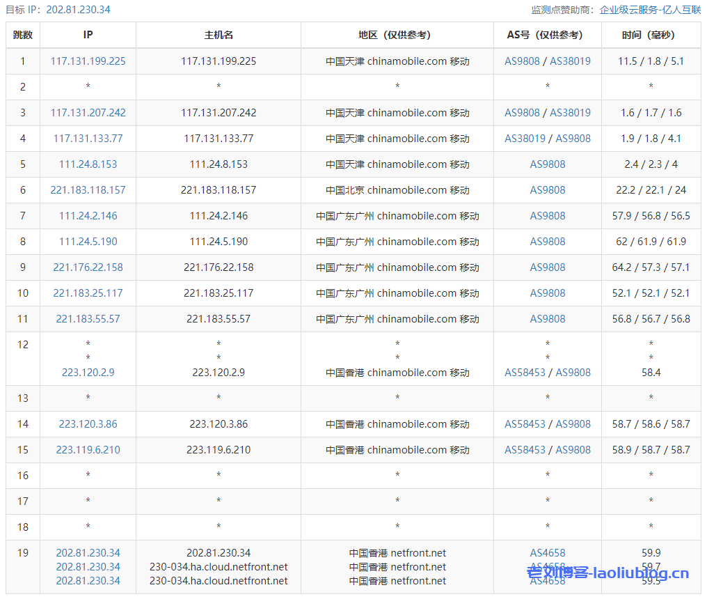
移动去程路由
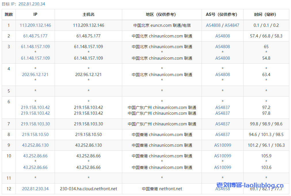
回程路由追踪测试
Traceroute to China, Guangzhou CT (TCP Mode, Max 30 Hop)
============================================================
traceroute to 113.108.209.1 (113.108.209.1), 30 hops max, 32 byte packets
1 *
2 *
3 *
4 *
5 *
6 *
7 *
8 *
9 *
10 *
11 202.97.81.197 37.64 ms AS4134 China, Guangdong, Guangzhou, ChinaTelecom
12 *
13 113.108.209.1 38.31 ms AS4134 China, Guangdong, Guangzhou, ChinaTelecom
Traceroute to China, Shanghai CT (TCP Mode, Max 30 Hop)
============================================================
traceroute to 180.153.28.5 (180.153.28.5), 30 hops max, 32 byte packets
1 *
2 *
3 *
4 *
5 *
6 *
7 *
8 *
9 *
10 *
11 61.152.25.137 36.00 ms AS4812 China, Shanghai, ChinaTelecom
12 124.74.166.230 37.57 ms AS4812 China, Shanghai, ChinaTelecom
13 101.95.225.222 35.73 ms AS4811 China, Shanghai, ChinaTelecom
14 *
15 *
16 *
17 *
18 *
19 *
20 *
21 *
22 *
23 *
24 *
25 *
26 *
27 *
28 *
29 *
30 *
Traceroute to China, Beijing CT (TCP Mode, Max 30 Hop)
============================================================
traceroute to 180.149.128.9 (180.149.128.9), 30 hops max, 32 byte packets
1 *
2 *
3 *
4 *
5 *
6 *
7 *
8 *
9 *
10 *
11 202.97.17.65 51.27 ms AS4134 China, Beijing, ChinaTelecom
12 *
13 36.110.246.222 52.74 ms AS23724 China, Beijing, ChinaTelecom
14 *
15 *
16 *
17 *
18 *
19 *
20 *
21 *
22 *
23 *
24 *
25 *
26 *
27 *
28 *
29 *
30 *
Traceroute to China, Guangzhou CU (TCP Mode, Max 30 Hop)
============================================================
traceroute to 210.21.4.130 (210.21.4.130), 30 hops max, 32 byte packets
1 *
2 *
3 *
4 *
5 *
6 *
7 *
8 120.83.0.230 16.09 ms AS17816 China, Guangdong, Guangzhou, ChinaUnicom
9 120.80.169.118 9.14 ms AS17622 China, Guangdong, Guangzhou, ChinaUnicom
10 *
11 *
12 *
13 *
14 *
15 *
16 *
17 *
18 *
19 *
20 *
21 *
22 *
23 *
24 *
25 *
26 *
27 *
28 *
29 *
30 *
Traceroute to China, Shanghai CU (TCP Mode, Max 30 Hop)
============================================================
traceroute to 58.247.8.158 (58.247.8.158), 30 hops max, 32 byte packets
1 *
2 *
3 *
4 *
5 *
6 *
7 *
8 *
9 *
10 58.247.221.178 36.79 ms AS17621 China, Shanghai, ChinaUnicom
11 139.226.225.22 35.54 ms AS17621 China, Shanghai, ChinaUnicom
12 58.247.8.153 39.53 ms AS17621 China, Shanghai, ChinaUnicom
13 *
14 *
15 *
16 *
17 *
18 *
19 *
20 *
21 *
22 *
23 *
24 *
25 *
26 *
27 *
28 *
29 *
30 *
Traceroute to China, Beijing CU (TCP Mode, Max 30 Hop)
============================================================
traceroute to 123.125.99.1 (123.125.99.1), 30 hops max, 32 byte packets
1 *
2 *
3 *
4 *
5 *
6 *
7 *
8 *
9 202.96.12.14 53.56 ms AS4808 China, Beijing, ChinaUnicom
10 61.51.169.174 45.75 ms AS4808 China, Beijing, ChinaUnicom
11 *
12 *
13 *
14 *
15 *
16 *
17 *
18 *
19 *
20 *
21 *
22 *
23 *
24 *
25 *
26 *
27 *
28 *
29 *
30 *
Traceroute to China, Guangzhou CM (TCP Mode, Max 30 Hop)
============================================================
traceroute to 120.196.212.25 (120.196.212.25), 30 hops max, 32 byte packets
1 *
2 *
3 *
4 *
5 *
6 *
7 *
8 *
9 *
10 211.136.204.57 12.54 ms AS56040 China, Guangdong, Guangzhou, ChinaMobile
11 183.235.226.1 14.70 ms AS56040 China, Guangdong, Guangzhou, ChinaMobile
12 *
13 *
14 *
15 120.196.212.25 37.13 ms AS56040 China, Guangdong, Guangzhou, ChinaMobile
Traceroute to China, Shanghai CM (TCP Mode, Max 30 Hop)
============================================================
traceroute to 221.183.55.22 (221.183.55.22), 30 hops max, 32 byte packets
1 *
2 *
3 *
4 *
5 *
6 *
7 *
8 *
9 *
10 *
11 *
12 *
13 *
14 *
15 *
16 *
17 *
18 *
19 *
20 *
21 *
22 *
23 *
24 *
25 *
26 *
27 *
28 *
29 *
30 *
Traceroute to China, Beijing CM (TCP Mode, Max 30 Hop)
============================================================
traceroute to 211.136.25.153 (211.136.25.153), 30 hops max, 32 byte packets
1 *
2 *
3 *
4 *
5 *
6 *
7 *
8 *
9 *
10 *
11 211.136.63.66 55.53 ms AS56048 China, Beijing, ChinaMobile
12 211.136.63.66 56.47 ms AS56048 China, Beijing, ChinaMobile
13 211.136.95.226 55.75 ms AS56048 China, Beijing, ChinaMobile
14 *
15 *
16 211.136.25.153 59.22 ms AS56048 China, Beijing, ChinaMobile
Traceroute to China, Beijing Dr.Peng Network IDC Network (TCP Mode, Max 30 Hop)
============================================================
traceroute to 211.167.230.100 (211.167.230.100), 30 hops max, 32 byte packets
1 *
2 *
3 *
4 *
5 *
6 *
7 *
8 *
9 *
10 *
11 *
12 *
13 202.96.13.250 122.35 ms AS4808 China, Beijing, ChinaUnicom
14 61.149.212.242 109.31 ms AS4808 China, Beijing, ChinaUnicom
15 *
16 218.241.166.18 75.06 ms AS4808 China, Beijing, DRPENG
17 218.241.253.134 76.44 ms AS4808 China, Beijing, DRPENG
18 211.167.230.100 75.11 ms AS17964 China, Beijing, DRPENG
----------------------------------------------------------------------------------
其他流媒体解锁测试
跑分可以看下测试机VPS综合性能,跑分大于1000,性能极优!
老刘博客












































