VmShell双12活动发布,这次VmShell商家复用了黑五活动VPS套餐方案:VmShell黑五活动机器:CMI-HK-Lite(支持奈飞-香港IP),半价优惠仅$48/年,1C-384MB-8G SSD-600GB@500Mbps,香港CMI-HK-Lite VPS继续半价仅$48/年,香港原生IP,三网CMI线路,700Mbps共享带宽( 1C-384MB-8SSD-600GB/月),解锁港区奈菲/迪斯尼,老刘这里入手了一台进行了简单测评,供大家参考。
这里控制台看到带宽是500Mbps,实际有700+Mbps(老板还没来得及进行修改),本文实际测评也说明了这一点!
VmShell官网:https://vmshell.com/
VmShell优惠码:blackday,半价优惠,双12活动用
VmShell双12活动机器购买入口:https://vmshell.com/aff.php?aff=2682&pid=62,支持新购三日内退款
VmShell双12活动机器套餐方案:
CMI-HK.IP-Lite
DataCenter-HongKong
Network CMI-500Mbps
1 IPv4 Address
VCPU-1 Memory-384MB
SSD-8GB SWAP-256MB
Net traffic-600GB/MO
Media-NF.HK ALL
VPS Architecture-KVM
Cloud Control-SOLUSVM
APP Management-Support
Tech Support-Limited
*Media-Buy Moment Support
*Share Net No Overspeed
48刀/年(96刀/年)
VmShell双12活动套餐香港CMI-HK-Lite VPS测评分析:
CPU是Intel的1核,硬盘8个G;支持解锁港区奈菲视频等流媒体;磁盘I/O读取速度有284.3MB/s
三网Ping网络延迟情况
BGP.HE.NET测试是香港原生IP VPS
FIO测试下硬盘的读写数据情况
iperf3跑欧美节点数据
国内外节点测速,能跑到700+Mbit/s,只能跑部分节点,不过已经基本看出来速度咋样了。之所以测不完就挂掉,客服说机房不支持测速,会被拉黑30分钟。
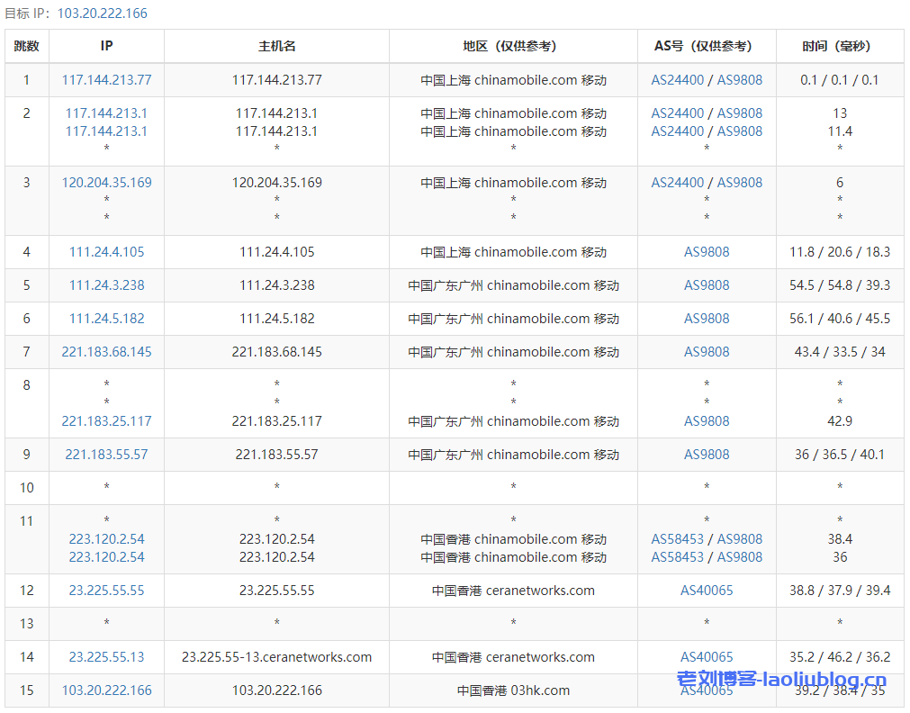
去程路由追踪测试
回程路由追踪测试
backtrace脚本跑下直接告诉你回程路由的线路类型,三网回程均走移动CMI线路:
BestTrace脚本跑下把回程路由具体信息展示给你看:
----------------------------------------------------------------------
广州电信
traceroute to 14.215.116.1 (14.215.116.1), 30 hops max, 32 byte packets
1 103.135.34.129 1.86 ms AS40065 China, Hong Kong, ceranetworks.com
2 23.225.55.2 14.59 ms AS40065 China, Hong Kong, ceranetworks.com
3 23.225.55-33.ceranetworks.com (23.225.55.33) 12.14 ms AS40065 China, Hong Kong, ceranetworks.com
4 23.225.55.54 1.19 ms AS40065 China, Hong Kong, ceranetworks.com
5 223.120.2.53 1.98 ms AS58453 China, Hong Kong, ChinaMobile
6 223.120.3.178 32.31 ms AS58453 China, Shanghai, ChinaMobile
7 221.183.89.174 28.06 ms AS9808 China, Shanghai, ChinaMobile
8 221.183.89.69 37.66 ms AS9808 China, Shanghai, ChinaMobile
9 *
10 *
11 *
12 221.183.90.206 43.75 ms AS9808 China, Guangdong, Guangzhou, ChinaMobile
13 *
14 113.96.4.222 43.92 ms AS4134 China, Guangdong, Guangzhou, ChinaTelecom
15 121.14.50.218 35.72 ms AS4134 China, Guangdong, Guangzhou, ChinaTelecom
16 183.56.129.10 36.73 ms AS4134 China, Guangdong, Guangzhou, ChinaTelecom
17 14.215.116.1 36.73 ms AS4134 China, Guangdong, Guangzhou, ChinaTelecom
----------------------------------------------------------------------
上海电信
traceroute to 202.96.209.133 (202.96.209.133), 30 hops max, 32 byte packets
1 103.135.34.129 11.85 ms AS40065 China, Hong Kong, ceranetworks.com
2 23.225.55.2 0.55 ms AS40065 China, Hong Kong, ceranetworks.com
3 23.225.55-33.ceranetworks.com (23.225.55.33) 10.92 ms AS40065 China, Hong Kong, ceranetworks.com
4 23.225.55.54 2.09 ms AS40065 China, Hong Kong, ceranetworks.com
5 223.120.2.53 2.70 ms AS58453 China, Hong Kong, ChinaMobile
6 223.120.3.186 28.02 ms AS58453 China, Shanghai, ChinaMobile
7 221.183.89.170 29.09 ms AS9808 China, Shanghai, ChinaMobile
8 221.183.89.33 30.81 ms AS9808 China, Shanghai, ChinaMobile
9 221.183.89.10 35.44 ms AS9808 China, Shanghai, ChinaMobile
10 *
11 *
12 *
13 *
14 *
15 124.74.229.238 32.45 ms AS4812 China, Shanghai, ChinaTelecom
16 ns-pd.online.sh.cn (202.96.209.133) 35.07 ms AS4812 China, Shanghai, ChinaTelecom
----------------------------------------------------------------------
厦门电信
traceroute to 117.28.254.129 (117.28.254.129), 30 hops max, 32 byte packets
1 103.135.34.129 15.97 ms AS40065 China, Hong Kong, ceranetworks.com
2 23.225.55.2 10.83 ms AS40065 China, Hong Kong, ceranetworks.com
3 23.225.55-33.ceranetworks.com (23.225.55.33) 6.39 ms AS40065 China, Hong Kong, ceranetworks.com
4 ce-0-1-0-2.r02.tkokhk01.hk.bb.gin.ntt.net (203.131.241.109) 11.14 ms AS2914 China, Hong Kong, ntt.com
5 *
6 ae-1.a00.chwahk02.hk.bb.gin.ntt.net (129.250.5.177) 12.61 ms AS2914 China, Hong Kong, ntt.com
7 xe-0-0-17-2.a00.chwahk02.hk.ce.gin.ntt.net (203.131.241.66) 33.64 ms AS2914 China, Hong Kong, ntt.com
8 59.43.250.81 12.12 ms * China, Guangdong, Guangzhou, ChinaTelecom
9 *
10 59.43.16.181 21.39 ms * China, Guangdong, Guangzhou, ChinaTelecom
11 59.43.46.214 32.76 ms * China, Fujian, ChinaTelecom
12 *
13 27.159.81.214 29.80 ms AS133775 China, Fujian, Xiamen, ChinaTelecom
14 *
15 *
16 117.28.254.129 33.79 ms AS4809 China, Fujian, Xiamen, ChinaTelecom
----------------------------------------------------------------------
重庆联通
traceroute to 113.207.25.138 (113.207.25.138), 30 hops max, 32 byte packets
1 103.135.34.129 24.88 ms AS40065 China, Hong Kong, ceranetworks.com
2 23.225.55.2 1.68 ms AS40065 China, Hong Kong, ceranetworks.com
3 23.225.55-33.ceranetworks.com (23.225.55.33) 1.31 ms AS40065 China, Hong Kong, ceranetworks.com
4 23.225.55.54 10.50 ms AS40065 China, Hong Kong, ceranetworks.com
5 223.120.2.53 17.44 ms AS58453 China, Hong Kong, ChinaMobile
6 223.120.22.106 44.96 ms AS58453 China, Shanghai, ChinaMobile
7 *
8 *
9 221.183.89.50 32.41 ms AS9808 China, Shanghai, ChinaMobile
10 *
11 *
12 221.183.87.150 101.73 ms AS9808 China, Chongqing, ChinaMobile
13 219.158.106.205 84.80 ms AS4837 China, Chongqing, ChinaUnicom
14 113.207.25.138 68.09 ms AS4837 China, Chongqing, ChinaUnicom
----------------------------------------------------------------------
成都联通
traceroute to 119.6.6.6 (119.6.6.6), 30 hops max, 32 byte packets
1 103.135.34.129 1.86 ms AS40065 China, Hong Kong, ceranetworks.com
2 23.225.55.2 8.86 ms AS40065 China, Hong Kong, ceranetworks.com
3 23.225.55-33.ceranetworks.com (23.225.55.33) 6.99 ms AS40065 China, Hong Kong, ceranetworks.com
4 23.225.55.54 15.58 ms AS40065 China, Hong Kong, ceranetworks.com
5 223.120.2.53 10.78 ms AS58453 China, Hong Kong, ChinaMobile
6 223.120.3.182 33.68 ms AS58453 China, Shanghai, ChinaMobile
7 *
8 *
9 221.183.89.50 46.45 ms AS9808 China, Shanghai, ChinaMobile
10 *
11 *
12 219.158.33.237 74.19 ms AS4837 China, Sichuan, Chengdu, ChinaUnicom
13 *
14 *
15 119.6.195.38 82.75 ms AS4837 China, Sichuan, Chengdu, ChinaUnicom
16 119.6.6.6 98.19 ms AS4837 China, Sichuan, Chengdu, ChinaUnicom
----------------------------------------------------------------------
上海移动
traceroute to 120.204.197.126 (120.204.197.126), 30 hops max, 32 byte packets
1 103.135.34.129 35.78 ms AS40065 China, Hong Kong, ceranetworks.com
2 23.225.55.2 1.33 ms AS40065 China, Hong Kong, ceranetworks.com
3 23.225.55-33.ceranetworks.com (23.225.55.33) 22.83 ms AS40065 China, Hong Kong, ceranetworks.com
4 23.225.55.54 2.10 ms AS40065 China, Hong Kong, ceranetworks.com
5 223.120.2.53 10.86 ms AS58453 China, Hong Kong, ChinaMobile
6 223.120.22.106 32.88 ms AS58453 China, Shanghai, ChinaMobile
7 221.183.89.170 32.98 ms AS9808 China, Shanghai, ChinaMobile
8 221.183.89.33 38.50 ms AS9808 China, Shanghai, ChinaMobile
9 *
10 *
11 120.204.194.10 67.81 ms AS9808 China, Shanghai, ChinaMobile
12 120.204.197.126 45.78 ms AS9808 China, Shanghai, ChinaMobile
----------------------------------------------------------------------
成都移动
traceroute to 183.221.253.100 (183.221.253.100), 30 hops max, 32 byte packets
1 103.135.34.129 12.06 ms AS40065 China, Hong Kong, ceranetworks.com
2 23.225.55.2 11.84 ms AS40065 China, Hong Kong, ceranetworks.com
3 23.225.55-33.ceranetworks.com (23.225.55.33) 24.71 ms AS40065 China, Hong Kong, ceranetworks.com
4 23.225.55.54 12.35 ms AS40065 China, Hong Kong, ceranetworks.com
5 223.120.2.53 10.79 ms AS58453 China, Hong Kong, ChinaMobile
6 223.120.22.106 35.87 ms AS58453 China, Shanghai, ChinaMobile
7 221.183.89.174 34.78 ms AS9808 China, Shanghai, ChinaMobile
8 221.183.89.69 32.80 ms AS9808 China, Shanghai, ChinaMobile
9 221.183.89.50 32.11 ms AS9808 China, Shanghai, ChinaMobile
10 *
11 *
12 221.183.110.162 62.83 ms AS9808 China, Beijing, ChinaMobile
13 183.221.253.100 57.94 ms AS9808 China, Sichuan, Chengdu, ChinaMobile
----------------------------------------------------------------------
成都教育网
traceroute to 202.112.14.151 (202.112.14.151), 30 hops max, 32 byte packets
1 103.135.34.129 0.64 ms AS40065 China, Hong Kong, ceranetworks.com
2 23.225.55.2 13.29 ms AS40065 China, Hong Kong, ceranetworks.com
3 23.225.55-33.ceranetworks.com (23.225.55.33) 1.62 ms AS40065 China, Hong Kong, ceranetworks.com
4 cernetedu1-lacp-10g.hkix.net (123.255.91.118) 160.53 ms AS3491 China, Hong Kong, hkix.net
5 101.4.114.181 188.81 ms AS4538 China, Beijing, CHINAEDU
6 *
7 101.4.118.213 188.69 ms AS4538 China, Beijing, CHINAEDU
8 101.4.112.14 216.72 ms AS4538 China, Shaanxi, Xi'an, CHINAEDU
9 *
10 101.4.116.158 220.73 ms AS4538 China, Sichuan, Chengdu, CHINAEDU
11 *
12 202.115.255.254 224.86 ms AS4538 China, Sichuan, Chengdu, CHINAEDU
13 *
14 *
15 *
16 202.112.14.151 228.84 ms AS24355 China, Sichuan, Chengdu, CHINAEDU
----------------------------------------------------------------------
其他流媒体解锁测试,能够解锁港区奈菲/迪士尼+等流媒体
老刘博客





































