VoLLcloud商家最近补货了高配香港CMI VPS:VoLLcloud补货高配香港CMI VPS,9折限时优惠仅$206.1/年!4核2G内存10GB SSD,4T流量@500Mbps端口,三网直连,回程三网CMI,香港原生IP,解锁奈非/迪士尼,那么这款高配香港CMI VPS性能怎么样呢?老刘这里入手了一台机器【HK-Group 15】进行了简单测评,一起来看下其国内延迟、丢包率、性能和带宽、路由去回程、流媒体和TikTok检测情况。
VoLLcloud高配香港CMI VPS【HK-Group 15】方案:
VoLLcloud新产品限量上线
HK-Group 15
vCPU:4C
内存:2G(DDR4)
空间:10 GB SSD(Raid10)
流量:4000 GB / 月(500Mbps端口,双向计算)
IPv4:1个独立IP(原生IP,解锁奈非和迪士尼)
定制:支持定制更高配置(联系客服或提交工单)
9折优惠码:67NYC5GUK7
原价:$229/年 折后:$206.1/年
购买连接
VoLLcloud香港CMI VPS【HK-Group 15】测评分析:
CPU是Intel E5-2660 V2 @ 2.20GHz,支持解锁奈非/迪士尼流媒体,磁盘IO维持在200以上,平均373.7MB/s
三网Ping网络延迟,平均延迟84.9ms
BGP.HE.NET测试为香港原生IP VPS
FIO测试下硬盘的读写数据情况
iperf3跑欧美节点数据
Speedtest.net国内外节点测速,500Mbps带宽的实测数据,国内延迟全部都在两位数以内
宝塔跑分,性能彪悍!
本地文件上传平均速度4.18MB/s(家里的是1000M带宽,不过实际只有300M左右)
本地文件下载速度能到9.3MB/s
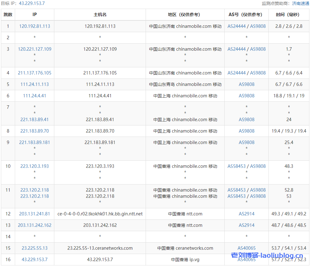
去程路由追踪测试
回程路由追踪测试
回程三网均走移动CMI线路
回程路由具体情况
Traceroute to China, Guangzhou CT (TCP Mode, Max 30 Hop)
============================================================
traceroute to 113.108.209.1 (113.108.209.1), 30 hops max, 32 byte packets
1 103.135.34.137 0.86 ms AS40065 China, Hong Kong, ceranetworks.com
2 23.225.55.2 0.56 ms AS40065 China, Hong Kong, ceranetworks.com
3 23.225.55.33 1.19 ms AS40065 China, Hong Kong, ceranetworks.com
4 23.225.55.54 2.40 ms AS40065 China, Hong Kong, ceranetworks.com
5 223.120.2.53 2.23 ms AS58453 China, Hong Kong, ChinaMobile
6 223.120.3.182 27.45 ms AS58453 China, Shanghai, ChinaMobile
7 221.183.89.174 28.42 ms AS9808 China, Shanghai, ChinaMobile
8 *
9 221.183.89.14 30.18 ms AS9808 China, Shanghai, ChinaMobile
10 *
11 *
12 221.183.128.90 35.30 ms AS9808 China, Guangdong, Guangzhou, ChinaMobile
13 *
14 113.108.209.1 34.19 ms AS4134 China, Guangdong, Guangzhou, ChinaTelecom
Traceroute to China, Shanghai CT (TCP Mode, Max 30 Hop)
============================================================
traceroute to 180.153.28.5 (180.153.28.5), 30 hops max, 32 byte packets
1 103.135.34.137 0.93 ms AS40065 China, Hong Kong, ceranetworks.com
2 23.225.55.2 0.68 ms AS40065 China, Hong Kong, ceranetworks.com
3 23.225.55.33 1.25 ms AS40065 China, Hong Kong, ceranetworks.com
4 23.225.55.54 2.27 ms AS40065 China, Hong Kong, ceranetworks.com
5 223.120.2.53 2.06 ms AS58453 China, Hong Kong, ChinaMobile
6 *
7 221.183.89.170 29.41 ms AS9808 China, Shanghai, ChinaMobile
8 221.183.89.33 28.76 ms AS9808 China, Shanghai, ChinaMobile
9 *
10 *
11 221.183.68.166 37.16 ms AS9808 China, Shanghai, ChinaMobile
12 *
13 61.152.26.77 37.77 ms AS4812 China, Shanghai, ChinaTelecom
14 *
15 *
16 *
17 *
18 *
19 *
20 *
21 *
22 *
23 *
24 *
25 *
26 *
27 *
28 *
29 *
30 *
Traceroute to China, Beijing CT (TCP Mode, Max 30 Hop)
============================================================
traceroute to 180.149.128.9 (180.149.128.9), 30 hops max, 32 byte packets
1 103.135.34.137 0.99 ms AS40065 China, Hong Kong, ceranetworks.com
2 23.225.55.2 0.59 ms AS40065 China, Hong Kong, ceranetworks.com
3 23.225.55.33 0.89 ms AS40065 China, Hong Kong, ceranetworks.com
4 23.225.55.54 2.07 ms AS40065 China, Hong Kong, ceranetworks.com
5 223.120.2.53 2.81 ms AS58453 China, Hong Kong, ChinaMobile
6 *
7 221.183.89.170 28.95 ms AS9808 China, Shanghai, ChinaMobile
8 221.183.89.69 29.40 ms AS9808 China, Shanghai, ChinaMobile
9 221.183.89.14 29.78 ms AS9808 China, Shanghai, ChinaMobile
10 221.183.37.217 53.53 ms AS9808 China, Beijing, ChinaMobile
11 *
12 *
13 *
14 *
15 *
16 *
17 *
18 *
19 *
20 *
21 *
22 *
23 *
24 *
25 *
26 *
27 *
28 *
29 *
30 *
Traceroute to China, Guangzhou CU (TCP Mode, Max 30 Hop)
============================================================
traceroute to 210.21.4.130 (210.21.4.130), 30 hops max, 32 byte packets
1 103.135.34.137 0.80 ms AS40065 China, Hong Kong, ceranetworks.com
2 23.225.55.2 0.67 ms AS40065 China, Hong Kong, ceranetworks.com
3 23.225.55.33 0.78 ms AS40065 China, Hong Kong, ceranetworks.com
4 23.225.55.54 9.51 ms AS40065 China, Hong Kong, ceranetworks.com
5 223.120.2.53 5.50 ms AS58453 China, Hong Kong, ChinaMobile
6 *
7 *
8 221.183.89.33 28.46 ms AS9808 China, Shanghai, ChinaMobile
9 *
10 *
11 *
12 219.158.46.149 42.73 ms AS4837 China, Guangdong, Guangzhou, ChinaUnicom
13 219.158.10.249 36.53 ms AS4837 China, Guangdong, Guangzhou, ChinaUnicom
14 112.91.0.246 37.06 ms AS17816 China, Guangdong, Guangzhou, ChinaUnicom
15 120.80.175.70 34.14 ms AS17622 China, Guangdong, Guangzhou, ChinaUnicom
16 *
17 *
18 *
19 *
20 *
21 *
22 *
23 *
24 *
25 *
26 *
27 *
28 *
29 *
30 *
Traceroute to China, Shanghai CU (TCP Mode, Max 30 Hop)
============================================================
traceroute to 58.247.8.158 (58.247.8.158), 30 hops max, 32 byte packets
1 103.135.34.137 0.86 ms AS40065 China, Hong Kong, ceranetworks.com
2 23.225.55.2 0.65 ms AS40065 China, Hong Kong, ceranetworks.com
3 23.225.55.33 0.79 ms AS40065 China, Hong Kong, ceranetworks.com
4 23.225.55.54 5.87 ms AS40065 China, Hong Kong, ceranetworks.com
5 223.120.2.53 2.04 ms AS58453 China, Hong Kong, ChinaMobile
6 223.120.3.186 28.45 ms AS58453 China, Shanghai, ChinaMobile
7 221.183.89.174 28.38 ms AS9808 China, Shanghai, ChinaMobile
8 *
9 221.183.89.46 31.06 ms AS9808 China, Shanghai, ChinaMobile
10 221.183.90.254 30.77 ms AS9808 China, Shanghai, ChinaMobile
11 221.183.123.106 31.22 ms AS9808 China, Shanghai, ChinaMobile
12 219.158.9.97 31.11 ms AS4837 China, Shanghai, ChinaUnicom
13 *
14 58.247.221.178 31.98 ms AS17621 China, Shanghai, ChinaUnicom
15 139.226.225.22 40.78 ms AS17621 China, Shanghai, ChinaUnicom
16 58.247.8.153 32.23 ms AS17621 China, Shanghai, ChinaUnicom
17 *
18 *
19 *
20 *
21 *
22 *
23 *
24 *
25 *
26 *
27 *
28 *
29 *
30 *
Traceroute to China, Beijing CU (TCP Mode, Max 30 Hop)
============================================================
traceroute to 123.125.99.1 (123.125.99.1), 30 hops max, 32 byte packets
1 103.135.34.137 0.75 ms AS40065 China, Hong Kong, ceranetworks.com
2 23.225.55.2 0.66 ms AS40065 China, Hong Kong, ceranetworks.com
3 23.225.55.33 0.97 ms AS40065 China, Hong Kong, ceranetworks.com
4 23.225.55.54 2.06 ms AS40065 China, Hong Kong, ceranetworks.com
5 *
6 *
7 221.183.89.174 29.06 ms AS9808 China, Shanghai, ChinaMobile
8 221.183.89.33 29.32 ms AS9808 China, Shanghai, ChinaMobile
9 *
10 *
11 *
12 221.183.95.54 50.35 ms AS9808 China, Beijing, ChinaMobile
13 *
14 202.96.12.74 48.35 ms AS4808 China, Beijing, ChinaUnicom
15 219.232.11.202 51.07 ms AS4808 China, Beijing, ChinaUnicom
16 *
17 *
18 *
19 *
20 *
21 *
22 *
23 *
24 *
25 *
26 *
27 *
28 *
29 *
30 *
Traceroute to China, Guangzhou CM (TCP Mode, Max 30 Hop)
============================================================
traceroute to 120.196.212.25 (120.196.212.25), 30 hops max, 32 byte packets
1 103.135.34.137 1.31 ms AS40065 China, Hong Kong, ceranetworks.com
2 23.225.55.2 0.56 ms AS40065 China, Hong Kong, ceranetworks.com
3 23.225.55.33 0.69 ms AS40065 China, Hong Kong, ceranetworks.com
4 23.225.55.54 7.48 ms AS40065 China, Hong Kong, ceranetworks.com
5 *
6 *
7 *
8 221.176.20.21 6.81 ms AS9808 China, Guangdong, Guangzhou, ChinaMobile
9 221.183.68.146 8.93 ms AS9808 China, Guangdong, Guangzhou, ChinaMobile
10 111.24.4.245 7.35 ms AS9808 China, Guangdong, Guangzhou, ChinaMobile
11 111.24.5.214 11.95 ms AS9808 China, Guangdong, Shenzhen, ChinaMobile
12 183.235.226.109 12.66 ms AS56040 China, Guangdong, Guangzhou, ChinaMobile
13 211.136.203.14 10.77 ms AS56040 China, Guangdong, Guangzhou, ChinaMobile
14 *
15 211.139.180.106 17.16 ms AS56040 China, Guangdong, Guangzhou, ChinaMobile
16 120.196.212.25 14.91 ms AS56040 China, Guangdong, Guangzhou, ChinaMobile
Traceroute to China, Shanghai CM (TCP Mode, Max 30 Hop)
============================================================
traceroute to 221.183.55.22 (221.183.55.22), 30 hops max, 32 byte packets
1 103.135.34.137 0.73 ms AS40065 China, Hong Kong, ceranetworks.com
2 23.225.55.2 0.62 ms AS40065 China, Hong Kong, ceranetworks.com
3 23.225.55.33 0.79 ms AS40065 China, Hong Kong, ceranetworks.com
4 23.225.55.54 2.13 ms AS40065 China, Hong Kong, ceranetworks.com
5 223.120.2.53 1.88 ms AS58453 China, Hong Kong, ChinaMobile
6 223.120.3.182 28.36 ms AS58453 China, Shanghai, ChinaMobile
7 *
8 *
9 *
10 *
11 *
12 *
13 *
14 *
15 *
16 *
17 *
18 *
19 *
20 *
21 *
22 *
23 *
24 *
25 *
26 *
27 *
28 *
29 *
30 *
Traceroute to China, Beijing CM (TCP Mode, Max 30 Hop)
============================================================
traceroute to 211.136.25.153 (211.136.25.153), 30 hops max, 32 byte packets
1 103.135.34.137 0.89 ms AS40065 China, Hong Kong, ceranetworks.com
2 23.225.55.2 0.63 ms AS40065 China, Hong Kong, ceranetworks.com
3 23.225.55.33 0.73 ms AS40065 China, Hong Kong, ceranetworks.com
4 23.225.55.54 2.14 ms AS40065 China, Hong Kong, ceranetworks.com
5 223.120.2.53 1.92 ms AS58453 China, Hong Kong, ChinaMobile
6 *
7 221.183.89.174 28.47 ms AS9808 China, Shanghai, ChinaMobile
8 221.183.89.69 28.54 ms AS9808 China, Shanghai, ChinaMobile
9 *
10 *
11 *
12 *
13 *
14 211.136.67.166 57.55 ms AS56048 China, Beijing, ChinaMobile
15 *
16 *
17 211.136.25.153 56.87 ms AS56048 China, Beijing, ChinaMobile
Traceroute to China, Beijing Dr.Peng Network IDC Network (TCP Mode, Max 30 Hop)
============================================================
traceroute to 211.167.230.100 (211.167.230.100), 30 hops max, 32 byte packets
1 103.135.34.137 0.77 ms AS40065 China, Hong Kong, ceranetworks.com
2 23.225.55.2 0.62 ms AS40065 China, Hong Kong, ceranetworks.com
3 23.225.55.33 0.64 ms AS40065 China, Hong Kong, ceranetworks.com
4 23.225.55.54 2.53 ms AS40065 China, Hong Kong, ceranetworks.com
5 223.120.2.53 13.49 ms AS58453 China, Hong Kong, ChinaMobile
6 223.120.22.110 28.52 ms AS58453 China, Shanghai, ChinaMobile
7 221.183.89.174 29.06 ms AS9808 China, Shanghai, ChinaMobile
8 221.183.89.69 28.84 ms AS9808 China, Shanghai, ChinaMobile
9 *
10 221.183.37.217 53.92 ms AS9808 China, Beijing, ChinaMobile
11 *
12 219.158.40.17 51.30 ms AS4837 China, Beijing, ChinaUnicom
13 219.158.109.189 52.77 ms AS4837 China, Beijing, ChinaUnicom
14 *
15 202.106.193.38 49.26 ms AS4808 China, Beijing, ChinaUnicom
16 61.149.212.242 49.77 ms AS4808 China, Beijing, ChinaUnicom
17 *
18 124.205.97.138 49.64 ms AS4808 China, Beijing, DRPENG
19 218.241.253.134 49.20 ms AS4808 China, Beijing, DRPENG
20 211.167.230.100 48.93 ms AS17964 China, Beijing, DRPENG
----------------------------------------------------------------------------------
其他流媒体解锁测试
老刘博客






































