浅月云香港商宽机房 HGC Fixed Broadband 原生HGC静态IP,万兆兆上联 10GHGC链路 三网直连 CN2/移动表现优异 测试IP:118.140.206.244(可Iperf3),那么浅月云怎么样?来看下浅月云香港|HGC Fixed|VPS测评:HGC Fixed|2C2G|300M|共享带宽。
浅月云官网:门户首页 – 浅月云 (lightmoon.cloud)
浅月云香港|HGC Fixed|VPS方案
| HGC Fixed|2C2G|300M|共享带宽 本文测评机器 | HGC Fixed|2C4G|500M|共享带宽 | HGC Fixed|4C4G|1000M|共享带宽 |
| – 2C x E5 2678 V3 | – 2C x E5 2678 V3 | – 4C x E5 2678 V3 |
| – 2GB DDR4 ECC | – 4GB DDR4 ECC | – 4GB DDR4 ECC |
| – 10GB SSD RAID10 | – 10GB SSD RAID10 | – 10GB SSD RAID10 |
| – 300Mbps HGC | – 500Mbps HGC | – 1000Mbps HGC |
| – 20TB双向流量(七折重置) | – 40TB双向流量(七折重置) | – 80TB双向流量(七折重置) |
| – 1x Fixed IPv4 (保证解锁流媒体) | – 1x Fixed IPv4 (保证解锁流媒体) | – 1x Fixed IPv4 (保证解锁流媒体) |
| – 此产品没有 SLA 保障 请知悉 | – 此产品没有 SLA 保障 请知悉 | – 此产品没有 SLA 保障 请知悉 |
| – 不合理使用导致流媒体被锁 将被清退 | – 不合理使用导致流媒体被锁 将被清退 | – 不合理使用导致流媒体被锁 将被清退 |
| ¥288.00元每月 ¥10.00 初装费 | ¥438.00元每月 ¥10.00 初装费 | ¥799.00元每月 ¥10.00 初装费 |
| 立即订购 | 立即订购 | 立即订购 |
浅月云香港|HGC Fixed|VPS测评分析:
这里开了个2G内存、2核、10G SSD配置的云服务器,主频大致2.5GHz,当前硬盘I/O大致在578MB/S的样子,支持解锁奈菲视频
用FIO再测试一次,看看磁盘实际读写的情况吧
三网104个节点的网络延迟测试
BGP.HE.NET测试为香港原生IP VPS
speedtest.net国内外节点测速,300Mbps带宽的样子
再跑几个国际节点看看,这里上行不到300Mbps、下行300Mbps;
专门看看亚洲区域内的节点的效果:
再跑几个欧美节点10Gbps带宽的节点看看数据:
上海移动,扔个文件看看上传速度1.71MB/s
上海移动,文件下载速度1588B/s
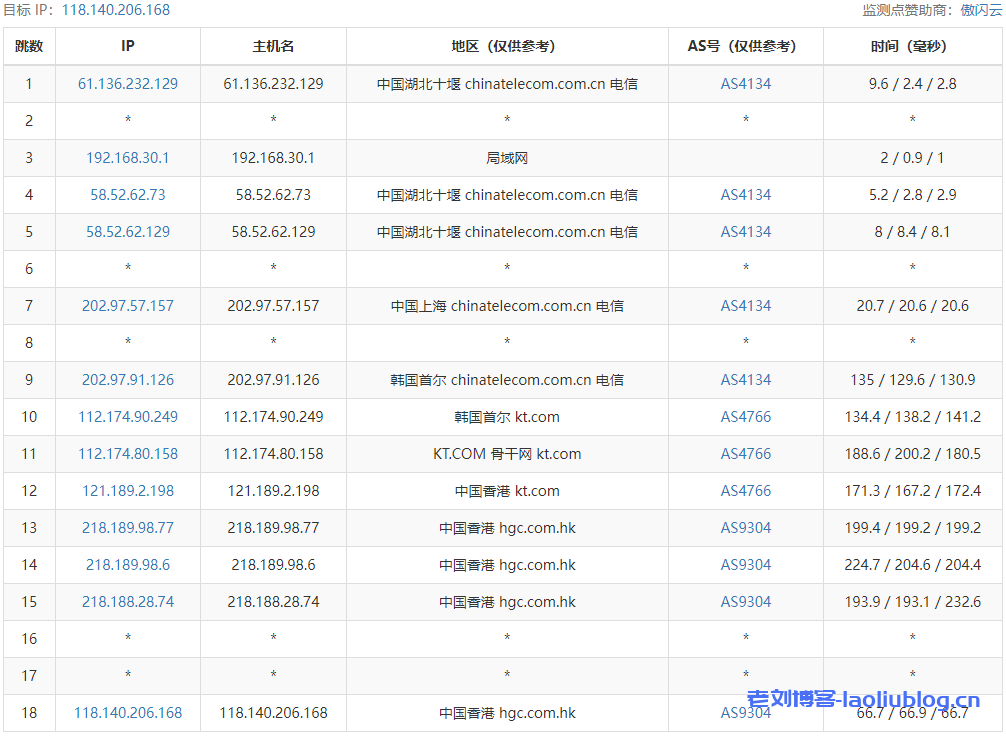
去程路由追踪测试
回程路由追踪测试
Traceroute to China, Guangzhou CT (TCP Mode, Max 30 Hop)
============================================================
traceroute to 113.108.209.1 (113.108.209.1), 30 hops max, 32 byte packets
1 118.140.206.129 2.54 ms AS9304 China, Hong Kong, hgc.com.hk
2 10.30.29.1 0.84 ms * LAN Address
3 10.28.21.25 1.65 ms * LAN Address
4 218.188.28.66 1.80 ms AS9304 China, Hong Kong, hgc.com.hk
5 *
6 *
7 121.189.2.197 2.91 ms AS4766 China, Hong Kong, kt.com
8 112.174.89.65 33.69 ms AS4766 Republic of Korea, Seoul, kt.com
9 *
10 *
11 202.97.12.189 103.84 ms AS4134 China, Shanghai, ChinaTelecom
12 *
13 *
14 *
15 113.108.209.1 128.12 ms AS4134 China, Guangdong, Guangzhou, ChinaTelecom
Traceroute to China, Shanghai CT (TCP Mode, Max 30 Hop)
============================================================
traceroute to 180.153.28.5 (180.153.28.5), 30 hops max, 32 byte packets
1 118.140.206.129 6.09 ms AS9304 China, Hong Kong, hgc.com.hk
2 10.30.28.1 1.17 ms * LAN Address
3 10.28.21.25 1.30 ms * LAN Address
4 218.188.28.66 1.90 ms AS9304 China, Hong Kong, hgc.com.hk
5 *
6 *
7 121.189.2.197 8.34 ms AS4766 China, Hong Kong, kt.com
8 112.174.89.65 31.97 ms AS4766 Republic of Korea, Seoul, kt.com
9 112.174.95.166 35.00 ms AS4766 Republic of Korea, Seoul, kt.com
10 *
11 *
12 *
13 *
14 61.152.24.73 172.69 ms AS4812 China, Shanghai, ChinaTelecom
15 101.95.207.234 162.51 ms AS4812 China, Shanghai, ChinaTelecom
16 124.74.232.242 167.39 ms AS4811 China, Shanghai, ChinaTelecom
17 *
18 *
19 *
20 *
21 *
22 *
23 *
24 *
25 *
26 *
27 *
28 *
29 *
30 *
Traceroute to China, Beijing CT (TCP Mode, Max 30 Hop)
============================================================
traceroute to 180.149.128.9 (180.149.128.9), 30 hops max, 32 byte packets
1 118.140.206.129 55.08 ms AS9304 China, Hong Kong, hgc.com.hk
2 10.30.29.1 1.35 ms * LAN Address
3 10.28.21.25 103.18 ms * LAN Address
4 218.188.28.66 1.84 ms AS9304 China, Hong Kong, hgc.com.hk
5 *
6 *
7 121.189.2.197 2.99 ms AS4766 China, Hong Kong, kt.com
8 112.174.89.69 43.85 ms AS4766 Republic of Korea, Seoul, kt.com
9 112.174.90.238 43.00 ms AS4766 Republic of Korea, Seoul, kt.com
10 *
11 *
12 *
13 *
14 36.110.248.122 115.18 ms AS23724 China, Beijing, ChinaTelecom
15 *
16 *
17 *
18 *
19 *
20 *
21 *
22 *
23 *
24 *
25 *
26 *
27 *
28 *
29 *
30 *
Traceroute to China, Guangzhou CU (TCP Mode, Max 30 Hop)
============================================================
traceroute to 210.21.4.130 (210.21.4.130), 30 hops max, 32 byte packets
1 118.140.206.129 6.05 ms AS9304 China, Hong Kong, hgc.com.hk
2 10.30.29.1 0.83 ms * LAN Address
3 10.28.21.29 1.09 ms * LAN Address
4 218.188.28.66 1.84 ms AS9304 China, Hong Kong, hgc.com.hk
5 *
6 *
7 121.189.2.197 2.89 ms AS4766 China, Hong Kong, kt.com
8 112.174.80.93 37.77 ms AS4766 KT.COM 骨干网, kt.com
9 112.174.95.46 32.58 ms AS4766 Republic of Korea, Seoul, kt.com
10 121.189.2.14 151.07 ms AS4766 KT.COM 骨干网, kt.com
11 219.158.113.134 57.21 ms AS4837 China, Shanghai, ChinaUnicom
12 219.158.113.105 100.84 ms AS4837 China, Shanghai, ChinaUnicom
13 *
14 120.83.0.166 214.05 ms AS17816 China, Guangdong, Guangzhou, ChinaUnicom
15 120.80.175.62 116.58 ms AS17622 China, Guangdong, Guangzhou, ChinaUnicom
16 *
17 *
18 *
19 *
20 *
21 *
22 *
23 *
24 *
25 *
26 *
27 *
28 *
29 *
30 *
Traceroute to China, Shanghai CU (TCP Mode, Max 30 Hop)
============================================================
traceroute to 58.247.8.158 (58.247.8.158), 30 hops max, 32 byte packets
1 118.140.206.129 20.02 ms AS9304 China, Hong Kong, hgc.com.hk
2 10.30.29.1 0.90 ms * LAN Address
3 10.28.21.25 1.43 ms * LAN Address
4 218.188.28.66 78.17 ms AS9304 China, Hong Kong, hgc.com.hk
5 *
6 *
7 121.189.2.197 2.43 ms AS4766 China, Hong Kong, kt.com
8 112.174.89.105 32.42 ms AS4766 KT.COM 骨干网, kt.com
9 121.189.2.14 165.16 ms AS4766 KT.COM 骨干网, kt.com
10 219.158.40.85 54.20 ms AS4837 China, Shanghai, ChinaUnicom
11 219.158.19.86 59.66 ms AS4837 China, Shanghai, ChinaUnicom
12 219.158.9.201 233.15 ms AS4837 China, Beijing, ChinaUnicom
13 *
14 *
15 139.226.228.46 271.74 ms AS17621 China, Shanghai, ChinaUnicom
16 58.247.8.153 134.33 ms AS17621 China, Shanghai, ChinaUnicom
17 *
18 *
19 *
20 *
21 *
22 *
23 *
24 *
25 *
26 *
27 *
28 *
29 *
30 *
Traceroute to China, Beijing CU (TCP Mode, Max 30 Hop)
============================================================
traceroute to 123.125.99.1 (123.125.99.1), 30 hops max, 32 byte packets
1 118.140.206.129 11.03 ms AS9304 China, Hong Kong, hgc.com.hk
2 10.30.29.1 0.92 ms * LAN Address
3 10.28.21.29 2.85 ms * LAN Address
4 *
5 *
6 121.189.2.197 4.25 ms AS4766 China, Hong Kong, kt.com
7 112.174.89.65 32.61 ms AS4766 Republic of Korea, Seoul, kt.com
8 112.174.89.69 32.67 ms AS4766 Republic of Korea, Seoul, kt.com
9 121.189.3.174 65.19 ms AS4766 KT.COM 骨干网, kt.com
10 219.158.16.81 188.84 ms AS4837 China, Beijing, ChinaUnicom
11 219.158.113.105 113.08 ms AS4837 China, Shanghai, ChinaUnicom
12 *
13 *
14 219.232.11.130 118.51 ms AS4808 China, Beijing, ChinaUnicom
15 61.51.169.178 116.49 ms AS4808 China, Beijing, ChinaUnicom
16 *
17 *
18 *
19 *
20 *
21 *
22 *
23 *
24 *
25 *
26 *
27 *
28 *
29 *
30 *
Traceroute to China, Guangzhou CM (TCP Mode, Max 30 Hop)
============================================================
traceroute to 120.196.212.25 (120.196.212.25), 30 hops max, 32 byte packets
1 118.140.206.129 6.21 ms AS9304 China, Hong Kong, hgc.com.hk
2 10.30.29.1 1.15 ms * LAN Address
3 10.28.21.25 1.40 ms * LAN Address
4 218.188.28.66 1.76 ms AS9304 China, Hong Kong, hgc.com.hk
5 *
6 180.87.169.42 4.15 ms AS6453 China, Hong Kong, tatacommunications.com
7 180.87.168.6 3.09 ms AS6453 China, Hong Kong, tatacommunications.com
8 116.0.93.211 6.10 ms AS6453 China, Hong Kong, tatacommunications.com
9 203.131.241.82 6.20 ms AS2914 China, Hong Kong, ntt.com
10 223.120.2.117 3.87 ms AS58453 China, Hong Kong, ChinaMobile
11 *
12 *
13 221.176.24.61 10.39 ms AS9808 China, Guangdong, Guangzhou, ChinaMobile
14 221.176.22.157 10.62 ms AS9808 China, Guangdong, Guangzhou, ChinaMobile
15 111.24.5.193 10.63 ms AS9808 China, Guangdong, Guangzhou, ChinaMobile
16 111.24.5.30 13.90 ms AS9808 China, Guangdong, Guangzhou, ChinaMobile
17 211.136.208.189 16.06 ms AS56040 China, Guangdong, Shenzhen, ChinaMobile
18 211.136.249.109 17.45 ms AS56040 China, Guangdong, Guangzhou, ChinaMobile
19 211.136.196.234 15.53 ms AS56040 China, Guangdong, Guangzhou, ChinaMobile
20 *
21 *
22 *
23 120.196.212.25 12.21 ms AS56040 China, Guangdong, Guangzhou, ChinaMobile
Traceroute to China, Shanghai CM (TCP Mode, Max 30 Hop)
============================================================
traceroute to 221.183.55.22 (221.183.55.22), 30 hops max, 32 byte packets
1 118.140.206.129 6.21 ms AS9304 China, Hong Kong, hgc.com.hk
2 10.30.28.1 0.79 ms * LAN Address
3 10.28.21.29 1.27 ms * LAN Address
4 218.188.28.69 1.79 ms AS9304 China, Hong Kong, hgc.com.hk
5 *
6 203.131.243.121 3.45 ms AS2914 China, Hong Kong, ntt.com
7 129.250.6.114 5.54 ms AS2914 NTT.COM 骨干网, ntt.com
8 129.250.5.161 4.90 ms AS2914 China, Hong Kong, ntt.com
9 223.120.2.117 4.63 ms AS58453 China, Hong Kong, ChinaMobile
10 *
11 *
12 *
13 *
14 *
15 *
16 *
17 *
18 *
19 *
20 *
21 *
22 *
23 *
24 *
25 *
26 *
27 *
28 *
29 *
30 *
Traceroute to China, Beijing CM (TCP Mode, Max 30 Hop)
============================================================
traceroute to 211.136.25.153 (211.136.25.153), 30 hops max, 32 byte packets
1 118.140.206.129 11.16 ms AS9304 China, Hong Kong, hgc.com.hk
2 10.30.29.1 0.80 ms * LAN Address
3 210.0.248.48 0.96 ms AS9304 China, Hong Kong, hgc.com.hk
4 210.0.248.24 1.32 ms AS9304 China, Hong Kong, hgc.com.hk
5 218.188.28.170 1.26 ms AS9304 China, Hong Kong, hgc.com.hk
6 218.189.99.154 1.46 ms AS9304 China, Hong Kong, hgc.com.hk
7 *
8 *
9 223.120.3.194 30.15 ms AS58453 China, Shanghai, ChinaMobile
10 221.183.89.182 33.76 ms AS9808 China, Shanghai, ChinaMobile
11 221.183.89.69 31.84 ms AS9808 China, Shanghai, ChinaMobile
12 221.183.89.33 30.98 ms AS9808 China, Shanghai, ChinaMobile
13 *
14 *
15 211.136.66.121 61.23 ms AS56048 China, Beijing, ChinaMobile
16 211.136.67.166 57.88 ms AS56048 China, Beijing, ChinaMobile
17 *
18 211.136.67.166 57.72 ms AS56048 China, Beijing, ChinaMobile
19 211.136.95.226 60.18 ms AS56048 China, Beijing, ChinaMobile
20 *
21 211.136.25.153 59.95 ms AS56048 China, Beijing, ChinaMobile
Traceroute to China, Beijing Dr.Peng Network IDC Network (TCP Mode, Max 30 Hop)
============================================================
traceroute to 211.167.230.100 (211.167.230.100), 30 hops max, 32 byte packets
1 118.140.206.129 8.15 ms AS9304 China, Hong Kong, hgc.com.hk
2 10.30.28.1 0.82 ms * LAN Address
3 10.28.21.25 1.55 ms * LAN Address
4 218.188.28.69 11.26 ms AS9304 China, Hong Kong, hgc.com.hk
5 *
6 121.189.2.197 2.44 ms AS4766 China, Hong Kong, kt.com
7 121.189.2.197 4.28 ms AS4766 China, Hong Kong, kt.com
8 112.174.89.105 35.42 ms AS4766 KT.COM 骨干网, kt.com
9 121.189.2.14 127.75 ms AS4766 KT.COM 骨干网, kt.com
10 219.158.8.185 56.28 ms AS4837 China, Shanghai, ChinaUnicom
11 219.158.8.185 55.60 ms AS4837 China, Shanghai, ChinaUnicom
12 *
13 202.106.192.94 189.03 ms AS4808 China, Beijing, ChinaUnicom
14 125.33.186.54 138.53 ms AS4808 China, Beijing, ChinaUnicom
15 202.106.192.6 151.58 ms AS4808 China, Beijing, ChinaUnicom
16 *
17 218.241.255.138 149.59 ms AS4808 China, Beijing, DRPENG
18 124.205.97.138 155.33 ms AS4808 China, Beijing, DRPENG
19 211.167.230.100 160.17 ms AS17964 China, Beijing, DRPENG
----------------------------------------------------------------------------------
UnixBench跑分,单核598.3,双核1641.4分,综合性能极好!
老刘博客










































