justhost前几天又一口气上新了四个机房,其中就有意大利巴勒莫机房。意大利机房比较冷门,国内用户比较少,原因就是线路一般又没有抗投诉加成之类的,不过多个选择总是好的,反正justhost能随意换机房,还能免费换5次IP,这次老刘就把前几天测试的香港机房切换成意大利机房(IP也换了),这里就测试下justhost意大利vps的性能和大家分享。这台测试机是NVMe硬盘套餐,其他配置和最便宜的HDD硬盘套餐一样,只是硬盘读写速度好很多。总结测评结果来看:意大利原生IPv4+美国原生IPv6,解锁Netflix,三网去程绕美国,电信移动回程直连,移动回程绕美国!
最低配置:1核CPU、512M内存、5GB HDD硬盘、无限流量、200Mbps带宽、1个IPv4、9.89元/月(俄罗斯4个机房8折优惠后价格,非俄罗斯机房优惠后19.79元/月),支持支付宝/微信支付!
justhost意大利vps最低配置地址:https://just.hosting/zh/services/vps/tariffs/1
Justhost优惠码:LET20(8折优惠,适用月付,购买时候在评论框中输入回车即可!)
justhost意大利vps硬件测试
E5-2697v4处理器,2.30GHz频率。4G内存都读出来了,没有默认的虚拟内存。硬盘读出来51GB,硬盘平均读写速度550MB/s。NVMe硬盘套餐硬盘读写速度还不错,可以看到是KVM虚拟化的。
justhost意大利vps上传下载速度,200Mbps端口下的结果
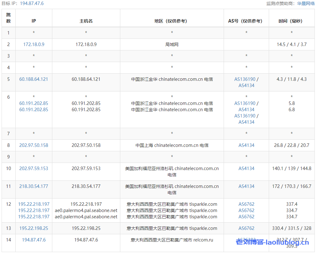
ping网络延迟情况
IPv4和IPv6都支持解锁奈菲,且是意大利原生IPv4+美国原生IPv6
FIO再次测试硬盘读写数据
speedtest.net国内外节点测速和网络延迟
国外节点测速

专门再来个亚洲节点测速
justhost意大利vps去程路由追踪测试
联通去程绕美国洛杉矶
移动去程更绕了,经过日本走NTT线路到美国洛杉矶然后到意大利
回程路由追踪测试
三网回程路由
具体来看:
移动回程经过德国算是直连;联通回程经过洛杉矶;移动经过德国直连回程
Traceroute to China, Guangzhou CT (TCP Mode, Max 30 Hop)
============================================================
traceroute to 113.108.209.1 (113.108.209.1), 30 hops max, 32 byte packets
1 91.201.64.57 6.29 ms AS56630 Italy, Sicily, Metropolitan city of Palermo, melbicom.net
2 195.22.198.24 1.02 ms AS6762 Italy, Sicily, Metropolitan city of Palermo, tisparkle.com
3 195.22.208.75 30.06 ms AS6762 Germany, Hesse, Frankfurt, tisparkle.com
4 89.221.34.161 75.03 ms AS6762 Germany, Hesse, Frankfurt, tisparkle.com
5 *
6 *
7 202.97.91.17 309.04 ms AS4134 China, Guangdong, Guangzhou, ChinaTelecom
8 113.108.209.1 280.77 ms AS4134 China, Guangdong, Guangzhou, ChinaTelecom
Traceroute to China, Shanghai CT (TCP Mode, Max 30 Hop)
============================================================
traceroute to 180.153.28.5 (180.153.28.5), 30 hops max, 32 byte packets
1 91.201.64.57 0.59 ms AS56630 Italy, Sicily, Metropolitan city of Palermo, melbicom.net
2 195.22.198.24 0.90 ms AS6762 Italy, Sicily, Metropolitan city of Palermo, tisparkle.com
3 195.22.208.75 30.07 ms AS6762 Germany, Hesse, Frankfurt, tisparkle.com
4 89.221.34.161 28.73 ms AS6762 Germany, Hesse, Frankfurt, tisparkle.com
5 *
6 *
7 *
8 61.152.25.165 283.00 ms AS4812 China, Shanghai, ChinaTelecom
9 101.95.207.250 290.35 ms AS4812 China, Shanghai, ChinaTelecom
10 124.74.232.54 293.03 ms AS4811 China, Shanghai, ChinaTelecom
11 *
12 *
13 *
14 *
15 *
16 *
17 *
18 *
19 *
20 *
21 *
22 *
23 *
24 *
25 *
26 *
27 *
28 *
29 *
30 *
Traceroute to China, Beijing CT (TCP Mode, Max 30 Hop)
============================================================
traceroute to 180.149.128.9 (180.149.128.9), 30 hops max, 32 byte packets
1 91.201.64.57 1.36 ms AS56630 Italy, Sicily, Metropolitan city of Palermo, melbicom.net
2 195.22.198.24 0.80 ms AS6762 Italy, Sicily, Metropolitan city of Palermo, tisparkle.com
3 195.22.208.73 29.92 ms AS6762 Italy, Lombardy, Metropolitan City of Milan, tisparkle.com
4 89.221.34.161 30.54 ms AS6762 Germany, Hesse, Frankfurt, tisparkle.com
5 202.97.58.77 255.08 ms AS4134 China, Beijing, ChinaTelecom
6 *
7 202.97.53.9 259.55 ms AS4134 China, Beijing, ChinaTelecom
8 *
9 *
10 *
11 *
12 *
13 *
14 *
15 *
16 *
17 *
18 *
19 *
20 *
21 *
22 *
23 *
24 *
25 *
26 *
27 *
28 *
29 *
30 *
Traceroute to China, Guangzhou CU (TCP Mode, Max 30 Hop)
============================================================
traceroute to 210.21.4.130 (210.21.4.130), 30 hops max, 32 byte packets
1 91.201.64.57 1.35 ms AS56630 Italy, Sicily, Metropolitan city of Palermo, melbicom.net
2 195.22.198.24 0.69 ms AS6762 Italy, Sicily, Metropolitan city of Palermo, tisparkle.com
3 89.221.40.141 179.27 ms AS6762 United States, California, Los Angeles, tisparkle.com
4 *
5 *
6 219.158.3.177 375.64 ms AS4837 China, Beijing, ChinaUnicom
7 *
8 *
9 *
10 *
11 *
12 *
13 *
14 *
15 *
16 *
17 *
18 *
19 *
20 *
21 *
22 *
23 *
24 *
25 *
26 *
27 *
28 *
29 *
30 *
Traceroute to China, Shanghai CU (TCP Mode, Max 30 Hop)
============================================================
traceroute to 58.247.8.158 (58.247.8.158), 30 hops max, 32 byte packets
1 91.201.64.57 0.48 ms AS56630 Italy, Sicily, Metropolitan city of Palermo, melbicom.net
2 195.22.198.24 0.76 ms AS6762 Italy, Sicily, Metropolitan city of Palermo, tisparkle.com
3 *
4 *
5 219.158.96.25 377.43 ms AS4837 China, Beijing, ChinaUnicom
6 *
7 *
8 219.158.7.234 440.15 ms AS4837 China, Shanghai, ChinaUnicom
9 *
10 *
11 *
12 *
13 *
14 *
15 *
16 *
17 *
18 *
19 *
20 *
21 *
22 *
23 *
24 *
25 *
26 *
27 *
28 *
29 *
30 *
Traceroute to China, Beijing CU (TCP Mode, Max 30 Hop)
============================================================
traceroute to 123.125.99.1 (123.125.99.1), 30 hops max, 32 byte packets
1 91.201.64.57 8.43 ms AS56630 Italy, Sicily, Metropolitan city of Palermo, melbicom.net
2 195.22.198.24 0.71 ms AS6762 Italy, Sicily, Metropolitan city of Palermo, tisparkle.com
3 *
4 219.158.33.189 229.54 ms AS4837 United States, California, Los Angeles, ChinaUnicom
5 219.158.4.9 383.46 ms AS4837 China, Beijing, ChinaUnicom
6 *
7 *
8 *
9 *
10 *
11 *
12 *
13 *
14 *
15 *
16 *
17 *
18 *
19 *
20 *
21 *
22 *
23 *
24 *
25 *
26 *
27 *
28 *
29 *
30 *
Traceroute to China, Guangzhou CM (TCP Mode, Max 30 Hop)
============================================================
traceroute to 120.196.212.25 (120.196.212.25), 30 hops max, 32 byte packets
1 91.201.64.57 0.65 ms AS56630 Italy, Sicily, Metropolitan city of Palermo, melbicom.net
2 195.22.198.24 0.71 ms AS6762 Italy, Sicily, Metropolitan city of Palermo, tisparkle.com
3 195.22.196.137 43.92 ms AS6762 Italy, Lombardy, Metropolitan City of Milan, tisparkle.com
4 62.115.149.0 30.91 ms AS1299 Germany, Hesse, Frankfurt, telia.com
5 62.115.47.45 42.20 ms AS1299 Germany, Hesse, Frankfurt, telia.com
6 223.120.10.85 33.70 ms AS58453 Germany, Hesse, Frankfurt, ChinaMobile
7 *
8 221.183.55.90 295.33 ms AS9808 China, Guangdong, Guangzhou, ChinaMobile
9 221.176.24.61 289.21 ms AS9808 China, Guangdong, Guangzhou, ChinaMobile
10 221.176.22.105 284.03 ms AS9808 China, Guangdong, Guangzhou, ChinaMobile
11 111.24.5.169 291.62 ms AS9808 China, Guangdong, Guangzhou, ChinaMobile
12 111.24.14.82 298.10 ms AS9808 China, Guangdong, Guangzhou, ChinaMobile
13 211.136.208.201 294.55 ms AS56040 China, Guangdong, Guangzhou, ChinaMobile
14 211.136.204.65 281.87 ms AS56040 China, Guangdong, Guangzhou, ChinaMobile
15 211.139.180.110 288.41 ms AS56040 China, Guangdong, Guangzhou, ChinaMobile
16 211.139.180.110 294.12 ms AS56040 China, Guangdong, Guangzhou, ChinaMobile
17 *
18 *
19 120.196.212.25 309.38 ms AS56040 China, Guangdong, Guangzhou, ChinaMobile
Traceroute to China, Shanghai CM (TCP Mode, Max 30 Hop)
============================================================
traceroute to 221.183.55.22 (221.183.55.22), 30 hops max, 32 byte packets
1 91.201.64.57 0.65 ms AS56630 Italy, Sicily, Metropolitan city of Palermo, melbicom.net
2 195.22.198.24 0.68 ms AS6762 Italy, Sicily, Metropolitan city of Palermo, tisparkle.com
3 195.22.196.71 19.40 ms AS6762 Italy, Lombardy, Metropolitan City of Milan, tisparkle.com
4 129.250.9.41 26.15 ms AS2914 Italy, Lombardy, Metropolitan City of Milan, ntt.com
5 129.250.3.84 29.40 ms AS2914 Italy, Lombardy, Metropolitan City of Milan, ntt.com
6 *
7 129.250.2.149 276.04 ms AS2914 Singapore, ntt.com
8 116.51.17.238 272.01 ms AS2914 Singapore, ntt.com
9 223.120.12.234 274.84 ms AS58453 China, Hong Kong, ChinaMobile
10 223.120.3.186 308.30 ms AS58453 China, Shanghai, ChinaMobile
11 *
12 *
13 *
14 *
15 *
16 *
17 *
18 *
19 *
20 *
21 *
22 *
23 *
24 *
25 *
26 *
27 *
28 *
29 *
30 *
Traceroute to China, Beijing CM (TCP Mode, Max 30 Hop)
============================================================
traceroute to 211.136.25.153 (211.136.25.153), 30 hops max, 32 byte packets
1 91.201.64.57 0.54 ms AS56630 Italy, Sicily, Metropolitan city of Palermo, melbicom.net
2 195.22.198.24 32.74 ms AS6762 Italy, Sicily, Metropolitan city of Palermo, tisparkle.com
3 195.22.196.7 48.25 ms AS6762 Italy, Lombardy, Metropolitan City of Milan, tisparkle.com
4 62.115.114.90 45.47 ms AS1299 Germany, Hesse, Frankfurt, telia.com
5 62.115.114.90 50.08 ms AS1299 Germany, Hesse, Frankfurt, telia.com
6 62.115.123.13 57.15 ms AS1299 France, Ile-de-France, Paris, telia.com
7 62.115.122.159 119.98 ms AS1299 United States, Virginia, Ashburn, telia.com
8 62.115.114.86 189.22 ms AS1299 United States, California, Los Angeles, telia.com
9 62.115.171.219 185.72 ms AS1299 United States, California, Los Angeles, telia.com
10 223.120.6.17 188.38 ms AS58453 United States, California, Los Angeles, ChinaMobile
11 223.120.32.9 376.48 ms AS58453 China, Shanghai, ChinaMobile
12 221.183.89.170 355.11 ms AS9808 China, Shanghai, ChinaMobile
13 221.183.89.33 363.79 ms AS9808 China, Shanghai, ChinaMobile
14 *
15 *
16 *
17 *
18 *
19 211.136.95.226 387.55 ms AS56048 China, Beijing, ChinaMobile
20 211.136.95.226 409.33 ms AS56048 China, Beijing, ChinaMobile
21 *
22 *
23 211.136.25.153 404.05 ms AS56048 China, Beijing, ChinaMobile
Traceroute to China, Beijing Dr.Peng Network IDC Network (TCP Mode, Max 30 Hop)
============================================================
traceroute to 211.167.230.100 (211.167.230.100), 30 hops max, 32 byte packets
1 91.201.64.57 1.50 ms AS56630 Italy, Sicily, Metropolitan city of Palermo, melbicom.net
2 195.22.198.24 0.49 ms AS6762 Italy, Sicily, Metropolitan city of Palermo, tisparkle.com
3 89.221.40.141 182.53 ms AS6762 United States, California, Los Angeles, tisparkle.com
4 219.158.40.49 184.43 ms AS4837 United States, California, Los Angeles, ChinaUnicom
5 219.158.96.25 333.74 ms AS4837 China, Beijing, ChinaUnicom
6 219.158.3.137 323.60 ms AS4837 China, Beijing, ChinaUnicom
7 219.158.5.149 360.26 ms AS4837 China, Beijing, ChinaUnicom
8 *
9 202.106.193.14 348.44 ms AS4808 China, Beijing, ChinaUnicom
10 61.149.212.242 335.54 ms AS4808 China, Beijing, ChinaUnicom
11 202.99.1.126 351.14 ms AS4808 China, Beijing, ChinaUnicom
12 124.205.97.138 358.72 ms AS4808 China, Beijing, DRPENG
13 218.241.253.134 380.49 ms AS4808 China, Beijing, DRPENG
14 211.167.230.100 371.74 ms AS17964 China, Beijing, DRPENG
----------------------------------------------------------------------------------
路由看下来是:三网去程都绕美国,电信移动回程直连,联通回程绕美国。
justhost意大利vps宝塔建站,资源占用情况
justhost意大利vps宝塔跑分,性能彪悍
justhost意大利vps宝塔面板文件上传速度(老刘家里是3-500M移动宽带)
justhost意大利vps宝塔面板文件下载速度
justhost意大利vps IPv4流媒体解锁情况
justhost意大利vps IPv6流媒体解锁情况
justhost意大利vps性能参数
justhost意大利vps油管实测,我晚高峰测的,速度差劲,代理上不去,难啊!
老刘博客












































