野草云正在搞开年钜惠活动:yecaoyun野草云2023开年钜惠来袭!香港NVME VPS/云服务器年付138元,香港独立服务器月付299元,老刘这里入手了最低配年付138元的CTGNet+BGP宽带型-1C2G的野草云香港VPS进行简单测评,来看看其国内延迟、丢包率、性能和带宽、路由去回程、流媒体和TikTok检测情况。
yecaoyun野草云香港NVMe VPS方案:
| CPU:1core | CPU:2cores | CPU:4cores |
| 内存:2GB | 内存:4GB | 内存:8GB |
| 硬盘:15GB NVMe | 硬盘:50GB NVMe | 硬盘:90GB NVMe |
| 带宽:500GB/100Mbps | 带宽:600GB/100Mbps | 带宽:800GB/100Mbps |
| 架构:KVM | 架构:KVM | 架构:KVM |
| IPv4:1个 | IPv4:1个 | IPv4:1个 |
| 价格:138元/年购买链接 | 价格:168元/年购买链接 | 价格:230元/年购买链接 |
开的鸡CPU是E5-2680V4@2.40GHz,1核2G内存;解锁港区奈菲、油管等流媒体;磁盘I/O读取速度平均426.7MB/s
fio再看下机器磁盘IO数据
BGP.HE.NET看下是香港原生IP VPS
1102个节点看下网络延迟情况,平均65.5ms
Speedtest.net国内外节点测速
iperf3跑下欧美节点数据
去程路由追踪测试
广州电信去程
扬州联通去程
上海移动去程
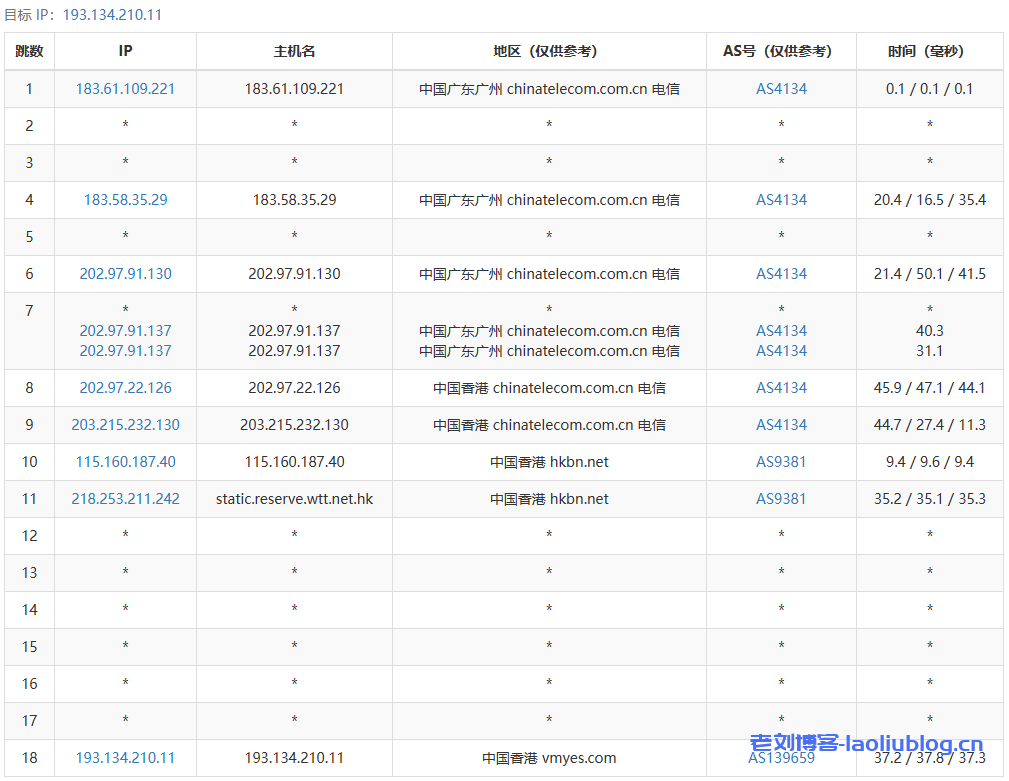
回程路由追踪测试
Traceroute to China, Guangzhou CT (TCP Mode, Max 30 Hop)
============================================================
traceroute to 113.108.209.1 (113.108.209.1), 30 hops max, 32 byte packets
1 10.6.69.1 0.17 ms * LAN Address
2 *
3 *
4 10.0.8.2 1.31 ms * LAN Address
5 *
6 23.225.55.54 5.51 ms AS40065 China, Hong Kong, ceranetworks.com
7 223.120.2.53 5.27 ms AS58453 China, Hong Kong, ChinaMobile
8 223.120.3.178 30.37 ms AS58453 China, Shanghai, ChinaMobile
9 221.183.89.174 31.27 ms AS9808 China, Shanghai, ChinaMobile
10 221.183.89.69 31.20 ms AS9808 China, Shanghai, ChinaMobile
11 221.183.89.46 31.22 ms AS9808 China, Shanghai, ChinaMobile
12 *
13 *
14 *
15 *
16 *
17 113.108.209.1 36.90 ms AS4134 China, Guangdong, Guangzhou, ChinaTelecom
Traceroute to China, Shanghai CT (TCP Mode, Max 30 Hop)
============================================================
traceroute to 180.153.28.5 (180.153.28.5), 30 hops max, 32 byte packets
1 10.6.69.1 0.25 ms * LAN Address
2 *
3 *
4 10.0.8.2 1.19 ms * LAN Address
5 *
6 23.225.55.54 6.44 ms AS40065 China, Hong Kong, ceranetworks.com
7 223.120.2.53 5.16 ms AS58453 China, Hong Kong, ChinaMobile
8 223.120.3.186 29.52 ms AS58453 China, Shanghai, ChinaMobile
9 221.183.89.174 32.38 ms AS9808 China, Shanghai, ChinaMobile
10 221.183.89.69 31.67 ms AS9808 China, Shanghai, ChinaMobile
11 221.183.89.50 31.87 ms AS9808 China, Shanghai, ChinaMobile
12 *
13 221.183.90.158 36.65 ms AS9808 China, Shanghai, ChinaMobile
14 *
15 61.152.25.41 35.04 ms AS4812 China, Shanghai, ChinaTelecom
16 *
17 101.95.225.218 38.85 ms AS4811 China, Shanghai, ChinaTelecom
18 *
19 *
20 *
21 *
22 *
23 *
24 *
25 *
26 *
27 *
28 *
29 *
30 *
Traceroute to China, Beijing CT (TCP Mode, Max 30 Hop)
============================================================
traceroute to 180.149.128.9 (180.149.128.9), 30 hops max, 32 byte packets
1 10.6.69.1 0.19 ms * LAN Address
2 *
3 *
4 10.0.8.2 1.13 ms * LAN Address
5 *
6 23.225.55.54 10.43 ms AS40065 China, Hong Kong, ceranetworks.com
7 223.120.2.53 10.86 ms AS58453 China, Hong Kong, ChinaMobile
8 223.120.3.186 29.27 ms AS58453 China, Shanghai, ChinaMobile
9 *
10 *
11 *
12 *
13 221.183.94.22 47.29 ms AS9808 China, Beijing, ChinaMobile
14 *
15 202.97.17.61 48.68 ms AS4134 China, Beijing, ChinaTelecom
16 *
17 36.110.246.202 49.61 ms AS23724 China, Beijing, ChinaTelecom
18 *
19 *
20 *
21 *
22 *
23 *
24 *
25 *
26 *
27 *
28 *
29 *
30 *
Traceroute to China, Guangzhou CU (TCP Mode, Max 30 Hop)
============================================================
traceroute to 210.21.4.130 (210.21.4.130), 30 hops max, 32 byte packets
1 10.6.69.1 0.28 ms * LAN Address
2 *
3 *
4 10.0.8.2 1.20 ms * LAN Address
5 172.24.254.2 1.62 ms * LAN Address
6 172.24.254.1 5.26 ms * LAN Address
7 172.18.0.109 3.02 ms * LAN Address
8 218.253.211.241 2.28 ms AS9381 China, Hong Kong, hkbn.net
9 115.160.187.85 4.95 ms AS9381 China, Hong Kong, hkbn.net
10 62.115.45.234 53.83 ms AS1299 China, Hong Kong, telia.com
11 219.158.33.181 7.65 ms AS4837 China, Hong Kong, ChinaUnicom
12 219.158.20.97 9.08 ms AS4837 China, Hong Kong, ChinaUnicom
13 219.158.4.13 17.60 ms AS4837 China, Guangdong, Guangzhou, ChinaUnicom
14 219.158.3.17 7.80 ms AS4837 China, Guangdong, Guangzhou, ChinaUnicom
15 112.91.0.246 21.53 ms AS17816 China, Guangdong, Guangzhou, ChinaUnicom
16 120.80.175.70 20.16 ms AS17622 China, Guangdong, Guangzhou, ChinaUnicom
17 *
18 *
19 *
20 *
21 *
22 *
23 *
24 *
25 *
26 *
27 *
28 *
29 *
30 *
Traceroute to China, Shanghai CU (TCP Mode, Max 30 Hop)
============================================================
traceroute to 58.247.8.158 (58.247.8.158), 30 hops max, 32 byte packets
1 10.6.69.1 0.38 ms * LAN Address
2 *
3 *
4 10.0.8.2 1.08 ms * LAN Address
5 172.24.254.2 1.52 ms * LAN Address
6 172.24.254.1 4.59 ms * LAN Address
7 172.18.0.109 1.69 ms * LAN Address
8 218.253.211.241 2.35 ms AS9381 China, Hong Kong, hkbn.net
9 115.160.187.108 6.24 ms AS9381 China, Hong Kong, hkbn.net
10 *
11 219.158.97.233 19.71 ms AS4837 China, Hong Kong, ChinaUnicom
12 219.158.10.29 27.01 ms AS4837 China, Guangdong, Guangzhou, ChinaUnicom
13 219.158.4.33 13.04 ms AS4837 China, Guangdong, Guangzhou, ChinaUnicom
14 219.158.3.85 11.52 ms AS4837 China, Guangdong, Guangzhou, ChinaUnicom
15 *
16 *
17 139.226.228.46 37.16 ms AS17621 China, Shanghai, ChinaUnicom
18 139.226.225.22 35.12 ms AS17621 China, Shanghai, ChinaUnicom
19 58.247.8.153 46.46 ms AS17621 China, Shanghai, ChinaUnicom
20 *
21 *
22 *
23 *
24 *
25 *
26 *
27 *
28 *
29 *
30 *
Traceroute to China, Beijing CU (TCP Mode, Max 30 Hop)
============================================================
traceroute to 123.125.99.1 (123.125.99.1), 30 hops max, 32 byte packets
1 10.6.69.1 0.25 ms * LAN Address
2 *
3 *
4 10.0.8.2 2.20 ms * LAN Address
5 172.24.254.2 1.69 ms * LAN Address
6 172.24.254.1 6.66 ms * LAN Address
7 172.18.0.109 2.02 ms * LAN Address
8 218.253.211.241 2.73 ms AS9381 China, Hong Kong, hkbn.net
9 115.160.187.94 3.33 ms AS9381 China, Hong Kong, hkbn.net
10 219.158.32.229 5.33 ms AS4837 China, Hong Kong, ChinaUnicom
11 219.158.10.61 8.75 ms AS4837 China, Guangdong, Guangzhou, ChinaUnicom
12 219.158.4.77 9.69 ms AS4837 China, Guangdong, Guangzhou, ChinaUnicom
13 219.158.3.33 13.88 ms AS4837 China, Guangdong, Guangzhou, ChinaUnicom
14 *
15 *
16 61.51.169.178 59.25 ms AS4808 China, Beijing, ChinaUnicom
17 *
18 *
19 *
20 *
21 *
22 *
23 *
24 *
25 *
26 *
27 *
28 *
29 *
30 *
Traceroute to China, Guangzhou CM (TCP Mode, Max 30 Hop)
============================================================
traceroute to 120.196.212.25 (120.196.212.25), 30 hops max, 32 byte packets
1 10.6.69.1 0.22 ms * LAN Address
2 *
3 *
4 10.0.8.2 39.89 ms * LAN Address
5 *
6 23.225.55.54 9.11 ms AS40065 China, Hong Kong, ceranetworks.com
7 *
8 *
9 221.183.55.74 10.61 ms AS9808 China, Guangdong, Guangzhou, ChinaMobile
10 221.176.24.57 11.52 ms AS9808 China, Guangdong, Guangzhou, ChinaMobile
11 221.176.24.5 9.36 ms AS9808 China, Guangdong, Guangzhou, ChinaMobile
12 111.24.4.233 13.03 ms AS9808 China, Guangdong, Guangzhou, ChinaMobile
13 111.24.5.222 16.45 ms AS9808 China, Guangdong, Shenzhen, ChinaMobile
14 211.139.134.45 12.21 ms AS56040 China, Guangdong, Guangzhou, ChinaMobile
15 211.136.203.6 19.52 ms AS56040 China, Guangdong, Guangzhou, ChinaMobile
16 211.139.180.110 16.37 ms AS56040 China, Guangdong, Guangzhou, ChinaMobile
17 *
18 120.196.212.25 18.37 ms AS56040 China, Guangdong, Guangzhou, ChinaMobile
Traceroute to China, Shanghai CM (TCP Mode, Max 30 Hop)
============================================================
traceroute to 221.183.55.22 (221.183.55.22), 30 hops max, 32 byte packets
1 10.6.69.1 0.20 ms * LAN Address
2 *
3 *
4 10.0.8.2 1.33 ms * LAN Address
5 *
6 23.225.55.54 5.03 ms AS40065 China, Hong Kong, ceranetworks.com
7 223.120.2.53 5.86 ms AS58453 China, Hong Kong, ChinaMobile
8 *
9 221.183.89.170 31.43 ms AS9808 China, Shanghai, ChinaMobile
10 *
11 *
12 *
13 *
14 *
15 *
16 *
17 *
18 *
19 *
20 *
21 *
22 *
23 *
24 *
25 *
26 *
27 *
28 *
29 *
30 *
Traceroute to China, Beijing CM (TCP Mode, Max 30 Hop)
============================================================
traceroute to 211.136.25.153 (211.136.25.153), 30 hops max, 32 byte packets
1 10.6.69.1 0.26 ms * LAN Address
2 *
3 *
4 10.0.8.2 1.60 ms * LAN Address
5 *
6 23.225.55.54 4.71 ms AS40065 China, Hong Kong, ceranetworks.com
7 223.120.2.53 17.99 ms AS58453 China, Hong Kong, ChinaMobile
8 223.120.22.106 31.85 ms AS58453 China, Shanghai, ChinaMobile
9 *
10 221.183.89.69 31.71 ms AS9808 China, Shanghai, ChinaMobile
11 221.183.89.14 31.85 ms AS9808 China, Shanghai, ChinaMobile
12 *
13 *
14 *
15 211.136.67.166 49.28 ms AS56048 China, Beijing, ChinaMobile
16 211.136.67.166 47.59 ms AS56048 China, Beijing, ChinaMobile
17 *
18 *
19 *
20 211.136.25.153 55.95 ms AS56048 China, Beijing, ChinaMobile
Traceroute to China, Beijing Dr.Peng Network IDC Network (TCP Mode, Max 30 Hop)
============================================================
traceroute to 211.167.230.100 (211.167.230.100), 30 hops max, 32 byte packets
1 10.6.69.1 0.22 ms * LAN Address
2 *
3 *
4 10.0.8.2 2.22 ms * LAN Address
5 172.24.254.2 1.73 ms * LAN Address
6 172.24.254.1 8.66 ms * LAN Address
7 172.18.0.109 2.30 ms * LAN Address
8 218.253.211.241 2.48 ms AS9381 China, Hong Kong, hkbn.net
9 115.160.187.31 2.38 ms AS9381 China, Hong Kong, hkbn.net
10 219.158.32.229 5.18 ms AS4837 China, Hong Kong, ChinaUnicom
11 219.158.10.61 8.49 ms AS4837 China, Guangdong, Guangzhou, ChinaUnicom
12 219.158.103.33 15.35 ms AS4837 China, Guangdong, Guangzhou, ChinaUnicom
13 *
14 219.158.15.37 40.79 ms AS4837 China, Beijing, ChinaUnicom
15 202.96.12.90 54.34 ms AS4808 China, Beijing, ChinaUnicom
16 202.96.13.186 49.09 ms AS4808 China, Beijing, ChinaUnicom
17 61.149.212.242 55.93 ms AS4808 China, Beijing, ChinaUnicom
18 *
19 218.241.255.138 54.00 ms AS4808 China, Beijing, DRPENG
20 218.241.253.134 42.90 ms AS4808 China, Beijing, DRPENG
21 211.167.230.100 40.51 ms AS17964 China, Beijing, DRPENG
----------------------------------------------------------------------------------
其他流媒体解锁测试
Unixbench跑分测试
油管实测,速度够呛
老刘博客




































