前几天站长推介了DigitalVirt商家的新年第5弹活动:DigitalVirt新年促销第5波,日本软银VPS年付永久7折!343元/年/1核1G内存/10G系统盘1000G月流量@200Mbps带宽,那么DigitalVirt日本软银VPS性能如何?老刘这里入手了最低配套餐【B1-1C1G】:343元/年/1核1G内存/10G系统盘1000G月流量@300Mbps带宽进行了简单测评,一起来看下其三网延迟、国内方向网速和解锁流媒体情况:双ISP IP,BBTEC软银线路,300Mbps带宽可跑满!延迟平均83.5ms,电信用户油管跑1.7万,联通用户油管跑10万Kbps!在速度、延迟、价格方面是目前联通用户海外VPS的最优解!
DigitalVirt官网:门户首页 – DigitalVirt
在正式测评之前,我们先来看看DigitalVirt日本软银VPS套餐方案,注意列表为原价,现在购买可以使用年付7折优惠码2023/JP/SoftBank/30OFF。Looking Glass:http://31.14.38.222/
| B1-1C1G 本文测评机器 | B2-2C2G | B3-4C4G | B4-8C8G |
| vCPU:1(独享) | vCPU:2(独享) | vCPU:4(独享) | vCPU:4(独享) |
| 内存:1 GB | 内存:2 GB | 内存:4 GB | 内存:8 GB |
| 空间:10 GB SSD | 空间:20 GB SSD | 空间:40 GB SSD | 空间:50 GB SSD |
| 流量:1 TB /月(300Mbps端口,双向计算) | 流量:1.5 TB /月(400Mbps端口,双向计算) | 流量:2.5 TB /月(500Mbps端口,双向计算) | 流量:4 TB /月(600Mbps端口,双向计算) |
| IPv4:1 | IPv4:1 | IPv4:1 | IPv4:1 |
| 490元/年 7折后343元/年 | 990元/年 | 1990元/年 | 3990元/年 |
| 购买链接 | 购买链接 | 购买链接 | 购买链接 |
DigitalVirt日本软银VPS测评分析:
CPU采用的是Intel E5-2680 v4 @ 2.40GHz,1核1G内存,10G 硬盘,KVM虚拟架构;IP未送中,是日本原生IP【不过IP之前被拉去英国用了,商家反馈说后期会拉回来】;不支持解锁奈菲视频;磁盘I/O读取速度在136MB/s左右。
再次通过fio看下磁盘读取数据
107个节点的ping值网络延迟测试,平均83.5ms
VPS丢包率测试
BGP.HE.NET测试为IP在英国,再次印证商家说IP之前被拉去英国用了,据商家反馈IP已经在拉回日本,等等就回来了,而且IP是双ISP的!
ipinfo.io的查询结果,双ISP
再次通过Google搜索,看下IP是否送中,结果显示IP在日本,未送中!
Speedtest.net国内外节点测速,300M带宽可跑满!
iperf3看下欧美节点10G带宽的测速结果
看看这台日本软银VPS建站效果如何,我们装个宝塔面板,花费2分钟装好,蛮快!
可以看到机器配置情况与上面对机器配置信息测试结果一致
宝塔跑分结果,小配置这个分数属于正常水平
本地看下文件上传下载速度
首先站长家里用的是500M电信,不过实测也只有100M左右
本地文件上传速度1.83MB/s
本地文件下载速度达6.0MB/s
VPS去程路由追踪测试
上海电信去程,电信CN2(走了59.43号段)
重庆联通去程,联通AS4837直连
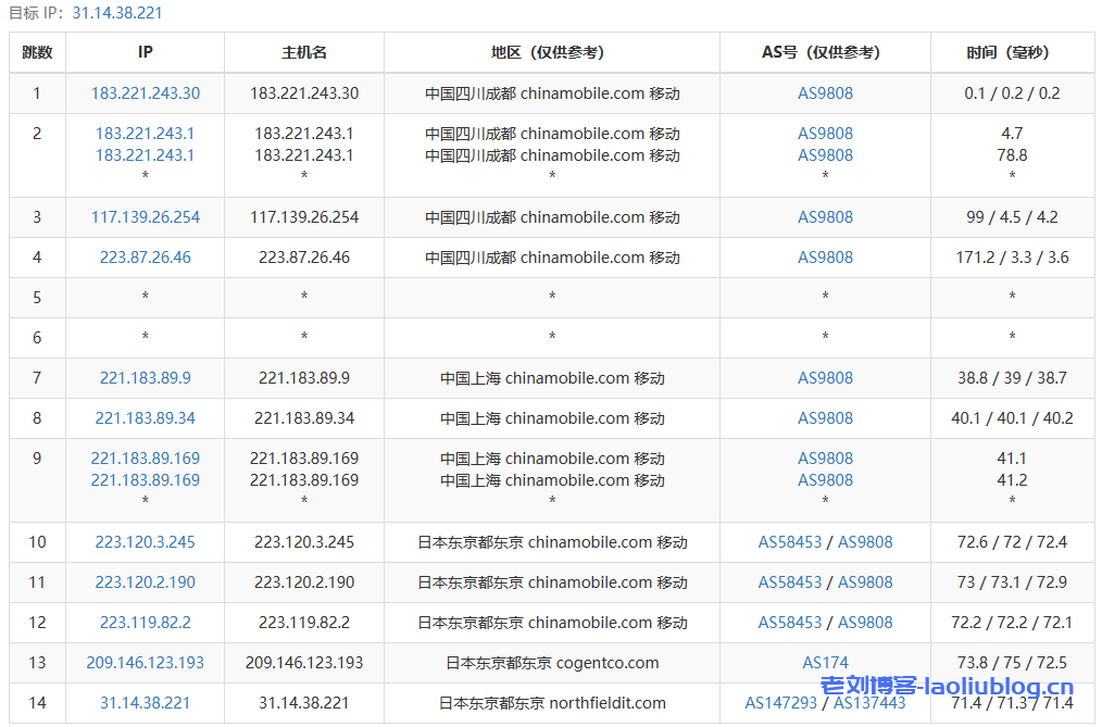
成都移动去程,移动CMI(AS9808骨干网络)
VPS回程路由追踪测试
三网路由回程测试,电信走电信163,联通走联通4837,移动测试超时,不过从后面的具体路由信息可以看出来移动走移动CMI,且均接日本软银bbtec线路!(软银Softbank线路,也叫作bbtec线路)
具体回程路由情况
----------------------------------------------------------------------
北京电信
traceroute to 219.141.147.210 (219.141.147.210), 30 hops max, 32 byte packets
1 10.0.86.1 0.35 ms * LAN Address
2 31.14.38.129 2.68 ms AS147293 Japan, Tokyo, northfieldit.com
3 209.146.123.192 0.40 ms AS174 Japan, Tokyo, cogentco.com
4 *
5 *
6 *
7 *
8 *
9 *
10 softbank221111179214.bbtec.net (221.111.179.214) 52.73 ms AS17676 China, Shanghai, bbtec.net
11 202.97.51.242 70.50 ms AS4134 China, Shanghai, ChinaTelecom
12 *
13 202.97.97.217 86.21 ms AS4134 China, Beijing, ChinaTelecom
14 *
15 2.254.120.106.static.bjtelecom.net (106.120.254.2) 118.02 ms AS4847 China, Beijing, ChinaTelecom
16 bj141-147-210.bjtelecom.net (219.141.147.210) 82.32 ms AS4847 China, Beijing, ChinaTelecom
----------------------------------------------------------------------
上海电信
traceroute to 202.96.209.133 (202.96.209.133), 30 hops max, 32 byte packets
1 10.0.86.1 0.32 ms * LAN Address
2 31.14.38.129 3.07 ms AS147293 Japan, Tokyo, northfieldit.com
3 209.146.123.192 0.64 ms AS174 Japan, Tokyo, cogentco.com
4 *
5 *
6 *
7 *
8 *
9 *
10 *
11 *
12 *
13 101.95.120.101 65.89 ms AS4812 China, Shanghai, ChinaTelecom
14 *
15 ns-pd.online.sh.cn (202.96.209.133) 59.55 ms AS4812 China, Shanghai, ChinaTelecom
----------------------------------------------------------------------
深圳电信
traceroute to 58.60.188.222 (58.60.188.222), 30 hops max, 32 byte packets
1 10.0.86.1 0.19 ms * LAN Address
2 31.14.38.129 1.71 ms AS147293 Japan, Tokyo, northfieldit.com
3 209.146.123.192 0.48 ms AS174 Japan, Tokyo, cogentco.com
4 *
5 *
6 *
7 *
8 *
9 *
10 202.97.93.222 72.64 ms AS4134 China, Guangdong, Guangzhou, ChinaTelecom
11 *
12 202.97.89.201 71.14 ms AS4134 China, Guangdong, Guangzhou, ChinaTelecom
13 14.147.127.26 79.01 ms AS134774 China, Guangdong, Shenzhen, ChinaTelecom
14 *
15 58.60.188.222 74.54 ms AS4134 China, Guangdong, Shenzhen, ChinaTelecom
----------------------------------------------------------------------
北京联通
traceroute to 202.106.50.1 (202.106.50.1), 30 hops max, 32 byte packets
1 10.0.86.1 0.20 ms * LAN Address
2 31.14.38.129 0.97 ms AS147293 Japan, Tokyo, northfieldit.com
3 209.146.123.192 0.49 ms AS174 Japan, Tokyo, cogentco.com
4 *
5 *
6 *
7 *
8 *
9 *
10 softbank221111202070.bbtec.net (221.111.202.70) 130.66 ms AS17676 China, Beijing, bbtec.net
11 *
12 *
13 202.96.12.90 156.73 ms AS4808 China, Beijing, ChinaUnicom
14 202.106.50.1 162.67 ms AS4808 China, Beijing, ChinaUnicom
----------------------------------------------------------------------
上海联通
traceroute to 210.22.97.1 (210.22.97.1), 30 hops max, 32 byte packets
1 10.0.86.1 0.16 ms * LAN Address
2 31.14.38.129 0.63 ms AS147293 Japan, Tokyo, northfieldit.com
3 209.146.123.192 0.44 ms AS174 Japan, Tokyo, cogentco.com
4 *
5 *
6 *
7 *
8 *
9 *
10 219.158.16.65 137.66 ms AS4837 China, Beijing, ChinaUnicom
11 *
12 *
13 *
14 112.64.250.202 155.13 ms AS17621 China, Shanghai, ChinaUnicom
15 210.22.97.1 152.38 ms AS17621 China, Shanghai, ChinaUnicom
----------------------------------------------------------------------
深圳联通
traceroute to 210.21.196.6 (210.21.196.6), 30 hops max, 32 byte packets
1 10.0.86.1 0.23 ms * LAN Address
2 31.14.38.129 6.98 ms AS147293 Japan, Tokyo, northfieldit.com
3 209.146.123.192 8.14 ms AS174 Japan, Tokyo, cogentco.com
4 *
5 *
6 *
7 *
8 *
9 softbank221111202070.bbtec.net (221.111.202.70) 142.00 ms AS17676 China, Beijing, bbtec.net
10 219.158.16.69 131.76 ms AS4837 China, Beijing, ChinaUnicom
11 *
12 *
13 *
14 120.80.144.34 173.10 ms AS17623 China, Guangdong, Shenzhen, ChinaUnicom
15 *
16 dns2-ftcg.gdsz.cncnet.net (210.21.196.6) 179.42 ms AS17623 China, Guangdong, Shenzhen, ChinaUnicom
----------------------------------------------------------------------
北京移动
traceroute to 221.179.155.161 (221.179.155.161), 30 hops max, 32 byte packets
1 10.0.86.1 0.22 ms * LAN Address
2 31.14.38.129 1.61 ms AS147293 Japan, Tokyo, northfieldit.com
3 209.146.123.192 0.37 ms AS174 Japan, Tokyo, cogentco.com
4 *
5 *
6 *
7 *
8 *
9 221.183.89.46 33.63 ms AS9808 China, Shanghai, ChinaMobile
10 *
11 *
12 221.183.110.158 59.65 ms AS9808 China, Beijing, ChinaMobile
13 cachedns03.bj.chinamobile.com (221.179.155.161) 58.45 ms AS56048 China, Beijing, ChinaMobile
----------------------------------------------------------------------
上海移动
traceroute to 211.136.112.200 (211.136.112.200), 30 hops max, 32 byte packets
1 10.0.86.1 0.41 ms * LAN Address
2 31.14.38.129 6.66 ms AS147293 Japan, Tokyo, northfieldit.com
3 209.146.123.192 0.39 ms AS174 Japan, Tokyo, cogentco.com
4 *
5 *
6 *
7 *
8 *
9 *
10 *
11 211.136.190.234 33.77 ms AS24400 China, Shanghai, ChinaMobile
12 *
13 *
14 *
15 *
16 *
17 *
18 *
19 *
20 *
21 *
22 *
23 *
24 *
25 *
26 *
27 *
28 *
29 *
30 *
----------------------------------------------------------------------
深圳移动
traceroute to 120.196.165.24 (120.196.165.24), 30 hops max, 32 byte packets
1 10.0.86.1 0.18 ms * LAN Address
2 31.14.38.129 6.47 ms AS147293 Japan, Tokyo, northfieldit.com
3 209.146.123.192 0.37 ms AS174 Japan, Tokyo, cogentco.com
4 *
5 *
6 *
7 *
8 *
9 221.183.25.122 60.78 ms AS9808 China, Guangdong, Guangzhou, ChinaMobile
10 221.183.68.138 89.71 ms AS9808 China, Guangdong, Guangzhou, ChinaMobile
11 111.24.4.237 66.30 ms AS9808 China, Guangdong, Guangzhou, ChinaMobile
12 221.183.71.70 67.12 ms AS9808 China, Guangdong, Guangzhou, ChinaMobile
13 221.183.110.166 73.46 ms AS9808 China, Guangdong, Guangzhou, ChinaMobile
14 ns6.gd.cnmobile.net (120.196.165.24) 68.37 ms AS56040 China, Guangdong, Shenzhen, ChinaMobile
----------------------------------------------------------------------
成都教育网
traceroute to 202.112.14.151 (202.112.14.151), 30 hops max, 32 byte packets
1 10.0.86.1 0.20 ms * LAN Address
2 31.14.38.129 23.29 ms AS147293 Japan, Tokyo, northfieldit.com
3 209.146.123.192 0.62 ms AS174 Japan, Tokyo, cogentco.com
4 *
5 *
6 *
7 *
8 *
9 101.4.117.70 53.27 ms AS4538 China, Hong Kong, CHINAEDU
10 101.4.114.181 87.04 ms AS4538 China, Beijing, CHINAEDU
11 *
12 *
13 101.4.118.213 86.61 ms AS4538 China, Beijing, CHINAEDU
14 101.4.112.14 110.99 ms AS4538 China, Shaanxi, Xi'an, CHINAEDU
15 *
16 *
17 *
18 *
19 *
20 *
21 202.112.14.151 107.24 ms AS24355 China, Sichuan, Chengdu, CHINAEDU
----------------------------------------------------------------------
流媒体解锁测试,可以解锁除Netflix以外的大部分主流流媒体服务
更多VPS性能参数信息
UnixBench跑分测试
站长本地用的是实测100M的电信带宽,跑了下油管,速度是1.7万左右,如果是联通网络,跑的会更高!
站长电信网络下实测的油管连接速度,17231Kbps!
网友联通网络下的油管实测情况,跑了10万Kbps!

总结:日本软银线路在速度、延迟、价格方面是目前联通用户海外VPS的最优解!DigitalVirt日本软银VPS也不例外,有需要可以前往购买!这里再次贴上商家套餐列表:
注意列表为原价,现在购买可以使用年付7折优惠码2023/JP/SoftBank/30OFF。Looking Glass:http://31.14.38.222/
| B1-1C1G | B2-2C2G | B3-4C4G | B4-8C8G |
| vCPU:1(独享) | vCPU:2(独享) | vCPU:4(独享) | vCPU:4(独享) |
| 内存:1 GB | 内存:2 GB | 内存:4 GB | 内存:8 GB |
| 空间:10 GB SSD | 空间:20 GB SSD | 空间:40 GB SSD | 空间:50 GB SSD |
| 流量:1 TB /月(300Mbps端口,双向计算) | 流量:1.5 TB /月(400Mbps端口,双向计算) | 流量:2.5 TB /月(500Mbps端口,双向计算) | 流量:4 TB /月(600Mbps端口,双向计算) |
| IPv4:1 | IPv4:1 | IPv4:1 | IPv4:1 |
| 490元/年 | 990元/年 | 1990元/年 | 3990元/年 |
| 购买链接 | 购买链接 | 购买链接 | 购买链接 |
老刘博客








































