年付160元的艾云新年活动德国法兰克福VPS方案参见:《艾云上线德国法兰克福机房新年活动款VPS,160元/年/2核2G内存/20G系统盘10G数据盘/不限流量@300Mbps带宽,免费20Gbps DDoS防御》,那么艾云服务器怎么样?年付160元的艾云新年活动德国法兰克福VPS测评分享如下:
艾云Aiyun Network官网:门户首页 – 艾云 (iaclouds.com)
艾云QQ群:994298224,艾云TG群:https://t.me/+rs7onLzH66M3OWU1
艾云2023新年活动专区入口:购物车 – 艾云 (iaclouds.com)
艾云新年活动德国法兰克福VPS测评分析:
配置信息测试,E5-2695 v4@2.10GHz,2核2G内存20G硬盘,KVM虚拟;解锁德区奈菲视频;磁盘I/O读取速度达1.8GB/s
fio继续测试下磁盘读取数据
102个节点测试的VPS网络延迟情况,评价262ms
VPS丢包率测试
BGP.HE.NET发现是德国原生IP VPS
Speedtest国内外节点测速
全球节点测速
专门看下亚洲节点测速
iperf3看下欧美10G带宽节点速度
去程路由追踪测试
电信去程
联通去程
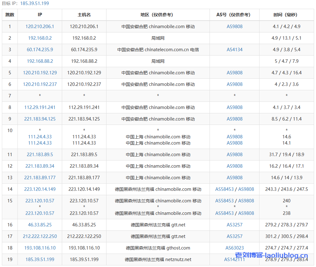
移动去程
路由回程跟踪测试
三网回程路由:电信走电信163,联通走联通4837,移动走移动CMI
具体回程路由情况
Traceroute to China, Guangzhou CT (TCP Mode, Max 30 Hop)
============================================================
traceroute to 113.108.209.1 (113.108.209.1), 30 hops max, 32 byte packets
1 185.39.51.1 0.13 ms AS142111 Germany, Hesse, Frankfurt, netznutz.net
2 193.108.116.9 0.33 ms AS63023 Germany, Hesse, Frankfurt, gthost.com
3 80.77.167.28 1.01 ms AS28917 Germany, Hesse, Frankfurt, fiord.ru
4 *
5 *
6 *
7 202.97.94.141 264.34 ms AS4134 China, Guangdong, Guangzhou, ChinaTelecom
8 113.96.5.106 267.55 ms AS4134 China, Guangdong, Guangzhou, ChinaTelecom
9 113.108.209.1 255.06 ms AS4134 China, Guangdong, Guangzhou, ChinaTelecom
Traceroute to China, Shanghai CT (TCP Mode, Max 30 Hop)
============================================================
traceroute to 180.153.28.5 (180.153.28.5), 30 hops max, 32 byte packets
1 185.39.51.1 0.14 ms AS142111 Germany, Hesse, Frankfurt, netznutz.net
2 193.108.116.9 0.52 ms AS63023 Germany, Hesse, Frankfurt, gthost.com
3 80.77.167.28 5.36 ms AS28917 Germany, Hesse, Frankfurt, fiord.ru
4 *
5 *
6 *
7 *
8 *
9 *
10 *
11 *
12 *
13 *
14 *
15 *
16 *
17 *
18 *
19 *
20 *
21 *
22 *
23 *
24 *
25 *
26 *
27 *
28 *
29 *
30 *
Traceroute to China, Beijing CT (TCP Mode, Max 30 Hop)
============================================================
traceroute to 180.149.128.9 (180.149.128.9), 30 hops max, 32 byte packets
1 185.39.51.1 0.11 ms AS142111 Germany, Hesse, Frankfurt, netznutz.net
2 193.108.116.9 0.62 ms AS63023 Germany, Hesse, Frankfurt, gthost.com
3 80.77.167.28 0.89 ms AS28917 Germany, Hesse, Frankfurt, fiord.ru
4 *
5 *
6 202.97.53.61 257.69 ms AS4134 China, Beijing, ChinaTelecom
7 *
8 *
9 *
10 *
11 *
12 *
13 *
14 *
15 *
16 *
17 *
18 *
19 *
20 *
21 *
22 *
23 *
24 *
25 *
26 *
27 *
28 *
29 *
30 *
Traceroute to China, Guangzhou CU (TCP Mode, Max 30 Hop)
============================================================
traceroute to 210.21.4.130 (210.21.4.130), 30 hops max, 32 byte packets
1 185.39.51.1 0.19 ms AS142111 Germany, Hesse, Frankfurt, netznutz.net
2 193.108.116.9 0.29 ms AS63023 Germany, Hesse, Frankfurt, gthost.com
3 46.33.79.153 0.77 ms AS3257 Germany, Hesse, Frankfurt, gtt.net
4 213.200.117.138 17.27 ms AS3257 Germany, Hesse, Frankfurt, gtt.net
5 219.158.43.189 233.72 ms AS4837 Germany, Hesse, Frankfurt, ChinaUnicom
6 219.158.5.141 252.70 ms AS4837 China, Guangdong, Guangzhou, ChinaUnicom
7 219.158.4.125 232.58 ms AS4837 China, Guangdong, Guangzhou, ChinaUnicom
8 219.158.3.81 248.75 ms AS4837 China, Guangdong, Guangzhou, ChinaUnicom
9 112.89.0.62 252.29 ms AS17816 China, Guangdong, Guangzhou, ChinaUnicom
10 120.80.91.66 244.18 ms AS17816 China, Guangdong, Guangzhou, ChinaUnicom
11 *
12 *
13 *
14 *
15 *
16 *
17 *
18 *
19 *
20 *
21 *
22 *
23 *
24 *
25 *
26 *
27 *
28 *
29 *
30 *
Traceroute to China, Shanghai CU (TCP Mode, Max 30 Hop)
============================================================
traceroute to 58.247.8.158 (58.247.8.158), 30 hops max, 32 byte packets
1 185.39.51.1 0.14 ms AS142111 Germany, Hesse, Frankfurt, netznutz.net
2 193.108.116.9 0.46 ms AS63023 Germany, Hesse, Frankfurt, gthost.com
3 46.33.79.153 0.46 ms AS3257 Germany, Hesse, Frankfurt, gtt.net
4 213.200.117.138 0.79 ms AS3257 Germany, Hesse, Frankfurt, gtt.net
5 219.158.43.189 233.61 ms AS4837 Germany, Hesse, Frankfurt, ChinaUnicom
6 219.158.21.113 260.72 ms AS4837 China, Guangdong, Guangzhou, ChinaUnicom
7 219.158.97.30 249.30 ms AS4837 China, Guangdong, Guangzhou, ChinaUnicom
8 *
9 *
10 *
11 58.247.221.178 258.32 ms AS17621 China, Shanghai, ChinaUnicom
12 *
13 58.247.8.153 236.52 ms AS17621 China, Shanghai, ChinaUnicom
14 *
15 *
16 *
17 *
18 *
19 *
20 *
21 *
22 *
23 *
24 *
25 *
26 *
27 *
28 *
29 *
30 *
Traceroute to China, Beijing CU (TCP Mode, Max 30 Hop)
============================================================
traceroute to 123.125.99.1 (123.125.99.1), 30 hops max, 32 byte packets
1 185.39.51.1 0.16 ms AS142111 Germany, Hesse, Frankfurt, netznutz.net
2 193.108.116.9 0.28 ms AS63023 Germany, Hesse, Frankfurt, gthost.com
3 *
4 154.54.56.189 8.53 ms AS174 Germany, Hesse, Frankfurt, cogentco.com
5 130.117.0.2 1.34 ms AS174 Germany, Hesse, Frankfurt, cogentco.com
6 *
7 219.158.12.201 240.72 ms AS4837 China, Beijing, ChinaUnicom
8 219.158.16.81 230.37 ms AS4837 China, Beijing, ChinaUnicom
9 219.158.5.153 208.92 ms AS4837 China, Beijing, ChinaUnicom
10 125.33.186.138 216.87 ms AS4808 China, Beijing, ChinaUnicom
11 61.51.169.174 226.11 ms AS4808 China, Beijing, ChinaUnicom
12 *
13 *
14 *
15 *
16 *
17 *
18 *
19 *
20 *
21 *
22 *
23 *
24 *
25 *
26 *
27 *
28 *
29 *
30 *
Traceroute to China, Guangzhou CM (TCP Mode, Max 30 Hop)
============================================================
traceroute to 120.196.212.25 (120.196.212.25), 30 hops max, 32 byte packets
1 185.39.51.1 0.13 ms AS142111 Germany, Hesse, Frankfurt, netznutz.net
2 193.108.116.9 0.37 ms AS63023 Germany, Hesse, Frankfurt, gthost.com
3 46.33.79.153 0.41 ms AS3257 Germany, Hesse, Frankfurt, gtt.net
4 213.200.117.138 0.54 ms AS3257 Germany, Hesse, Frankfurt, gtt.net
5 62.115.172.122 0.89 ms AS1299 Germany, Hesse, Frankfurt, telia.com
6 62.115.124.116 0.90 ms AS1299 Germany, Hesse, Frankfurt, telia.com
7 62.115.114.89 0.89 ms AS1299 Germany, Hesse, Frankfurt, telia.com
8 62.115.47.45 1.67 ms AS1299 Germany, Hesse, Frankfurt, telia.com
9 223.120.10.41 2.35 ms AS58453 Germany, Hesse, Frankfurt, ChinaMobile
10 223.120.16.2 246.42 ms AS58453 China, Beijing, ChinaMobile
11 *
12 221.183.55.94 211.40 ms AS9808 China, Guangdong, Guangzhou, ChinaMobile
13 221.183.52.85 270.61 ms AS9808 China, Guangdong, Guangzhou, ChinaMobile
14 221.183.68.138 252.33 ms AS9808 China, Guangdong, Guangzhou, ChinaMobile
15 111.24.4.233 254.19 ms AS9808 China, Guangdong, Guangzhou, ChinaMobile
16 111.24.5.22 256.66 ms AS9808 China, Guangdong, Guangzhou, ChinaMobile
17 211.136.204.65 287.13 ms AS56040 China, Guangdong, Guangzhou, ChinaMobile
18 211.136.196.230 317.38 ms AS56040 China, Guangdong, Guangzhou, ChinaMobile
19 211.139.180.110 254.49 ms AS56040 China, Guangdong, Guangzhou, ChinaMobile
20 211.139.180.110 251.82 ms AS56040 China, Guangdong, Guangzhou, ChinaMobile
21 *
22 120.196.212.25 252.27 ms AS56040 China, Guangdong, Guangzhou, ChinaMobile
Traceroute to China, Shanghai CM (TCP Mode, Max 30 Hop)
============================================================
traceroute to 221.183.55.22 (221.183.55.22), 30 hops max, 32 byte packets
1 185.39.51.1 0.67 ms AS142111 Germany, Hesse, Frankfurt, netznutz.net
2 193.108.116.9 0.25 ms AS63023 Germany, Hesse, Frankfurt, gthost.com
3 46.33.79.153 0.58 ms AS3257 Germany, Hesse, Frankfurt, gtt.net
4 213.200.116.225 32.84 ms AS3257 Germany, Hesse, Frankfurt, gtt.net
5 213.254.225.170 4.25 ms AS3257 Germany, Hesse, Frankfurt, gtt.net
6 223.120.10.41 1.74 ms AS58453 Germany, Hesse, Frankfurt, ChinaMobile
7 223.120.16.6 237.71 ms AS58453 China, Beijing, ChinaMobile
8 221.183.55.110 203.27 ms AS9808 China, Beijing, ChinaMobile
9 *
10 *
11 *
12 *
13 *
14 *
15 *
16 *
17 *
18 *
19 *
20 *
21 *
22 *
23 *
24 *
25 *
26 *
27 *
28 *
29 *
30 *
Traceroute to China, Beijing CM (TCP Mode, Max 30 Hop)
============================================================
traceroute to 211.136.25.153 (211.136.25.153), 30 hops max, 32 byte packets
1 185.39.51.1 0.35 ms AS142111 Germany, Hesse, Frankfurt, netznutz.net
2 193.108.116.9 0.40 ms AS63023 Germany, Hesse, Frankfurt, gthost.com
3 46.33.79.153 0.55 ms AS3257 Germany, Hesse, Frankfurt, gtt.net
4 89.149.181.102 136.42 ms AS3257 United States, California, Los Angeles, gtt.net
5 173.205.45.154 136.09 ms AS3257 United States, California, Los Angeles, gtt.net
6 223.118.10.249 136.18 ms AS58453 United States, California, Los Angeles, ChinaMobile
7 223.120.22.18 231.70 ms AS58453 China, Beijing, ChinaMobile
8 223.120.22.18 235.13 ms AS58453 China, Beijing, ChinaMobile
9 221.183.25.201 234.09 ms AS9808 China, Beijing, ChinaMobile
10 221.183.89.122 288.00 ms AS9808 China, Beijing, ChinaMobile
11 221.183.89.98 288.30 ms AS9808 China, Beijing, ChinaMobile
12 *
13 211.136.67.106 232.89 ms AS56048 China, Beijing, ChinaMobile
14 211.136.95.226 235.19 ms AS56048 China, Beijing, ChinaMobile
15 211.136.95.226 232.90 ms AS56048 China, Beijing, ChinaMobile
16 211.136.95.226 236.89 ms AS56048 China, Beijing, ChinaMobile
17 211.136.25.153 233.54 ms AS56048 China, Beijing, ChinaMobile
Traceroute to China, Beijing Dr.Peng Network IDC Network (TCP Mode, Max 30 Hop)
============================================================
traceroute to 211.167.230.100 (211.167.230.100), 30 hops max, 32 byte packets
1 185.39.51.1 0.59 ms AS142111 Germany, Hesse, Frankfurt, netznutz.net
2 193.108.116.9 0.28 ms AS63023 Germany, Hesse, Frankfurt, gthost.com
3 *
4 154.54.37.29 1.30 ms AS174 Germany, Hesse, Frankfurt, cogentco.com
5 130.117.1.117 1.06 ms AS174 Germany, Hesse, Frankfurt, cogentco.com
6 *
7 219.158.20.201 219.21 ms AS4837 China, Beijing, ChinaUnicom
8 219.158.3.145 245.57 ms AS4837 China, Beijing, ChinaUnicom
9 *
10 *
11 202.106.193.30 247.83 ms AS4808 China, Beijing, ChinaUnicom
12 61.149.212.242 249.08 ms AS4808 China, Beijing, ChinaUnicom
13 202.99.1.126 211.36 ms AS4808 China, Beijing, ChinaUnicom
14 218.241.255.138 222.24 ms AS4808 China, Beijing, DRPENG
15 218.241.253.134 253.15 ms AS4808 China, Beijing, DRPENG
16 211.167.230.100 230.54 ms AS17964 China, Beijing, DRPENG
----------------------------------------------------------------------------------
流媒体解锁测试
Tiktok解锁测试,支持解锁德区Tiktok流媒体
VPS其他性能参数
老刘博客






























