VMISS怎么样?VMISS提供KVM VPS,数据中心有香港BGP、日本IIJ、韩国BGP、洛杉矶9929、洛杉矶BGP等,商家支持支付宝、信用卡付款,而且年付是10个月费用。VMISS香港VPS方案如下:
VMISS香港VPS(CN2+BGP线路,100M带宽,测试IP:38.47.100.1),列表中第一款是本文测评机器:
| CPU | 内存 | 硬盘 | 流量 | 价格 | 购买 |
|---|---|---|---|---|---|
| 单核 | 1GB | 10GB | 300GB/100Mbps | $5/月 | 点击购买 |
| 单核 | 1GB | 15GB | 600GB/100Mbps | $8.5/月 | 点击购买 |
| 单核 | 2GB | 20GB | 1TB/100Mbps | $16/月 | 点击购买 |
| 双核 | 2GB | 40GB | 1.6TB/100Mbps | $30/月 | 点击购买 |
| 双核 | 4GB | 80GB | 2.6TB/100Mbps | $60/月 | 点击购买 |
那么性能VMISS香港VPS性能究竟如何呢?老刘这里入手了一台进行了简单测评,一起来看看起国内延迟、丢包率、性能和带宽、路由去回程、解锁流媒体和TikTok检测情况。
VMISS香港VPS测评分析:
可以看出,拿到的机器是CPU为E5-2696v3@2.30GHz的,配置1核1G内存,10G硬盘,机器是Cloudie机房的;解锁港区奈菲、油管等流媒体;磁盘I/O读取速度在520MB/s左右。
fio再次看下磁盘读取数据
96个探测点检测的网络延迟情况,平均在50.9ms,联通延迟最低,为39.7ms。
VPS丢包率测试
BGP.HE.NET看下是不是原生IP,发现是美国IP广播的
iperf3跑下欧美10G带宽节点数据
Speedtest.net国内外测速
去程路由追踪测试
电信去程
联通去程
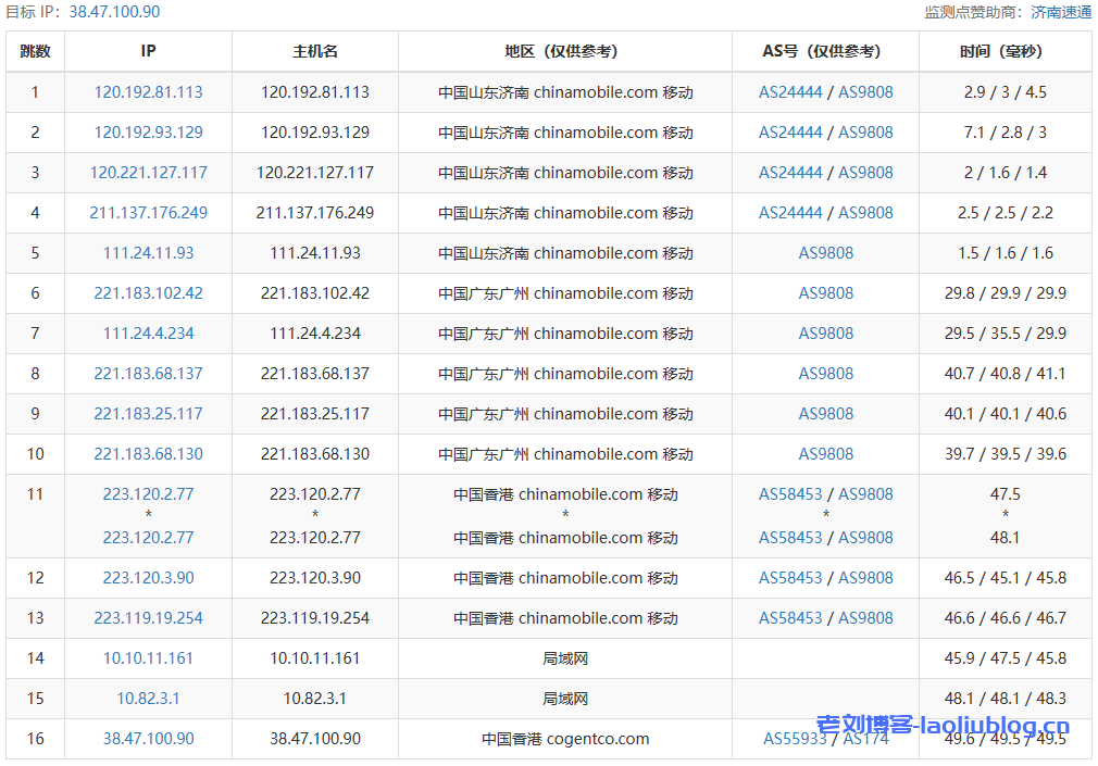
移动去程
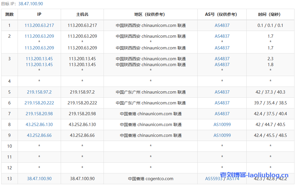
回程路由追踪测试
三网回程路由,电信联通回程走联通4837,移动回程走移动CMI
回程具体路由
Traceroute to China, Guangzhou CT (TCP Mode, Max 30 Hop)
============================================================
traceroute to 113.108.209.1 (113.108.209.1), 30 hops max, 32 byte packets
1 10.0.44.1 0.15 ms * LAN Address
2 10.182.100.52 0.39 ms * LAN Address
3 10.82.3.254 1.42 ms * LAN Address
4 *
5 *
6 162.245.124.21 5.35 ms AS10099 China, Hong Kong, ChinaUnicom
7 43.252.86.141 8.76 ms AS10099 China, Hong Kong, ChinaUnicom
8 219.158.10.61 14.52 ms AS4837 China, Guangdong, Guangzhou, ChinaUnicom
9 219.158.4.53 12.26 ms AS4837 China, Guangdong, Guangzhou, ChinaUnicom
10 219.158.3.33 13.97 ms AS4837 China, Guangdong, Guangzhou, ChinaUnicom
11 219.158.96.194 11.65 ms AS4837 China, Guangdong, Guangzhou, ChinaUnicom
12 202.97.17.145 11.02 ms AS4134 China, Guangdong, Guangzhou, ChinaTelecom
13 *
14 113.108.209.1 8.70 ms AS4134 China, Guangdong, Guangzhou, ChinaTelecom
Traceroute to China, Shanghai CT (TCP Mode, Max 30 Hop)
============================================================
traceroute to 180.153.28.5 (180.153.28.5), 30 hops max, 32 byte packets
1 10.0.44.1 0.18 ms * LAN Address
2 10.182.100.52 0.39 ms * LAN Address
3 10.82.3.254 1.72 ms * LAN Address
4 *
5 *
6 202.77.22.45 2.87 ms AS10099 China, Hong Kong, ChinaUnicom
7 202.77.23.29 9.62 ms AS10099 China, Hong Kong, ChinaUnicom
8 219.158.10.61 12.81 ms AS4837 China, Guangdong, Guangzhou, ChinaUnicom
9 219.158.4.77 15.44 ms AS4837 China, Guangdong, Guangzhou, ChinaUnicom
10 219.158.3.13 9.00 ms AS4837 China, Guangdong, Guangzhou, ChinaUnicom
11 219.158.6.213 39.75 ms AS4837 China, Shanghai, ChinaUnicom
12 219.158.119.198 36.82 ms AS4837 China, Shanghai, ChinaUnicom
13 202.97.81.45 33.62 ms AS4134 China, Shanghai, ChinaTelecom
14 202.97.61.129 31.71 ms AS4134 China, Shanghai, ChinaTelecom
15 61.152.26.5 30.39 ms AS4812 China, Shanghai, ChinaTelecom
16 *
17 *
18 101.227.255.46 32.00 ms AS4812 China, Shanghai, ChinaTelecom
19 *
20 *
21 *
22 *
23 *
24 *
25 *
26 *
27 *
28 *
29 *
30 *
Traceroute to China, Beijing CT (TCP Mode, Max 30 Hop)
============================================================
traceroute to 180.149.128.9 (180.149.128.9), 30 hops max, 32 byte packets
1 10.0.44.1 0.18 ms * LAN Address
2 10.182.100.52 0.93 ms * LAN Address
3 10.82.3.254 0.75 ms * LAN Address
4 *
5 *
6 202.77.22.45 6.90 ms AS10099 China, Hong Kong, ChinaUnicom
7 202.77.23.29 5.15 ms AS10099 China, Hong Kong, ChinaUnicom
8 219.158.20.93 12.08 ms AS4837 China, Guangdong, Guangzhou, ChinaUnicom
9 219.158.96.206 13.36 ms AS4837 China, Guangdong, Guangzhou, ChinaUnicom
10 219.158.8.117 14.00 ms AS4837 China, Guangdong, Guangzhou, ChinaUnicom
11 *
12 219.158.103.170 47.37 ms AS4837 China, Beijing, ChinaUnicom
13 219.158.41.26 42.71 ms AS4837 China, Beijing, ChinaUnicom
14 *
15 *
16 180.149.128.198 46.29 ms AS23724 China, Beijing, ChinaTelecom
17 *
18 *
19 *
20 *
21 *
22 *
23 *
24 *
25 *
26 *
27 *
28 *
29 *
30 *
Traceroute to China, Guangzhou CU (TCP Mode, Max 30 Hop)
============================================================
traceroute to 210.21.4.130 (210.21.4.130), 30 hops max, 32 byte packets
1 10.0.44.1 0.22 ms * LAN Address
2 10.182.100.52 0.49 ms * LAN Address
3 10.82.3.254 1.28 ms * LAN Address
4 *
5 *
6 162.245.124.17 4.84 ms AS10099 China, Hong Kong, ChinaUnicom
7 43.252.86.129 3.00 ms AS10099 China, Hong Kong, ChinaUnicom
8 219.158.20.97 14.13 ms AS4837 China, Hong Kong, ChinaUnicom
9 219.158.4.29 14.91 ms AS4837 China, Guangdong, Guangzhou, ChinaUnicom
10 219.158.3.81 10.17 ms AS4837 China, Guangdong, Guangzhou, ChinaUnicom
11 120.83.0.58 9.34 ms AS17816 China, Guangdong, Guangzhou, ChinaUnicom
12 120.80.175.78 7.00 ms AS17622 China, Guangdong, Guangzhou, ChinaUnicom
13 *
14 *
15 *
16 *
17 *
18 *
19 *
20 *
21 *
22 *
23 *
24 *
25 *
26 *
27 *
28 *
29 *
30 *
Traceroute to China, Shanghai CU (TCP Mode, Max 30 Hop)
============================================================
traceroute to 58.247.8.158 (58.247.8.158), 30 hops max, 32 byte packets
1 10.0.44.1 0.17 ms * LAN Address
2 10.182.100.52 1.18 ms * LAN Address
3 10.82.3.254 5.34 ms * LAN Address
4 *
5 *
6 *
7 43.252.86.129 4.13 ms AS10099 China, Hong Kong, ChinaUnicom
8 219.158.10.53 9.34 ms AS4837 China, Guangdong, Guangzhou, ChinaUnicom
9 219.158.4.101 11.40 ms AS4837 China, Guangdong, Guangzhou, ChinaUnicom
10 219.158.3.125 7.18 ms AS4837 China, Guangdong, Guangzhou, ChinaUnicom
11 219.158.111.253 34.36 ms AS4837 China, Shanghai, ChinaUnicom
12 *
13 58.247.221.178 37.56 ms AS17621 China, Shanghai, ChinaUnicom
14 *
15 58.247.8.153 48.24 ms AS17621 China, Shanghai, ChinaUnicom
16 *
17 *
18 *
19 *
20 *
21 *
22 *
23 *
24 *
25 *
26 *
27 *
28 *
29 *
30 *
Traceroute to China, Beijing CU (TCP Mode, Max 30 Hop)
============================================================
traceroute to 123.125.99.1 (123.125.99.1), 30 hops max, 32 byte packets
1 10.0.44.1 0.19 ms * LAN Address
2 10.182.100.52 0.47 ms * LAN Address
3 10.82.3.254 1.46 ms * LAN Address
4 *
5 *
6 43.252.86.185 3.64 ms AS10099 China, Hong Kong, ChinaUnicom
7 202.77.23.25 6.70 ms AS10099 China, Hong Kong, ChinaUnicom
8 *
9 219.158.4.45 11.94 ms AS4837 China, Guangdong, Guangzhou, ChinaUnicom
10 219.158.3.17 10.62 ms AS4837 China, Guangdong, Guangzhou, ChinaUnicom
11 *
12 *
13 61.51.169.142 50.30 ms AS4808 China, Beijing, ChinaUnicom
14 *
15 *
16 *
17 *
18 *
19 *
20 *
21 *
22 *
23 *
24 *
25 *
26 *
27 *
28 *
29 *
30 *
Traceroute to China, Guangzhou CM (TCP Mode, Max 30 Hop)
============================================================
traceroute to 120.196.212.25 (120.196.212.25), 30 hops max, 32 byte packets
1 10.0.44.1 0.17 ms * LAN Address
2 10.182.100.52 0.55 ms * LAN Address
3 10.82.3.254 0.68 ms * LAN Address
4 *
5 *
6 134.159.128.214 54.07 ms AS4637 China, Hong Kong, telstra.com
7 *
8 *
9 *
10 *
11 221.176.22.233 60.80 ms AS9808 China, Guangdong, Guangzhou, ChinaMobile
12 111.24.5.1 60.99 ms AS9808 China, Guangdong, Guangzhou, ChinaMobile
13 111.24.5.222 99.02 ms AS9808 China, Guangdong, Shenzhen, ChinaMobile
14 211.136.208.49 67.40 ms AS56040 China, Guangdong, Guangzhou, ChinaMobile
15 211.139.180.106 64.81 ms AS56040 China, Guangdong, Guangzhou, ChinaMobile
16 211.139.180.110 53.79 ms AS56040 China, Guangdong, Guangzhou, ChinaMobile
17 *
18 *
19 120.196.212.25 64.22 ms AS56040 China, Guangdong, Guangzhou, ChinaMobile
Traceroute to China, Shanghai CM (TCP Mode, Max 30 Hop)
============================================================
traceroute to 221.183.55.22 (221.183.55.22), 30 hops max, 32 byte packets
1 10.0.44.1 0.16 ms * LAN Address
2 10.182.100.52 0.63 ms * LAN Address
3 10.82.3.254 33.04 ms * LAN Address
4 *
5 *
6 134.159.128.214 32.09 ms AS4637 China, Hong Kong, telstra.com
7 *
8 *
9 221.183.89.178 82.54 ms AS9808 China, Shanghai, ChinaMobile
10 *
11 *
12 *
13 *
14 *
15 *
16 *
17 *
18 *
19 *
20 *
21 *
22 *
23 *
24 *
25 *
26 *
27 *
28 *
29 *
30 *
Traceroute to China, Beijing CM (TCP Mode, Max 30 Hop)
============================================================
traceroute to 211.136.25.153 (211.136.25.153), 30 hops max, 32 byte packets
1 10.0.44.1 0.19 ms * LAN Address
2 10.182.100.52 0.46 ms * LAN Address
3 10.82.3.254 1.93 ms * LAN Address
4 *
5 *
6 *
7 *
8 223.120.22.29 36.97 ms AS58453 China, Guangdong, Guangzhou, ChinaMobile
9 221.183.55.106 38.01 ms AS9808 China, Beijing, ChinaMobile
10 221.183.46.250 44.17 ms AS9808 China, Beijing, ChinaMobile
11 221.183.89.122 47.66 ms AS9808 China, Beijing, ChinaMobile
12 *
13 211.136.66.121 42.35 ms AS56048 China, Beijing, ChinaMobile
14 211.136.67.166 52.61 ms AS56048 China, Beijing, ChinaMobile
15 211.136.95.226 67.90 ms AS56048 China, Beijing, ChinaMobile
16 *
17 *
18 *
19 211.136.25.153 47.13 ms AS56048 China, Beijing, ChinaMobile
Traceroute to China, Beijing Dr.Peng Network IDC Network (TCP Mode, Max 30 Hop)
============================================================
traceroute to 211.167.230.100 (211.167.230.100), 30 hops max, 32 byte packets
1 10.0.44.1 0.15 ms * LAN Address
2 10.182.100.52 0.52 ms * LAN Address
3 10.82.3.254 1.28 ms * LAN Address
4 *
5 *
6 162.245.124.169 5.90 ms AS10099 China, Hong Kong, ChinaUnicom
7 202.77.23.25 3.62 ms AS10099 China, Hong Kong, ChinaUnicom
8 219.158.10.53 11.46 ms AS4837 China, Guangdong, Guangzhou, ChinaUnicom
9 219.158.4.53 13.03 ms AS4837 China, Guangdong, Guangzhou, ChinaUnicom
10 219.158.3.85 7.34 ms AS4837 China, Guangdong, Guangzhou, ChinaUnicom
11 *
12 125.33.186.158 45.13 ms AS4808 China, Beijing, ChinaUnicom
13 202.96.13.218 45.45 ms AS4808 China, Beijing, ChinaUnicom
14 61.149.212.242 41.88 ms AS4808 China, Beijing, ChinaUnicom
15 202.99.1.134 40.65 ms AS4808 China, Beijing, ChinaUnicom
16 218.241.255.138 45.80 ms AS4808 China, Beijing, DRPENG
17 218.241.253.134 41.87 ms AS4808 China, Beijing, DRPENG
18 211.167.230.100 46.56 ms AS17964 China, Beijing, DRPENG
----------------------------------------------------------------------------------
其他流媒体测试,解锁迪士尼+/奈菲等
VPS基本性能参数
UnixBench跑分测试
老刘博客































