VMISS怎么样?陆续测评了VMISS香港BGP、洛杉矶BGP以及洛杉矶9929机器,这里老刘继续评测下VMISS韩国首尔VPS,其支持解锁迪士尼/tiktok流媒体,电信回程电信CN2,联通回程联通4837,移动回程移动CMI,网络延迟83.4ms!
VMISS韩国VPS(电信CN2线路)
| CPU | 内存 | 硬盘 | 流量 | 价格 | 购买 |
|---|---|---|---|---|---|
| 单核 | 1GB | 10GB | 300GB/80Mbps | $5/月 | 点击购买 |
| 单核 | 1GB | 15GB | 600GB/80Mbps | $8.5/月 | 点击购买 |
| 单核 | 2GB | 20GB | 1TB/80Mbps | $16/月 | 点击购买 |
| 双核 | 2GB | 40GB | 1.6TB/80Mbps | $30/月 | 点击购买 |
| 双核 | 4GB | 80GB | 2.6TB/80Mbps | $60/月 | 点击购买 |
VMISS韩国首尔VPS测评分析:
CPU是intel E5-2696v3@2.30@GHz,1核1G内存,10G硬盘,与描述一致,KVM虚拟架构;磁盘I/O读取速度在436MB/s左右
fio再次看下机器磁盘读取数据
100个探测点的网络延迟情况,平均延迟83.4ms,其中来联通延迟45ms,最低。
VPS丢包率测试
Speedtest.net国内外节点测速
iperf3跑下欧美节点测速
去程路由追踪测试
电信去程
联通去程
移动去程
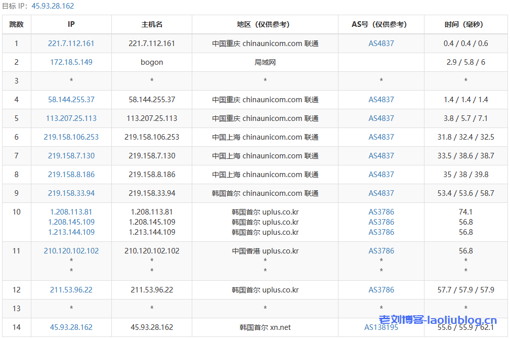
回程路由追踪测试
三网回程路由,电信走电信CN2优质线路,联通走联通4837,移动走移动CMI
回程具体路由情况
----------------------------------------------------------------------
北京电信
traceroute to 219.141.147.210 (219.141.147.210), 30 hops max, 32 byte packets
1 10.0.184.1 0.35 ms * LAN Address
2 45.93.31.1 0.95 ms AS138195 Republic of Korea, Seoul, xn.net
3 10.10.10.17 8.05 ms * LAN Address
4 203.195.115.25 1.59 ms AS4809 Republic of Korea, Seoul, ChinaTelecom
5 59.43.247.41 39.75 ms * China, Shanghai, ChinaTelecom
6 59.43.247.125 65.03 ms * China, Beijing, ChinaTelecom
7 *
8 59.43.132.9 70.23 ms * China, Beijing, ChinaTelecom
9 *
10 *
11 2.254.120.106.static.bjtelecom.net (106.120.254.2) 59.86 ms AS4847 China, Beijing, ChinaTelecom
12 bj141-147-210.bjtelecom.net (219.141.147.210) 59.58 ms AS4847 China, Beijing, ChinaTelecom
----------------------------------------------------------------------
上海电信
traceroute to 202.96.209.133 (202.96.209.133), 30 hops max, 32 byte packets
1 10.0.184.1 0.35 ms * LAN Address
2 45.93.31.1 22.21 ms AS138195 Republic of Korea, Seoul, xn.net
3 10.10.10.17 2.76 ms * LAN Address
4 203.195.115.25 1.84 ms AS4809 Republic of Korea, Seoul, ChinaTelecom
5 59.43.247.41 39.15 ms * China, Shanghai, ChinaTelecom
6 *
7 59.43.138.61 40.58 ms * China, Shanghai, ChinaTelecom
8 101.95.88.22 32.71 ms AS4812 China, Shanghai, ChinaTelecom
9 101.95.40.98 40.68 ms AS4812 China, Shanghai, ChinaTelecom
10 ns-pd.online.sh.cn (202.96.209.133) 40.70 ms AS4812 China, Shanghai, ChinaTelecom
----------------------------------------------------------------------
深圳电信
traceroute to 58.60.188.222 (58.60.188.222), 30 hops max, 32 byte packets
1 10.0.184.1 0.35 ms * LAN Address
2 45.93.31.1 21.55 ms AS138195 Republic of Korea, Seoul, xn.net
3 10.10.10.17 21.01 ms * LAN Address
4 203.195.115.25 7.68 ms AS4809 Republic of Korea, Seoul, ChinaTelecom
5 59.43.250.33 23.11 ms * China, Shanghai, ChinaTelecom
6 *
7 *
8 59.43.144.210 52.80 ms * China, Guangdong, Guangzhou, ChinaTelecom
9 59.43.132.138 51.76 ms * China, Guangdong, Guangzhou, ChinaTelecom
10 110.104.38.59.broad.fs.gd.dynamic.163data.com.cn (59.38.104.110) 66.95 ms AS4134 China, Guangdong, Shenzhen, ChinaTelecom
11 *
12 58.60.188.222 58.56 ms AS4134 China, Guangdong, Shenzhen, ChinaTelecom
----------------------------------------------------------------------
北京联通
traceroute to 202.106.50.1 (202.106.50.1), 30 hops max, 32 byte packets
1 10.0.184.1 0.38 ms * LAN Address
2 45.93.31.1 1.03 ms AS138195 Republic of Korea, Seoul, xn.net
3 10.10.10.17 0.64 ms * LAN Address
4 211.53.96.21 1.50 ms AS3786 Republic of Korea, Seoul, uplus.co.kr
5 1.208.167.33 1.85 ms AS3786 Republic of Korea, Seoul, uplus.co.kr
6 1.208.114.14 2.10 ms AS3786 Republic of Korea, Seoul, uplus.co.kr
7 211.40.6.210 126.89 ms AS3786 China, Shanghai, uplus.co.kr
8 219.158.19.74 132.48 ms AS4837 China, Shanghai, ChinaUnicom
9 *
10 219.158.8.241 155.14 ms AS4837 China, Beijing, ChinaUnicom
11 *
12 *
13 202.106.50.1 148.45 ms AS4808 China, Beijing, ChinaUnicom
----------------------------------------------------------------------
上海联通
traceroute to 210.22.97.1 (210.22.97.1), 30 hops max, 32 byte packets
1 10.0.184.1 0.32 ms * LAN Address
2 45.93.31.1 0.72 ms AS138195 Republic of Korea, Seoul, xn.net
3 10.10.10.17 0.44 ms * LAN Address
4 211.53.96.21 1.46 ms AS3786 Republic of Korea, Seoul, uplus.co.kr
5 1.208.164.25 5.05 ms AS3786 Republic of Korea, Seoul, uplus.co.kr
6 1.208.179.238 1.63 ms AS3786 Republic of Korea, Seoul, uplus.co.kr
7 219.158.38.113 25.10 ms AS4837 China, ChinaUnicom
8 219.158.8.181 22.33 ms AS4837 China, Shanghai, ChinaUnicom
9 *
10 *
11 112.64.250.202 22.55 ms AS17621 China, Shanghai, ChinaUnicom
12 210.22.97.1 24.13 ms AS17621 China, Shanghai, ChinaUnicom
----------------------------------------------------------------------
深圳联通
traceroute to 210.21.196.6 (210.21.196.6), 30 hops max, 32 byte packets
1 10.0.184.1 0.24 ms * LAN Address
2 45.93.31.1 21.08 ms AS138195 Republic of Korea, Seoul, xn.net
3 10.10.10.17 0.42 ms * LAN Address
4 211.53.96.21 1.42 ms AS3786 Republic of Korea, Seoul, uplus.co.kr
5 1.208.164.25 21.51 ms AS3786 Republic of Korea, Seoul, uplus.co.kr
6 1.208.146.118 2.03 ms AS3786 Republic of Korea, Seoul, uplus.co.kr
7 *
8 219.158.19.74 128.02 ms AS4837 China, Shanghai, ChinaUnicom
9 *
10 *
11 *
12 120.80.144.34 164.45 ms AS17623 China, Guangdong, Shenzhen, ChinaUnicom
13 dns2-ftcg.gdsz.cncnet.net (210.21.196.6) 155.98 ms AS17623 China, Guangdong, Shenzhen, ChinaUnicom
----------------------------------------------------------------------
北京移动
traceroute to 221.179.155.161 (221.179.155.161), 30 hops max, 32 byte packets
1 10.0.184.1 0.52 ms * LAN Address
2 45.93.31.1 0.97 ms AS138195 Republic of Korea, Seoul, xn.net
3 10.10.10.17 1.46 ms * LAN Address
4 223.119.21.13 4.78 ms AS58453 Republic of Korea, Seoul, ChinaMobile
5 223.120.3.117 2.12 ms AS58453 Republic of Korea, Seoul, ChinaMobile
6 223.120.3.102 31.45 ms AS58453 Japan, Tokyo, ChinaMobile
7 223.120.2.198 152.71 ms AS58453 China, Beijing, ChinaMobile
8 221.183.55.110 158.13 ms AS9808 China, Beijing, ChinaMobile
9 221.183.25.201 140.74 ms AS9808 China, Beijing, ChinaMobile
10 221.183.89.122 144.11 ms AS9808 China, Beijing, ChinaMobile
11 221.183.46.178 145.89 ms AS9808 China, Beijing, ChinaMobile
12 *
13 cachedns03.bj.chinamobile.com (221.179.155.161) 154.57 ms AS56048 China, Beijing, ChinaMobile
----------------------------------------------------------------------
上海移动
traceroute to 211.136.112.200 (211.136.112.200), 30 hops max, 32 byte packets
1 10.0.184.1 0.36 ms * LAN Address
2 45.93.31.1 0.91 ms AS138195 Republic of Korea, Seoul, xn.net
3 10.10.10.17 7.43 ms * LAN Address
4 223.119.21.13 2.08 ms AS58453 Republic of Korea, Seoul, ChinaMobile
5 223.120.3.113 1.85 ms AS58453 Republic of Korea, Seoul, ChinaMobile
6 223.120.3.214 28.80 ms AS58453 China, Shanghai, ChinaMobile
7 221.183.89.170 47.65 ms AS9808 China, Shanghai, ChinaMobile
8 221.183.89.33 33.37 ms AS9808 China, Shanghai, ChinaMobile
9 221.183.89.14 33.46 ms AS9808 China, Shanghai, ChinaMobile
10 *
11 211.136.190.234 38.36 ms AS24400 China, Shanghai, ChinaMobile
12 211.136.112.252 31.63 ms AS24400 China, Shanghai, ChinaMobile
13 211.136.112.200 30.40 ms AS24400 China, Shanghai, ChinaMobile
----------------------------------------------------------------------
深圳移动
traceroute to 120.196.165.24 (120.196.165.24), 30 hops max, 32 byte packets
1 10.0.184.1 0.31 ms * LAN Address
2 45.93.31.1 1.28 ms AS138195 Republic of Korea, Seoul, xn.net
3 10.10.10.17 0.77 ms * LAN Address
4 223.119.21.13 2.42 ms AS58453 Republic of Korea, Seoul, ChinaMobile
5 223.120.3.113 2.03 ms AS58453 Republic of Korea, Seoul, ChinaMobile
6 223.120.3.221 37.50 ms AS58453 China, Hong Kong, ChinaMobile
7 223.120.2.2 47.90 ms AS58453 China, Guangdong, Guangzhou, ChinaMobile
8 221.183.55.66 48.68 ms AS9808 China, Guangdong, Guangzhou, ChinaMobile
9 221.176.24.57 53.72 ms AS9808 China, Guangdong, Guangzhou, ChinaMobile
10 221.176.22.113 63.58 ms AS9808 China, Guangdong, Guangzhou, ChinaMobile
11 111.24.5.173 53.61 ms AS9808 China, Guangdong, Guangzhou, ChinaMobile
12 221.183.71.70 54.76 ms AS9808 China, Guangdong, Guangzhou, ChinaMobile
13 221.183.110.166 53.15 ms AS9808 China, Guangdong, Guangzhou, ChinaMobile
14 ns6.gd.cnmobile.net (120.196.165.24) 54.71 ms AS56040 China, Guangdong, Shenzhen, ChinaMobile
----------------------------------------------------------------------
成都教育网
traceroute to 202.112.14.151 (202.112.14.151), 30 hops max, 32 byte packets
1 10.0.184.1 0.25 ms * LAN Address
2 45.93.31.1 20.22 ms AS138195 Republic of Korea, Seoul, xn.net
3 10.10.10.17 0.60 ms * LAN Address
4 203.195.115.25 16.24 ms AS4809 Republic of Korea, Seoul, ChinaTelecom
5 59.43.247.41 39.05 ms * China, Shanghai, ChinaTelecom
6 59.43.247.57 31.75 ms * China, Shanghai, ChinaTelecom
7 59.43.138.69 42.94 ms * China, Shanghai, ChinaTelecom
8 *
9 *
10 202.97.95.118 69.35 ms AS4134 China, Guangdong, Guangzhou, ChinaTelecom
11 *
12 101.4.117.217 104.94 ms AS4538 China, Shanghai, CHINAEDU
13 101.4.116.90 99.11 ms AS4538 China, Sichuan, Chengdu, CHINAEDU
14 202.115.255.2 94.95 ms AS4538 China, Sichuan, Chengdu, CHINAEDU
15 *
16 *
17 *
18 202.112.14.151 102.95 ms AS24355 China, Sichuan, Chengdu, CHINAEDU
----------------------------------------------------------------------
tiktok解锁测试,解锁加拿大区tiktok流媒体
其他流媒体解锁测试
VPS其他性能参数一览:
老刘博客





























