Megalayer套餐方案参见:Megalayer:香港/新加坡/美国VPS年付199元或24元/月起,独立服务器399元/月起,那么Megalayer怎么样呢?站长这里选购了一款香港VPS进行了简单测评,一起来看下Megalayer HK-香港VPS-1核1G–优化带宽测评分享。
Megalayer官网:Megalayer – Global ISP 全球二级电信服务提供商(中文网址)
再贴上Megalayer VPS方案:
| 机房 | 架构 | CPU | 内存 | 硬盘 | 带宽 | 线路 | 价格 |
|---|---|---|---|---|---|---|---|
| 美国 | KVM | 单核 | 1GB | 50GB | 10M无限 | 优化带宽 | 24元/月 |
| 美国 | KVM | 单核 | 1GB | 50GB | 20M无限 | 全向带宽 | 24元/月 |
| 美国 | KVM | 单核 | 1GB | 50GB | 15M无限 | 优化带宽 | 49.5元/月 |
| 美国 | KVM | 单核 | 1GB | 50GB | 30M无限 | 全向带宽 | 49.5元/月 |
| 香港 | KVM | 单核 | 1GB | 50GB | 2M无限 | 优化带宽 | 29.5元/月 |
| 香港 | KVM | 单核 | 1GB | 50GB | 3M无限 | 优化带宽 | 49.5元/月 |
| 菲律宾 | KVM | 单核 | 1GB | 50GB | 5M无限 | 优化带宽 | 49.5元/月 |
| 菲律宾 | KVM | 单核 | 1GB | 50GB | 10M无限 | 国际带宽 | 49.5元/月 |
Megalayer HK-香港VPS-1核1G-优化带宽测评分析:
CPU型号未知,主频2.5GHz,megalayer自己的AS,当前硬盘I/O大致在408MB/S的样子:
FIO继续测试硬盘读写数据的情况
国内三网多个节点的延迟检测数据,正常水平
speedtest.net国内外节点测速
iperf3测试下几个欧美节点的数据:
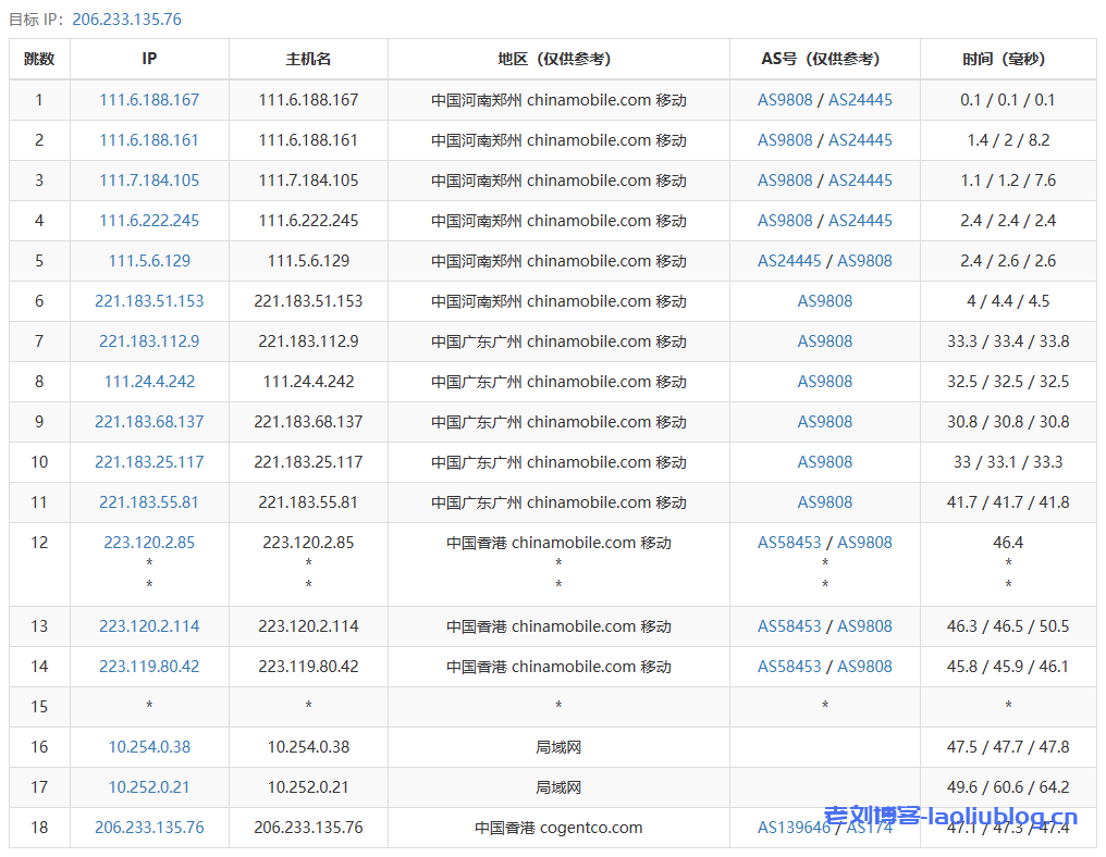
去程路由追踪测试
回程路由追踪测试
老刘博客







































