华纳云是一家香港主机商,成立于2015年,隶属于香港联合通讯国际有限公司,主要提供中国香港、美国、新加坡等节点的云服务器、物理服务器(CN2服务器,站群服务器、大带宽服务器)和高防服务器等产品。
近日华纳云推出了一款纯国际线路的香港大带宽服务器,主要提供4种带宽配置方案,100M~1000M纯国际带宽可选,无限流量,免费赠送20G DDoS防御,在东南亚地区,像菲律宾、新加坡等节点延迟只有20~30ms左右,非常适合出海东南亚如跨境电商,外贸,网络游戏、视频流媒直播等需求大带宽的海外企业。
现在下单用户还可享受4折优惠,低至999元/月,付款支持支付宝,PayPal,银行在线/线下转账等方式,购买非常方便。
华纳云香港纯国际大带宽服务器的套餐配置如下:
| 处理器 | 内存 | 硬盘 | 带宽 | IP | 防御 | 价格 | 购买 |
| E5-2660 | 16G | 500G SSD | 100M纯国际 | 3 | 20G | 999/月 | 直达链接 |
| E5-2660 | 32G | 500G SSD | 200M纯国际 | 3 | 20G | 1588/月 | 直达链接 |
| E5-2660 | 64G | 500G SSD | 500M纯国际 | 3 | 20G | 3188/月 | 直达链接 |
| E5-2660 | 64G | 500G SSD | 1000M纯国际 | 3 | 20G | 4899/月 | 直达链接 |
网络测试IP:156.240.111.254
测评机器:E5-2660处理器、16G内存、100M纯国际带宽
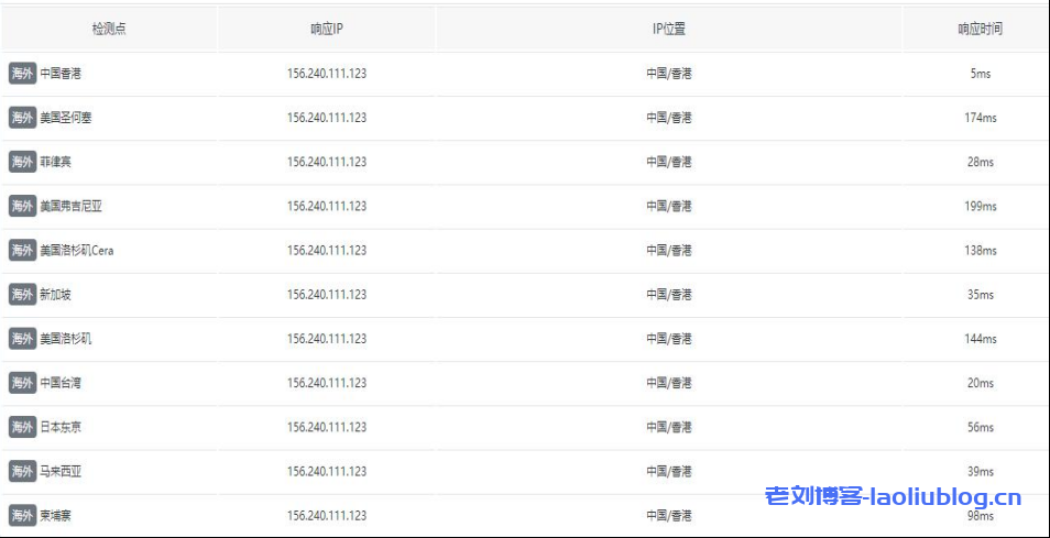
我们先来看一下海外各节点访问延迟情况,如下图所示:
通过第三方工具测试可以看到,东南亚地区的菲律宾、新加坡、东京、马来西亚等节点延迟都非常的低,在50ms左右,像菲律宾、新加坡等节点延迟只有20~30ms左右,所以非常适合开展东南亚地区业务用户使用。
下面我们看看全球各地网络稳定性情况,如下所示:
可以看到全球各地网络稳定性还是相当不错的,基本都没有丢包的情况,亚洲地区延迟在100ms以内,而欧美地区延迟在150ms左右,可以说是相当不错了。
接下来我们通过华纳云提供的测试服务器看看性能和速度怎么样,我这里使用的是最低配置套餐,拥有100Mbps带宽,具体测试效果如下所示:
测评的这款香港大带宽服务器使用的是E5-2660 CPU,拥有2.20GHz主频,配备16GB内存,拥有8GB Swap,其硬盘I/O达到了298M/秒,性能还是相当不错的。可以看到全球各地上传和下载速度都到达了100Mbps左右,分配的带宽基本是跑满了的。
以上就是关于华纳云香港纯国际大带宽服务器的相关测评介绍,整体来说这款香港大带宽服务器还是相当不错的,有需要的用户可以参考进行购买。如果国内企业需求大带宽服务器,可以购买他们家的香港优化回国大带宽服务器!
老刘博客





























