刺激云是一家专门经营多个机房的主机商,提供VPS云服务器和独立服务器,拥有优化线路,价格便宜。我们我们测评下刺激云的香港VPS,看看大陆地区用户访问网络状况怎么样。
刺激云的香港VPS拥有CN2线路,最低配置1核、1GB内存、10Mbps独享带宽、无限流量、1独立原生IP,只需要28元/月,支持Linux和Windows操作系统。他们家的特价套餐更便宜,只需要8元/月。下面我们具体测评下这款香港VPS的网络状况怎么样。
刺激云官网:刺激云 – 香港VPS|香港服务器租用|美国服务器|美国VPS|高防御服务器|国外服务器租用 (cijiyun.com)
依旧先安排套餐详情,目前市面上最高性价比:
| 参数项 | 套餐1 | 套餐2 | 套餐3 | 套餐4 |
|---|---|---|---|---|
| 内存 | 2GB | 4GB | 8GB | 24GB |
| CPU核数 | 2 | 2 | 4 | 8 |
| 存储空间 | 100G | 100G | 300G | 500G |
| 带宽 | 10Mbps | 20Mbps | 20Mbps | 30Mbps |
| 网络类型 | CN2 GIA 直连 | CN2 GIA 直连 | CN2 GIA 直连 | CN2 GIA 直连 |
| 流量 | 无限 | 无限 | 无限 | 无限 |
| 价格 | 18元/月 | 288元/年 | 398元/年 | 688元/年 |
| 购买链接 | 立即购买 | 立即购买 | 立即购买 | 立即购买 |
下面我们先看看本地Ping的平均延迟测试效果,如下所示:
可以看到我上海本地Ping的平均延迟在34ms左右,这个延迟对于香港VPS还是比较正常的。如果你在东南沿海地区,那么这个延迟还会更低。网络也还比较稳定,我本地网络基本没有丢包的情况。
下面看看全国三网Ping的平均延迟测试效果,如下所示:
可以看到全国三网Ping的平均延迟在69ms左右,其中电信网络延迟在49ms左右,联通网络延迟在43ms左右,移动网络延迟在65ms。总体来说三网延迟网络都还是不错的。
下面我们再看看全球各地网络节点的稳定性测试情况,如下所示:
可以看到全球网络稳定性都是相当不错的,不管是国内还是国外网络稳定性都还是不错的。
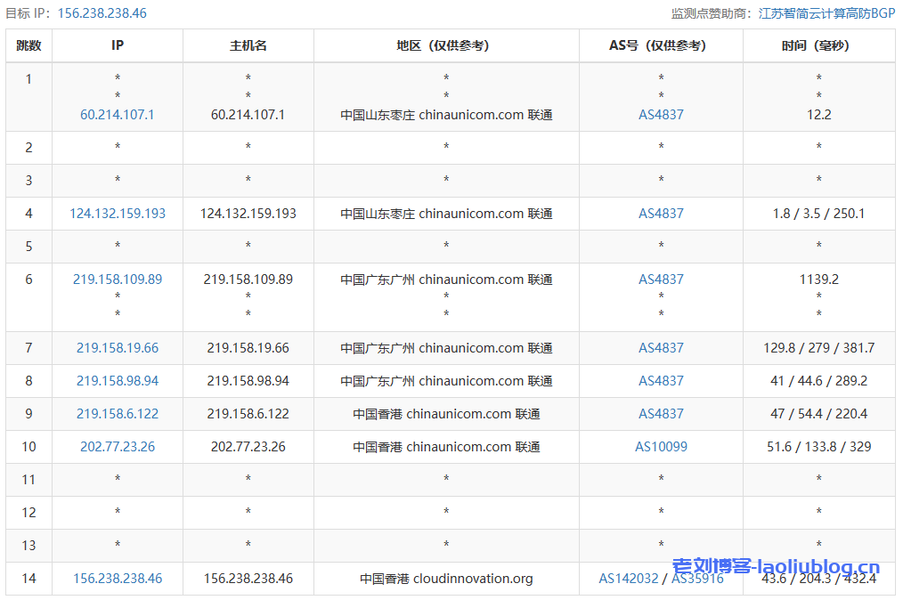
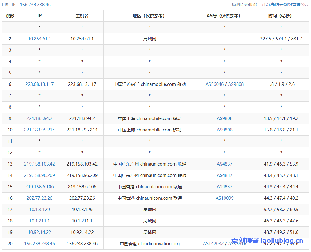
接下来我们看看全国三网去程路由线路情况。
电信去程路由是从上海网口出去,然后直连香港机房的,走的是59.43的CN2线路。
联通去程路由是从广州网口出去,然后直连香港机房,走的是AS9929的联通优化线路。
移动去程路由是从上海网口出去,然后直连香港机房,走的是移动CMI线路。
从上面测试的三网去程路由来看,都是直连的,并且都了优化线路,所以稳定性和延迟都还是不错的。
以上套餐是618优惠提供的特价,整体来说性价比都还是不错的,有需要可以参考选择。
需要购买的用户可以通过刺激云官网进入首页,点击 最新活动 按钮 即可参与,如下所示:
然后选择适合自己的套餐就可以了。
以上就是关于刺激云香港VPS的相关测评介绍,整体来说这款香港VPS网络状况还是相当不错的,而且价格也比较便宜,性价比很高,有需要香港VPS的用户可以参考选择。
老刘博客





























