在文章《HostYun:洛杉矶CN2 GIA线路廉价版上线,1核1GB内存套餐月付15元起》里,老刘博客为网友们分享了当前市面上最便宜CN2 GIA线路VPS主机——HostYun[洛杉矶廉价GIA-乞丐版]。这里选购了一台该款机器最低配置(1核1GB内存10GB硬盘500GB月流量60Mbps带宽1个IPv4带10G高防)的洛杉矶廉价GIA原生IP-套餐A,进行了测评,供参考。
控制台机器信息
如下图,相关参数很明了,这里就不累述了。
VPS配置信息与IO性能测试
与控制台机器信息一致,1核心CPU,1GB内存,10GB硬盘,500GB月流量(60Mbps带宽)。IO速度平均62.7MB/s,不高,不过这块商家已经注明了,基于公平使用的规则,每台主机已经做了IO限制。
VPS三网上传下载速度测试
上传下载速度都能跑到60Mbps,符合官方说的端口60Mbps。
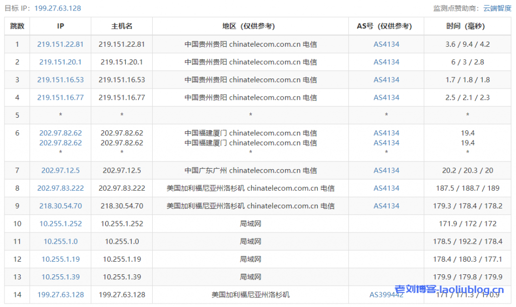
VPS Ping值测试
美国延迟11ms,加拿大75ms,国内在148-233ms,马马虎虎还行吧。
无论国内国外,各节点都是清一色的绿!无丢包。
贵阳电信去程,走AS4134:
长沙联通去程,走AS4837:
常州移动去程,走AS9808:
三网去程走各自骨干网:电信AS4134,联通AS4837,移动AS9808,同时商家表示去程有10G高防。
四网测试,全场都是CN2 GIA回程(全程一直到省级节点,甚至是市级节点,都是 59.43):
---------------------------------------------------------------------- 广州电信 traceroute to 14.215.116.1 (14.215.116.1), 30 hops max, 32 byte packets 1 199.27.63.1 2.11 ms AS399442 美国, 加利福尼亚州, 洛杉矶 2 10.255.1.38 1.64 ms * 局域网 3 10.255.1.18 0.67 ms * 局域网 4 218.30.48.185 1.12 ms AS4134 美国, 加利福尼亚州, 洛杉矶, chinatelecom.com.cn, 电信 5 59.43.246.233 151.12 ms * 中国, 广东, 广州, chinatelecom.com.cn, 电信 6 59.43.187.137 157.15 ms * 中国, 广东, 广州, chinatelecom.com.cn, 电信 7 59.43.130.117 157.50 ms * 中国, 广东, 广州, chinatelecom.com.cn, 电信 8 202.97.55.58 162.52 ms AS4134 中国, 广东, 广州, chinatelecom.com.cn, 电信 9 113.96.4.158 160.49 ms AS58466 中国, 广东, 广州, chinatelecom.com.cn, 电信 10 * 11 183.56.129.10 156.00 ms AS58466 中国, 广东, 广州, chinatelecom.com.cn, 电信 12 14.215.116.1 160.93 ms AS58466 中国, 广东, 广州, chinatelecom.com.cn, 电信 ---------------------------------------------------------------------- 上海电信 traceroute to 101.95.120.109 (101.95.120.109), 30 hops max, 32 byte packets 1 199.27.63.1 1.56 ms AS399442 美国, 加利福尼亚州, 洛杉矶 2 10.255.1.38 1.68 ms * 局域网 3 10.255.1.18 0.74 ms * 局域网 4 218.30.48.185 1.08 ms AS4134 美国, 加利福尼亚州, 洛杉矶, chinatelecom.com.cn, 电信 5 59.43.182.89 128.10 ms * 美国, 加利福尼亚州, 洛杉矶, chinatelecom.com.cn, 电信 6 59.43.187.77 128.48 ms * 中国, 上海, chinatelecom.com.cn, 电信 7 * 8 59.43.80.14 132.36 ms * 中国, 上海, chinatelecom.com.cn, 电信 9 101.95.88.5 136.73 ms AS4812 中国, 上海, chinatelecom.com.cn, 电信 10 101.95.120.109 156.99 ms AS4812 中国, 上海, chinatelecom.com.cn, 电信 ---------------------------------------------------------------------- 厦门电信 traceroute to 117.28.254.129 (117.28.254.129), 30 hops max, 32 byte packets 1 199.27.63.1 4.55 ms AS399442 美国, 加利福尼亚州, 洛杉矶 2 10.255.1.38 1.84 ms * 局域网 3 10.255.1.18 0.48 ms * 局域网 4 218.30.48.185 0.99 ms AS4134 美国, 加利福尼亚州, 洛杉矶, chinatelecom.com.cn, 电信 5 59.43.182.74 173.26 ms * 中国, 广东, 广州, chinatelecom.com.cn, 电信 6 * 7 59.43.130.105 156.43 ms * 中国, 广东, 广州, chinatelecom.com.cn, 电信 8 59.43.19.198 165.30 ms * 中国, 福建, 厦门, chinatelecom.com.cn, 电信 9 27.159.81.246 171.18 ms AS133775 中国, 福建, 厦门, chinatelecom.com.cn, 电信 10 27.159.81.202 176.83 ms AS133775 中国, 福建, 厦门, chinatelecom.com.cn, 电信 11 117.25.141.110 167.10 ms AS133775 中国, 福建, 厦门, chinatelecom.com.cn, 电信 12 117.28.254.129 170.58 ms AS4809 中国, 福建, 厦门, chinatelecom.com.cn, 电信 ---------------------------------------------------------------------- 重庆联通 traceroute to 113.207.25.138 (113.207.25.138), 30 hops max, 32 byte packets 1 199.27.63.1 3.48 ms AS399442 美国, 加利福尼亚州, 洛杉矶 2 10.255.1.38 1.74 ms * 局域网 3 10.255.1.18 0.70 ms * 局域网 4 218.30.48.185 1.10 ms AS4134 美国, 加利福尼亚州, 洛杉矶, chinatelecom.com.cn, 电信 5 59.43.182.74 149.80 ms * 中国, 广东, 广州, chinatelecom.com.cn, 电信 6 * 7 59.43.130.121 157.35 ms * 中国, 广东, 广州, chinatelecom.com.cn, 电信 8 * 9 219.158.10.249 170.18 ms AS4837 中国, 广东, 广州, chinaunicom.com, 联通 10 219.158.22.74 180.60 ms AS4837 中国, 重庆, chinaunicom.com, 联通 11 113.207.25.138 183.08 ms AS4837 中国, 重庆, chinaunicom.com, 联通 ---------------------------------------------------------------------- 成都联通 traceroute to 119.6.6.6 (119.6.6.6), 30 hops max, 32 byte packets 1 199.27.63.1 1.70 ms AS399442 美国, 加利福尼亚州, 洛杉矶 2 10.255.1.38 1.70 ms * 局域网 3 10.255.1.18 0.48 ms * 局域网 4 218.30.48.185 1.01 ms AS4134 美国, 加利福尼亚州, 洛杉矶, chinatelecom.com.cn, 电信 5 59.43.182.74 149.96 ms * 中国, 广东, 广州, chinatelecom.com.cn, 电信 6 * 7 59.43.130.153 152.69 ms * 中国, 广东, 广州, chinatelecom.com.cn, 电信 8 * 9 219.158.9.73 166.00 ms AS4837 中国, 广东, 广州, chinaunicom.com, 联通 10 219.158.102.186 180.01 ms AS4837 中国, 四川, 成都, chinaunicom.com, 联通 11 119.6.197.170 184.20 ms AS4837 中国, 四川, 成都, chinaunicom.com, 联通 12 119.7.220.218 180.13 ms AS4837 中国, 四川, 成都, chinaunicom.com, 联通 13 119.6.6.6 184.64 ms AS4837 中国, 四川, 成都, chinaunicom.com, 联通 ---------------------------------------------------------------------- 上海移动 traceroute to 120.204.197.126 (120.204.197.126), 30 hops max, 32 byte packets 1 199.27.63.1 1.50 ms AS399442 美国, 加利福尼亚州, 洛杉矶 2 10.255.1.38 3.95 ms * 局域网 3 10.255.1.18 0.48 ms * 局域网 4 218.30.48.185 1.12 ms AS4134 美国, 加利福尼亚州, 洛杉矶, chinatelecom.com.cn, 电信 5 59.43.246.237 127.58 ms * 中国, 上海, chinatelecom.com.cn, 电信 6 59.43.247.57 128.33 ms * 中国, 上海, chinatelecom.com.cn, 电信 7 * 8 59.43.80.14 129.37 ms * 中国, 上海, chinatelecom.com.cn, 电信 9 202.97.46.58 137.98 ms AS4134 中国, 上海, chinatelecom.com.cn, 电信 10 * 11 221.183.86.106 156.12 ms AS9808 中国, 上海, chinamobile.com, 移动 12 111.24.4.82 158.04 ms AS9808 中国, 上海, chinamobile.com, 移动 13 * 14 117.143.13.206 157.51 ms AS24400 中国, 上海, chinamobile.com, 移动 15 120.204.194.10 160.50 ms AS24400 中国, 上海, chinamobile.com, 移动 16 120.204.197.126 157.89 ms AS24400 中国, 上海, chinamobile.com, 移动 ---------------------------------------------------------------------- 成都移动 traceroute to 183.221.253.100 (183.221.253.100), 30 hops max, 32 byte packets 1 199.27.63.1 1.42 ms AS399442 美国, 加利福尼亚州, 洛杉矶 2 10.255.1.38 1.65 ms * 局域网 3 10.255.1.18 0.51 ms * 局域网 4 218.30.48.185 0.93 ms AS4134 美国, 加利福尼亚州, 洛杉矶, chinatelecom.com.cn, 电信 5 59.43.182.78 150.30 ms * 中国, 广东, 广州, chinatelecom.com.cn, 电信 6 * 7 59.43.130.113 157.60 ms * 中国, 广东, 广州, chinatelecom.com.cn, 电信 8 * 9 * 10 * 11 * 12 221.176.20.149 185.13 ms AS9808 中国, 四川, 成都, chinamobile.com, 移动 13 221.176.20.125 186.75 ms AS9808 中国, 广东, 广州, chinamobile.com, 移动 14 221.183.22.34 187.85 ms AS9808 中国, 广东, 广州, chinamobile.com, 移动 15 221.183.11.74 189.75 ms AS9808 中国, 广东, 广州, chinamobile.com, 移动 16 117.134.42.122 189.24 ms AS9808 中国, 广东, 广州, chinamobile.com, 移动 17 183.221.253.100 187.64 ms AS9808 中国, 四川, 成都, chinamobile.com, 移动 ---------------------------------------------------------------------- 成都教育网 traceroute to 202.112.14.151 (202.112.14.151), 30 hops max, 32 byte packets 1 199.27.63.1 4.92 ms AS399442 美国, 加利福尼亚州, 洛杉矶 2 10.255.1.38 2.64 ms * 局域网 3 10.255.1.18 0.60 ms * 局域网 4 218.30.48.185 1.01 ms AS4134 美国, 加利福尼亚州, 洛杉矶, chinatelecom.com.cn, 电信 5 59.43.182.89 127.98 ms * 美国, 加利福尼亚州, 洛杉矶, chinatelecom.com.cn, 电信 6 59.43.187.61 128.69 ms * 中国, 上海, chinatelecom.com.cn, 电信 7 59.43.130.213 134.63 ms * 中国, 上海, chinatelecom.com.cn, 电信 8 59.43.80.141 131.35 ms * 中国, 上海, chinatelecom.com.cn, 电信 9 202.97.87.130 131.76 ms AS4134 中国, 上海, chinatelecom.com.cn, 电信 10 202.97.15.82 174.47 ms AS4134 中国, 上海, chinatelecom.com.cn, 电信 11 101.4.118.114 176.58 ms AS4538 中国, 上海, edu.cn, 教育网 12 * 13 101.4.117.25 176.14 ms AS4538 中国, 安徽, 合肥, edu.cn, 教育网 14 * 15 101.4.112.29 191.75 ms AS4538 中国, 重庆, edu.cn, 教育网 16 * 17 101.4.116.158 192.94 ms AS4538 中国, 四川, 成都, edu.cn, 教育网 18 202.115.255.2 1759.33 ms AS4538 中国, 四川, 成都, 四川教育和科研计算机网, edu.cn, 教育网 19 202.115.254.238 192.58 ms AS4538 中国, 四川, 成都, 四川教育和科研计算机网, edu.cn, 教育网 20 202.115.0.1 192.57 ms AS4538,AS24355 中国, 四川, 成都, 电子科技大学, edu.cn, 教育网 21 * 22 202.112.14.151 191.15 ms AS24355 中国, 四川, 成都, edu.cn, 教育网 ----------------------------------------------------------------------
VPS综合性能测试
用UnixBench脚本跑分值是784.2。得分小于400的性能比较差、500-1000正常、大于1000优秀、大于2000极好。当然跑分不是认定机器好坏的唯一标准,需要综合考虑。这里跑分值属于正常级别。
总的来说,这样的价格能买到一款CN2 GIA VPS很不错了,有需要的可以入手一台,下面列出HostYun部分[洛杉矶廉价GIA-乞丐版]套餐配置信息。
| CPU:1core | CPU:1core | CPU:1core |
| 内存:1GB | 内存:1GB | 内存:1GB |
| 硬盘:10G SSD | 硬盘:20G SSD | 硬盘:20G SSD |
| 带宽:500GB/60Mbps | 带宽:700GB/70Mbps | 带宽:1.2TB/100Mbps |
| 架构:KVM | 架构:KVM | 架构:KVM |
| IP/面板:1IPv4/Xensystem | IP/面板:1IPv4/Xensystem | IP/面板:1IPv4/Xensystem |
| 价格:15.3元/月购买链接 | 价格:17.1元/月购买链接 | 价格:26.1元/月购买链接 |
老刘博客
































