天上云已不再运营,这里推荐ReCloud商家,线路多,售后不错(有TG群,比较活跃),产品参见:ReCloud VPS方案:西雅图NTT/BGP、洛杉矶CERA/BGP、香港静态HGC/CMI/HE+HKIX(流媒体解锁)、台湾TFN/Hinet家宽或国际优化版、日本软银、英国家宽、马来西亚TMNet。
天上云主机测评,这里不是值天上的云主机,而是天上云的主机测评。天上云怎么样?天上云这个名字听着真上头😅!天上云隶属于成都天上云网络科技有限公司,运营香港、美国海外云服务器,老刘博客在前文《天上云促销:香港CN2弹性云服务器1核1G内存3M CN2带宽20G SSD数据盘月付24元起附简单测评》有介绍了天上云近期的促销活动,完了更好方便网友们参考选购,老刘博客这里订购了一台这个配置的香港CN2弹性云服务器进行了性能评测。
天上云官网:https://cloudsilk.io/aff.php?aff=469,天上云测试IP:96.43.97.45,天上云优惠码:tsyhk(终身8.8折)
天上云香港弹性云,香港CN2一区,CPU核心:弹性配置,系统内存:弹性配置,网络线路:三网CN2,独享带宽:3Mbps起,SSD数据盘:弹性配置,如图配置28元/月(8.8折后24.64元)/280元/月(8.8折后246.4元),0元试用 6 小时,立即购买。老刘博客这里选购的配置是香港CN2弹性云服务器1核1G内存3M CN2带宽20G SSD数据盘。
配置信息和上述控制台信息一致,IO性能还不错,均值347.3MB/s。
安装宝塔面板总用时9分钟,还行。
宝塔跑分值一般,这个配置4078分是正常水平了,我们主要来看看配配置信息,和上面脚本测试结果相符。
支持介绍自制剧,不支持解决非自制剧。
国内节点测速上传下载速度都能跑满3Mbps,延迟也在两位数内。
主机测速文件测试
在上海本地,使用100MB测速文件,实测了上传下载速度,上传335KB/s,下载264KB/s,还行,理论值是384,实测受本地网速,下载方式等客观因素影响。
国内延时均在125ms以内,平均延时58ms,不错。
全球各节点测试,出现丢包的节点,丢包率都在2%以内(3%以内都属正常)。
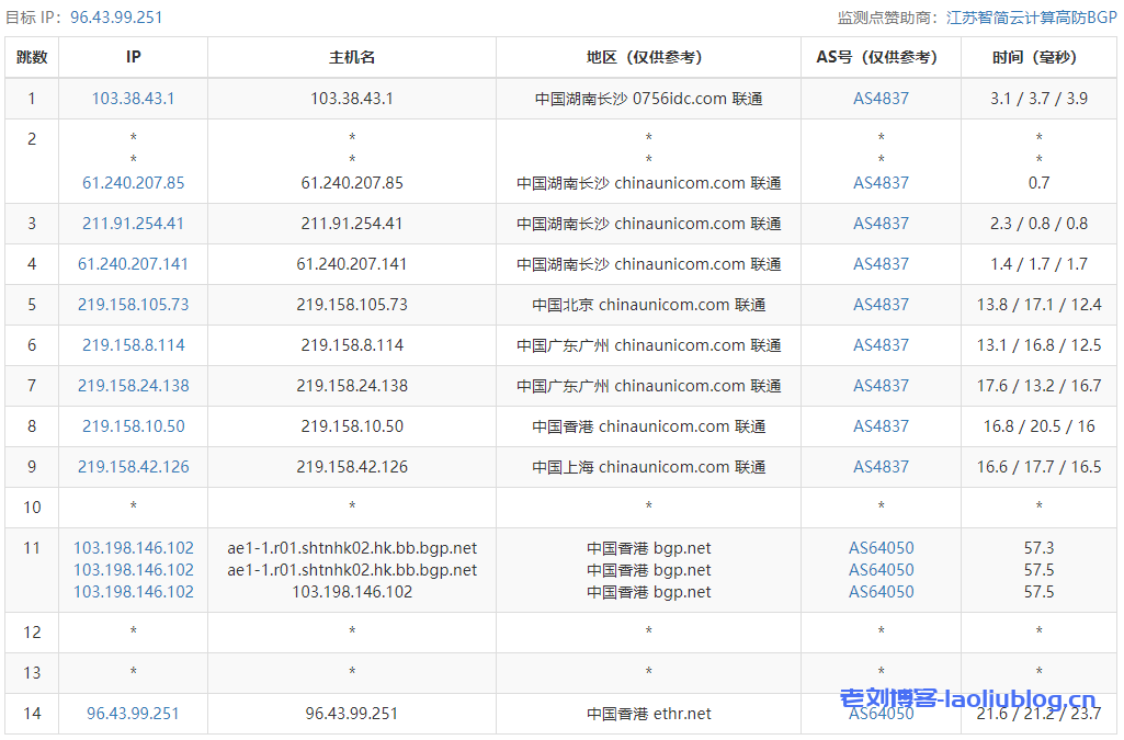
德阳电信去程,走AS4134,而且在成都、广州和香港节点走了59.43,即去程电信CN2
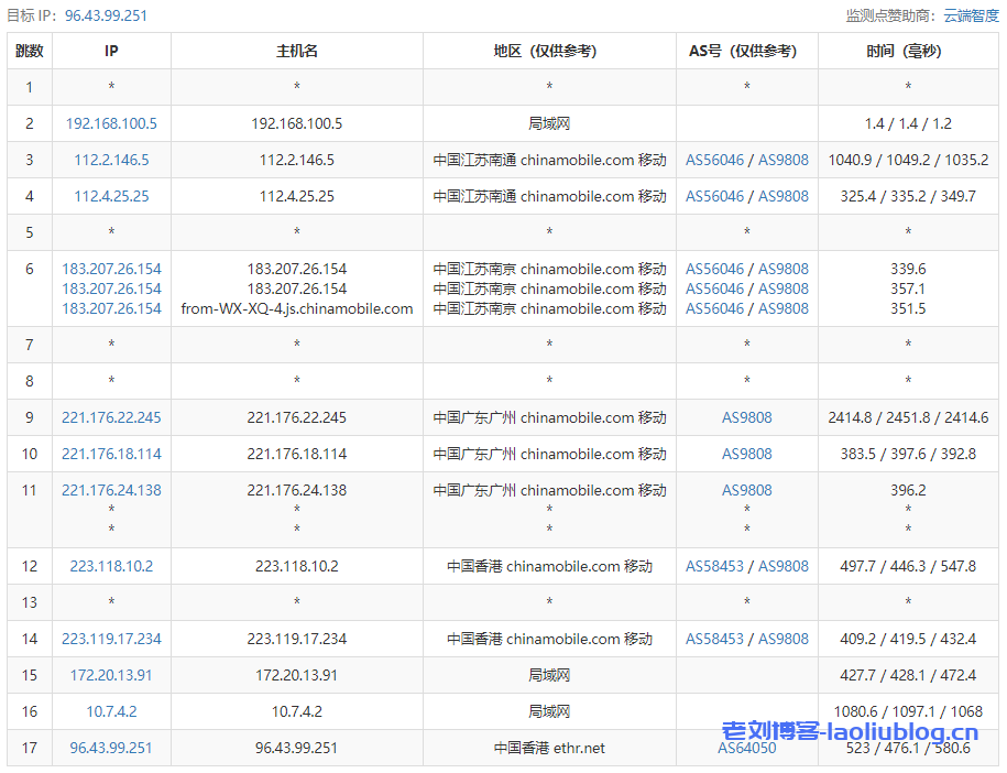
四网回程测试
---------------------------------------------------------------------- 广州电信 traceroute to 14.215.116.1 (14.215.116.1), 30 hops max, 32 byte packets 1 14.128.40.65 5.08 ms AS64050 中国, 香港, rackip.com 2 * 3 172.20.13.84 8.99 ms * 局域网 4 63.140.7.5 1.54 ms AS4809 中国, 香港, chinatelecom.com.cn, 电信 5 59.43.246.181 1.66 ms * 中国, 香港, chinatelecom.com.cn, 电信 6 * 7 * 8 59.43.130.105 13.43 ms * 中国, 广东, 广州, chinatelecom.com.cn, 电信 9 202.97.70.14 14.83 ms * 中国, 广东, 广州, chinatelecom.com.cn, 电信 10 113.96.0.93 41.99 ms AS58466 中国, 广东, 广州, chinatelecom.com.cn, 电信 11 183.2.167.253 8.23 ms AS58466 中国, 广东, 广州, chinatelecom.com.cn, 电信 12 183.56.129.10 9.08 ms AS58466 中国, 广东, 广州, chinatelecom.com.cn, 电信 13 14.215.116.1 10.14 ms AS58466 中国, 广东, 广州, chinatelecom.com.cn, 电信 ---------------------------------------------------------------------- 上海电信 traceroute to 101.95.120.109 (101.95.120.109), 30 hops max, 32 byte packets 1 14.128.40.65 44.41 ms AS64050 中国, 香港, rackip.com 2 * 3 172.20.13.84 3.23 ms * 局域网 4 63.140.7.5 1.65 ms AS4809 中国, 香港, chinatelecom.com.cn, 电信 5 59.43.246.181 1.61 ms * 中国, 香港, chinatelecom.com.cn, 电信 6 59.43.188.229 25.14 ms * 中国, 上海, chinatelecom.com.cn, 电信 7 * 8 * 9 59.43.80.86 27.44 ms * 中国, 上海, chinatelecom.com.cn, 电信 10 61.152.24.5 29.46 ms AS4812 中国, 上海, chinatelecom.com.cn, 电信 11 101.95.120.109 29.01 ms AS4812 中国, 上海, chinatelecom.com.cn, 电信 ---------------------------------------------------------------------- 厦门电信 traceroute to 117.28.254.129 (117.28.254.129), 30 hops max, 32 byte packets 1 14.128.40.65 1.80 ms AS64050 中国, 香港, rackip.com 2 * 3 172.20.13.84 7.22 ms * 局域网 4 63.140.7.5 2.29 ms AS4809 中国, 香港, chinatelecom.com.cn, 电信 5 59.43.247.85 1.64 ms * 中国, 香港, chinatelecom.com.cn, 电信 6 59.43.187.181 5.89 ms * 中国, 广东, 广州, chinatelecom.com.cn, 电信 7 * 8 59.43.130.153 9.18 ms * 中国, 广东, 广州, chinatelecom.com.cn, 电信 9 59.43.142.30 30.71 ms * 中国, chinatelecom.com.cn, 电信 10 * 11 27.159.81.194 47.60 ms AS133775 中国, 福建, 厦门, chinatelecom.com.cn, 电信 12 117.25.141.110 43.28 ms AS133775 中国, 福建, 厦门, chinatelecom.com.cn, 电信 13 117.28.254.129 32.96 ms AS4809 中国, 福建, 厦门, chinatelecom.com.cn, 电信 ---------------------------------------------------------------------- 重庆联通 traceroute to 113.207.25.138 (113.207.25.138), 30 hops max, 32 byte packets 1 14.128.40.65 19.45 ms AS64050 中国, 香港, rackip.com 2 * 3 172.20.13.84 12.66 ms * 局域网 4 63.140.7.5 1.93 ms AS4809 中国, 香港, chinatelecom.com.cn, 电信 5 59.43.246.181 1.49 ms * 中国, 香港, chinatelecom.com.cn, 电信 6 59.43.183.109 7.06 ms * 中国, 广东, 广州, chinatelecom.com.cn, 电信 7 59.43.187.117 7.47 ms * 中国, 广东, 广州, chinatelecom.com.cn, 电信 8 59.43.130.145 8.60 ms * 中国, 广东, 广州, chinatelecom.com.cn, 电信 9 219.158.40.169 11.94 ms AS4837 中国, 广东, 广州, chinaunicom.com, 联通 10 * 11 * 12 113.207.25.138 32.00 ms AS4837 中国, 重庆, chinaunicom.com, 联通 ---------------------------------------------------------------------- 成都联通 traceroute to 119.6.6.6 (119.6.6.6), 30 hops max, 32 byte packets 1 14.128.40.65 10.46 ms AS64050 中国, 香港, rackip.com 2 * 3 172.20.13.84 50.41 ms * 局域网 4 63.140.7.5 1.85 ms AS4809 中国, 香港, chinatelecom.com.cn, 电信 5 59.43.246.177 1.67 ms * 中国, 香港, chinatelecom.com.cn, 电信 6 59.43.250.77 5.89 ms * 中国, 香港, chinatelecom.com.cn, 电信 7 * 8 59.43.130.149 8.64 ms * 中国, 广东, 广州, chinatelecom.com.cn, 电信 9 219.158.38.245 9.44 ms AS4837 中国, 北京, chinaunicom.com, 联通 10 * 11 * 12 * 13 * 14 119.6.6.6 39.65 ms AS4837 中国, 四川, 成都, chinaunicom.com, 联通 ---------------------------------------------------------------------- 上海移动 traceroute to 120.204.197.126 (120.204.197.126), 30 hops max, 32 byte packets 1 14.128.40.65 7.17 ms AS64050 中国, 香港, rackip.com 2 * 3 172.20.13.84 2.97 ms * 局域网 4 63.140.7.5 1.80 ms AS4809 中国, 香港, chinatelecom.com.cn, 电信 5 59.43.246.181 1.64 ms * 中国, 香港, chinatelecom.com.cn, 电信 6 59.43.249.30 25.03 ms * 中国, 上海, chinatelecom.com.cn, 电信 7 59.43.246.253 27.36 ms * 中国, 上海, chinatelecom.com.cn, 电信 8 59.43.138.45 33.49 ms * 中国, 上海, chinatelecom.com.cn, 电信 9 59.43.80.114 29.40 ms * 中国, 上海, chinatelecom.com.cn, 电信 10 202.97.46.66 27.76 ms AS4134 中国, 上海, chinatelecom.com.cn, 电信 11 221.183.90.157 32.47 ms AS9808 中国, 上海, chinamobile.com, 移动 12 221.183.86.106 30.76 ms AS9808 中国, 上海, chinamobile.com, 移动 13 111.24.4.78 31.28 ms AS9808 中国, 上海, chinamobile.com, 移动 14 * 15 117.143.13.70 31.25 ms AS24400 中国, 上海, chinamobile.com, 移动 16 120.204.194.14 33.27 ms AS24400 中国, 上海, chinamobile.com, 移动 17 120.204.197.126 30.68 ms AS24400 中国, 上海, chinamobile.com, 移动 ---------------------------------------------------------------------- 成都移动 traceroute to 183.221.253.100 (183.221.253.100), 30 hops max, 32 byte packets 1 14.128.40.65 1.01 ms AS64050 中国, 香港, rackip.com 2 * 3 172.20.13.84 5.36 ms * 局域网 4 63.140.7.5 1.78 ms AS4809 中国, 香港, chinatelecom.com.cn, 电信 5 59.43.247.93 1.74 ms * 中国, 香港, chinatelecom.com.cn, 电信 6 59.43.188.125 11.34 ms * 中国, 广东, 广州, chinatelecom.com.cn, 电信 7 * 8 59.43.130.121 7.08 ms * 中国, 广东, 广州, chinatelecom.com.cn, 电信 9 202.97.82.38 14.28 ms AS4134 中国, 广东, 广州, chinatelecom.com.cn, 电信 10 202.97.36.226 45.55 ms AS4134 中国, 四川, 成都, chinatelecom.com.cn, 电信 11 * 12 221.183.66.61 41.31 ms AS9808 中国, 四川, 成都, chinamobile.com, 移动 13 221.176.20.149 41.60 ms AS9808 中国, 四川, 成都, chinamobile.com, 移动 14 221.176.20.125 49.03 ms AS9808 中国, 广东, 广州, chinamobile.com, 移动 15 221.183.22.34 45.16 ms AS9808 中国, 广东, 广州, chinamobile.com, 移动 16 221.183.11.74 45.03 ms AS9808 中国, 广东, 广州, chinamobile.com, 移动 17 * 18 183.221.253.100 41.94 ms AS9808 中国, 四川, 成都, chinamobile.com, 移动 ---------------------------------------------------------------------- 成都教育网 traceroute to 202.112.14.151 (202.112.14.151), 30 hops max, 32 byte packets 1 14.128.40.65 25.03 ms AS64050 中国, 香港, rackip.com 2 * 3 172.20.13.84 63.12 ms * 局域网 4 63.140.7.5 12.29 ms AS4809 中国, 香港, chinatelecom.com.cn, 电信 5 * 6 59.43.248.197 5.57 ms * 中国, 广东, 广州, chinatelecom.com.cn, 电信 7 59.43.187.125 7.08 ms * 中国, 广东, 广州, chinatelecom.com.cn, 电信 8 59.43.130.105 8.28 ms * 中国, 广东, 广州, chinatelecom.com.cn, 电信 9 202.97.55.58 9.84 ms AS4134 中国, 广东, 广州, chinatelecom.com.cn, 电信 10 202.97.18.241 10.14 ms AS4134 中国, 广东, 广州, chinatelecom.com.cn, 电信 11 * 12 101.4.118.157 7.40 ms AS4538 中国, 广东, 广州, edu.cn, 教育网 13 101.4.117.33 54.07 ms AS4538 中国, 湖南, 长沙, edu.cn, 教育网 14 * 15 101.4.112.29 50.50 ms AS4538 中国, 重庆, edu.cn, 教育网 16 101.4.117.53 46.84 ms AS4538 中国, 重庆, edu.cn, 教育网 17 101.4.116.158 48.90 ms AS4538 中国, 四川, 成都, edu.cn, 教育网 18 202.115.255.2 49.86 ms AS4538 中国, 四川, 成都, 四川教育和科研计算机网, edu.cn, 教育网 19 202.115.254.238 48.45 ms AS4538 中国, 四川, 成都, 四川教育和科研计算机网, edu.cn, 教育网 20 * 21 * 22 202.112.14.151 47.40 ms AS24355 中国, 四川, 成都, edu.cn, 教育网 ----------------------------------------------------------------------
主机综合性能测试
用UnixBench脚本跑分值是753.7。得分小于400的性能比较差、500-1000正常、大于1000优秀、大于2000极好。当然跑分不是认定机器好坏的唯一标准,需要综合考虑。这里跑分值属于正常级别。
天上云商家云服务器主打建站场景,通过以上测评,总结来说,还是一款不错的高性价比云服务器,测评配置终身8.8折优惠后,月付仅24.64元,年付246.4元,支持免费测试6小时,前往测试>>
老刘博客





































