在《酷锐云五一活动:香港三区/香港安畅一区多IP VPS八折优惠,美国CERA二区VPS六折促销附优惠码及测试IP》一文中,老刘博客介绍了酷锐云近期五一促销策略,那其性能究竟如何呢?老刘博客选购了一台五一促销机型酷锐云美国CERA二区套餐:4核4G内存100G数据盘30Mbps/30Mbps带宽(上行/下行)1000G月流量,系统盘商家默认20G,进行了性能测评。注:商家支持任意机型/配置免费测试1天!
酷锐云控制台测试机配置信息及价格明细
| CERA 2区D型: | ¥81.00 +¥0.00初装费 |
| 操作系统: CentOS 7.6 | ¥0.00 |
| 数据中心: 美国CERA机房 | ¥0.00 |
| 处理器核心: 4核 | ¥0.00 |
| 内存: 4G | ¥0.00 |
| 数据盘: 100G | ¥0.00 |
| 下行带宽: 30Mbps | ¥0.00 |
| 上行带宽: 30Mbps | ¥0.00 |
| 快照数量: 1个 | ¥2.00 |
| 备份数量: 1个 | ¥2.00 |
| 独立IP: 1 IP | ¥0.00 |
| 限制流量: 1000G | ¥0.00 |
| 初装费 | ¥0.00 |
| 月付 | ¥85.00 |
酷锐云美国CERA GIA 2区D型主机配置信息及IO性能测试
测试结果:4核4G内存,操作系统CentOS 7.6,机器位置在美国加利福尼亚州洛杉矶,符合官方描述。同时我们注意到Total RAM只有18GB,这部分只是系统盘18GB,考虑到swap占用以及计算进位不同(有些按1000进位,有些按1024进位),官方报20GB系统盘,没有毛病。酷锐云主机美国CERA GIA 2区D型主机IO平均速度为189MB/s,还行。
这里我们需要需要在服务器上自行挂载数据盘,CentOS系统挂载命令如下:
yum install wget -y && wget -O auto_disk.sh http://download.bt.cn/tools/auto_disk.sh && bash auto_disk.sh
挂载命令运行完毕后,再次测试主机配置信息,次数可以看到Total Space是117GB,去掉18GB系统盘,那么99GB为数据盘,官方说法100GB,没毛病。
酷锐云美国CERA GIA 2区D型主机Ping测试
借助站点ping.chinaz.com对主机进行了ping测试,平均延时164.6ms,还可以。
酷锐云美国CERA GIA 2区D型主机国内三网测速
SuperSpeed脚本测试了酷锐云主机美国CERA GIA 2区D型主机国内节点三网上传/下载速度,可以看出均能跑满30Mbps。延迟也均在200ms以内。
酷锐云美国CERA GIA 2区D型主机解锁NetFlix奈飞视频测试
NetFlix宽松版权自制剧可以解锁,不支持解锁非自制剧。
酷锐云美国CERA GIA 2区D型主机宝塔安装及跑分测试
主机上安装宝塔仅用时3分钟,还是挺快的!
同时宝塔面板上,我们可以清楚地看到配置信息,如系统盘17G,数据盘99G,这边脚本跑出来的数据更直观,可视化强。
宝塔跑分值10218,性能彪悍,磁盘读写均在205MB/s,与前文测试的189MB/s,接近。
酷锐云美国CERA GIA 2区D型主机本地测速文件测试
100MB测速文件上传到服务器,平均速度1.51MB/s。
100MB测速文件下载到本地用时63s,平均下载速度是1.51MB/s,恰好与上传速度相等。
酷锐云美国CERA GIA 2区D型主机丢包率测试
全球节点仅国内3处丢包率1%,在正常丢包范围内。
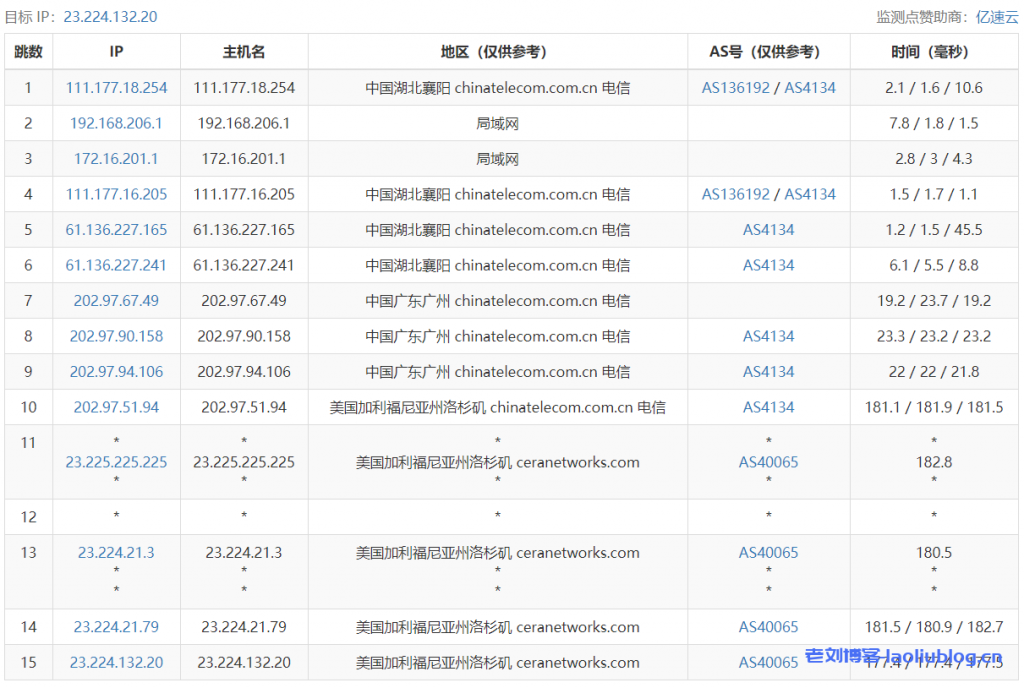
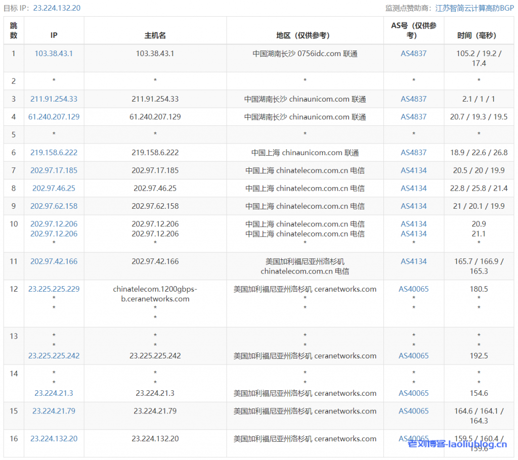
酷锐云美国CERA GIA 2区D型主机路由跟踪测试
襄阳电信去程,走电信AS4134,也称163网络。
长沙联通去程,走联通AS4837和移动AS4134
宿迁移动去程,走移动AS9808,即移动CMI骨干网络
电信联通移动三网回程,走了59.43节点,因此三网回程为CN2线路。
---------------------------------------------------------------------- 广州电信 traceroute to 14.215.116.1 (14.215.116.1), 30 hops max, 32 byte packets 1 23.224.132.1 1.86 ms AS40065 美国, 加利福尼亚州, 洛杉矶, ceranetworks.com 2 23.224.21.78 0.68 ms AS40065 美国, 加利福尼亚州, 洛杉矶, ceranetworks.com 3 192.168.207.18 0.85 ms * 局域网 4 192.168.207.1 0.76 ms * 局域网 5 cn2-gia.ceranetworks.com (23.225.225.245) 1.27 ms AS40065 美国, 加利福尼亚州, 洛杉矶, ceranetworks.com 6 59.43.182.74 151.23 ms * 中国, 广东, 广州, chinatelecom.com.cn, 电信 7 * 8 59.43.130.145 153.02 ms * 中国, 广东, 广州, chinatelecom.com.cn, 电信 9 59.43.80.122 155.00 ms * 中国, 广东, 广州, chinatelecom.com.cn, 电信 10 113.108.208.190 154.87 ms AS58466 中国, 广东, 广州, chinatelecom.com.cn, 电信 11 113.96.4.226 162.59 ms AS58466 中国, 广东, 广州, chinatelecom.com.cn, 电信 12 183.2.167.245 154.01 ms AS58466 中国, 广东, 广州, chinatelecom.com.cn, 电信 13 183.56.129.10 152.97 ms AS58466 中国, 广东, 广州, chinatelecom.com.cn, 电信 14 14.215.116.1 154.46 ms AS58466 中国, 广东, 广州, chinatelecom.com.cn, 电信 ---------------------------------------------------------------------- 上海电信 traceroute to 101.95.120.109 (101.95.120.109), 30 hops max, 32 byte packets 1 23.224.132.1 1.97 ms AS40065 美国, 加利福尼亚州, 洛杉矶, ceranetworks.com 2 23.224.21.78 0.81 ms AS40065 美国, 加利福尼亚州, 洛杉矶, ceranetworks.com 3 192.168.207.18 0.91 ms * 局域网 4 192.168.207.1 0.80 ms * 局域网 5 cn2-gia.ceranetworks.com (23.225.225.245) 1.00 ms AS40065 美国, 加利福尼亚州, 洛杉矶, ceranetworks.com 6 59.43.182.89 128.07 ms * 美国, 加利福尼亚州, 洛杉矶, chinatelecom.com.cn, 电信 7 59.43.187.61 129.18 ms * 中国, 上海, chinatelecom.com.cn, 电信 8 59.43.138.45 129.66 ms * 中国, 上海, chinatelecom.com.cn, 电信 9 101.95.120.109 132.19 ms AS4812 中国, 上海, chinatelecom.com.cn, 电信 ---------------------------------------------------------------------- 厦门电信 traceroute to 117.28.254.129 (117.28.254.129), 30 hops max, 32 byte packets 1 23.224.132.1 1.82 ms AS40065 美国, 加利福尼亚州, 洛杉矶, ceranetworks.com 2 * 3 192.168.207.18 0.83 ms * 局域网 4 * 5 cn2-gia.ceranetworks.com (23.225.225.245) 1.26 ms AS40065 美国, 加利福尼亚州, 洛杉矶, ceranetworks.com 6 59.43.182.78 154.94 ms * 中国, 广东, 广州, chinatelecom.com.cn, 电信 7 * 8 59.43.130.101 156.65 ms * 中国, 广东, 广州, chinatelecom.com.cn, 电信 9 59.43.98.206 171.12 ms * 中国, 福建, 厦门, chinatelecom.com.cn, 电信 10 * 11 27.159.81.190 181.35 ms AS133775 中国, 福建, 厦门, chinatelecom.com.cn, 电信 12 117.25.141.106 160.25 ms AS133775 中国, 福建, 厦门, chinatelecom.com.cn, 电信 13 117.28.254.129 176.13 ms AS4809 中国, 福建, 厦门, chinatelecom.com.cn, 电信 ---------------------------------------------------------------------- 重庆联通 traceroute to 113.207.25.138 (113.207.25.138), 30 hops max, 32 byte packets 1 23.224.132.1 1.85 ms AS40065 美国, 加利福尼亚州, 洛杉矶, ceranetworks.com 2 23.224.21.78 0.65 ms AS40065 美国, 加利福尼亚州, 洛杉矶, ceranetworks.com 3 192.168.207.18 0.93 ms * 局域网 4 * 5 cn2-gia.ceranetworks.com (23.225.225.245) 1.21 ms AS40065 美国, 加利福尼亚州, 洛杉矶, ceranetworks.com 6 59.43.182.78 170.16 ms * 中国, 广东, 广州, chinatelecom.com.cn, 电信 7 * 8 59.43.130.149 156.32 ms * 中国, 广东, 广州, chinatelecom.com.cn, 电信 9 219.158.38.245 159.89 ms AS4837 中国, 北京, chinaunicom.com, 联通 10 219.158.10.249 164.00 ms AS4837 中国, 广东, 广州, chinaunicom.com, 联通 11 219.158.99.210 189.12 ms AS4837 中国, 浙江, 杭州, chinaunicom.com, 联通 12 113.207.25.138 184.35 ms AS4837 中国, 重庆, chinaunicom.com, 联通 ---------------------------------------------------------------------- 成都联通 traceroute to 119.6.6.6 (119.6.6.6), 30 hops max, 32 byte packets 1 23.224.132.1 1.70 ms AS40065 美国, 加利福尼亚州, 洛杉矶, ceranetworks.com 2 * 3 192.168.207.18 0.57 ms * 局域网 4 192.168.207.1 0.82 ms * 局域网 5 cn2-gia.ceranetworks.com (23.225.225.245) 1.24 ms AS40065 美国, 加利福尼亚州, 洛杉矶, ceranetworks.com 6 59.43.246.233 155.12 ms * 中国, 广东, 广州, chinatelecom.com.cn, 电信 7 * 8 59.43.130.125 153.88 ms * 中国, 广东, 广州, chinatelecom.com.cn, 电信 9 219.158.40.169 163.62 ms AS4837 中国, 广东, 广州, chinaunicom.com, 联通 10 * 11 219.158.97.74 186.93 ms AS4837 中国, 四川, 成都, chinaunicom.com, 联通 12 119.6.197.254 196.69 ms AS4837 中国, 四川, 成都, chinaunicom.com, 联通 13 119.7.220.226 191.13 ms AS4837 中国, 四川, 成都, chinaunicom.com, 联通 14 119.6.6.6 189.58 ms AS4837 中国, 四川, 成都, chinaunicom.com, 联通 ---------------------------------------------------------------------- 上海移动 traceroute to 120.204.197.126 (120.204.197.126), 30 hops max, 32 byte packets 1 23.224.132.1 2.05 ms AS40065 美国, 加利福尼亚州, 洛杉矶, ceranetworks.com 2 23.224.21.78 0.73 ms AS40065 美国, 加利福尼亚州, 洛杉矶, ceranetworks.com 3 192.168.207.18 0.87 ms * 局域网 4 192.168.207.1 0.94 ms * 局域网 5 cn2-gia.ceranetworks.com (23.225.225.245) 1.10 ms AS40065 美国, 加利福尼亚州, 洛杉矶, ceranetworks.com 6 59.43.189.33 127.38 ms * 中国, 上海, chinatelecom.com.cn, 电信 7 59.43.246.213 148.49 ms * 中国, 上海, chinatelecom.com.cn, 电信 8 59.43.138.49 134.96 ms * 中国, 上海, chinatelecom.com.cn, 电信 9 59.43.80.141 141.28 ms * 中国, 上海, chinatelecom.com.cn, 电信 10 202.97.87.130 133.51 ms AS4134 中国, 上海, chinatelecom.com.cn, 电信 11 * 12 221.183.90.237 157.50 ms AS9808 中国, chinamobile.com, 移动 13 221.183.60.50 155.61 ms AS9808 中国, 上海, chinamobile.com, 移动 14 120.204.194.14 161.05 ms AS9808,AS24400 中国, 上海, chinamobile.com, 移动 15 120.204.197.126 158.32 ms AS9808,AS24400 中国, 上海, chinamobile.com, 移动 ---------------------------------------------------------------------- 成都移动 traceroute to 183.221.253.100 (183.221.253.100), 30 hops max, 32 byte packets 1 23.224.132.1 1.99 ms AS40065 美国, 加利福尼亚州, 洛杉矶, ceranetworks.com 2 * 3 192.168.207.18 0.53 ms * 局域网 4 192.168.207.1 0.75 ms * 局域网 5 cn2-gia.ceranetworks.com (23.225.225.245) 1.13 ms AS40065 美国, 加利福尼亚州, 洛杉矶, ceranetworks.com 6 59.43.246.233 155.03 ms * 中国, 广东, 广州, chinatelecom.com.cn, 电信 7 59.43.187.89 158.09 ms * 中国, 广东, 广州, chinatelecom.com.cn, 电信 8 59.43.130.153 158.56 ms * 中国, 广东, 广州, chinatelecom.com.cn, 电信 9 202.97.55.170 164.62 ms AS4134 中国, 广东, 广州, chinatelecom.com.cn, 电信 10 202.97.36.226 193.20 ms AS4134 中国, 四川, 成都, chinatelecom.com.cn, 电信 11 * 12 221.183.54.153 190.60 ms AS9808 中国, 四川, 成都, chinamobile.com, 移动 13 221.176.20.149 189.20 ms AS9808 中国, 四川, 成都, chinamobile.com, 移动 14 221.176.20.125 184.97 ms AS9808 中国, 广东, 广州, chinamobile.com, 移动 15 221.183.22.34 186.56 ms AS9808 中国, 广东, 广州, chinamobile.com, 移动 16 221.183.11.74 188.77 ms AS9808 中国, 广东, 广州, chinamobile.com, 移动 17 117.134.42.122 187.64 ms AS9808 中国, 广东, 广州, chinamobile.com, 移动 18 183.221.253.100 186.07 ms AS9808 中国, 四川, 成都, chinamobile.com, 移动 ---------------------------------------------------------------------- 成都教育网 traceroute to 202.112.14.151 (202.112.14.151), 30 hops max, 32 byte packets 1 23.224.132.1 1.82 ms AS40065 美国, 加利福尼亚州, 洛杉矶, ceranetworks.com 2 * 3 192.168.207.18 0.73 ms * 局域网 4 * 5 * 6 192.168.101.26 1.00 ms * 局域网 7 ae26-171.cr4-lax2.ip4.gtt.net (173.205.46.209) 2.93 ms AS3257 美国, 加利福尼亚州, 洛杉矶, gtt.net 8 ix-be-23.ecore1.lvw-losangeles.as6453.net (64.86.197.98) 1.28 ms AS6453 美国, 加利福尼亚州, 洛杉矶, tatacommunications.com 9 if-ae-45-2.tcore1.lvw-losangeles.as6453.net (64.86.197.56) 1.02 ms AS6453 美国, 加利福尼亚州, 洛杉矶, tatacommunications.com 10 66.110.59.182 3.92 ms AS6453 美国, 加利福尼亚州, 洛杉矶, tatacommunications.com 11 101.4.117.213 165.91 ms AS4538 中国, 北京, edu.cn, 教育网 12 101.4.117.101 166.65 ms AS4538 中国, 北京, edu.cn, 教育网 13 101.4.114.170 163.20 ms AS4538 中国, 北京, edu.cn, 教育网 14 101.4.112.14 179.68 ms AS4538 中国, 陕西, 西安, edu.cn, 教育网 15 101.4.112.18 191.00 ms AS4538 中国, 四川, 成都, edu.cn, 教育网 16 * 17 202.115.255.2 1242.34 ms AS4538 中国, 四川, 成都, 四川教育和科研计算机网, edu.cn, 教育网 18 202.115.254.238 191.76 ms AS4538 中国, 四川, 成都, 四川教育和科研计算机网, edu.cn, 教育网 19 * 20 * 21 202.112.14.151 190.09 ms AS24355 中国, 四川, 成都, edu.cn, 教育网 ----------------------------------------------------------------------
酷锐云美国CERA GIA 2区D型主机宝塔综合性能测试
酷锐云主机美国CERA GIA 2区D型主机的UnixBench脚本跑分单程408,4程1155.9。得分小于400的性能比较差、500-1000正常、大于1000优秀、大于2000极好。当然跑分不是认定机器好坏的唯一标准,需要综合考虑。这里跑分值属于优秀级别。
老刘博客








































