arkecx美国洛杉矶CN2 GIA线路套餐见:arkecx怎么样?Ark Edge Cloud洛杉矶China Optimized云服务器测评:电信双程cn2 gia、联通双程直连(回程是as4837)、移动是双程CMI,现在我们继续测评下商家的香港China Optimized云服务器性能,CN2 GIA高端直连优化线路,企业级1Gbps大带宽,解锁新加坡TikTok。
Ark Edge Cloud官方网站:门户首页 – Ark Edge Cloud (arkecx.com)(可选中文版本)
Ark Edge Cloud优惠码:Q11NTEH40Q,9折优惠
目前arkecx正在搞国庆节促销活动,有需要可以去看看:arkecx国庆节活动升级!1Gbps带宽企业级云服务器6折循环优惠低至$6/月!可选全球24个机房,有国际线路和CN2 GIA线路。
Ark Edge Cloud香港HongKong – China Optimized”中国优化线路云服务器方案(也就是今天测评的机器):
| 内存 | CPU | 硬盘 | 流量 | 带宽 | IPv4 | 价格 | 购买 |
| 16G | 4核 | 100G SSD | 500G/月 | 1Gbps | 1个 | $145/月 | 链接 |
CPU型号未知,但是这个主频还是相当高的,3.5GHz。当前硬盘I/O大致在153MB/S的样子,zenlayer的IP。从结果看,解锁新加坡TikTok。
再用专门脚本看看流媒体解锁情况:
TIKTOK流媒体解锁检测:新加坡区
其他流媒体解锁情况
三网Ping看下网络延迟情况
speedtest国内外节点测速:
FIO来测试下硬盘读写数据
iperf3测试的是欧美的节点数据:
去程路由追踪测试
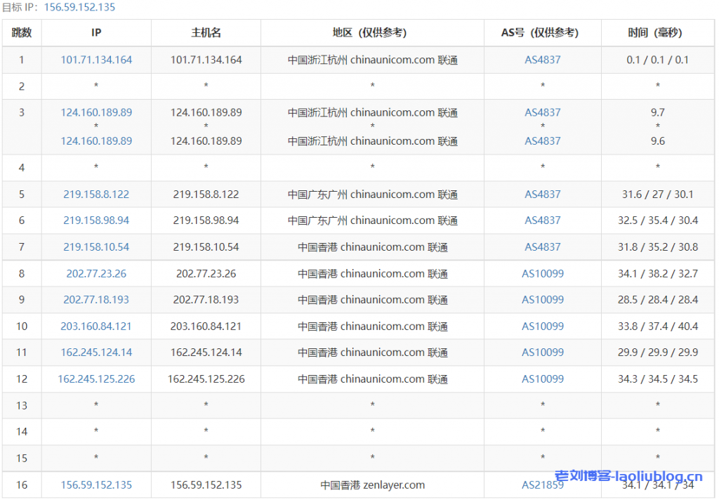
联通去程,走的是AS4837直达香港AS10099后再去的机房
回程路由追踪测试
回程,到内地电信:全部走CN2;
回程,到国内联通:联通香港国际AS10099直接对接联通AS4837直达;
回程,到内地移动:从移动香港节点直接回来
Traceroute to China, Guangzhou CT (TCP Mode, Max 30 Hop)
============================================================
traceroute to 113.108.209.1 (113.108.209.1), 30 hops max, 32 byte packets
1 *
2 *
3 *
4 47.246.60.169 1.86 ms AS24429 China, Hong Kong, ALIYUN
5 203.12.205.133 1.60 ms AS4809 China, Hong Kong, ChinaTelecom
6 59.43.247.229 99.18 ms * China, Hong Kong, ChinaTelecom
7 59.43.187.177 41.73 ms * China, Guangdong, Guangzhou, ChinaTelecom
8 *
9 59.43.16.165 13.57 ms * China, Guangdong, Guangzhou, ChinaTelecom
10 *
11 *
12 113.108.209.1 9.70 ms AS4134 China, Guangdong, Guangzhou, ChinaTelecom
Traceroute to China, Shanghai CT (TCP Mode, Max 30 Hop)
============================================================
traceroute to 180.153.28.5 (180.153.28.5), 30 hops max, 32 byte packets
1 *
2 *
3 *
4 47.246.60.169 3.50 ms AS24429 China, Hong Kong, ALIYUN
5 203.100.49.33 3.55 ms * China, Hong Kong, ChinaTelecom
6 59.43.249.9 65.06 ms * China, Hong Kong, ChinaTelecom
7 59.43.248.237 28.48 ms * China, Shanghai, ChinaTelecom
8 *
9 59.43.138.45 29.86 ms * China, Shanghai, ChinaTelecom
10 61.152.24.186 35.84 ms AS4812 China, Shanghai, ChinaTelecom
11 *
12 101.95.225.34 31.53 ms AS4811 China, Shanghai, ChinaTelecom
13 *
14 *
15 *
16 *
17 *
18 *
19 *
20 *
21 *
22 *
23 *
24 *
25 *
26 *
27 *
28 *
29 *
30 *
Traceroute to China, Beijing CT (TCP Mode, Max 30 Hop)
============================================================
traceroute to 180.149.128.9 (180.149.128.9), 30 hops max, 32 byte packets
1 *
2 192.254.91.74 6.69 ms AS21859 China, Hong Kong, zenlayer.com
3 *
4 47.246.60.177 3.18 ms AS24429 China, Hong Kong, ALIYUN
5 203.100.49.33 33.48 ms * China, Hong Kong, ChinaTelecom
6 59.43.248.149 2.32 ms * China, Hong Kong, ChinaTelecom
7 59.43.246.225 39.26 ms * China, Beijing, ChinaTelecom
8 *
9 59.43.132.17 39.08 ms * China, Beijing, ChinaTelecom
10 *
11 36.110.251.122 41.86 ms AS23724 China, Beijing, ChinaTelecom
12 *
13 *
14 *
15 *
16 *
17 *
18 *
19 *
20 *
21 *
22 *
23 *
24 *
25 *
26 *
27 *
28 *
29 *
30 *
Traceroute to China, Guangzhou CU (TCP Mode, Max 30 Hop)
============================================================
traceroute to 210.21.4.130 (210.21.4.130), 30 hops max, 32 byte packets
1 *
2 192.254.91.74 3.00 ms AS21859 China, Hong Kong, zenlayer.com
3 *
4 47.246.61.49 3.39 ms AS24429 China, Hong Kong, ALIYUN
5 61.14.203.37 3.76 ms * China, Hong Kong, ChinaUnicom
6 202.77.18.194 3.55 ms AS10099 China, Hong Kong, ChinaUnicom
7 43.252.86.129 8.22 ms AS10099 China, Hong Kong, ChinaUnicom
8 219.158.10.49 11.36 ms AS4837 China, Guangdong, Guangzhou, ChinaUnicom
9 219.158.3.185 7.97 ms AS4837 China, Guangdong, Guangzhou, ChinaUnicom
10 219.158.3.21 11.50 ms AS4837 China, Guangdong, ChinaUnicom
11 112.91.0.254 8.83 ms AS17816 China, Guangdong, Guangzhou, ChinaUnicom
12 120.80.79.194 11.66 ms AS17622 China, Guangdong, Guangzhou, ChinaUnicom
13 *
14 *
15 *
16 *
17 *
18 *
19 *
20 *
21 *
22 *
23 *
24 *
25 *
26 *
27 *
28 *
29 *
30 *
Traceroute to China, Shanghai CU (TCP Mode, Max 30 Hop)
============================================================
traceroute to 58.247.8.158 (58.247.8.158), 30 hops max, 32 byte packets
1 *
2 *
3 104.254.117.84 1254.62 ms * China, Hong Kong, zenlayer.com
4 47.246.61.49 3.23 ms AS24429 China, Hong Kong, ALIYUN
5 162.245.125.225 1.43 ms AS10099 China, Hong Kong, ChinaUnicom
6 162.245.124.1 5.62 ms AS10099 China, Hong Kong, ChinaUnicom
7 43.252.86.129 5.99 ms AS10099 China, Hong Kong, ChinaUnicom
8 219.158.20.97 7.79 ms AS4837 China, Hong Kong, ChinaUnicom
9 219.158.4.13 9.99 ms AS4837 China, Guangdong, ChinaUnicom
10 *
11 *
12 *
13 139.226.228.46 33.84 ms AS17621 China, Shanghai, ChinaUnicom
14 139.226.225.22 34.85 ms AS17621 China, Shanghai, ChinaUnicom
15 58.247.8.153 52.58 ms AS17621 China, Shanghai, ChinaUnicom
16 *
17 *
18 *
19 *
20 *
21 *
22 *
23 *
24 *
25 *
26 *
27 *
28 *
29 *
30 *
Traceroute to China, Beijing CU (TCP Mode, Max 30 Hop)
============================================================
traceroute to 123.125.99.1 (123.125.99.1), 30 hops max, 32 byte packets
1 *
2 192.254.91.72 3.78 ms AS21859 China, Hong Kong, zenlayer.com
3 104.254.117.88 12.50 ms * China, Hong Kong, zenlayer.com
4 47.246.61.53 4.20 ms AS24429 China, Hong Kong, ALIYUN
5 162.245.125.225 1.40 ms AS10099 China, Hong Kong, ChinaUnicom
6 202.77.18.194 6.33 ms AS10099 China, Hong Kong, ChinaUnicom
7 43.252.86.129 2.81 ms AS10099 China, Hong Kong, ChinaUnicom
8 219.158.20.97 12.61 ms AS4837 China, Hong Kong, ChinaUnicom
9 219.158.3.185 11.71 ms AS4837 China, Guangdong, Guangzhou, ChinaUnicom
10 219.158.3.57 11.12 ms AS4837 China, Guangdong, ChinaUnicom
11 219.158.8.81 40.99 ms AS4837 China, Beijing, ChinaUnicom
12 61.149.203.50 48.64 ms AS4808 China, Beijing, ChinaUnicom
13 61.51.169.142 46.36 ms AS4808 China, Beijing, ChinaUnicom
14 *
15 *
16 *
17 *
18 *
19 *
20 *
21 *
22 *
23 *
24 *
25 *
26 *
27 *
28 *
29 *
30 *
Traceroute to China, Guangzhou CM (TCP Mode, Max 30 Hop)
============================================================
traceroute to 120.196.212.25 (120.196.212.25), 30 hops max, 32 byte packets
1 *
2 *
3 *
4 47.246.60.165 1.70 ms AS24429 China, Hong Kong, ALIYUN
5 223.119.7.165 2.19 ms AS58453 China, Hong Kong, ChinaMobile
6 223.120.2.29 2.62 ms AS58453 China, Hong Kong, ChinaMobile
7 *
8 221.183.55.70 10.17 ms AS9808 China, Guangdong, Guangzhou, ChinaMobile
9 221.183.25.118 7.29 ms AS9808 China, Guangdong, Guangzhou, ChinaMobile
10 221.183.68.146 9.55 ms AS9808 China, Guangdong, Guangzhou, ChinaMobile
11 111.24.14.145 10.97 ms AS9808 China, Guangdong, Guangzhou, ChinaMobile
12 111.24.5.30 8.60 ms AS9808 China, Guangdong, Guangzhou, ChinaMobile
13 211.136.249.97 12.56 ms AS56040 China, Guangdong, Guangzhou, ChinaMobile
14 211.136.203.18 14.45 ms AS56040 China, Guangdong, Guangzhou, ChinaMobile
15 211.139.180.110 13.01 ms AS56040 China, Guangdong, Guangzhou, ChinaMobile
16 *
17 *
18 *
19 120.196.212.25 14.89 ms AS56040 China, Guangdong, Guangzhou, ChinaMobile
Traceroute to China, Shanghai CM (TCP Mode, Max 30 Hop)
============================================================
traceroute to 221.183.55.22 (221.183.55.22), 30 hops max, 32 byte packets
1 *
2 *
3 *
4 47.246.60.173 3.26 ms AS24429 China, Hong Kong, ALIYUN
5 223.119.7.165 1.87 ms AS58453 China, Hong Kong, ChinaMobile
6 *
7 *
8 *
9 *
10 *
11 *
12 *
13 *
14 *
15 *
16 *
17 *
18 *
19 *
20 *
21 *
22 *
23 *
24 *
25 *
26 *
27 *
28 *
29 *
30 *
Traceroute to China, Beijing CM (TCP Mode, Max 30 Hop)
============================================================
traceroute to 211.136.25.153 (211.136.25.153), 30 hops max, 32 byte packets
1 *
2 192.254.91.72 4.46 ms AS21859 China, Hong Kong, zenlayer.com
3 104.254.117.88 6.99 ms * China, Hong Kong, zenlayer.com
4 47.246.60.165 1.43 ms AS24429 China, Hong Kong, ALIYUN
5 223.119.7.221 5.94 ms AS58453 China, Hong Kong, ChinaMobile
6 223.120.22.69 2.52 ms AS58453 China, Hong Kong, ChinaMobile
7 *
8 221.183.46.254 48.09 ms AS9808 China, Beijing, ChinaMobile
9 *
10 221.183.25.201 62.74 ms AS9808 China, Beijing, ChinaMobile
11 *
12 *
13 211.136.63.66 51.44 ms AS56048 China, Beijing, ChinaMobile
14 211.136.95.226 52.71 ms AS56048 China, Beijing, ChinaMobile
15 211.136.95.226 51.67 ms AS56048 China, Beijing, ChinaMobile
16 211.136.25.153 52.03 ms AS56048 China, Beijing, ChinaMobile
Traceroute to China, Beijing Dr.Peng Network IDC Network (TCP Mode, Max 30 Hop)
============================================================
traceroute to 211.167.230.100 (211.167.230.100), 30 hops max, 32 byte packets
1 *
2 192.254.91.72 1.92 ms AS21859 China, Hong Kong, zenlayer.com
3 *
4 47.246.61.53 2.15 ms AS24429 China, Hong Kong, ALIYUN
5 162.245.125.225 1.99 ms AS10099 China, Hong Kong, ChinaUnicom
6 202.77.18.194 4.34 ms AS10099 China, Hong Kong, ChinaUnicom
7 43.252.86.129 3.28 ms AS10099 China, Hong Kong, ChinaUnicom
8 219.158.20.97 9.01 ms AS4837 China, Hong Kong, ChinaUnicom
9 219.158.4.41 7.38 ms AS4837 China, Guangdong, ChinaUnicom
10 219.158.3.153 11.22 ms AS4837 China, Guangdong, Guangzhou, ChinaUnicom
11 *
12 124.65.194.34 40.26 ms AS4808 China, Beijing, ChinaUnicom
13 202.106.193.38 42.01 ms AS4808 China, Beijing, ChinaUnicom
14 61.149.212.242 44.40 ms AS4808 China, Beijing, ChinaUnicom
15 202.99.1.238 43.58 ms AS4808 China, Beijing, ChinaUnicom
16 218.241.252.14 39.01 ms AS4808 China, Beijing, DRPENG
17 218.241.253.130 43.61 ms AS4808 China, Beijing, DRPENG
18 211.167.230.100 44.29 ms AS17964 China, Beijing, DRPENG
----------------------------------------------------------------------------------
Geekbench跑分情况:
Geekbench 5 Benchmark Test:
---------------------------------
Test | Value
|
Single Core | 951
Multi Core | 2372
Full Test | https://browser.geekbench.com/v5/cpu/17665068
此次测评总结:性能给力,网络不管去程还是回程,全部都拉直了,还有CN2 GIA加持,再者物理位置特别近;直接可以代替大陆备案的服务器使用。
老刘博客





































