六六云怎么样?六六云好不好?站长拿到了六六云香港三网CN2 GIA建站VPS,套餐名为HK-1H1G-CN2-KVM,配置是1核1G内存20G SSD高速硬盘5Mbps上行10Mbps下行 峰值带宽(无限流量),并进行了性能测评,本文我们一起看下六六云香港三网CN2 GIA建站VPS国内延迟、丢包率、性能和带宽、路由去回程、流媒体和TikTok检测。
六六云测试IP:180.215.217.25,香港三网CN2 GIA建站VPS套餐IP
六六云优惠码:all70year,香港三网CN2 GIA建站VPS套餐年付七折优惠
六六云香港三网CN2 GIA建站VPS方案:
| HK-1H1G-CN2-KVM | HK-2H2G-CN2-KVM | HK-4H4G-CN2-KVM | HK-8H8G-CN2-KVM |
| 1vCPU | 2vCPU | 支持windows系统 | 支持windows系统 |
| 1G 内存 | 2G 内存 | 4vCPU | 8vCPU |
| 20G SSD高速硬盘 | 40G SSD高速硬盘 | 4G 内存 | 8G 内存 |
| 5Mbps上行10Mbps下行 峰值带宽 | 8Mbps上行15Mbps下行 峰值带宽 | 80G SSD高速硬盘 | 160G SSD高速硬盘 |
| 无限流量 – 不允许长期占有带宽 | 无限流量 | 12Mbps上行15Mbps下行 峰值带宽 | 12Mbps上行15Mbps下行 峰值带宽 |
| 1个独立香港IP | 1个香港IP | 无限流量 | 无限流量 |
| ¥40.00 CNY月繳 | ¥78.00 CNY月繳 | ¥150.00 CNY月繳 | ¥290.00 CNY月繳 |
| 立即購買 | 立即購買 | 立即購買 | 立即購買 |
六六云香港三网CN2 GIA建站VPS配置信息,从测试结果可以看出IO磁盘在250.7MB/s左右,不支持解锁TikTok
六六云香港三网CN2 GIA建站VPS speedtest.net国内外节点测速
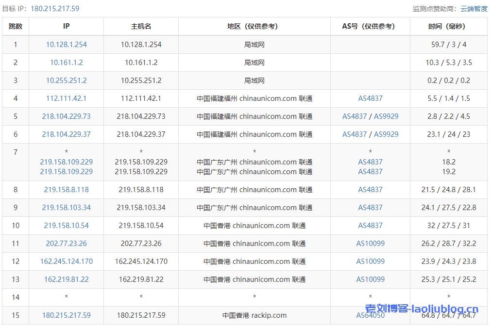
六六云香港三网CN2 GIA建站VPS三网Ping测试看下网络延迟
六六云香港三网CN2 GIA建站VPS看看是不是原生IP,确为香港原生IP
六六云香港三网CN2 GIA建站VPS丢包率测试
六六云香港三网CN2 GIA建站VPS FIO测试硬盘读写
六六云香港三网CN2 GIA建站VPS iperf3针对欧美的节点的数据测试
联通去程
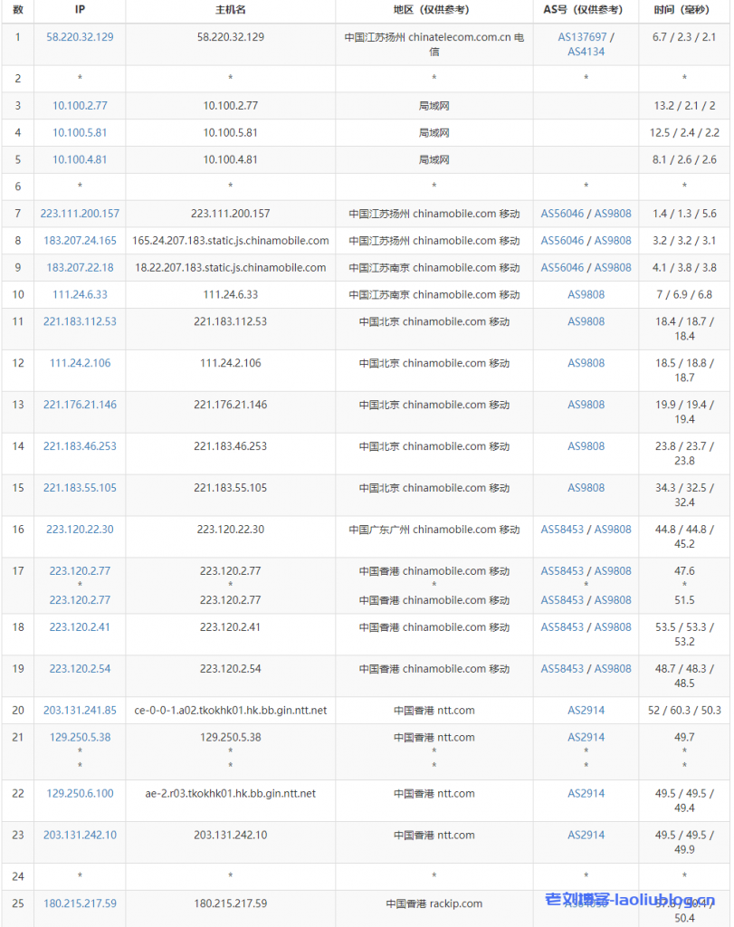
六六云香港三网CN2 GIA建站VPS回程路由追踪测试
Traceroute to China, Guangzhou CT (TCP Mode, Max 30 Hop)
============================================================
traceroute to 113.108.209.1 (113.108.209.1), 30 hops max, 32 byte packets
1 180.215.217.1 3.26 ms AS64050 China, Hong Kong, rackip.com
2 172.20.13.166 0.73 ms * LAN Address
3 203.34.194.93 0.93 ms AS23764 China, Hong Kong, ChinaTelecom
4 69.194.165.53 1.91 ms AS23764 China, Hong Kong, ChinaTelecom
5 203.22.178.90 5.20 ms * China, Hong Kong, ChinaTelecom
6 *
7 59.43.16.165 9.19 ms * China, Guangdong, Guangzhou, ChinaTelecom
8 *
9 113.96.4.50 10.33 ms AS4134 China, Guangdong, Guangzhou, ChinaTelecom
10 113.108.209.1 8.44 ms AS4134 China, Guangdong, Guangzhou, ChinaTelecom
Traceroute to China, Shanghai CT (TCP Mode, Max 30 Hop)
============================================================
traceroute to 180.153.28.5 (180.153.28.5), 30 hops max, 32 byte packets
1 180.215.217.1 4.19 ms AS64050 China, Hong Kong, rackip.com
2 172.20.13.166 9.53 ms * LAN Address
3 203.34.194.93 0.85 ms AS23764 China, Hong Kong, ChinaTelecom
4 69.194.166.229 3.19 ms AS23764 China, Hong Kong, ChinaTelecom
5 *
6 59.43.39.129 25.24 ms * China, Shanghai, ChinaTelecom
7 59.43.159.97 25.46 ms * China, Shanghai, ChinaTelecom
8 101.95.88.226 33.30 ms AS4812 China, Shanghai, ChinaTelecom
9 101.95.207.6 27.70 ms AS4812 China, Shanghai, ChinaTelecom
10 101.95.225.218 29.83 ms AS4811 China, Shanghai, ChinaTelecom
11 *
12 *
13 *
14 *
15 *
16 *
17 *
18 *
19 *
20 *
21 *
22 *
23 *
24 *
25 *
26 *
27 *
28 *
29 *
30 *
Traceroute to China, Beijing CT (TCP Mode, Max 30 Hop)
============================================================
traceroute to 180.149.128.9 (180.149.128.9), 30 hops max, 32 byte packets
1 180.215.217.1 0.71 ms AS64050 China, Hong Kong, rackip.com
2 172.20.13.166 1.77 ms * LAN Address
3 203.34.194.93 0.97 ms AS23764 China, Hong Kong, ChinaTelecom
4 69.194.166.229 3.04 ms AS23764 China, Hong Kong, ChinaTelecom
5 203.22.178.98 36.28 ms * China, Hong Kong, ChinaTelecom
6 *
7 59.43.132.13 43.97 ms * China, Beijing, ChinaTelecom
8 *
9 36.110.251.122 40.36 ms AS23724 China, Beijing, ChinaTelecom
10 *
11 *
12 *
13 *
14 *
15 *
16 *
17 *
18 *
19 *
20 *
21 *
22 *
23 *
24 *
25 *
26 *
27 *
28 *
29 *
30 *
Traceroute to China, Guangzhou CU (TCP Mode, Max 30 Hop)
============================================================
traceroute to 210.21.4.130 (210.21.4.130), 30 hops max, 32 byte packets
1 180.215.217.1 8.94 ms AS64050 China, Hong Kong, rackip.com
2 *
3 103.198.146.85 1.09 ms AS64050 China, Hong Kong, bgp.net
4 103.198.146.49 45.81 ms AS64050 Japan, Tokyo, bgp.net
5 219.158.38.193 58.00 ms AS4837 China, Shanghai, ChinaUnicom
6 219.158.24.57 54.64 ms AS4837 China, Shanghai, ChinaUnicom
7 219.158.19.86 57.25 ms AS4837 China, Shanghai, ChinaUnicom
8 219.158.19.81 61.61 ms AS4837 China, Shanghai, ChinaUnicom
9 *
10 120.83.0.166 52.82 ms AS17816 China, Guangdong, Guangzhou, ChinaUnicom
11 120.80.175.70 55.52 ms AS17622 China, Guangdong, Guangzhou, ChinaUnicom
12 *
13 *
14 *
15 *
16 *
17 *
18 *
19 *
20 *
21 *
22 *
23 *
24 *
25 *
26 *
27 *
28 *
29 *
30 *
Traceroute to China, Shanghai CU (TCP Mode, Max 30 Hop)
============================================================
traceroute to 58.247.8.158 (58.247.8.158), 30 hops max, 32 byte packets
1 180.215.217.1 0.70 ms AS64050 China, Hong Kong, rackip.com
2 *
3 103.198.146.85 1.85 ms AS64050 China, Hong Kong, bgp.net
4 103.198.146.49 44.43 ms AS64050 Japan, Tokyo, bgp.net
5 *
6 219.158.13.73 56.70 ms AS4837 China, Shanghai, ChinaUnicom
7 219.158.113.142 56.53 ms AS4837 China, Shanghai, ChinaUnicom
8 *
9 139.226.225.186 53.43 ms AS17621 China, Shanghai, ChinaUnicom
10 139.226.228.46 58.30 ms AS17621 China, Shanghai, ChinaUnicom
11 139.226.225.22 59.78 ms AS17621 China, Shanghai, ChinaUnicom
12 58.247.8.153 67.17 ms AS17621 China, Shanghai, ChinaUnicom
13 *
14 *
15 *
16 *
17 *
18 *
19 *
20 *
21 *
22 *
23 *
24 *
25 *
26 *
27 *
28 *
29 *
30 *
Traceroute to China, Beijing CU (TCP Mode, Max 30 Hop)
============================================================
traceroute to 123.125.99.1 (123.125.99.1), 30 hops max, 32 byte packets
1 180.215.217.1 36.02 ms AS64050 China, Hong Kong, rackip.com
2 *
3 103.198.146.85 2.87 ms AS64050 China, Hong Kong, bgp.net
4 103.198.146.49 44.39 ms AS64050 Japan, Tokyo, bgp.net
5 219.158.38.193 58.09 ms AS4837 China, Shanghai, ChinaUnicom
6 219.158.24.57 56.76 ms AS4837 China, Shanghai, ChinaUnicom
7 219.158.113.118 60.78 ms AS4837 China, Shanghai, ChinaUnicom
8 219.158.113.101 64.77 ms AS4837 China, Shanghai, ChinaUnicom
9 219.158.6.189 68.95 ms AS4837 China, Beijing, ChinaUnicom
10 124.65.194.118 71.51 ms AS4808 China, Beijing, ChinaUnicom
11 61.51.169.174 75.40 ms AS4808 China, Beijing, ChinaUnicom
12 *
13 *
14 *
15 *
16 *
17 *
18 *
19 *
20 *
21 *
22 *
23 *
24 *
25 *
26 *
27 *
28 *
29 *
30 *
Traceroute to China, Guangzhou CM (TCP Mode, Max 30 Hop)
============================================================
traceroute to 120.196.212.25 (120.196.212.25), 30 hops max, 32 byte packets
1 180.215.217.1 0.76 ms AS64050 China, Hong Kong, rackip.com
2 *
3 223.119.81.125 3.78 ms AS58453 China, Hong Kong, ChinaMobile
4 223.120.3.85 3.22 ms AS58453 China, Hong Kong, ChinaMobile
5 *
6 221.183.55.90 8.84 ms AS9808 China, Guangdong, Guangzhou, ChinaMobile
7 221.183.25.118 9.46 ms AS9808 China, Guangdong, Guangzhou, ChinaMobile
8 221.176.24.157 9.09 ms AS9808 China, Guangdong, Guangzhou, ChinaMobile
9 111.24.5.173 10.34 ms AS9808 China, Guangdong, Guangzhou, ChinaMobile
10 111.24.5.210 10.70 ms AS9808 China, Guangdong, Guangzhou, ChinaMobile
11 183.235.226.121 13.96 ms AS56040 China, Guangdong, Shenzhen, ChinaMobile
12 211.139.180.110 11.19 ms AS56040 China, Guangdong, Guangzhou, ChinaMobile
13 211.136.214.133 14.27 ms AS56040 China, Guangdong, Guangzhou, ChinaMobile
14 120.196.212.25 15.45 ms AS56040 China, Guangdong, Guangzhou, ChinaMobile
Traceroute to China, Shanghai CM (TCP Mode, Max 30 Hop)
============================================================
traceroute to 221.183.55.22 (221.183.55.22), 30 hops max, 32 byte packets
1 180.215.217.1 23.11 ms AS64050 China, Hong Kong, rackip.com
2 *
3 223.119.81.125 3.66 ms AS58453 China, Hong Kong, ChinaMobile
4 223.120.3.85 6.88 ms AS58453 China, Hong Kong, ChinaMobile
5 223.120.2.41 3.71 ms AS58453 China, Hong Kong, ChinaMobile
6 223.120.3.186 31.31 ms AS58453 China, Shanghai, ChinaMobile
7 *
8 *
9 *
10 *
11 *
12 *
13 *
14 *
15 *
16 *
17 *
18 *
19 *
20 *
21 *
22 *
23 *
24 *
25 *
26 *
27 *
28 *
29 *
30 *
Traceroute to China, Beijing CM (TCP Mode, Max 30 Hop)
============================================================
traceroute to 211.136.25.153 (211.136.25.153), 30 hops max, 32 byte packets
1 180.215.217.1 0.70 ms AS64050 China, Hong Kong, rackip.com
2 *
3 223.119.81.125 3.43 ms AS58453 China, Hong Kong, ChinaMobile
4 223.120.3.85 3.69 ms AS58453 China, Hong Kong, ChinaMobile
5 *
6 *
7 *
8 221.183.52.2 47.04 ms AS9808 China, Beijing, ChinaMobile
9 *
10 111.24.2.105 50.22 ms AS9808 China, Beijing, ChinaMobile
11 111.24.14.54 56.30 ms AS9808 China, Beijing, ChinaMobile
12 *
13 211.136.95.226 58.46 ms AS56048 China, Beijing, ChinaMobile
14 211.136.63.66 44.29 ms AS56048 China, Beijing, ChinaMobile
15 211.136.95.226 57.84 ms AS56048 China, Beijing, ChinaMobile
16 *
17 211.136.25.153 42.57 ms AS56048 China, Beijing, ChinaMobile
Traceroute to China, Beijing Dr.Peng Network IDC Network (TCP Mode, Max 30 Hop)
============================================================
traceroute to 211.167.230.100 (211.167.230.100), 30 hops max, 32 byte packets
1 180.215.217.1 24.38 ms AS64050 China, Hong Kong, rackip.com
2 *
3 103.198.146.81 0.90 ms AS64050 China, Hong Kong, bgp.net
4 103.198.146.49 44.56 ms AS64050 Japan, Tokyo, bgp.net
5 219.158.38.193 58.14 ms AS4837 China, Shanghai, ChinaUnicom
6 219.158.13.73 55.12 ms AS4837 China, Shanghai, ChinaUnicom
7 219.158.113.134 60.70 ms AS4837 China, Shanghai, ChinaUnicom
8 *
9 219.158.8.241 69.97 ms AS4837 China, Beijing, ChinaUnicom
10 *
11 202.96.13.182 65.58 ms AS4808 China, Beijing, ChinaUnicom
12 *
13 202.99.1.134 67.99 ms AS4808 China, Beijing, ChinaUnicom
14 218.241.252.14 72.47 ms AS4808 China, Beijing, DRPENG
15 218.241.253.130 70.06 ms AS4808 China, Beijing, DRPENG
16 211.167.230.100 72.60 ms AS17964 China, Beijing, DRPENG
----------------------------------------------------------------------------------
六六云香港三网CN2 GIA建站VPS Unixbench跑分测试
六六云香港三网CN2 GIA建站VPS流媒体解锁情况
老刘博客



































