站长在《newtudou怎么样?童話鎮香港CN2 VPS测评分享:国内延迟、丢包率、性能和带宽、路由去回程、解锁流媒体和TikTok检测》文章里测评了童话镇newtudou香港CN2 VPS性能,今天我们再分享下价格便宜些的(年付57.38元)newtudou香港国际线路VPS测评来看下其国内延迟、丢包率、性能和带宽、路由去回程、解锁流媒体和TikTok检测情况。
童話鎮官网:客戶系統 – 童話鎮 (newtudou.com)
注意,注册时请提供真实资料,比如与IP地址一致,paypal账号需不是风险账号,否则会被判定订单欺诈!
童话镇LD香港數據中心Global Transit網絡VPS方案:
更多套餐参见《童話鎮VPS:$0.99/月/512MB内存/10GB SSD空间/500GB流量/1Gbps端口/KVM/香港/日本/新加坡》。
| bgp.Lite.33.P0v6 | bgp.Lite.39.P1 |
| ¥57.38CNY/yr | ¥8.62CNY/mo ¥17.95 設定費 |
| – 1 vCPU (E5-2660V2) | – 1 vCPU (E5-2680V2) |
| – 512 MB RAM | – 512 MB RAM |
| – 10 GB SSD | – 10 GB SSD |
| – 1000 GB Bandwidth | – 600 GB Bandwidth |
| – IPV6*1 (HK IP) | – IPV4*1 (UK IP) |
| – 1000Mbps Network | – 1000Mbps Network |
| – 不直連中國大陸 | – 不直連中國大陸 |
| – 無獨立IPV4地址 | – 不保證IP地址中國大陸可訪問 |
| – 提供IPV4SSH鏈接端口*1 | – 50%概率IP被CN防火墻屏蔽 |
| – 任何工單要求100%直連中國大陸默認退款。 | – 初裝費不退 |
| 立即購買 | 立即購買 |
这里测评的是newtudou香港国际线路VPS套餐【bgp.Lite.39.P1】:
CPU为e5-2660v2,2.2GHz的主频,当前I/O大致在115MB/s的样子,支持解锁港区奈飞流媒体,不支持解锁TikTok
国内76个节点的延迟测试
测试是香港原生IP
FIO继续测试硬盘读写数据的情况
iperf3跑欧美的节点,大致数据如下
站长开的是1000Mbps带宽的香港VPS,用speedtest.net在国内的节点跑一把,大致数据如下
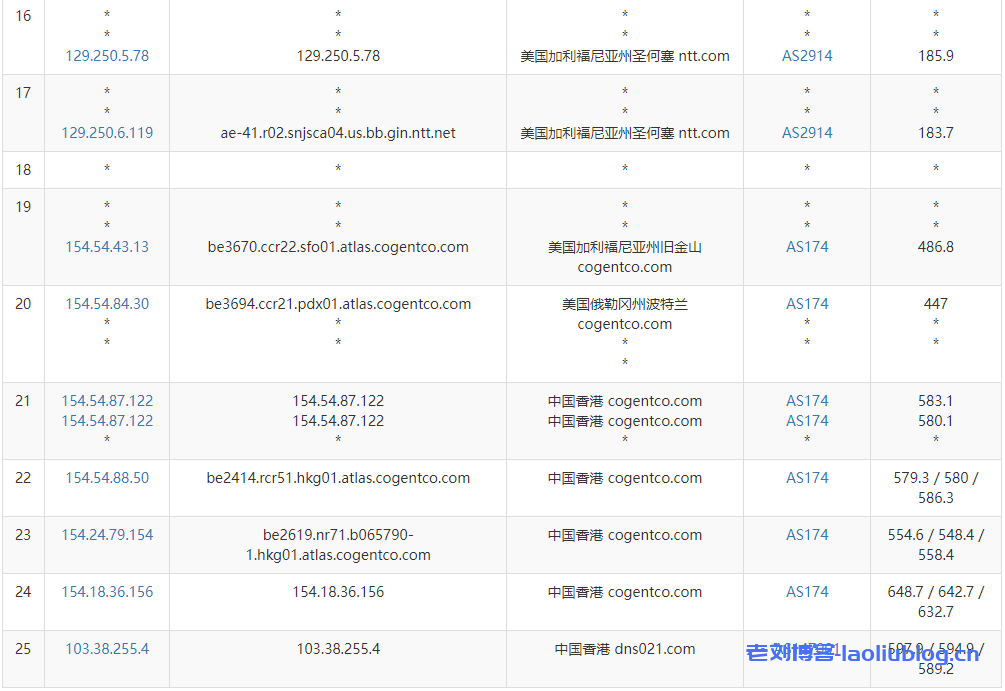
去程路由追踪测试
回程路由追踪测试
Traceroute to China, Guangzhou CT (TCP Mode, Max 30 Hop)
============================================================
traceroute to 113.108.209.1 (113.108.209.1), 30 hops max, 32 byte packets
1 103.38.255.1 1.20 ms AS147001 China, Hong Kong, dns021.com
2 *
3 154.24.79.153 3.28 ms AS174 China, Hong Kong, cogentco.com
4 154.54.88.49 2.19 ms AS174 China, Hong Kong, cogentco.com
5 154.54.87.121 136.44 ms AS174 United States, Oregon, Portland, cogentco.com
6 154.54.81.65 151.61 ms AS174 United States, California, San Francisco, cogentco.com
7 154.54.43.10 152.36 ms AS174 United States, California, San Jose, cogentco.com
8 38.104.138.106 161.77 ms AS174 United States, California, San Jose, cogentco.com
9 *
10 202.97.94.113 308.09 ms AS4134 China, Guangdong, Guangzhou, ChinaTelecom
11 202.97.94.141 319.03 ms AS4134 China, Guangdong, Guangzhou, ChinaTelecom
12 113.96.4.138 310.95 ms AS4134 China, Guangdong, Guangzhou, ChinaTelecom
13 113.108.209.1 307.35 ms AS4134 China, Guangdong, Guangzhou, ChinaTelecom
Traceroute to China, Shanghai CT (TCP Mode, Max 30 Hop)
============================================================
traceroute to 180.153.28.5 (180.153.28.5), 30 hops max, 32 byte packets
1 103.38.255.1 0.43 ms AS147001 China, Hong Kong, dns021.com
2 *
3 154.24.79.153 0.88 ms AS174 China, Hong Kong, cogentco.com
4 154.54.88.49 4.54 ms AS174 China, Hong Kong, cogentco.com
5 154.54.87.121 152.75 ms AS174 United States, Oregon, Portland, cogentco.com
6 154.54.81.65 151.58 ms AS174 United States, California, San Francisco, cogentco.com
7 154.54.43.14 152.39 ms AS174 United States, California, San Jose, cogentco.com
8 *
9 *
10 *
11 202.97.50.221 307.52 ms AS4134 China, Shanghai, ChinaTelecom
12 61.152.25.165 334.63 ms AS4812 China, Shanghai, ChinaTelecom
13 *
14 *
15 *
16 *
17 *
18 *
19 *
20 *
21 *
22 *
23 *
24 *
25 *
26 *
27 *
28 *
29 *
30 *
Traceroute to China, Beijing CT (TCP Mode, Max 30 Hop)
============================================================
traceroute to 180.149.128.9 (180.149.128.9), 30 hops max, 32 byte packets
1 103.38.255.1 0.82 ms AS147001 China, Hong Kong, dns021.com
66666666666666667777777777ttttt 2 *
3 154.24.79.153 2.18 ms AS174 China, Hong Kong, cogentco.com
4 154.54.88.49 2.30 ms AS174 China, Hong Kong, cogentco.com
5 154.54.87.121 136.61 ms AS174 United States, Oregon, Portland, cogentco.com
6 154.54.81.65 152.05 ms AS174 United States, California, San Francisco, cogentco.com
7 154.54.43.14 152.49 ms AS174 United States, California, San Jose, cogentco.com
r4e55 8 *
55555 9 *
10 202.97.12.61 311.79 ms AS4134 China, Beijing, ChinaTelecom
511 *
12 *
13 *
14 *
15 *
16 *
17 *
18 *
19 *
20 *
21 *
22 *
23 *
24 *
25 *
26 *
27 *
28 *
29 *
30 *
Traceroute to China, Guangzhou CU (TCP Mode, Max 30 Hop)
============================================================
traceroute to 210.21.4.130 (210.21.4.130), 30 hops max, 32 byte packets
1 103.38.255.1 0.50 ms AS147001 China, Hong Kong, dns021.com
2 *
3 154.24.79.153 6.21 ms AS174 China, Hong Kong, cogentco.com
4 154.54.88.49 2.00 ms AS174 China, Hong Kong, cogentco.com
5 154.54.0.5 151.58 ms AS174 COGENTCO.COM 骨干网, cogentco.com
6 154.54.42.102 150.41 ms AS174 United States, California, Los Angeles, cogentco.com
7 154.54.42.70 158.13 ms AS174 United States, California, Los Angeles, cogentco.com
8 38.140.129.90 195.55 ms AS174 United States, California, Los Angeles, cogentco.com
9 219.158.98.49 200.31 ms AS4837 China, Guangdong, Guangzhou, ChinaUnicom
10 219.158.20.221 190.88 ms AS4837 China, Guangdong, Guangzhou, ChinaUnicom
11 219.158.24.125 198.53 ms AS4837 China, Guangdong, Guangzhou, ChinaUnicom
12 112.91.0.254 194.23 ms AS17816 China, Guangdong, Guangzhou, ChinaUnicom
13 120.80.169.118 194.94 ms AS17622 China, Guangdong, Guangzhou, ChinaUnicom
14 *
15 *
16 *
17 *
18 *
19 *
20 *
21 *
22 *
23 *
24 *
25 *
26 *
27 *
28 *
29 *
30 *
Traceroute to China, Shanghai CU (TCP Mode, Max 30 Hop)
============================================================
traceroute to 58.247.8.158 (58.247.8.158), 30 hops max, 32 byte packets
1 103.38.255.1 0.42 ms AS147001 China, Hong Kong, dns021.com
2 *
3 154.24.79.153 1.04 ms AS174 China, Hong Kong, cogentco.com
4 154.54.88.49 2.27 ms AS174 China, Hong Kong, cogentco.com
5 154.54.87.121 136.84 ms AS174 United States, Oregon, Portland, cogentco.com
6 154.54.81.65 151.47 ms AS174 United States, California, San Francisco, cogentco.com
7 154.54.43.10 152.43 ms AS174 United States, California, San Jose, cogentco.com
8 38.142.245.2 195.53 ms AS174 United States, California, San Jose, cogentco.com
9 219.158.116.237 197.76 ms AS4837 China, Shanghai, ChinaUnicom
10 219.158.19.90 199.60 ms AS4837 China, Shanghai, ChinaUnicom
11 *
12 *
13 58.247.221.178 193.80 ms AS17621 China, Shanghai, ChinaUnicom
14 139.226.225.22 200.97 ms AS17621 China, Shanghai, ChinaUnicom
15 58.247.8.153 205.99 ms AS17621 China, Shanghai, ChinaUnicom
16 *
17 *
18 *
19 *
20 *
21 *
22 *
23 *
24 *
25 *
26 *
27 *
28 *
29 *
30 *
Traceroute to China, Beijing CU (TCP Mode, Max 30 Hop)
============================================================
traceroute to 123.125.99.1 (123.125.99.1), 30 hops max, 32 byte packets
1 103.38.255.1 0.46 ms AS147001 China, Hong Kong, dns021.com
2 *
3 154.24.79.153 1.05 ms AS174 China, Hong Kong, cogentco.com
4 154.54.88.49 2.83 ms AS174 China, Hong Kong, cogentco.com
5 154.54.87.121 136.52 ms AS174 United States, Oregon, Portland, cogentco.com
6 154.54.84.29 152.17 ms AS174 United States, California, San Francisco, cogentco.com
7 154.54.43.14 153.20 ms AS174 United States, California, San Jose, cogentco.com
8 38.88.224.14 200.40 ms AS174 United States, California, San Jose, cogentco.com
9 219.158.96.37 205.53 ms AS4837 China, Beijing, ChinaUnicom
10 219.158.3.145 204.53 ms AS4837 China, Beijing, ChinaUnicom
11 *
12 125.33.186.146 207.00 ms AS4808 China, Beijing, ChinaUnicom
13 219.232.11.130 208.65 ms AS4808 China, Beijing, ChinaUnicom
14 *
15 *
16 *
17 *
18 *
19 *
20 *
21 *
22 *
23 *
24 *
25 *
26 *
27 *
28 *
29 *
30 *
Traceroute to China, Guangzhou CM (TCP Mode, Max 30 Hop)
============================================================
traceroute to 120.196.212.25 (120.196.212.25), 30 hops max, 32 byte packets
1 103.38.255.1 0.44 ms AS147001 China, Hong Kong, dns021.com
2 *
3 154.24.79.153 0.98 ms AS174 China, Hong Kong, cogentco.com
4 154.54.88.49 2.69 ms AS174 China, Hong Kong, cogentco.com
5 154.54.0.5 150.46 ms AS174 COGENTCO.COM 骨干网, cogentco.com
6 154.54.27.118 150.66 ms AS174 United States, California, Los Angeles, cogentco.com
7 38.19.140.98 150.73 ms AS174 United States, California, Los Angeles, cogentco.com
8 223.118.10.153 153.45 ms AS58453 United States, California, Los Angeles, ChinaMobile
9 *
10 221.183.25.122 306.02 ms AS9808 China, Guangdong, Guangzhou, ChinaMobile
11 221.176.18.109 310.30 ms AS9808 China, Guangdong, Guangzhou, ChinaMobile
12 111.24.14.141 310.81 ms AS9808 China, Guangdong, Guangzhou, ChinaMobile
13 111.24.5.218 309.37 ms AS9808 China, Guangdong, Guangzhou, ChinaMobile
14 211.136.208.121 313.37 ms AS56040 China, Guangdong, Guangzhou, ChinaMobile
15 211.136.196.234 323.09 ms AS56040 China, Guangdong, Guangzhou, ChinaMobile
16 211.136.196.226 312.35 ms AS56040 China, Guangdong, Guangzhou, ChinaMobile
17 *
18 120.196.212.25 317.15 ms AS56040 China, Guangdong, Guangzhou, ChinaMobile
Traceroute to China, Shanghai CM (TCP Mode, Max 30 Hop)
============================================================
traceroute to 221.183.55.22 (221.183.55.22), 30 hops max, 32 byte packets
1 103.38.255.1 0.72 ms AS147001 China, Hong Kong, dns021.com
2 *
3 154.24.79.153 2.05 ms AS174 China, Hong Kong, cogentco.com
4 154.54.88.49 1.95 ms AS174 China, Hong Kong, cogentco.com
5 154.54.87.121 136.47 ms AS174 United States, Oregon, Portland, cogentco.com
6 154.54.81.65 152.19 ms AS174 United States, California, San Francisco, cogentco.com
7 154.54.43.14 152.37 ms AS174 United States, California, San Jose, cogentco.com
8 38.88.224.162 152.46 ms AS174 United States, California, San Jose, cogentco.com
9 223.120.6.69 153.17 ms AS58453 United States, California, San Jose, ChinaMobile
10 223.120.12.26 329.34 ms AS58453 China, Shanghai, ChinaMobile
11 221.183.89.174 335.68 ms AS9808 China, Shanghai, ChinaMobile
12 *
13 *
14 *
15 *
16 *
17 *
18 *
19 *
20 *
21 *
22 *
23 *
24 *
25 *
26 *
27 *
28 *
29 *
30 *
Traceroute to China, Beijing CM (TCP Mode, Max 30 Hop)
============================================================
traceroute to 211.136.25.153 (211.136.25.153), 30 hops max, 32 byte packets
1 103.38.255.1 0.45 ms AS147001 China, Hong Kong, dns021.com
2 *
3 154.24.79.153 1.55 ms AS174 China, Hong Kong, cogentco.com
4 154.54.88.49 2.00 ms AS174 China, Hong Kong, cogentco.com
5 154.54.0.5 150.30 ms AS174 COGENTCO.COM 骨干网, cogentco.com
6 154.54.27.118 150.38 ms AS174 United States, California, Los Angeles, cogentco.com
7 38.104.85.162 502.11 ms AS174 United States, California, Los Angeles, cogentco.com
8 223.118.10.249 398.65 ms AS58453 United States, California, Los Angeles, ChinaMobile
9 *
10 *
11 221.183.52.2 599.80 ms AS9808 China, Beijing, ChinaMobile
12 221.183.89.130 573.98 ms AS9808 China, Beijing, ChinaMobile
13 *
14 111.24.14.54 614.84 ms AS9808 China, Beijing, ChinaMobile
15 *
16 *
17 211.136.95.226 699.31 ms AS56048 China, Beijing, ChinaMobile
18 *
19 *
20 *
21 *
22 211.136.25.153 645.07 ms AS56048 China, Beijing, ChinaMobile
Traceroute to China, Beijing Dr.Peng Network IDC Network (TCP Mode, Max 30 Hop)
============================================================
traceroute to 211.167.230.100 (211.167.230.100), 30 hops max, 32 byte packets
1 103.38.255.1 1.25 ms AS147001 China, Hong Kong, dns021.com
2 *
3 154.24.79.153 1.62 ms AS174 China, Hong Kong, cogentco.com
4 154.54.88.49 1.86 ms AS174 China, Hong Kong, cogentco.com
5 154.54.87.121 136.14 ms AS174 United States, Oregon, Portland, cogentco.com
6 154.54.81.65 219.02 ms AS174 United States, California, San Francisco, cogentco.com
7 154.54.43.14 152.87 ms AS174 United States, California, San Jose, cogentco.com
8 38.88.224.14 197.20 ms AS174 United States, California, San Jose, cogentco.com
9 219.158.96.41 206.40 ms AS4837 China, Beijing, ChinaUnicom
10 219.158.3.141 198.86 ms AS4837 China, Beijing, ChinaUnicom
11 *
12 *
13 202.106.193.42 207.98 ms AS4808 China, Beijing, ChinaUnicom
14 61.149.212.242 201.89 ms AS4808 China, Beijing, ChinaUnicom
15 202.99.1.238 212.74 ms AS4808 China, Beijing, ChinaUnicom
16 124.205.97.138 203.88 ms AS4808 China, Beijing, DRPENG
17 218.241.253.130 210.56 ms AS4808 China, Beijing, DRPENG
18 211.167.230.100 208.26 ms AS17964 China, Beijing, DRPENG
----------------------------------------------------------------------------------
流媒体解锁情况测试
Unixbench跑分测试
老刘博客





































